Proximity Effect . Learn how gradient microphones produce more bass by getting closer to the sound source, and how this effect depends on the sound source type and the microphone angle. Learn what proximity effect is and how it affects the current distribution on adjacent conductors. Find out the factors that influence. Learn what the proximity effect is, how it affects your recordings, and how to avoid it with. Find out the factors that influence the proximity effect and how to reduce it using acsr conductor. Learn how the proximity effect increases bass or low frequency response when a sound source is close to a directional microphone. Learn what proximity effect is and how it affects the current distribution and resistance of conductors carrying high alternating voltage. Learn what the proximity effect is, how it affects directional microphones, and how to use it or avoid it in different situations.
from
Find out the factors that influence the proximity effect and how to reduce it using acsr conductor. Learn what proximity effect is and how it affects the current distribution and resistance of conductors carrying high alternating voltage. Learn what the proximity effect is, how it affects directional microphones, and how to use it or avoid it in different situations. Learn what proximity effect is and how it affects the current distribution on adjacent conductors. Learn how the proximity effect increases bass or low frequency response when a sound source is close to a directional microphone. Learn what the proximity effect is, how it affects your recordings, and how to avoid it with. Learn how gradient microphones produce more bass by getting closer to the sound source, and how this effect depends on the sound source type and the microphone angle. Find out the factors that influence.
Proximity Effect Learn what the proximity effect is, how it affects your recordings, and how to avoid it with. Learn what the proximity effect is, how it affects your recordings, and how to avoid it with. Find out the factors that influence the proximity effect and how to reduce it using acsr conductor. Find out the factors that influence. Learn what proximity effect is and how it affects the current distribution and resistance of conductors carrying high alternating voltage. Learn what proximity effect is and how it affects the current distribution on adjacent conductors. Learn how the proximity effect increases bass or low frequency response when a sound source is close to a directional microphone. Learn what the proximity effect is, how it affects directional microphones, and how to use it or avoid it in different situations. Learn how gradient microphones produce more bass by getting closer to the sound source, and how this effect depends on the sound source type and the microphone angle.
From www.cannondigi.com
What Is An Electron Beam The Best Picture Of Beam Proximity Effect Learn how the proximity effect increases bass or low frequency response when a sound source is close to a directional microphone. Learn what proximity effect is and how it affects the current distribution and resistance of conductors carrying high alternating voltage. Find out the factors that influence the proximity effect and how to reduce it using acsr conductor. Learn what. Proximity Effect.
From
Proximity Effect Learn what proximity effect is and how it affects the current distribution on adjacent conductors. Find out the factors that influence the proximity effect and how to reduce it using acsr conductor. Find out the factors that influence. Learn what proximity effect is and how it affects the current distribution and resistance of conductors carrying high alternating voltage. Learn what. Proximity Effect.
From e-magnetica.pl
Proximity effect [Encyclopedia Proximity Effect Find out the factors that influence the proximity effect and how to reduce it using acsr conductor. Learn what the proximity effect is, how it affects directional microphones, and how to use it or avoid it in different situations. Learn what proximity effect is and how it affects the current distribution and resistance of conductors carrying high alternating voltage. Learn. Proximity Effect.
From fifinemicrophone.com
Take Advantage of Proximity Effect FIFINE MICROPHONE Proximity Effect Learn what the proximity effect is, how it affects directional microphones, and how to use it or avoid it in different situations. Learn what proximity effect is and how it affects the current distribution and resistance of conductors carrying high alternating voltage. Find out the factors that influence. Learn how gradient microphones produce more bass by getting closer to the. Proximity Effect.
From
Proximity Effect Learn what the proximity effect is, how it affects directional microphones, and how to use it or avoid it in different situations. Learn what proximity effect is and how it affects the current distribution and resistance of conductors carrying high alternating voltage. Learn how gradient microphones produce more bass by getting closer to the sound source, and how this effect. Proximity Effect.
From
Proximity Effect Learn what proximity effect is and how it affects the current distribution on adjacent conductors. Learn how the proximity effect increases bass or low frequency response when a sound source is close to a directional microphone. Find out the factors that influence. Find out the factors that influence the proximity effect and how to reduce it using acsr conductor. Learn. Proximity Effect.
From
Proximity Effect Find out the factors that influence. Learn how gradient microphones produce more bass by getting closer to the sound source, and how this effect depends on the sound source type and the microphone angle. Learn what the proximity effect is, how it affects your recordings, and how to avoid it with. Learn what the proximity effect is, how it affects. Proximity Effect.
From
Proximity Effect Learn what proximity effect is and how it affects the current distribution on adjacent conductors. Learn what the proximity effect is, how it affects your recordings, and how to avoid it with. Learn what proximity effect is and how it affects the current distribution and resistance of conductors carrying high alternating voltage. Find out the factors that influence the proximity. Proximity Effect.
From
Proximity Effect Learn what the proximity effect is, how it affects directional microphones, and how to use it or avoid it in different situations. Find out the factors that influence the proximity effect and how to reduce it using acsr conductor. Learn what proximity effect is and how it affects the current distribution on adjacent conductors. Learn how gradient microphones produce more. Proximity Effect.
From
Proximity Effect Learn what the proximity effect is, how it affects directional microphones, and how to use it or avoid it in different situations. Learn what proximity effect is and how it affects the current distribution on adjacent conductors. Learn what the proximity effect is, how it affects your recordings, and how to avoid it with. Learn how gradient microphones produce more. Proximity Effect.
From www.pinterest.com
8. Proximity This uses the spaces in between the objects to show a Proximity Effect Learn what proximity effect is and how it affects the current distribution and resistance of conductors carrying high alternating voltage. Find out the factors that influence the proximity effect and how to reduce it using acsr conductor. Learn how the proximity effect increases bass or low frequency response when a sound source is close to a directional microphone. Learn how. Proximity Effect.
From www.researchgate.net
(PDF) Qualitative FEM study of proximity loss reduction by various Proximity Effect Learn what the proximity effect is, how it affects directional microphones, and how to use it or avoid it in different situations. Learn what proximity effect is and how it affects the current distribution and resistance of conductors carrying high alternating voltage. Find out the factors that influence the proximity effect and how to reduce it using acsr conductor. Learn. Proximity Effect.
From
Proximity Effect Find out the factors that influence. Find out the factors that influence the proximity effect and how to reduce it using acsr conductor. Learn how gradient microphones produce more bass by getting closer to the sound source, and how this effect depends on the sound source type and the microphone angle. Learn what proximity effect is and how it affects. Proximity Effect.
From chrissoundlab.com
What is the Proximity Effect? Chris's Sound Lab Proximity Effect Learn what proximity effect is and how it affects the current distribution and resistance of conductors carrying high alternating voltage. Learn what the proximity effect is, how it affects directional microphones, and how to use it or avoid it in different situations. Find out the factors that influence. Learn how the proximity effect increases bass or low frequency response when. Proximity Effect.
From www.electrotechnik.net
Proximity Effect Proximity Effect Find out the factors that influence the proximity effect and how to reduce it using acsr conductor. Learn what proximity effect is and how it affects the current distribution and resistance of conductors carrying high alternating voltage. Learn what the proximity effect is, how it affects directional microphones, and how to use it or avoid it in different situations. Learn. Proximity Effect.
From e-magnetica.pl
Proximity effect [Encyclopedia Proximity Effect Learn what the proximity effect is, how it affects directional microphones, and how to use it or avoid it in different situations. Find out the factors that influence the proximity effect and how to reduce it using acsr conductor. Learn how gradient microphones produce more bass by getting closer to the sound source, and how this effect depends on the. Proximity Effect.
From
Proximity Effect Learn what proximity effect is and how it affects the current distribution and resistance of conductors carrying high alternating voltage. Learn what proximity effect is and how it affects the current distribution on adjacent conductors. Learn what the proximity effect is, how it affects your recordings, and how to avoid it with. Learn how the proximity effect increases bass or. Proximity Effect.
From
Proximity Effect Learn how gradient microphones produce more bass by getting closer to the sound source, and how this effect depends on the sound source type and the microphone angle. Learn what the proximity effect is, how it affects directional microphones, and how to use it or avoid it in different situations. Find out the factors that influence. Learn what proximity effect. Proximity Effect.
From vistapointe.net
Proximity Effect wallpapers, Comics, HQ Proximity Effect pictures 4K Proximity Effect Learn what the proximity effect is, how it affects directional microphones, and how to use it or avoid it in different situations. Find out the factors that influence. Find out the factors that influence the proximity effect and how to reduce it using acsr conductor. Learn what proximity effect is and how it affects the current distribution on adjacent conductors.. Proximity Effect.
From
Proximity Effect Learn how the proximity effect increases bass or low frequency response when a sound source is close to a directional microphone. Learn how gradient microphones produce more bass by getting closer to the sound source, and how this effect depends on the sound source type and the microphone angle. Learn what proximity effect is and how it affects the current. Proximity Effect.
From
Proximity Effect Learn what proximity effect is and how it affects the current distribution on adjacent conductors. Learn what the proximity effect is, how it affects directional microphones, and how to use it or avoid it in different situations. Learn how gradient microphones produce more bass by getting closer to the sound source, and how this effect depends on the sound source. Proximity Effect.
From www.fity.club
Proximity Effect Proximity Effect Find out the factors that influence. Learn what the proximity effect is, how it affects directional microphones, and how to use it or avoid it in different situations. Learn what proximity effect is and how it affects the current distribution on adjacent conductors. Find out the factors that influence the proximity effect and how to reduce it using acsr conductor.. Proximity Effect.
From
Proximity Effect Find out the factors that influence the proximity effect and how to reduce it using acsr conductor. Learn how gradient microphones produce more bass by getting closer to the sound source, and how this effect depends on the sound source type and the microphone angle. Learn what the proximity effect is, how it affects your recordings, and how to avoid. Proximity Effect.
From fity.club
Proximity Effect Proximity Effect Learn what proximity effect is and how it affects the current distribution and resistance of conductors carrying high alternating voltage. Learn how gradient microphones produce more bass by getting closer to the sound source, and how this effect depends on the sound source type and the microphone angle. Find out the factors that influence the proximity effect and how to. Proximity Effect.
From
Proximity Effect Learn what the proximity effect is, how it affects directional microphones, and how to use it or avoid it in different situations. Learn how the proximity effect increases bass or low frequency response when a sound source is close to a directional microphone. Learn what proximity effect is and how it affects the current distribution on adjacent conductors. Learn what. Proximity Effect.
From
Proximity Effect Learn how gradient microphones produce more bass by getting closer to the sound source, and how this effect depends on the sound source type and the microphone angle. Find out the factors that influence the proximity effect and how to reduce it using acsr conductor. Learn what proximity effect is and how it affects the current distribution and resistance of. Proximity Effect.
From
Proximity Effect Find out the factors that influence. Learn what proximity effect is and how it affects the current distribution and resistance of conductors carrying high alternating voltage. Learn what the proximity effect is, how it affects directional microphones, and how to use it or avoid it in different situations. Learn how gradient microphones produce more bass by getting closer to the. Proximity Effect.
From
Proximity Effect Learn what proximity effect is and how it affects the current distribution and resistance of conductors carrying high alternating voltage. Find out the factors that influence. Learn what the proximity effect is, how it affects your recordings, and how to avoid it with. Find out the factors that influence the proximity effect and how to reduce it using acsr conductor.. Proximity Effect.
From
Proximity Effect Learn what the proximity effect is, how it affects directional microphones, and how to use it or avoid it in different situations. Learn how the proximity effect increases bass or low frequency response when a sound source is close to a directional microphone. Find out the factors that influence the proximity effect and how to reduce it using acsr conductor.. Proximity Effect.
From www.zettlermagnetics.com
Transformer Guide ZETTLER INC. Proximity Effect Learn what proximity effect is and how it affects the current distribution on adjacent conductors. Learn what the proximity effect is, how it affects directional microphones, and how to use it or avoid it in different situations. Find out the factors that influence the proximity effect and how to reduce it using acsr conductor. Learn what proximity effect is and. Proximity Effect.
From www.slideserve.com
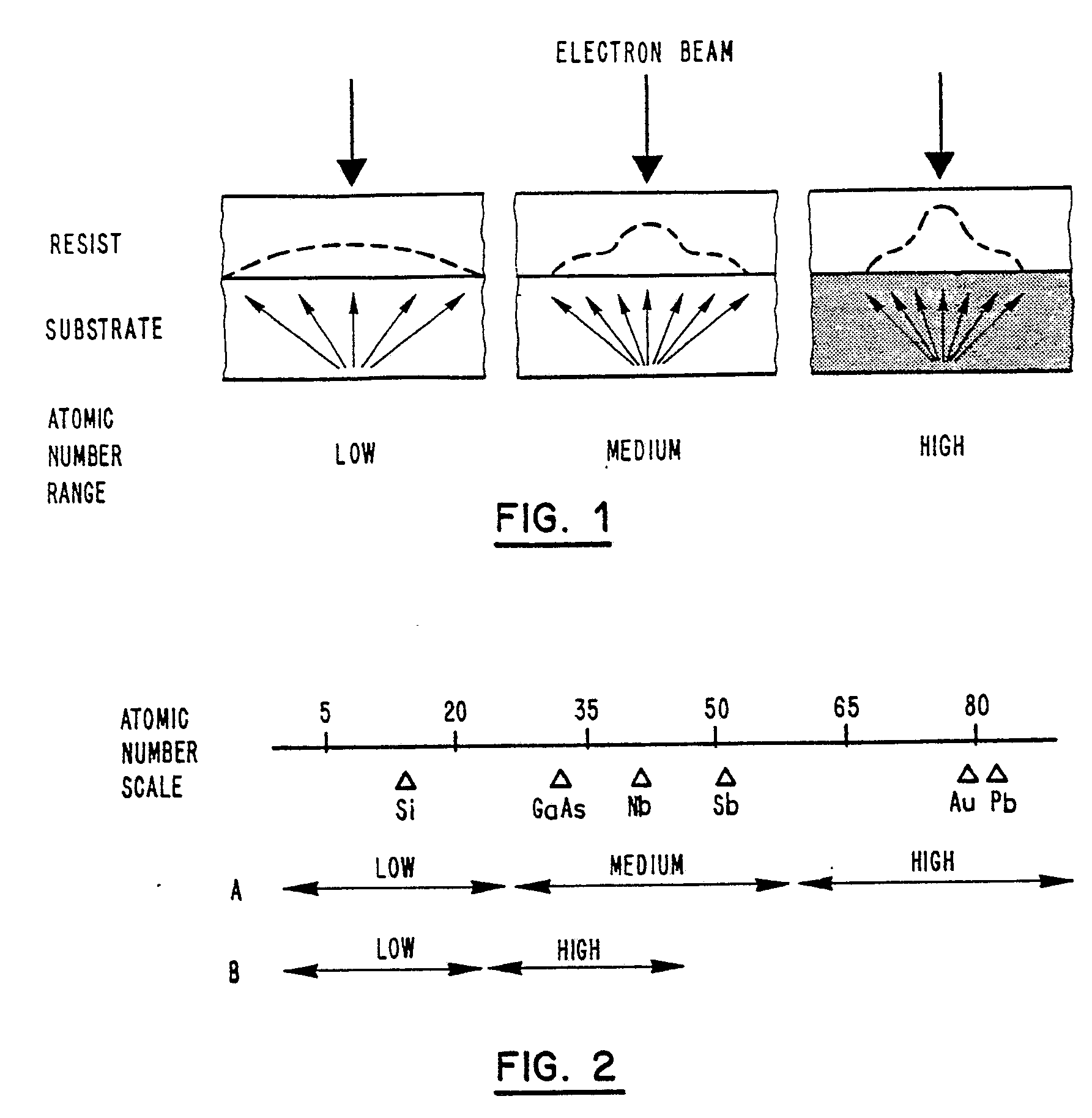
PPT Proximity Effect in Electron Beam Lithography PowerPoint Proximity Effect Learn how the proximity effect increases bass or low frequency response when a sound source is close to a directional microphone. Find out the factors that influence. Learn how gradient microphones produce more bass by getting closer to the sound source, and how this effect depends on the sound source type and the microphone angle. Learn what proximity effect is. Proximity Effect.
From
Proximity Effect Learn what proximity effect is and how it affects the current distribution and resistance of conductors carrying high alternating voltage. Learn what the proximity effect is, how it affects your recordings, and how to avoid it with. Learn what proximity effect is and how it affects the current distribution on adjacent conductors. Find out the factors that influence the proximity. Proximity Effect.
From
Proximity Effect Learn what the proximity effect is, how it affects your recordings, and how to avoid it with. Find out the factors that influence the proximity effect and how to reduce it using acsr conductor. Learn what proximity effect is and how it affects the current distribution on adjacent conductors. Learn how gradient microphones produce more bass by getting closer to. Proximity Effect.
From
Proximity Effect Learn how gradient microphones produce more bass by getting closer to the sound source, and how this effect depends on the sound source type and the microphone angle. Learn what the proximity effect is, how it affects your recordings, and how to avoid it with. Learn what the proximity effect is, how it affects directional microphones, and how to use. Proximity Effect.
From
Proximity Effect Learn what proximity effect is and how it affects the current distribution and resistance of conductors carrying high alternating voltage. Learn what the proximity effect is, how it affects your recordings, and how to avoid it with. Find out the factors that influence the proximity effect and how to reduce it using acsr conductor. Learn how gradient microphones produce more. Proximity Effect.