Yamaha Yz450F Parts Diagram . Simply reference the oem parts. Elite oem (original equipment manufacture) parts distributor for premium brands! Select your model and year yamaha dirt bike to view a microfiche parts diagram of oem factory parts made by yamaha. Yz450f motorcycle pdf manual download. Yz45fz, yz450f 2011, yz450fa 2011, yz450f 2013, yz450f d. Partzilla.com has thousands of yamaha oem motorcycle parts at discount prices! Need 2003 yamaha yz450 parts? Revzilla is proud to carry every original part available for your 2005 yamaha yz450f cylinder assembly. Free shipping on orders of $149 or more! Shop our large selection of 2009 yamaha yz450f (yz450fyw) oem parts, original equipment manufacturer parts and more online or call at. View and download yamaha yz450f owner's service manual online. 2022 yamaha yz450f oem parts diagrams.
from www.partzilla.com
2022 yamaha yz450f oem parts diagrams. View and download yamaha yz450f owner's service manual online. Yz450f motorcycle pdf manual download. Partzilla.com has thousands of yamaha oem motorcycle parts at discount prices! Yz45fz, yz450f 2011, yz450fa 2011, yz450f 2013, yz450f d. Free shipping on orders of $149 or more! Revzilla is proud to carry every original part available for your 2005 yamaha yz450f cylinder assembly. Simply reference the oem parts. Select your model and year yamaha dirt bike to view a microfiche parts diagram of oem factory parts made by yamaha. Shop our large selection of 2009 yamaha yz450f (yz450fyw) oem parts, original equipment manufacturer parts and more online or call at.
Yamaha Motorcycle 2003 OEM Parts Diagram for Crankcase Cover (1
Yamaha Yz450F Parts Diagram Revzilla is proud to carry every original part available for your 2005 yamaha yz450f cylinder assembly. Free shipping on orders of $149 or more! Select your model and year yamaha dirt bike to view a microfiche parts diagram of oem factory parts made by yamaha. Elite oem (original equipment manufacture) parts distributor for premium brands! 2022 yamaha yz450f oem parts diagrams. View and download yamaha yz450f owner's service manual online. Need 2003 yamaha yz450 parts? Simply reference the oem parts. Yz45fz, yz450f 2011, yz450fa 2011, yz450f 2013, yz450f d. Revzilla is proud to carry every original part available for your 2005 yamaha yz450f cylinder assembly. Shop our large selection of 2009 yamaha yz450f (yz450fyw) oem parts, original equipment manufacturer parts and more online or call at. Partzilla.com has thousands of yamaha oem motorcycle parts at discount prices! Yz450f motorcycle pdf manual download.
From www.bike-parts-yam.com
FRONT FORK for Yamaha YZ450F 2009 YAMAHA Genuine Spare Parts Catalogue Yamaha Yz450F Parts Diagram Yz450f motorcycle pdf manual download. Select your model and year yamaha dirt bike to view a microfiche parts diagram of oem factory parts made by yamaha. Partzilla.com has thousands of yamaha oem motorcycle parts at discount prices! Yz45fz, yz450f 2011, yz450fa 2011, yz450f 2013, yz450f d. Free shipping on orders of $149 or more! Elite oem (original equipment manufacture) parts. Yamaha Yz450F Parts Diagram.
From www.partzilla.com
Yamaha Motorcycle 2009 OEM Parts Diagram for FRAME Yamaha Yz450F Parts Diagram Shop our large selection of 2009 yamaha yz450f (yz450fyw) oem parts, original equipment manufacturer parts and more online or call at. Revzilla is proud to carry every original part available for your 2005 yamaha yz450f cylinder assembly. 2022 yamaha yz450f oem parts diagrams. Need 2003 yamaha yz450 parts? Simply reference the oem parts. Yz450f motorcycle pdf manual download. Partzilla.com has. Yamaha Yz450F Parts Diagram.
From www.partzilla.com
Yamaha Motorcycle 2003 OEM Parts Diagram for Frame Yamaha Yz450F Parts Diagram Shop our large selection of 2009 yamaha yz450f (yz450fyw) oem parts, original equipment manufacturer parts and more online or call at. Free shipping on orders of $149 or more! Revzilla is proud to carry every original part available for your 2005 yamaha yz450f cylinder assembly. Elite oem (original equipment manufacture) parts distributor for premium brands! Yz450f motorcycle pdf manual download.. Yamaha Yz450F Parts Diagram.
From www.fowlersparts.co.uk
Yamaha YZ450F 2006 CLUTCH supplied next day (UK only) by Fowlers Parts Yamaha Yz450F Parts Diagram Partzilla.com has thousands of yamaha oem motorcycle parts at discount prices! Free shipping on orders of $149 or more! 2022 yamaha yz450f oem parts diagrams. Select your model and year yamaha dirt bike to view a microfiche parts diagram of oem factory parts made by yamaha. View and download yamaha yz450f owner's service manual online. Simply reference the oem parts.. Yamaha Yz450F Parts Diagram.
From www.bike-parts-yam.com
FRONT FORK for Yamaha YZ450F 2003 YAMAHA Genuine Spare Parts Catalogue Yamaha Yz450F Parts Diagram Yz45fz, yz450f 2011, yz450fa 2011, yz450f 2013, yz450f d. Free shipping on orders of $149 or more! 2022 yamaha yz450f oem parts diagrams. Partzilla.com has thousands of yamaha oem motorcycle parts at discount prices! Elite oem (original equipment manufacture) parts distributor for premium brands! Revzilla is proud to carry every original part available for your 2005 yamaha yz450f cylinder assembly.. Yamaha Yz450F Parts Diagram.
From www.pinterest.com
2006 Yfz 450 Wiring Diagram In Yamaha Yfz450 Forum Yfz450r Yfz450x And Yamaha Yz450F Parts Diagram Revzilla is proud to carry every original part available for your 2005 yamaha yz450f cylinder assembly. View and download yamaha yz450f owner's service manual online. Need 2003 yamaha yz450 parts? Yz45fz, yz450f 2011, yz450fa 2011, yz450f 2013, yz450f d. Elite oem (original equipment manufacture) parts distributor for premium brands! Simply reference the oem parts. Yz450f motorcycle pdf manual download. Partzilla.com. Yamaha Yz450F Parts Diagram.
From www.partzilla.com
Yamaha Motorcycle 2003 OEM Parts Diagram for Crankcase Cover (1 Yamaha Yz450F Parts Diagram Free shipping on orders of $149 or more! Yz450f motorcycle pdf manual download. Elite oem (original equipment manufacture) parts distributor for premium brands! Revzilla is proud to carry every original part available for your 2005 yamaha yz450f cylinder assembly. View and download yamaha yz450f owner's service manual online. Partzilla.com has thousands of yamaha oem motorcycle parts at discount prices! Simply. Yamaha Yz450F Parts Diagram.
From www.bike-parts-yam.com
CARBURETOR for Yamaha YZ450F 2004 YAMAHA Genuine Spare Parts Catalogue Yamaha Yz450F Parts Diagram 2022 yamaha yz450f oem parts diagrams. Yz450f motorcycle pdf manual download. Shop our large selection of 2009 yamaha yz450f (yz450fyw) oem parts, original equipment manufacturer parts and more online or call at. Simply reference the oem parts. Revzilla is proud to carry every original part available for your 2005 yamaha yz450f cylinder assembly. Yz45fz, yz450f 2011, yz450fa 2011, yz450f 2013,. Yamaha Yz450F Parts Diagram.
From www.partzilla.com
Yamaha Motorcycle 2020 OEM Parts Diagram for RADIATOR HOSE Yamaha Yz450F Parts Diagram Yz45fz, yz450f 2011, yz450fa 2011, yz450f 2013, yz450f d. Free shipping on orders of $149 or more! Select your model and year yamaha dirt bike to view a microfiche parts diagram of oem factory parts made by yamaha. Simply reference the oem parts. View and download yamaha yz450f owner's service manual online. Shop our large selection of 2009 yamaha yz450f. Yamaha Yz450F Parts Diagram.
From www.cmsnl.com
Yamaha YZ450F 2009 34P2 EUROPE 1H34P100E1 01 CYLINDER buy original Yamaha Yz450F Parts Diagram Elite oem (original equipment manufacture) parts distributor for premium brands! Yz450f motorcycle pdf manual download. 2022 yamaha yz450f oem parts diagrams. Select your model and year yamaha dirt bike to view a microfiche parts diagram of oem factory parts made by yamaha. Yz45fz, yz450f 2011, yz450fa 2011, yz450f 2013, yz450f d. Revzilla is proud to carry every original part available. Yamaha Yz450F Parts Diagram.
From www.carmanualsonline.info
YAMAHA YZ450F 2012 Service Manual (228 Pages) Yamaha Yz450F Parts Diagram View and download yamaha yz450f owner's service manual online. Yz45fz, yz450f 2011, yz450fa 2011, yz450f 2013, yz450f d. Yz450f motorcycle pdf manual download. Elite oem (original equipment manufacture) parts distributor for premium brands! Simply reference the oem parts. Partzilla.com has thousands of yamaha oem motorcycle parts at discount prices! Need 2003 yamaha yz450 parts? Shop our large selection of 2009. Yamaha Yz450F Parts Diagram.
From www.partzilla.com
Yamaha Motorcycle 2023 OEM Parts Diagram for CLUTCH Yamaha Yz450F Parts Diagram Partzilla.com has thousands of yamaha oem motorcycle parts at discount prices! Simply reference the oem parts. Shop our large selection of 2009 yamaha yz450f (yz450fyw) oem parts, original equipment manufacturer parts and more online or call at. 2022 yamaha yz450f oem parts diagrams. Revzilla is proud to carry every original part available for your 2005 yamaha yz450f cylinder assembly. Yz450f. Yamaha Yz450F Parts Diagram.
From www.partzilla.com
Yamaha Motorcycle 2016 OEM Parts Diagram for Intake Yamaha Yz450F Parts Diagram Free shipping on orders of $149 or more! Revzilla is proud to carry every original part available for your 2005 yamaha yz450f cylinder assembly. View and download yamaha yz450f owner's service manual online. Yz45fz, yz450f 2011, yz450fa 2011, yz450f 2013, yz450f d. 2022 yamaha yz450f oem parts diagrams. Select your model and year yamaha dirt bike to view a microfiche. Yamaha Yz450F Parts Diagram.
From www.partzilla.com
Yamaha Motorcycle 2015 OEM Parts Diagram for Crankcase Yamaha Yz450F Parts Diagram Simply reference the oem parts. Shop our large selection of 2009 yamaha yz450f (yz450fyw) oem parts, original equipment manufacturer parts and more online or call at. Elite oem (original equipment manufacture) parts distributor for premium brands! Need 2003 yamaha yz450 parts? Select your model and year yamaha dirt bike to view a microfiche parts diagram of oem factory parts made. Yamaha Yz450F Parts Diagram.
From www.partzilla.com
Yamaha Motorcycle 2014 OEM Parts Diagram for CLUTCH Yamaha Yz450F Parts Diagram Yz450f motorcycle pdf manual download. Partzilla.com has thousands of yamaha oem motorcycle parts at discount prices! Elite oem (original equipment manufacture) parts distributor for premium brands! Free shipping on orders of $149 or more! View and download yamaha yz450f owner's service manual online. Yz45fz, yz450f 2011, yz450fa 2011, yz450f 2013, yz450f d. Need 2003 yamaha yz450 parts? Select your model. Yamaha Yz450F Parts Diagram.
From www.cmsnl.com
Yamaha YZ450F 2005 5XD6 EUROPE 1D5XD100E1 OIL CLEANER buy original Yamaha Yz450F Parts Diagram Shop our large selection of 2009 yamaha yz450f (yz450fyw) oem parts, original equipment manufacturer parts and more online or call at. Simply reference the oem parts. Elite oem (original equipment manufacture) parts distributor for premium brands! 2022 yamaha yz450f oem parts diagrams. Yz45fz, yz450f 2011, yz450fa 2011, yz450f 2013, yz450f d. Partzilla.com has thousands of yamaha oem motorcycle parts at. Yamaha Yz450F Parts Diagram.
From repairfixpfeffer88.z19.web.core.windows.net
2005 Yamaha Yfz450 Parts Yamaha Yz450F Parts Diagram Select your model and year yamaha dirt bike to view a microfiche parts diagram of oem factory parts made by yamaha. Yz450f motorcycle pdf manual download. Partzilla.com has thousands of yamaha oem motorcycle parts at discount prices! Elite oem (original equipment manufacture) parts distributor for premium brands! View and download yamaha yz450f owner's service manual online. Yz45fz, yz450f 2011, yz450fa. Yamaha Yz450F Parts Diagram.
From www.cmsnl.com
Yamaha Yz450f 2003 (3) 50states Usa Carburetor schematic partsfiche Yamaha Yz450F Parts Diagram Partzilla.com has thousands of yamaha oem motorcycle parts at discount prices! Select your model and year yamaha dirt bike to view a microfiche parts diagram of oem factory parts made by yamaha. Elite oem (original equipment manufacture) parts distributor for premium brands! Need 2003 yamaha yz450 parts? 2022 yamaha yz450f oem parts diagrams. View and download yamaha yz450f owner's service. Yamaha Yz450F Parts Diagram.
From yamahaoemparts.com.au
Trooper Lu's Garage YZ450F 2020 ELECTRICAL 1 Yamaha Yz450F Parts Diagram Free shipping on orders of $149 or more! Elite oem (original equipment manufacture) parts distributor for premium brands! View and download yamaha yz450f owner's service manual online. 2022 yamaha yz450f oem parts diagrams. Yz450f motorcycle pdf manual download. Yz45fz, yz450f 2011, yz450fa 2011, yz450f 2013, yz450f d. Revzilla is proud to carry every original part available for your 2005 yamaha. Yamaha Yz450F Parts Diagram.
From www.cmsnl.com
Yamaha YZ450F 2008 2S2C EUROPE 1G2S2100E1 CRANKSHAFT & PISTON buy Yamaha Yz450F Parts Diagram Shop our large selection of 2009 yamaha yz450f (yz450fyw) oem parts, original equipment manufacturer parts and more online or call at. Elite oem (original equipment manufacture) parts distributor for premium brands! Simply reference the oem parts. 2022 yamaha yz450f oem parts diagrams. Select your model and year yamaha dirt bike to view a microfiche parts diagram of oem factory parts. Yamaha Yz450F Parts Diagram.
From www.carmanualsonline.info
YAMAHA YZ450F 2012 Service Manual (228 Pages) Yamaha Yz450F Parts Diagram Free shipping on orders of $149 or more! View and download yamaha yz450f owner's service manual online. Yz450f motorcycle pdf manual download. Shop our large selection of 2009 yamaha yz450f (yz450fyw) oem parts, original equipment manufacturer parts and more online or call at. Select your model and year yamaha dirt bike to view a microfiche parts diagram of oem factory. Yamaha Yz450F Parts Diagram.
From www.fowlersparts.co.uk
Yamaha YZ450F 2019 CLUTCH supplied next day (UK only) by Fowlers Parts Yamaha Yz450F Parts Diagram Yz45fz, yz450f 2011, yz450fa 2011, yz450f 2013, yz450f d. Shop our large selection of 2009 yamaha yz450f (yz450fyw) oem parts, original equipment manufacturer parts and more online or call at. 2022 yamaha yz450f oem parts diagrams. Free shipping on orders of $149 or more! Need 2003 yamaha yz450 parts? Simply reference the oem parts. Partzilla.com has thousands of yamaha oem. Yamaha Yz450F Parts Diagram.
From www.cmsnl.com
Yamaha YZ450F 2003 (3) 50STATES USA CRANKCASE buy original CRANKCASE Yamaha Yz450F Parts Diagram Need 2003 yamaha yz450 parts? Revzilla is proud to carry every original part available for your 2005 yamaha yz450f cylinder assembly. Shop our large selection of 2009 yamaha yz450f (yz450fyw) oem parts, original equipment manufacturer parts and more online or call at. Yz450f motorcycle pdf manual download. Select your model and year yamaha dirt bike to view a microfiche parts. Yamaha Yz450F Parts Diagram.
From www.fowlersparts.co.uk
Yamaha YZ450F 2019 CYLINDER supplied next day (UK only) by Fowlers Parts Yamaha Yz450F Parts Diagram Select your model and year yamaha dirt bike to view a microfiche parts diagram of oem factory parts made by yamaha. Simply reference the oem parts. View and download yamaha yz450f owner's service manual online. Free shipping on orders of $149 or more! Yz45fz, yz450f 2011, yz450fa 2011, yz450f 2013, yz450f d. 2022 yamaha yz450f oem parts diagrams. Yz450f motorcycle. Yamaha Yz450F Parts Diagram.
From www.cmsnl.com
Yamaha YZ450F 2007 2S28 EUROPE 1F2S2100E1 CRANKCASE buy original Yamaha Yz450F Parts Diagram Partzilla.com has thousands of yamaha oem motorcycle parts at discount prices! Shop our large selection of 2009 yamaha yz450f (yz450fyw) oem parts, original equipment manufacturer parts and more online or call at. Elite oem (original equipment manufacture) parts distributor for premium brands! 2022 yamaha yz450f oem parts diagrams. Revzilla is proud to carry every original part available for your 2005. Yamaha Yz450F Parts Diagram.
From www.partzilla.com
Yamaha Motorcycle 2015 OEM Parts Diagram for CYLINDER Yamaha Yz450F Parts Diagram Revzilla is proud to carry every original part available for your 2005 yamaha yz450f cylinder assembly. Shop our large selection of 2009 yamaha yz450f (yz450fyw) oem parts, original equipment manufacturer parts and more online or call at. Free shipping on orders of $149 or more! Simply reference the oem parts. 2022 yamaha yz450f oem parts diagrams. View and download yamaha. Yamaha Yz450F Parts Diagram.
From www.heydownloads.com
20022006 Yamaha Yz450f Service Repair Manual Collection PDF Download Yamaha Yz450F Parts Diagram Yz450f motorcycle pdf manual download. Revzilla is proud to carry every original part available for your 2005 yamaha yz450f cylinder assembly. Shop our large selection of 2009 yamaha yz450f (yz450fyw) oem parts, original equipment manufacturer parts and more online or call at. 2022 yamaha yz450f oem parts diagrams. View and download yamaha yz450f owner's service manual online. Select your model. Yamaha Yz450F Parts Diagram.
From www.partzilla.com
Yamaha Motorcycle 2005 OEM Parts Diagram for CYLINDER Yamaha Yz450F Parts Diagram Partzilla.com has thousands of yamaha oem motorcycle parts at discount prices! 2022 yamaha yz450f oem parts diagrams. Revzilla is proud to carry every original part available for your 2005 yamaha yz450f cylinder assembly. Select your model and year yamaha dirt bike to view a microfiche parts diagram of oem factory parts made by yamaha. Free shipping on orders of $149. Yamaha Yz450F Parts Diagram.
From yamahaoemparts.com.au
Trooper Lu's Garage YZ450F 2004 WATER PUMP Yamaha Yz450F Parts Diagram Select your model and year yamaha dirt bike to view a microfiche parts diagram of oem factory parts made by yamaha. Shop our large selection of 2009 yamaha yz450f (yz450fyw) oem parts, original equipment manufacturer parts and more online or call at. Free shipping on orders of $149 or more! Revzilla is proud to carry every original part available for. Yamaha Yz450F Parts Diagram.
From www.partzilla.com
Yamaha Motorcycle 2021 OEM Parts Diagram for REAR WHEEL Yamaha Yz450F Parts Diagram Select your model and year yamaha dirt bike to view a microfiche parts diagram of oem factory parts made by yamaha. Yz450f motorcycle pdf manual download. Shop our large selection of 2009 yamaha yz450f (yz450fyw) oem parts, original equipment manufacturer parts and more online or call at. Partzilla.com has thousands of yamaha oem motorcycle parts at discount prices! Yz45fz, yz450f. Yamaha Yz450F Parts Diagram.
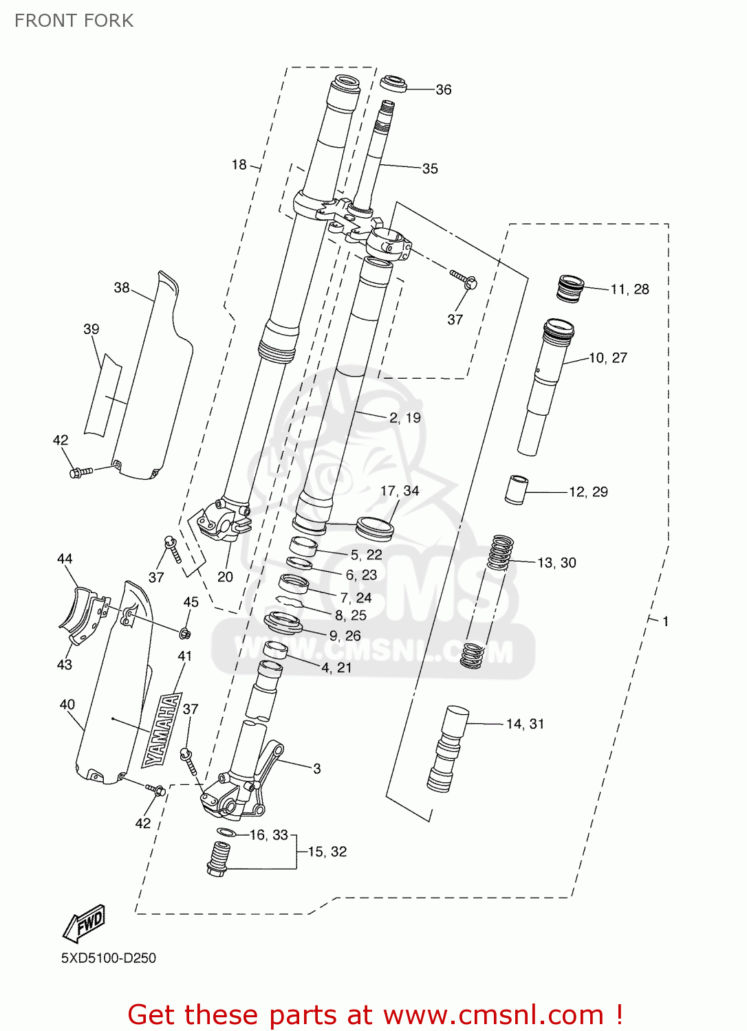
From www.cmsnl.com
Yamaha YZ450F 2005 5XD7 JAPAN 1D5XD100E1 FRONT FORK buy original Yamaha Yz450F Parts Diagram Shop our large selection of 2009 yamaha yz450f (yz450fyw) oem parts, original equipment manufacturer parts and more online or call at. Partzilla.com has thousands of yamaha oem motorcycle parts at discount prices! Revzilla is proud to carry every original part available for your 2005 yamaha yz450f cylinder assembly. Yz45fz, yz450f 2011, yz450fa 2011, yz450f 2013, yz450f d. Yz450f motorcycle pdf. Yamaha Yz450F Parts Diagram.
From www.partzilla.com
Yamaha Motorcycle 2013 OEM Parts Diagram for Intake Yamaha Yz450F Parts Diagram Partzilla.com has thousands of yamaha oem motorcycle parts at discount prices! Elite oem (original equipment manufacture) parts distributor for premium brands! 2022 yamaha yz450f oem parts diagrams. Yz45fz, yz450f 2011, yz450fa 2011, yz450f 2013, yz450f d. Yz450f motorcycle pdf manual download. Select your model and year yamaha dirt bike to view a microfiche parts diagram of oem factory parts made. Yamaha Yz450F Parts Diagram.
From www.partzilla.com
Yamaha Motorcycle 2011 OEM Parts Diagram for Frame Yamaha Yz450F Parts Diagram Partzilla.com has thousands of yamaha oem motorcycle parts at discount prices! Simply reference the oem parts. Select your model and year yamaha dirt bike to view a microfiche parts diagram of oem factory parts made by yamaha. Revzilla is proud to carry every original part available for your 2005 yamaha yz450f cylinder assembly. Elite oem (original equipment manufacture) parts distributor. Yamaha Yz450F Parts Diagram.
From www.partzilla.com
Yamaha Motorcycle 2009 OEM Parts Diagram for WATER PUMP Yamaha Yz450F Parts Diagram Simply reference the oem parts. Shop our large selection of 2009 yamaha yz450f (yz450fyw) oem parts, original equipment manufacturer parts and more online or call at. Select your model and year yamaha dirt bike to view a microfiche parts diagram of oem factory parts made by yamaha. Elite oem (original equipment manufacture) parts distributor for premium brands! Need 2003 yamaha. Yamaha Yz450F Parts Diagram.
From www.partzilla.com
Yamaha ATV 2019 OEM Parts Diagram for FRAME Yamaha Yz450F Parts Diagram Shop our large selection of 2009 yamaha yz450f (yz450fyw) oem parts, original equipment manufacturer parts and more online or call at. Yz450f motorcycle pdf manual download. Yz45fz, yz450f 2011, yz450fa 2011, yz450f 2013, yz450f d. Simply reference the oem parts. Select your model and year yamaha dirt bike to view a microfiche parts diagram of oem factory parts made by. Yamaha Yz450F Parts Diagram.