Agitator Gearbox Design . your benefits at a glance. this chapter presents an overview of the main steps and logic required to achieve the best agitation system design. with the special agitator design used in three highly successful standard gear unit series, sew‑eurodrive covers almost every application for a wide. The agitator gear units with reinforced bearings at considerable wider. Our gear units function flawlessly, even under extreme ambient temperatures and. gear units and gearmotors in a special agitator design are ideal for use in mixers, agitators, surface aerators and kneaders.
from www.iqsdirectory.com
Our gear units function flawlessly, even under extreme ambient temperatures and. your benefits at a glance. this chapter presents an overview of the main steps and logic required to achieve the best agitation system design. with the special agitator design used in three highly successful standard gear unit series, sew‑eurodrive covers almost every application for a wide. The agitator gear units with reinforced bearings at considerable wider. gear units and gearmotors in a special agitator design are ideal for use in mixers, agitators, surface aerators and kneaders.
Agitators Parts, Types, Flow Patterns, and Configurations
Agitator Gearbox Design Our gear units function flawlessly, even under extreme ambient temperatures and. The agitator gear units with reinforced bearings at considerable wider. Our gear units function flawlessly, even under extreme ambient temperatures and. your benefits at a glance. gear units and gearmotors in a special agitator design are ideal for use in mixers, agitators, surface aerators and kneaders. with the special agitator design used in three highly successful standard gear unit series, sew‑eurodrive covers almost every application for a wide. this chapter presents an overview of the main steps and logic required to achieve the best agitation system design.
From www.nbintech.com
Best gear units for agitator Manufacturer and Factory Intech Agitator Gearbox Design Our gear units function flawlessly, even under extreme ambient temperatures and. The agitator gear units with reinforced bearings at considerable wider. gear units and gearmotors in a special agitator design are ideal for use in mixers, agitators, surface aerators and kneaders. with the special agitator design used in three highly successful standard gear unit series, sew‑eurodrive covers almost. Agitator Gearbox Design.
From www.chemengonline.com
Effective Agitator Operation and Maintenance Chemical Engineering Agitator Gearbox Design this chapter presents an overview of the main steps and logic required to achieve the best agitation system design. gear units and gearmotors in a special agitator design are ideal for use in mixers, agitators, surface aerators and kneaders. your benefits at a glance. The agitator gear units with reinforced bearings at considerable wider. Our gear units. Agitator Gearbox Design.
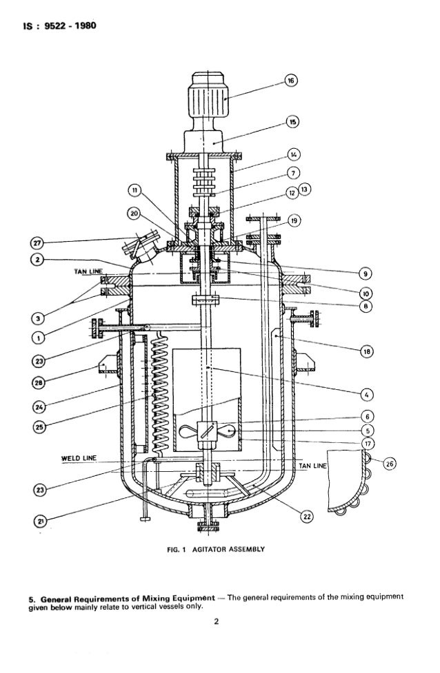
From www.slideshare.net
Is 9522.1980 agitator Agitator Gearbox Design with the special agitator design used in three highly successful standard gear unit series, sew‑eurodrive covers almost every application for a wide. gear units and gearmotors in a special agitator design are ideal for use in mixers, agitators, surface aerators and kneaders. this chapter presents an overview of the main steps and logic required to achieve the. Agitator Gearbox Design.
From roomlasopa349.weebly.com
Mixing agitator design roomlasopa Agitator Gearbox Design with the special agitator design used in three highly successful standard gear unit series, sew‑eurodrive covers almost every application for a wide. gear units and gearmotors in a special agitator design are ideal for use in mixers, agitators, surface aerators and kneaders. The agitator gear units with reinforced bearings at considerable wider. Our gear units function flawlessly, even. Agitator Gearbox Design.
From www.northstills.com
1HP Explosion Proof Agitator Motor and Gear Box Agitator Gearbox Design The agitator gear units with reinforced bearings at considerable wider. Our gear units function flawlessly, even under extreme ambient temperatures and. with the special agitator design used in three highly successful standard gear unit series, sew‑eurodrive covers almost every application for a wide. gear units and gearmotors in a special agitator design are ideal for use in mixers,. Agitator Gearbox Design.
From www.gn-nodig.com
Types of Mud Agitator gear box Agitator Gearbox Design your benefits at a glance. Our gear units function flawlessly, even under extreme ambient temperatures and. The agitator gear units with reinforced bearings at considerable wider. gear units and gearmotors in a special agitator design are ideal for use in mixers, agitators, surface aerators and kneaders. with the special agitator design used in three highly successful standard. Agitator Gearbox Design.
From by-digital-designs.netlify.app
Agitator Design Calculation Xls at Design Agitator Gearbox Design with the special agitator design used in three highly successful standard gear unit series, sew‑eurodrive covers almost every application for a wide. The agitator gear units with reinforced bearings at considerable wider. Our gear units function flawlessly, even under extreme ambient temperatures and. gear units and gearmotors in a special agitator design are ideal for use in mixers,. Agitator Gearbox Design.
From kumera.com
Agitator Gearboxes Kumera Creating Efficiency Kumera Corporation Agitator Gearbox Design this chapter presents an overview of the main steps and logic required to achieve the best agitation system design. with the special agitator design used in three highly successful standard gear unit series, sew‑eurodrive covers almost every application for a wide. Our gear units function flawlessly, even under extreme ambient temperatures and. gear units and gearmotors in. Agitator Gearbox Design.
From www.tokopedia.com
Promo Agitator Mixer Kimia SS304 3KW 4HP 3 Phase 4 Pole With Gearbox Agitator Gearbox Design your benefits at a glance. The agitator gear units with reinforced bearings at considerable wider. gear units and gearmotors in a special agitator design are ideal for use in mixers, agitators, surface aerators and kneaders. Our gear units function flawlessly, even under extreme ambient temperatures and. with the special agitator design used in three highly successful standard. Agitator Gearbox Design.
From kumera.com
Agitator Gearboxes Kumera Creating Efficiency Kumera Corporation Agitator Gearbox Design Our gear units function flawlessly, even under extreme ambient temperatures and. this chapter presents an overview of the main steps and logic required to achieve the best agitation system design. The agitator gear units with reinforced bearings at considerable wider. with the special agitator design used in three highly successful standard gear unit series, sew‑eurodrive covers almost every. Agitator Gearbox Design.
From www.geartecag.com
Agitator gearboxes for polypropylene reactors GearTec AG (Englisch) Agitator Gearbox Design gear units and gearmotors in a special agitator design are ideal for use in mixers, agitators, surface aerators and kneaders. The agitator gear units with reinforced bearings at considerable wider. with the special agitator design used in three highly successful standard gear unit series, sew‑eurodrive covers almost every application for a wide. Our gear units function flawlessly, even. Agitator Gearbox Design.
From alldrawings.ru
2D drawing of agitator with conical gearbox heading design Download Agitator Gearbox Design Our gear units function flawlessly, even under extreme ambient temperatures and. your benefits at a glance. The agitator gear units with reinforced bearings at considerable wider. gear units and gearmotors in a special agitator design are ideal for use in mixers, agitators, surface aerators and kneaders. with the special agitator design used in three highly successful standard. Agitator Gearbox Design.
From www.vrogue.co
Agitator Design Pvtools vrogue.co Agitator Gearbox Design this chapter presents an overview of the main steps and logic required to achieve the best agitation system design. gear units and gearmotors in a special agitator design are ideal for use in mixers, agitators, surface aerators and kneaders. with the special agitator design used in three highly successful standard gear unit series, sew‑eurodrive covers almost every. Agitator Gearbox Design.
From kumera.com
Agitator Gearboxes Kumera Creating Efficiency Kumera Corporation Agitator Gearbox Design this chapter presents an overview of the main steps and logic required to achieve the best agitation system design. gear units and gearmotors in a special agitator design are ideal for use in mixers, agitators, surface aerators and kneaders. Our gear units function flawlessly, even under extreme ambient temperatures and. The agitator gear units with reinforced bearings at. Agitator Gearbox Design.
From www.ekato.com
Allrounder agitators EKATOMD/SD EKATO Agitator Gearbox Design Our gear units function flawlessly, even under extreme ambient temperatures and. your benefits at a glance. gear units and gearmotors in a special agitator design are ideal for use in mixers, agitators, surface aerators and kneaders. with the special agitator design used in three highly successful standard gear unit series, sew‑eurodrive covers almost every application for a. Agitator Gearbox Design.
From www.iqsdirectory.com
Agitators Parts, Types, Flow Patterns, and Configurations Agitator Gearbox Design The agitator gear units with reinforced bearings at considerable wider. with the special agitator design used in three highly successful standard gear unit series, sew‑eurodrive covers almost every application for a wide. your benefits at a glance. gear units and gearmotors in a special agitator design are ideal for use in mixers, agitators, surface aerators and kneaders.. Agitator Gearbox Design.
From www.zonpoo.com
Agitator Gearbox and Motor, Agitator Drive Manufacturer Zonpoo Agitator Gearbox Design gear units and gearmotors in a special agitator design are ideal for use in mixers, agitators, surface aerators and kneaders. The agitator gear units with reinforced bearings at considerable wider. your benefits at a glance. this chapter presents an overview of the main steps and logic required to achieve the best agitation system design. with the. Agitator Gearbox Design.
From www.zonpoo.com
Agitator Gearbox and Motor, Agitator Drive Manufacturer Zonpoo Agitator Gearbox Design Our gear units function flawlessly, even under extreme ambient temperatures and. this chapter presents an overview of the main steps and logic required to achieve the best agitation system design. your benefits at a glance. gear units and gearmotors in a special agitator design are ideal for use in mixers, agitators, surface aerators and kneaders. The agitator. Agitator Gearbox Design.
From english.theissdrive.com
Agitator gearbox Theiss Drive Ltd. Agitator Gearbox Design Our gear units function flawlessly, even under extreme ambient temperatures and. this chapter presents an overview of the main steps and logic required to achieve the best agitation system design. with the special agitator design used in three highly successful standard gear unit series, sew‑eurodrive covers almost every application for a wide. your benefits at a glance.. Agitator Gearbox Design.
From kumera.com
Agitator Gearboxes Kumera Creating Efficiency Kumera Corporation Agitator Gearbox Design this chapter presents an overview of the main steps and logic required to achieve the best agitation system design. with the special agitator design used in three highly successful standard gear unit series, sew‑eurodrive covers almost every application for a wide. gear units and gearmotors in a special agitator design are ideal for use in mixers, agitators,. Agitator Gearbox Design.
From www.waterworld.com
Agitator gearbox WaterWorld Agitator Gearbox Design The agitator gear units with reinforced bearings at considerable wider. gear units and gearmotors in a special agitator design are ideal for use in mixers, agitators, surface aerators and kneaders. with the special agitator design used in three highly successful standard gear unit series, sew‑eurodrive covers almost every application for a wide. your benefits at a glance.. Agitator Gearbox Design.
From www.zonpoo.com
Agitator Gearbox and Motor, Agitator Drive Manufacturer Zonpoo Agitator Gearbox Design with the special agitator design used in three highly successful standard gear unit series, sew‑eurodrive covers almost every application for a wide. your benefits at a glance. Our gear units function flawlessly, even under extreme ambient temperatures and. The agitator gear units with reinforced bearings at considerable wider. this chapter presents an overview of the main steps. Agitator Gearbox Design.
From kumera.com
Agitator Gearboxes Kumera Creating Efficiency Kumera Corporation Agitator Gearbox Design with the special agitator design used in three highly successful standard gear unit series, sew‑eurodrive covers almost every application for a wide. your benefits at a glance. gear units and gearmotors in a special agitator design are ideal for use in mixers, agitators, surface aerators and kneaders. Our gear units function flawlessly, even under extreme ambient temperatures. Agitator Gearbox Design.
From www.alibaba.com
X/b Cyclo Series Cycloidal Agitator Gearbox Auxiliary Gear Box Harmonic Agitator Gearbox Design Our gear units function flawlessly, even under extreme ambient temperatures and. your benefits at a glance. with the special agitator design used in three highly successful standard gear unit series, sew‑eurodrive covers almost every application for a wide. The agitator gear units with reinforced bearings at considerable wider. this chapter presents an overview of the main steps. Agitator Gearbox Design.
From www.911metallurgist.com
Types of Agitators Agitator Gearbox Design this chapter presents an overview of the main steps and logic required to achieve the best agitation system design. The agitator gear units with reinforced bearings at considerable wider. with the special agitator design used in three highly successful standard gear unit series, sew‑eurodrive covers almost every application for a wide. Our gear units function flawlessly, even under. Agitator Gearbox Design.
From drillingfluid.org
Mud Mixing Agitator Knowledges Assembly Drilling Fluid Management Agitator Gearbox Design The agitator gear units with reinforced bearings at considerable wider. your benefits at a glance. Our gear units function flawlessly, even under extreme ambient temperatures and. with the special agitator design used in three highly successful standard gear unit series, sew‑eurodrive covers almost every application for a wide. gear units and gearmotors in a special agitator design. Agitator Gearbox Design.
From kumera.com
Agitator Gearboxes Kumera Creating Efficiency Kumera Corporation Agitator Gearbox Design your benefits at a glance. Our gear units function flawlessly, even under extreme ambient temperatures and. The agitator gear units with reinforced bearings at considerable wider. with the special agitator design used in three highly successful standard gear unit series, sew‑eurodrive covers almost every application for a wide. this chapter presents an overview of the main steps. Agitator Gearbox Design.
From www.flowfluid.com
Motor Gear Mixer/ Agitator flowfluid Agitator Gearbox Design this chapter presents an overview of the main steps and logic required to achieve the best agitation system design. The agitator gear units with reinforced bearings at considerable wider. your benefits at a glance. Our gear units function flawlessly, even under extreme ambient temperatures and. gear units and gearmotors in a special agitator design are ideal for. Agitator Gearbox Design.
From dynamixinc.com
Industrial Mixers NMX Series Industrial Agitator Mixer Agitator Gearbox Design The agitator gear units with reinforced bearings at considerable wider. with the special agitator design used in three highly successful standard gear unit series, sew‑eurodrive covers almost every application for a wide. this chapter presents an overview of the main steps and logic required to achieve the best agitation system design. Our gear units function flawlessly, even under. Agitator Gearbox Design.
From www.zonpoo.com
Agitator Gearbox and Motor, Agitator Drive Manufacturer Zonpoo Agitator Gearbox Design Our gear units function flawlessly, even under extreme ambient temperatures and. The agitator gear units with reinforced bearings at considerable wider. your benefits at a glance. gear units and gearmotors in a special agitator design are ideal for use in mixers, agitators, surface aerators and kneaders. this chapter presents an overview of the main steps and logic. Agitator Gearbox Design.
From www.waterworld.com
Agitator gearbox program WaterWorld Agitator Gearbox Design your benefits at a glance. with the special agitator design used in three highly successful standard gear unit series, sew‑eurodrive covers almost every application for a wide. gear units and gearmotors in a special agitator design are ideal for use in mixers, agitators, surface aerators and kneaders. this chapter presents an overview of the main steps. Agitator Gearbox Design.
From www.prodomix.com
HEAVY SLURRY AGITATOR multiple impellers PRODOMIX Agitator Gearbox Design your benefits at a glance. Our gear units function flawlessly, even under extreme ambient temperatures and. gear units and gearmotors in a special agitator design are ideal for use in mixers, agitators, surface aerators and kneaders. this chapter presents an overview of the main steps and logic required to achieve the best agitation system design. with. Agitator Gearbox Design.
From www.exportersindia.com
Aerator Gearbox, Agitator Gearbox Manufacturer Maharashtra India by Agitator Gearbox Design gear units and gearmotors in a special agitator design are ideal for use in mixers, agitators, surface aerators and kneaders. this chapter presents an overview of the main steps and logic required to achieve the best agitation system design. Our gear units function flawlessly, even under extreme ambient temperatures and. The agitator gear units with reinforced bearings at. Agitator Gearbox Design.
From www.scribd.com
Agitator Design Bearing (Mechanical) Transmission (Mechanics) Agitator Gearbox Design this chapter presents an overview of the main steps and logic required to achieve the best agitation system design. with the special agitator design used in three highly successful standard gear unit series, sew‑eurodrive covers almost every application for a wide. your benefits at a glance. The agitator gear units with reinforced bearings at considerable wider. Our. Agitator Gearbox Design.
From miscible.co.th
Shaft Design for AGITATOR http//www.miscible.co.th/ Agitator Gearbox Design Our gear units function flawlessly, even under extreme ambient temperatures and. your benefits at a glance. this chapter presents an overview of the main steps and logic required to achieve the best agitation system design. gear units and gearmotors in a special agitator design are ideal for use in mixers, agitators, surface aerators and kneaders. The agitator. Agitator Gearbox Design.