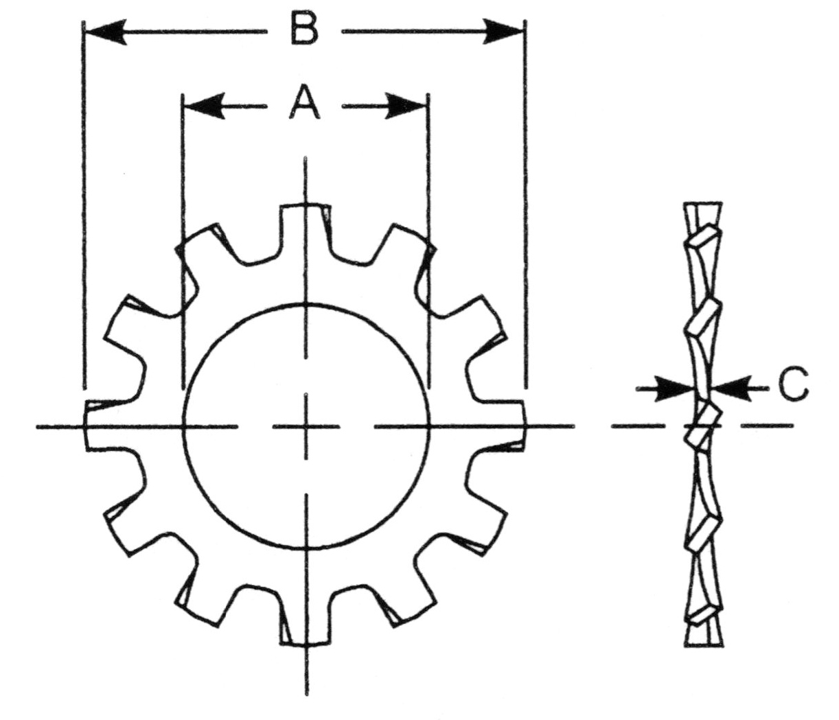
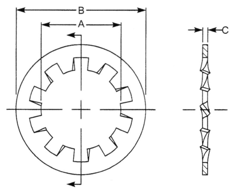
How Do External Tooth Lock Washers Work . External tooth lock washers (also called star washers) have teeth made to bite into the bearing surface. An external tooth lock washer is designed to provide stronger holds than internal. They are similar to internal locking washers but with reversed. Loose bolts can lead to all kinds of problems in any application, and split ring washers aren't the only lock washers made to prevent. External tooth lock washer external star lock washer is a lock washer with teeth on the outside, with standards of din6797a,. Tooth lock washers are made with small, sharp teeth formed around the inner hole or outer diameter (o.d.), depending on the type. What are external tooth lockwashers? Tooth lock washers (electrical contact washers) are designed to prevent bolted joints from loosening using friction. An internal tooth lock washer has teeth around the.
from www.ebay.ca
What are external tooth lockwashers? They are similar to internal locking washers but with reversed. External tooth lock washer external star lock washer is a lock washer with teeth on the outside, with standards of din6797a,. An external tooth lock washer is designed to provide stronger holds than internal. Tooth lock washers (electrical contact washers) are designed to prevent bolted joints from loosening using friction. Loose bolts can lead to all kinds of problems in any application, and split ring washers aren't the only lock washers made to prevent. An internal tooth lock washer has teeth around the. External tooth lock washers (also called star washers) have teeth made to bite into the bearing surface. Tooth lock washers are made with small, sharp teeth formed around the inner hole or outer diameter (o.d.), depending on the type.
Stainless Steel Internal Tooth Lock Washer Metric 3M, Qty 250 eBay
How Do External Tooth Lock Washers Work Loose bolts can lead to all kinds of problems in any application, and split ring washers aren't the only lock washers made to prevent. What are external tooth lockwashers? Loose bolts can lead to all kinds of problems in any application, and split ring washers aren't the only lock washers made to prevent. An external tooth lock washer is designed to provide stronger holds than internal. An internal tooth lock washer has teeth around the. Tooth lock washers (electrical contact washers) are designed to prevent bolted joints from loosening using friction. External tooth lock washers (also called star washers) have teeth made to bite into the bearing surface. They are similar to internal locking washers but with reversed. Tooth lock washers are made with small, sharp teeth formed around the inner hole or outer diameter (o.d.), depending on the type. External tooth lock washer external star lock washer is a lock washer with teeth on the outside, with standards of din6797a,.
From www.walmart.com
Large Drawer External Tooth Lock Washers Zinc How Do External Tooth Lock Washers Work What are external tooth lockwashers? Loose bolts can lead to all kinds of problems in any application, and split ring washers aren't the only lock washers made to prevent. An external tooth lock washer is designed to provide stronger holds than internal. Tooth lock washers (electrical contact washers) are designed to prevent bolted joints from loosening using friction. External tooth. How Do External Tooth Lock Washers Work.
From www.yousta.com.au
Lock washers external tooth How Do External Tooth Lock Washers Work Tooth lock washers (electrical contact washers) are designed to prevent bolted joints from loosening using friction. They are similar to internal locking washers but with reversed. What are external tooth lockwashers? Loose bolts can lead to all kinds of problems in any application, and split ring washers aren't the only lock washers made to prevent. An internal tooth lock washer. How Do External Tooth Lock Washers Work.
From www.wikihow.com
3 Ways to Use Lock Washers wikiHow How Do External Tooth Lock Washers Work External tooth lock washer external star lock washer is a lock washer with teeth on the outside, with standards of din6797a,. External tooth lock washers (also called star washers) have teeth made to bite into the bearing surface. Loose bolts can lead to all kinds of problems in any application, and split ring washers aren't the only lock washers made. How Do External Tooth Lock Washers Work.
From www.indiamart.com
External Tooth Star Lock Washers at Rs 10/piece External Tooth How Do External Tooth Lock Washers Work What are external tooth lockwashers? They are similar to internal locking washers but with reversed. External tooth lock washer external star lock washer is a lock washer with teeth on the outside, with standards of din6797a,. An external tooth lock washer is designed to provide stronger holds than internal. External tooth lock washers (also called star washers) have teeth made. How Do External Tooth Lock Washers Work.
From www.hongdafastener.com
External Tooth Lock Washers Suppliers, Manufacturers, Factory Good How Do External Tooth Lock Washers Work Tooth lock washers are made with small, sharp teeth formed around the inner hole or outer diameter (o.d.), depending on the type. They are similar to internal locking washers but with reversed. External tooth lock washers (also called star washers) have teeth made to bite into the bearing surface. External tooth lock washer external star lock washer is a lock. How Do External Tooth Lock Washers Work.
From boltbase.com
External Tooth Lock Washers A2 Stainless Steel Bolt Base How Do External Tooth Lock Washers Work External tooth lock washers (also called star washers) have teeth made to bite into the bearing surface. They are similar to internal locking washers but with reversed. External tooth lock washer external star lock washer is a lock washer with teeth on the outside, with standards of din6797a,. What are external tooth lockwashers? Tooth lock washers are made with small,. How Do External Tooth Lock Washers Work.
From www.lowes.com
Hillman External tooth Lock Washers at How Do External Tooth Lock Washers Work Tooth lock washers are made with small, sharp teeth formed around the inner hole or outer diameter (o.d.), depending on the type. External tooth lock washer external star lock washer is a lock washer with teeth on the outside, with standards of din6797a,. An internal tooth lock washer has teeth around the. An external tooth lock washer is designed to. How Do External Tooth Lock Washers Work.
From www.ebay.ca
Stainless Steel Internal Tooth Lock Washer Metric 3M, Qty 250 eBay How Do External Tooth Lock Washers Work What are external tooth lockwashers? They are similar to internal locking washers but with reversed. An external tooth lock washer is designed to provide stronger holds than internal. External tooth lock washer external star lock washer is a lock washer with teeth on the outside, with standards of din6797a,. External tooth lock washers (also called star washers) have teeth made. How Do External Tooth Lock Washers Work.
From www.wurthusa.com
5/8 External Tooth Lock Washer Standard 410 Stainless Steel Tooth How Do External Tooth Lock Washers Work Tooth lock washers are made with small, sharp teeth formed around the inner hole or outer diameter (o.d.), depending on the type. An internal tooth lock washer has teeth around the. Loose bolts can lead to all kinds of problems in any application, and split ring washers aren't the only lock washers made to prevent. External tooth lock washers (also. How Do External Tooth Lock Washers Work.
From www.aliexpress.com
Buy ! 1000PCS M3 External 304 STAINLESS STEEL Internal How Do External Tooth Lock Washers Work They are similar to internal locking washers but with reversed. What are external tooth lockwashers? External tooth lock washer external star lock washer is a lock washer with teeth on the outside, with standards of din6797a,. Tooth lock washers (electrical contact washers) are designed to prevent bolted joints from loosening using friction. Loose bolts can lead to all kinds of. How Do External Tooth Lock Washers Work.
From www.kljack.com
6 Zinc Plated External Tooth Lock Washer K.L. Jack How Do External Tooth Lock Washers Work What are external tooth lockwashers? Loose bolts can lead to all kinds of problems in any application, and split ring washers aren't the only lock washers made to prevent. External tooth lock washers (also called star washers) have teeth made to bite into the bearing surface. An internal tooth lock washer has teeth around the. Tooth lock washers are made. How Do External Tooth Lock Washers Work.
From sydneyboltsandfasteners.com.au
External Tooth Lock Washer ZP Sydney Bolts and Fasteners How Do External Tooth Lock Washers Work Loose bolts can lead to all kinds of problems in any application, and split ring washers aren't the only lock washers made to prevent. External tooth lock washers (also called star washers) have teeth made to bite into the bearing surface. An external tooth lock washer is designed to provide stronger holds than internal. An internal tooth lock washer has. How Do External Tooth Lock Washers Work.
From www.zerofast.com
EXTERNAL TOOTH LOCK WASHER zero products inc. How Do External Tooth Lock Washers Work An internal tooth lock washer has teeth around the. Loose bolts can lead to all kinds of problems in any application, and split ring washers aren't the only lock washers made to prevent. What are external tooth lockwashers? External tooth lock washers (also called star washers) have teeth made to bite into the bearing surface. An external tooth lock washer. How Do External Tooth Lock Washers Work.
From www.pencomsf.com
Lock Washers Internal External Tooth How Do External Tooth Lock Washers Work An internal tooth lock washer has teeth around the. An external tooth lock washer is designed to provide stronger holds than internal. Tooth lock washers (electrical contact washers) are designed to prevent bolted joints from loosening using friction. What are external tooth lockwashers? External tooth lock washers (also called star washers) have teeth made to bite into the bearing surface.. How Do External Tooth Lock Washers Work.
From www.aftfasteners.com
4 X .475/.460 Internal/External Tooth Lock Washers, Zinc Cr+3 (100/Pkg How Do External Tooth Lock Washers Work Tooth lock washers (electrical contact washers) are designed to prevent bolted joints from loosening using friction. An external tooth lock washer is designed to provide stronger holds than internal. Tooth lock washers are made with small, sharp teeth formed around the inner hole or outer diameter (o.d.), depending on the type. An internal tooth lock washer has teeth around the.. How Do External Tooth Lock Washers Work.
From clinchko.com
External Tooth Lock Washers Clinchko How Do External Tooth Lock Washers Work An internal tooth lock washer has teeth around the. They are similar to internal locking washers but with reversed. An external tooth lock washer is designed to provide stronger holds than internal. Tooth lock washers are made with small, sharp teeth formed around the inner hole or outer diameter (o.d.), depending on the type. External tooth lock washers (also called. How Do External Tooth Lock Washers Work.
From www.ahienterprises.com
Internal & External Tooth Lock Washers How Do External Tooth Lock Washers Work External tooth lock washers (also called star washers) have teeth made to bite into the bearing surface. Tooth lock washers are made with small, sharp teeth formed around the inner hole or outer diameter (o.d.), depending on the type. External tooth lock washer external star lock washer is a lock washer with teeth on the outside, with standards of din6797a,.. How Do External Tooth Lock Washers Work.
From nbmetal.co.kr
Differences between internal tooth lock washers & external to... How Do External Tooth Lock Washers Work External tooth lock washers (also called star washers) have teeth made to bite into the bearing surface. Tooth lock washers (electrical contact washers) are designed to prevent bolted joints from loosening using friction. They are similar to internal locking washers but with reversed. What are external tooth lockwashers? An internal tooth lock washer has teeth around the. Loose bolts can. How Do External Tooth Lock Washers Work.
From hastelloybolt.com
INTERNAL TOOTH LOCK WASHER zero products inc. How Do External Tooth Lock Washers Work External tooth lock washer external star lock washer is a lock washer with teeth on the outside, with standards of din6797a,. What are external tooth lockwashers? An internal tooth lock washer has teeth around the. Tooth lock washers (electrical contact washers) are designed to prevent bolted joints from loosening using friction. Tooth lock washers are made with small, sharp teeth. How Do External Tooth Lock Washers Work.
From www.yousta.com.au
Lock washers external serrated tooth How Do External Tooth Lock Washers Work Loose bolts can lead to all kinds of problems in any application, and split ring washers aren't the only lock washers made to prevent. They are similar to internal locking washers but with reversed. An internal tooth lock washer has teeth around the. What are external tooth lockwashers? Tooth lock washers are made with small, sharp teeth formed around the. How Do External Tooth Lock Washers Work.
From www.ebay.ch
EXTERNAL TOOTH SERRATED LOCK WASHERS SHAKEPROOF STAINLESS STEEL WASHER How Do External Tooth Lock Washers Work They are similar to internal locking washers but with reversed. Tooth lock washers (electrical contact washers) are designed to prevent bolted joints from loosening using friction. Tooth lock washers are made with small, sharp teeth formed around the inner hole or outer diameter (o.d.), depending on the type. External tooth lock washers (also called star washers) have teeth made to. How Do External Tooth Lock Washers Work.
From blog.thepipingmart.com
Lock Washer vs Star Washer What's the Difference How Do External Tooth Lock Washers Work Loose bolts can lead to all kinds of problems in any application, and split ring washers aren't the only lock washers made to prevent. Tooth lock washers are made with small, sharp teeth formed around the inner hole or outer diameter (o.d.), depending on the type. External tooth lock washer external star lock washer is a lock washer with teeth. How Do External Tooth Lock Washers Work.
From www.linkedin.com
How do internal tooth lock washers work? How Do External Tooth Lock Washers Work An external tooth lock washer is designed to provide stronger holds than internal. Tooth lock washers (electrical contact washers) are designed to prevent bolted joints from loosening using friction. External tooth lock washers (also called star washers) have teeth made to bite into the bearing surface. External tooth lock washer external star lock washer is a lock washer with teeth. How Do External Tooth Lock Washers Work.
From www.walmart.ca
10 Pack 3/8" 410 Stainless Steel External Tooth Lock Washers Walmart.ca How Do External Tooth Lock Washers Work They are similar to internal locking washers but with reversed. What are external tooth lockwashers? Loose bolts can lead to all kinds of problems in any application, and split ring washers aren't the only lock washers made to prevent. An external tooth lock washer is designed to provide stronger holds than internal. External tooth lock washer external star lock washer. How Do External Tooth Lock Washers Work.
From www.youtube.com
Toothed Lock Washers External & Internal Fasteners 101 YouTube How Do External Tooth Lock Washers Work They are similar to internal locking washers but with reversed. An external tooth lock washer is designed to provide stronger holds than internal. An internal tooth lock washer has teeth around the. Tooth lock washers (electrical contact washers) are designed to prevent bolted joints from loosening using friction. What are external tooth lockwashers? External tooth lock washers (also called star. How Do External Tooth Lock Washers Work.
From www.speedwaymotors.com
External Tooth Lock Washer, 7/16 Inch How Do External Tooth Lock Washers Work External tooth lock washer external star lock washer is a lock washer with teeth on the outside, with standards of din6797a,. What are external tooth lockwashers? Tooth lock washers are made with small, sharp teeth formed around the inner hole or outer diameter (o.d.), depending on the type. They are similar to internal locking washers but with reversed. Tooth lock. How Do External Tooth Lock Washers Work.
From www.pencomsf.com
Lock Washers Internal Tooth How Do External Tooth Lock Washers Work Loose bolts can lead to all kinds of problems in any application, and split ring washers aren't the only lock washers made to prevent. They are similar to internal locking washers but with reversed. Tooth lock washers are made with small, sharp teeth formed around the inner hole or outer diameter (o.d.), depending on the type. An external tooth lock. How Do External Tooth Lock Washers Work.
From www.pts-uk.com
External Tooth Washers DIN 6798A How Do External Tooth Lock Washers Work They are similar to internal locking washers but with reversed. Tooth lock washers are made with small, sharp teeth formed around the inner hole or outer diameter (o.d.), depending on the type. An external tooth lock washer is designed to provide stronger holds than internal. An internal tooth lock washer has teeth around the. External tooth lock washers (also called. How Do External Tooth Lock Washers Work.
From www.kimballmidwest.com
12 Stainless Steel External Tooth Lock Washer Kimball Midwest How Do External Tooth Lock Washers Work External tooth lock washer external star lock washer is a lock washer with teeth on the outside, with standards of din6797a,. An internal tooth lock washer has teeth around the. External tooth lock washers (also called star washers) have teeth made to bite into the bearing surface. What are external tooth lockwashers? An external tooth lock washer is designed to. How Do External Tooth Lock Washers Work.
From www.homedepot.com
PrimeLine 5/16 in. Zinc Plated Steel External Tooth Lock Washers (25 How Do External Tooth Lock Washers Work External tooth lock washers (also called star washers) have teeth made to bite into the bearing surface. Loose bolts can lead to all kinds of problems in any application, and split ring washers aren't the only lock washers made to prevent. An external tooth lock washer is designed to provide stronger holds than internal. Tooth lock washers (electrical contact washers). How Do External Tooth Lock Washers Work.
From www.ebay.com
Stainless Steel External Tooth Star Lock Washer 4 Qty 250 46737820870 How Do External Tooth Lock Washers Work An external tooth lock washer is designed to provide stronger holds than internal. External tooth lock washers (also called star washers) have teeth made to bite into the bearing surface. Tooth lock washers (electrical contact washers) are designed to prevent bolted joints from loosening using friction. External tooth lock washer external star lock washer is a lock washer with teeth. How Do External Tooth Lock Washers Work.
From www.stsindustrial.com
External Tooth Lock Washers, Plated STS Industrial How Do External Tooth Lock Washers Work Tooth lock washers are made with small, sharp teeth formed around the inner hole or outer diameter (o.d.), depending on the type. Loose bolts can lead to all kinds of problems in any application, and split ring washers aren't the only lock washers made to prevent. Tooth lock washers (electrical contact washers) are designed to prevent bolted joints from loosening. How Do External Tooth Lock Washers Work.
From www.peeveeenterprises.com
Washers Index Quick Lock Washer Wholesale Trader from New Delhi How Do External Tooth Lock Washers Work External tooth lock washers (also called star washers) have teeth made to bite into the bearing surface. An external tooth lock washer is designed to provide stronger holds than internal. They are similar to internal locking washers but with reversed. External tooth lock washer external star lock washer is a lock washer with teeth on the outside, with standards of. How Do External Tooth Lock Washers Work.
From www.empirebolt.com
Internal Tooth Lock Washers Washers How Do External Tooth Lock Washers Work An internal tooth lock washer has teeth around the. Tooth lock washers (electrical contact washers) are designed to prevent bolted joints from loosening using friction. They are similar to internal locking washers but with reversed. An external tooth lock washer is designed to provide stronger holds than internal. Loose bolts can lead to all kinds of problems in any application,. How Do External Tooth Lock Washers Work.
From www.kljack.com
3/8" Stainless Steel Internal Tooth Lock Washer 188 K.L. Jack How Do External Tooth Lock Washers Work Loose bolts can lead to all kinds of problems in any application, and split ring washers aren't the only lock washers made to prevent. They are similar to internal locking washers but with reversed. An external tooth lock washer is designed to provide stronger holds than internal. External tooth lock washer external star lock washer is a lock washer with. How Do External Tooth Lock Washers Work.