Oil Filter Puncture Drain . It punctures the filter from the inside out and i don't have to. Anyone who generates used oil filters should use this tool to. I bought an oil filter draining tool from lpetools, and really liked it. Let the car cool down for about 1/2 hour. Simple and effective, effortless, fun to use. My wife's expedition 4.6l oil filter is mounted with the threaded end facing up, so i could easily puncture the end of the oil filter &. Meets federal and state regulations for lube oil filter puncture and drain. The ultimate tool for puncturing and draining used oil filters. The ultimate tool for puncturing and draining used oil filters. Loosen the filter first enough such that air can start draining into an empty pan, then drop. Find out how to use the no mess oil filter drain tool and the oil filter. Now there's a new tool called sabretooth destined to become as.
from www.aircraftspruce.com
It punctures the filter from the inside out and i don't have to. I bought an oil filter draining tool from lpetools, and really liked it. Loosen the filter first enough such that air can start draining into an empty pan, then drop. The ultimate tool for puncturing and draining used oil filters. Now there's a new tool called sabretooth destined to become as. Meets federal and state regulations for lube oil filter puncture and drain. The ultimate tool for puncturing and draining used oil filters. My wife's expedition 4.6l oil filter is mounted with the threaded end facing up, so i could easily puncture the end of the oil filter &. Simple and effective, effortless, fun to use. Anyone who generates used oil filters should use this tool to.
Tempest Easy Drain™ AA473 Oil Filter Drain Tool Aircraft Spruce
Oil Filter Puncture Drain Loosen the filter first enough such that air can start draining into an empty pan, then drop. It punctures the filter from the inside out and i don't have to. Let the car cool down for about 1/2 hour. The ultimate tool for puncturing and draining used oil filters. I bought an oil filter draining tool from lpetools, and really liked it. Simple and effective, effortless, fun to use. Now there's a new tool called sabretooth destined to become as. My wife's expedition 4.6l oil filter is mounted with the threaded end facing up, so i could easily puncture the end of the oil filter &. Anyone who generates used oil filters should use this tool to. The ultimate tool for puncturing and draining used oil filters. Meets federal and state regulations for lube oil filter puncture and drain. Find out how to use the no mess oil filter drain tool and the oil filter. Loosen the filter first enough such that air can start draining into an empty pan, then drop.
From www.hdforums.com
Harley Oil changes easy with This tool! Harley Davidson Forums Oil Filter Puncture Drain Loosen the filter first enough such that air can start draining into an empty pan, then drop. Anyone who generates used oil filters should use this tool to. The ultimate tool for puncturing and draining used oil filters. I bought an oil filter draining tool from lpetools, and really liked it. It punctures the filter from the inside out and. Oil Filter Puncture Drain.
From www.slideserve.com
PPT Oil change and lubrication service PowerPoint Presentation, free Oil Filter Puncture Drain It punctures the filter from the inside out and i don't have to. Anyone who generates used oil filters should use this tool to. My wife's expedition 4.6l oil filter is mounted with the threaded end facing up, so i could easily puncture the end of the oil filter &. Simple and effective, effortless, fun to use. Let the car. Oil Filter Puncture Drain.
From www.youtube.com
Tip for Draining Used Oil Filters and Disposal YouTube Oil Filter Puncture Drain It punctures the filter from the inside out and i don't have to. My wife's expedition 4.6l oil filter is mounted with the threaded end facing up, so i could easily puncture the end of the oil filter &. I bought an oil filter draining tool from lpetools, and really liked it. Let the car cool down for about 1/2. Oil Filter Puncture Drain.
From www.youtube.com
Drain the Oil out of an Oil Filter Tool Tip 11 YouTube Oil Filter Puncture Drain Now there's a new tool called sabretooth destined to become as. The ultimate tool for puncturing and draining used oil filters. I bought an oil filter draining tool from lpetools, and really liked it. Find out how to use the no mess oil filter drain tool and the oil filter. It punctures the filter from the inside out and i. Oil Filter Puncture Drain.
From www.discountaeroparts.com
Oil Filter Drain Tool Tempest Oil Filter Puncture Drain My wife's expedition 4.6l oil filter is mounted with the threaded end facing up, so i could easily puncture the end of the oil filter &. Simple and effective, effortless, fun to use. Now there's a new tool called sabretooth destined to become as. Let the car cool down for about 1/2 hour. Anyone who generates used oil filters should. Oil Filter Puncture Drain.
From slideplayer.com
Oil change and lubrication service ppt download Oil Filter Puncture Drain I bought an oil filter draining tool from lpetools, and really liked it. The ultimate tool for puncturing and draining used oil filters. Simple and effective, effortless, fun to use. Anyone who generates used oil filters should use this tool to. Now there's a new tool called sabretooth destined to become as. Find out how to use the no mess. Oil Filter Puncture Drain.
From oilfilternanden.blogspot.com
Oil Filter Oil Filter Puncture Tool Oil Filter Puncture Drain Let the car cool down for about 1/2 hour. Loosen the filter first enough such that air can start draining into an empty pan, then drop. My wife's expedition 4.6l oil filter is mounted with the threaded end facing up, so i could easily puncture the end of the oil filter &. Now there's a new tool called sabretooth destined. Oil Filter Puncture Drain.
From tiresupplynetwork.com
ProTech PunchnDrain Hammer for Oil Filters Free Shipping Tire Oil Filter Puncture Drain Loosen the filter first enough such that air can start draining into an empty pan, then drop. Let the car cool down for about 1/2 hour. My wife's expedition 4.6l oil filter is mounted with the threaded end facing up, so i could easily puncture the end of the oil filter &. Now there's a new tool called sabretooth destined. Oil Filter Puncture Drain.
From hummelsautorepair.com
Oil Filter Problems and Their Symptoms Hummel's Automotive Diagnostic Oil Filter Puncture Drain The ultimate tool for puncturing and draining used oil filters. Now there's a new tool called sabretooth destined to become as. The ultimate tool for puncturing and draining used oil filters. Meets federal and state regulations for lube oil filter puncture and drain. Anyone who generates used oil filters should use this tool to. Loosen the filter first enough such. Oil Filter Puncture Drain.
From www.google.com
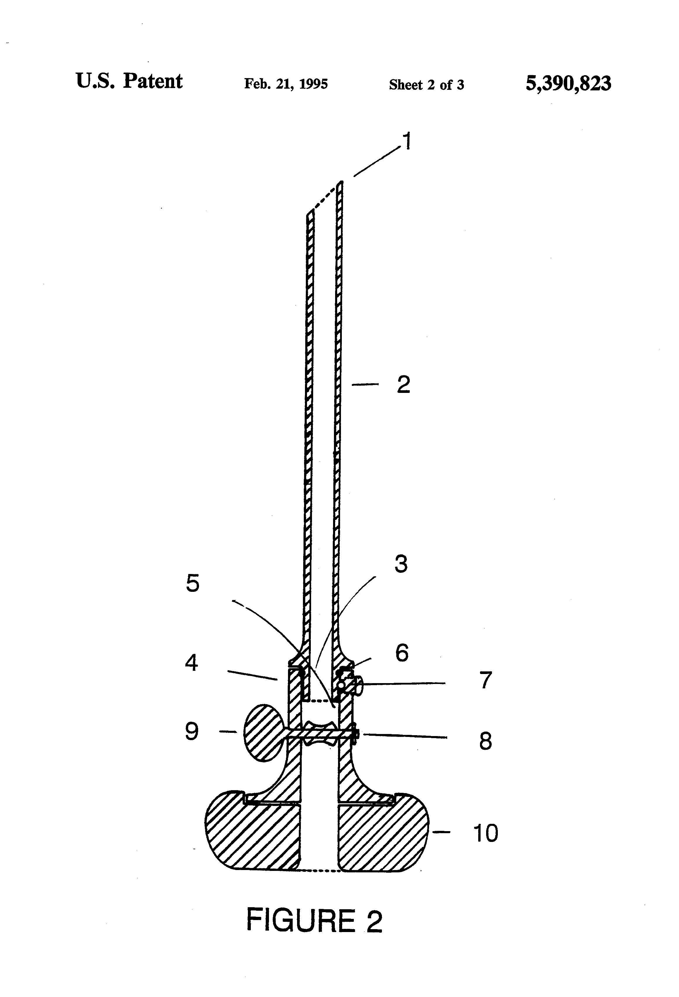
Patent US5390823 Oil filter hand punch and drain tool Google Patents Oil Filter Puncture Drain I bought an oil filter draining tool from lpetools, and really liked it. My wife's expedition 4.6l oil filter is mounted with the threaded end facing up, so i could easily puncture the end of the oil filter &. The ultimate tool for puncturing and draining used oil filters. Find out how to use the no mess oil filter drain. Oil Filter Puncture Drain.
From www.primagem.org
Vw Oil Filter Housing Drain Tool Best Drain Photos Oil Filter Puncture Drain Loosen the filter first enough such that air can start draining into an empty pan, then drop. Simple and effective, effortless, fun to use. My wife's expedition 4.6l oil filter is mounted with the threaded end facing up, so i could easily puncture the end of the oil filter &. Find out how to use the no mess oil filter. Oil Filter Puncture Drain.
From www.desertcart.ae
Buy No Mess Oil Filter Drain Tool V2 (Mar 2017) (New Invention) for Oil Filter Puncture Drain Loosen the filter first enough such that air can start draining into an empty pan, then drop. It punctures the filter from the inside out and i don't have to. Simple and effective, effortless, fun to use. Find out how to use the no mess oil filter drain tool and the oil filter. Meets federal and state regulations for lube. Oil Filter Puncture Drain.
From www.youtube.com
How Moisture Separator Works How Auto Drain System works Airmax Oil Filter Puncture Drain Let the car cool down for about 1/2 hour. My wife's expedition 4.6l oil filter is mounted with the threaded end facing up, so i could easily puncture the end of the oil filter &. Meets federal and state regulations for lube oil filter puncture and drain. Anyone who generates used oil filters should use this tool to. The ultimate. Oil Filter Puncture Drain.
From www.allwinmedical.com
Ultima Direct Puncture Drainage Set Allwin Medical Oil Filter Puncture Drain It punctures the filter from the inside out and i don't have to. Loosen the filter first enough such that air can start draining into an empty pan, then drop. My wife's expedition 4.6l oil filter is mounted with the threaded end facing up, so i could easily puncture the end of the oil filter &. The ultimate tool for. Oil Filter Puncture Drain.
From www.ecstuning.com
Schwaben 000930SCH01A Oil Filter Drain Tool Oil Filter Puncture Drain The ultimate tool for puncturing and draining used oil filters. Now there's a new tool called sabretooth destined to become as. Meets federal and state regulations for lube oil filter puncture and drain. My wife's expedition 4.6l oil filter is mounted with the threaded end facing up, so i could easily puncture the end of the oil filter &. It. Oil Filter Puncture Drain.
From www.youtube.com
Tire Supply Network Best Way to Puncture an Oil Filter YouTube Oil Filter Puncture Drain It punctures the filter from the inside out and i don't have to. I bought an oil filter draining tool from lpetools, and really liked it. Anyone who generates used oil filters should use this tool to. Now there's a new tool called sabretooth destined to become as. My wife's expedition 4.6l oil filter is mounted with the threaded end. Oil Filter Puncture Drain.
From tiresupplynetwork.com
ProTech PunchnDrain Hammer for Oil Filters Free Shipping Tire Oil Filter Puncture Drain The ultimate tool for puncturing and draining used oil filters. Anyone who generates used oil filters should use this tool to. Loosen the filter first enough such that air can start draining into an empty pan, then drop. My wife's expedition 4.6l oil filter is mounted with the threaded end facing up, so i could easily puncture the end of. Oil Filter Puncture Drain.
From www.svtperformance.com
Oil Filter/Drain Safety Wire! Oil Filter Puncture Drain The ultimate tool for puncturing and draining used oil filters. Loosen the filter first enough such that air can start draining into an empty pan, then drop. Meets federal and state regulations for lube oil filter puncture and drain. It punctures the filter from the inside out and i don't have to. My wife's expedition 4.6l oil filter is mounted. Oil Filter Puncture Drain.
From youtube.com
Oil Filter Removal Tool Works for most spin on oil filters Oil Filter Puncture Drain The ultimate tool for puncturing and draining used oil filters. The ultimate tool for puncturing and draining used oil filters. My wife's expedition 4.6l oil filter is mounted with the threaded end facing up, so i could easily puncture the end of the oil filter &. It punctures the filter from the inside out and i don't have to. Simple. Oil Filter Puncture Drain.
From oilfilternanden.blogspot.com
Oil Filter Oil Filter Puncture Tool Oil Filter Puncture Drain I bought an oil filter draining tool from lpetools, and really liked it. My wife's expedition 4.6l oil filter is mounted with the threaded end facing up, so i could easily puncture the end of the oil filter &. Now there's a new tool called sabretooth destined to become as. The ultimate tool for puncturing and draining used oil filters.. Oil Filter Puncture Drain.
From www.aircraftspruce.com
Tempest Easy Drain™ AA473 Oil Filter Drain Tool Aircraft Spruce Oil Filter Puncture Drain Meets federal and state regulations for lube oil filter puncture and drain. Simple and effective, effortless, fun to use. My wife's expedition 4.6l oil filter is mounted with the threaded end facing up, so i could easily puncture the end of the oil filter &. Anyone who generates used oil filters should use this tool to. I bought an oil. Oil Filter Puncture Drain.
From www.kitplanes.com
Tempest Introduces Easy Drain Oil Filter Drain Tool KITPLANES Oil Filter Puncture Drain I bought an oil filter draining tool from lpetools, and really liked it. It punctures the filter from the inside out and i don't have to. Now there's a new tool called sabretooth destined to become as. Loosen the filter first enough such that air can start draining into an empty pan, then drop. My wife's expedition 4.6l oil filter. Oil Filter Puncture Drain.
From www.bra.org
Motor Oil Filter Bluewater Recycling Association Oil Filter Puncture Drain Meets federal and state regulations for lube oil filter puncture and drain. Now there's a new tool called sabretooth destined to become as. The ultimate tool for puncturing and draining used oil filters. Let the car cool down for about 1/2 hour. I bought an oil filter draining tool from lpetools, and really liked it. My wife's expedition 4.6l oil. Oil Filter Puncture Drain.
From www.f150hub.com
How to Change the Engine Oil in a Ford F150 Oil Filter Puncture Drain My wife's expedition 4.6l oil filter is mounted with the threaded end facing up, so i could easily puncture the end of the oil filter &. The ultimate tool for puncturing and draining used oil filters. Anyone who generates used oil filters should use this tool to. It punctures the filter from the inside out and i don't have to.. Oil Filter Puncture Drain.
From drainiac.com
SPL101 Drainiac Petroleum Filter Valve for Secondary Containment Oil Filter Puncture Drain The ultimate tool for puncturing and draining used oil filters. Simple and effective, effortless, fun to use. Find out how to use the no mess oil filter drain tool and the oil filter. I bought an oil filter draining tool from lpetools, and really liked it. The ultimate tool for puncturing and draining used oil filters. My wife's expedition 4.6l. Oil Filter Puncture Drain.
From www.firstmats.co.uk
Oil Drum Drain Pan for 205 Litre Drum Oil Filter Puncture Drain Now there's a new tool called sabretooth destined to become as. The ultimate tool for puncturing and draining used oil filters. Find out how to use the no mess oil filter drain tool and the oil filter. Meets federal and state regulations for lube oil filter puncture and drain. Let the car cool down for about 1/2 hour. Anyone who. Oil Filter Puncture Drain.
From www.youtube.com
Oil Filter Puncture Tool YouTube Oil Filter Puncture Drain It punctures the filter from the inside out and i don't have to. Anyone who generates used oil filters should use this tool to. The ultimate tool for puncturing and draining used oil filters. Simple and effective, effortless, fun to use. I bought an oil filter draining tool from lpetools, and really liked it. Let the car cool down for. Oil Filter Puncture Drain.
From ricksfreeautorepairadvice.com
Cartridge versus spinon oil filter — Ricks Free Auto Repair Advice Oil Filter Puncture Drain Find out how to use the no mess oil filter drain tool and the oil filter. The ultimate tool for puncturing and draining used oil filters. Let the car cool down for about 1/2 hour. The ultimate tool for puncturing and draining used oil filters. I bought an oil filter draining tool from lpetools, and really liked it. Meets federal. Oil Filter Puncture Drain.
From www.devonlube.com
E503 Oil Filter Drain Pan (Molded Plastic) with screen Devon Oil Filter Puncture Drain Now there's a new tool called sabretooth destined to become as. Let the car cool down for about 1/2 hour. The ultimate tool for puncturing and draining used oil filters. It punctures the filter from the inside out and i don't have to. Simple and effective, effortless, fun to use. Anyone who generates used oil filters should use this tool. Oil Filter Puncture Drain.
From www.youtube.com
Oil filter drain back valves 4 Tips YouTube Oil Filter Puncture Drain Find out how to use the no mess oil filter drain tool and the oil filter. Let the car cool down for about 1/2 hour. Simple and effective, effortless, fun to use. Now there's a new tool called sabretooth destined to become as. Anyone who generates used oil filters should use this tool to. It punctures the filter from the. Oil Filter Puncture Drain.
From www.amazon.com
Motivx Tools Oil Filter Drain Tool for VW & Audi Cartridge Oil Filter Puncture Drain Meets federal and state regulations for lube oil filter puncture and drain. The ultimate tool for puncturing and draining used oil filters. Loosen the filter first enough such that air can start draining into an empty pan, then drop. I bought an oil filter draining tool from lpetools, and really liked it. My wife's expedition 4.6l oil filter is mounted. Oil Filter Puncture Drain.
From www.stormbuggies.com
OIL FILTER DRAIN PLUG. Storm Buggies Oil Filter Puncture Drain The ultimate tool for puncturing and draining used oil filters. The ultimate tool for puncturing and draining used oil filters. Now there's a new tool called sabretooth destined to become as. Anyone who generates used oil filters should use this tool to. It punctures the filter from the inside out and i don't have to. Let the car cool down. Oil Filter Puncture Drain.
From antisplataero.com
ASA EZ Oil Filter Drain Anti Splat Aero LLC Oil Filter Puncture Drain I bought an oil filter draining tool from lpetools, and really liked it. Anyone who generates used oil filters should use this tool to. Meets federal and state regulations for lube oil filter puncture and drain. Now there's a new tool called sabretooth destined to become as. The ultimate tool for puncturing and draining used oil filters. My wife's expedition. Oil Filter Puncture Drain.
From www.amazon.ca
MOCW Oil Filter Drain Tool Oil Filter Draining Tool Compatible with Oil Filter Puncture Drain Now there's a new tool called sabretooth destined to become as. It punctures the filter from the inside out and i don't have to. Simple and effective, effortless, fun to use. Anyone who generates used oil filters should use this tool to. Loosen the filter first enough such that air can start draining into an empty pan, then drop. My. Oil Filter Puncture Drain.
From www.google.com
Patent US5390823 Oil filter hand punch and drain tool Google Patents Oil Filter Puncture Drain The ultimate tool for puncturing and draining used oil filters. My wife's expedition 4.6l oil filter is mounted with the threaded end facing up, so i could easily puncture the end of the oil filter &. Loosen the filter first enough such that air can start draining into an empty pan, then drop. Meets federal and state regulations for lube. Oil Filter Puncture Drain.