Can You Add Power Trim To Outboard . I would like to install a power trim and tilt on this outboard but not sure if it was an option. I have looked around and see lots of mercury units,. What & where can i get this kit (motor,. All you would need to do is to look up on mercury's website. Installing the powerhead on a yamaha 50hp four stroke outboard. Is it possible to make your own power trim/tilt? I was wanting to add power trim and tilt mainly so i could lift the engine quickly and easily when in the shallows, but also to adjust on the fly. Just got a 25 hp mercury outboard without a trim and tilt feature and would like to add one. I should get a picture up because that might be easier to understand. I have looked into adding power trim to my 40hp. But the way im wanting to do it is use.
from www.crowleymarine.com
I was wanting to add power trim and tilt mainly so i could lift the engine quickly and easily when in the shallows, but also to adjust on the fly. What & where can i get this kit (motor,. I would like to install a power trim and tilt on this outboard but not sure if it was an option. I have looked around and see lots of mercury units,. Installing the powerhead on a yamaha 50hp four stroke outboard. I should get a picture up because that might be easier to understand. Is it possible to make your own power trim/tilt? All you would need to do is to look up on mercury's website. But the way im wanting to do it is use. I have looked into adding power trim to my 40hp.
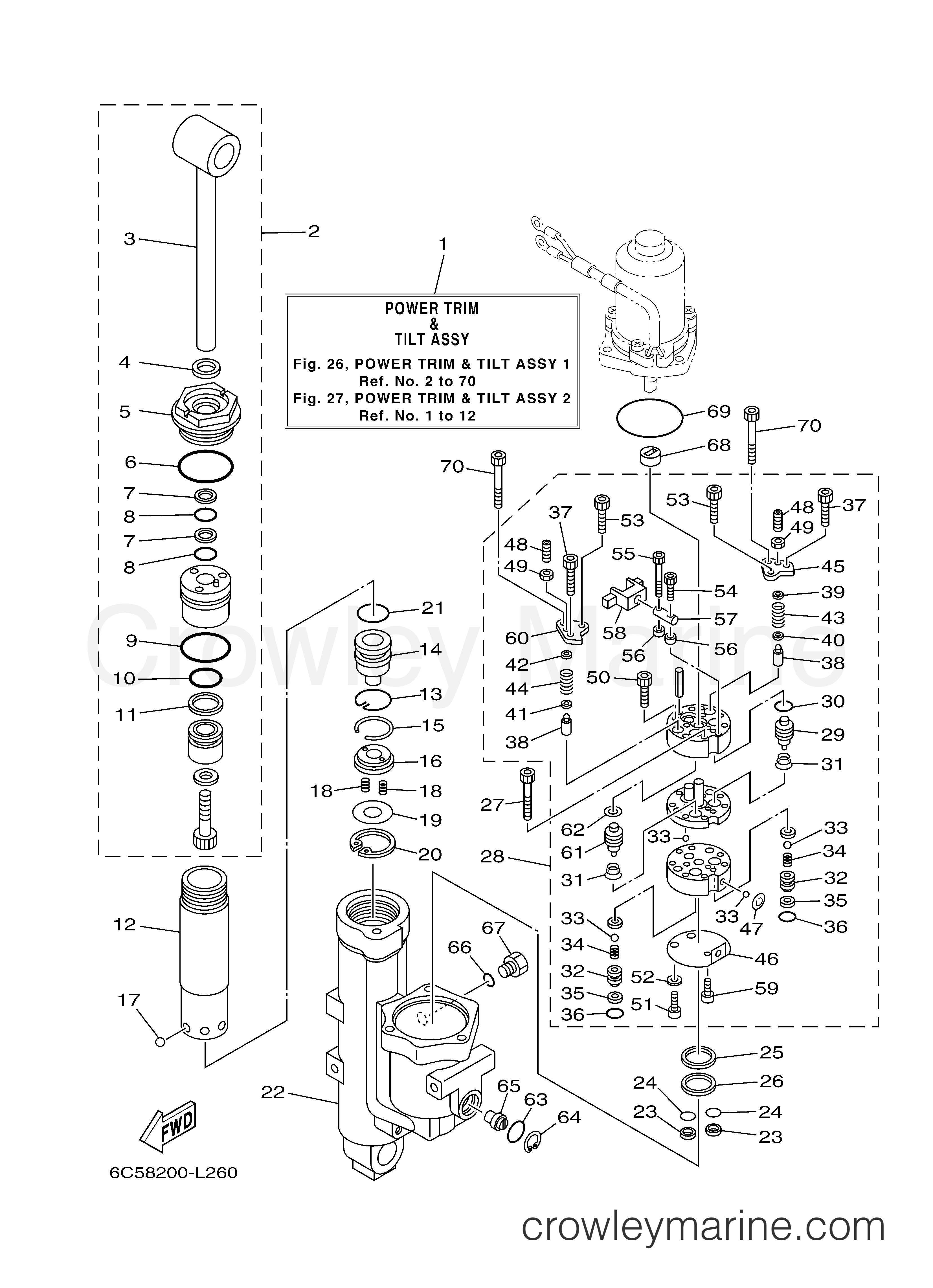
POWER TRIM TILT ASSY 1 2006 Outboard 250hp F250TXR Crowley Marine
Can You Add Power Trim To Outboard But the way im wanting to do it is use. I have looked into adding power trim to my 40hp. I was wanting to add power trim and tilt mainly so i could lift the engine quickly and easily when in the shallows, but also to adjust on the fly. All you would need to do is to look up on mercury's website. Just got a 25 hp mercury outboard without a trim and tilt feature and would like to add one. I have looked around and see lots of mercury units,. But the way im wanting to do it is use. I should get a picture up because that might be easier to understand. I would like to install a power trim and tilt on this outboard but not sure if it was an option. Installing the powerhead on a yamaha 50hp four stroke outboard. Is it possible to make your own power trim/tilt? What & where can i get this kit (motor,.
From www.crowleymarine.com
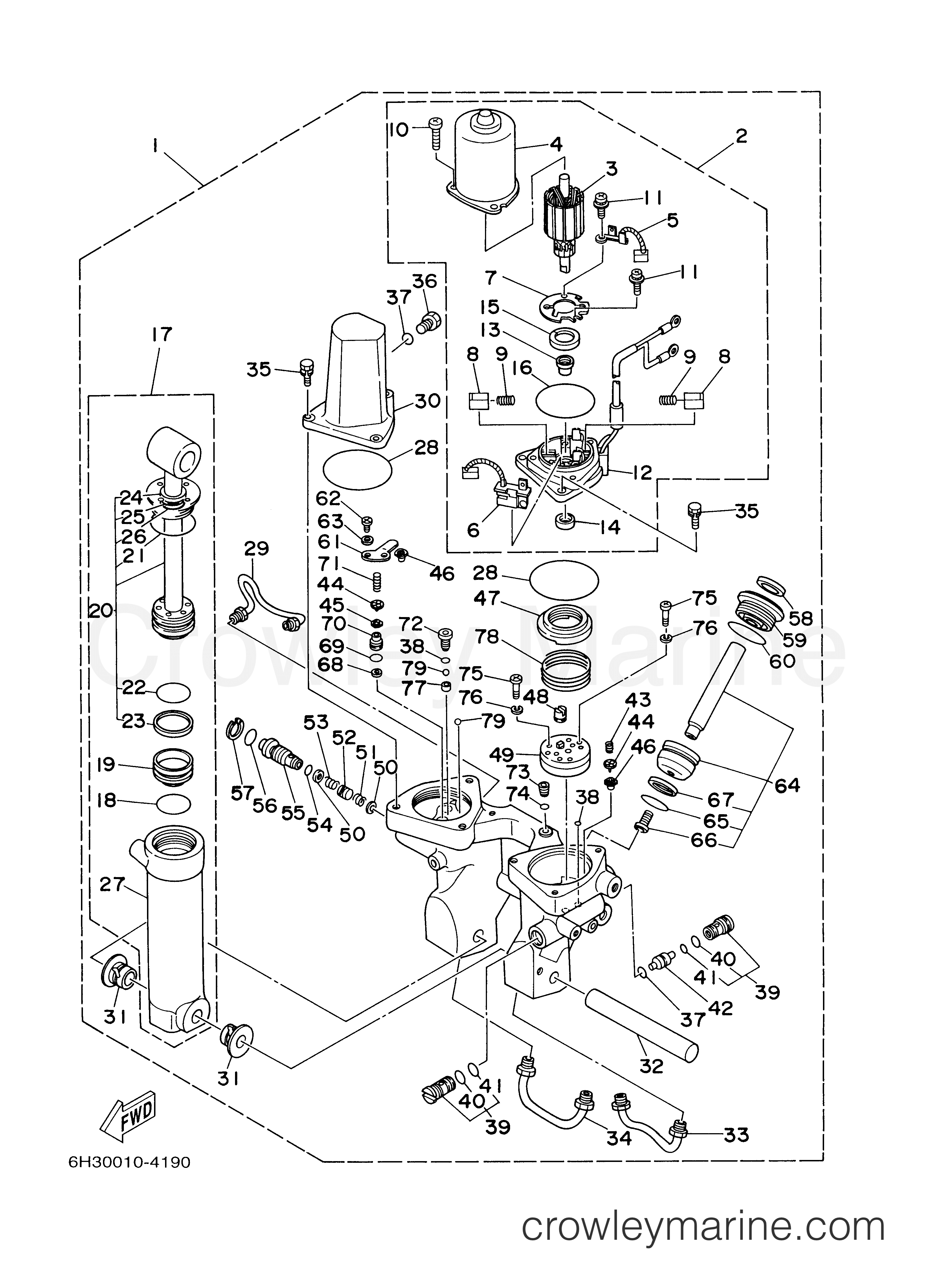
POWER TRIM TILT ASSEMBLY 1993 Outboard 115hp C115TLRR Crowley Marine Can You Add Power Trim To Outboard Is it possible to make your own power trim/tilt? Installing the powerhead on a yamaha 50hp four stroke outboard. I should get a picture up because that might be easier to understand. Just got a 25 hp mercury outboard without a trim and tilt feature and would like to add one. But the way im wanting to do it is. Can You Add Power Trim To Outboard.
From www.crowleymarine.com
POWER TRIM MOUNTING 1995 Outboard 40 H040412RD [ELPT] Crowley Marine Can You Add Power Trim To Outboard What & where can i get this kit (motor,. All you would need to do is to look up on mercury's website. I should get a picture up because that might be easier to understand. Is it possible to make your own power trim/tilt? Installing the powerhead on a yamaha 50hp four stroke outboard. But the way im wanting to. Can You Add Power Trim To Outboard.
From guidepartunreadier.z19.web.core.windows.net
Power Trim For Outboard Motor Can You Add Power Trim To Outboard I would like to install a power trim and tilt on this outboard but not sure if it was an option. Installing the powerhead on a yamaha 50hp four stroke outboard. But the way im wanting to do it is use. I have looked into adding power trim to my 40hp. I should get a picture up because that might. Can You Add Power Trim To Outboard.
From wiringfixtentaclauw4.z13.web.core.windows.net
Mercury Outboard Power Trim Tilt Can You Add Power Trim To Outboard Installing the powerhead on a yamaha 50hp four stroke outboard. Just got a 25 hp mercury outboard without a trim and tilt feature and would like to add one. I should get a picture up because that might be easier to understand. All you would need to do is to look up on mercury's website. But the way im wanting. Can You Add Power Trim To Outboard.
From www.crowleymarine.com
POWER TRIM TILT ASSEMBLY 1 1999 Outboard 80hp F80TLRX Crowley Marine Can You Add Power Trim To Outboard I have looked around and see lots of mercury units,. I have looked into adding power trim to my 40hp. Just got a 25 hp mercury outboard without a trim and tilt feature and would like to add one. But the way im wanting to do it is use. All you would need to do is to look up on. Can You Add Power Trim To Outboard.
From www.crowleymarine.com
POWER TRIM TILT ASSEMBLY 1 1996 Outboard 225hp S225TXRU Crowley Marine Can You Add Power Trim To Outboard I should get a picture up because that might be easier to understand. But the way im wanting to do it is use. I was wanting to add power trim and tilt mainly so i could lift the engine quickly and easily when in the shallows, but also to adjust on the fly. I have looked into adding power trim. Can You Add Power Trim To Outboard.
From www.youtube.com
Yamaha Replace power trim tilt motor 1998 25 30 40 hp 4 stroke DIY Can You Add Power Trim To Outboard Installing the powerhead on a yamaha 50hp four stroke outboard. I was wanting to add power trim and tilt mainly so i could lift the engine quickly and easily when in the shallows, but also to adjust on the fly. But the way im wanting to do it is use. All you would need to do is to look up. Can You Add Power Trim To Outboard.
From powerboatsupply.com
New Mercury 25ELHPT 20" Shaft Electric Start Power Trim Four Stroke Can You Add Power Trim To Outboard What & where can i get this kit (motor,. I would like to install a power trim and tilt on this outboard but not sure if it was an option. All you would need to do is to look up on mercury's website. But the way im wanting to do it is use. I was wanting to add power trim. Can You Add Power Trim To Outboard.
From www.crowleymarine.com
POWER TRIM TILT ASSY 1989 Outboard 50hp PRO50LF Crowley Marine Can You Add Power Trim To Outboard Just got a 25 hp mercury outboard without a trim and tilt feature and would like to add one. Installing the powerhead on a yamaha 50hp four stroke outboard. All you would need to do is to look up on mercury's website. What & where can i get this kit (motor,. I should get a picture up because that might. Can You Add Power Trim To Outboard.
From www.crowleymarine.com
POWER TRIM TILT ASSEMBLY 2000 Outboard 50hp F50TLRY Crowley Marine Can You Add Power Trim To Outboard Is it possible to make your own power trim/tilt? I should get a picture up because that might be easier to understand. I have looked around and see lots of mercury units,. All you would need to do is to look up on mercury's website. I was wanting to add power trim and tilt mainly so i could lift the. Can You Add Power Trim To Outboard.
From www.crowleymarine.com
POWER TRIM TILT ASSEMBLY 1 2005 Outboard 150hp F150TXRD Crowley Marine Can You Add Power Trim To Outboard But the way im wanting to do it is use. I would like to install a power trim and tilt on this outboard but not sure if it was an option. All you would need to do is to look up on mercury's website. I was wanting to add power trim and tilt mainly so i could lift the engine. Can You Add Power Trim To Outboard.
From www.crowleymarine.com
POWER TRIM TILT ASSY 2006 Outboard 40hp F40TLR Crowley Marine Can You Add Power Trim To Outboard Is it possible to make your own power trim/tilt? Just got a 25 hp mercury outboard without a trim and tilt feature and would like to add one. I should get a picture up because that might be easier to understand. What & where can i get this kit (motor,. I have looked into adding power trim to my 40hp.. Can You Add Power Trim To Outboard.
From www.youtube.com
How to add or refill your Trim and tilt fluid on an outboard. YouTube Can You Add Power Trim To Outboard Is it possible to make your own power trim/tilt? But the way im wanting to do it is use. Installing the powerhead on a yamaha 50hp four stroke outboard. What & where can i get this kit (motor,. I was wanting to add power trim and tilt mainly so i could lift the engine quickly and easily when in the. Can You Add Power Trim To Outboard.
From www.crowleymarine.com
POWER TRIM COMPONENTS(THREE RAM POWER TRIM DESIGN II) 1988 Outboard Can You Add Power Trim To Outboard I would like to install a power trim and tilt on this outboard but not sure if it was an option. Is it possible to make your own power trim/tilt? Just got a 25 hp mercury outboard without a trim and tilt feature and would like to add one. I should get a picture up because that might be easier. Can You Add Power Trim To Outboard.
From www.youtube.com
Yamaha Outboard Tilt Trim Broken How to Add or Refill Your Yamaha Can You Add Power Trim To Outboard I should get a picture up because that might be easier to understand. Installing the powerhead on a yamaha 50hp four stroke outboard. I was wanting to add power trim and tilt mainly so i could lift the engine quickly and easily when in the shallows, but also to adjust on the fly. I would like to install a power. Can You Add Power Trim To Outboard.
From www.aliexpress.com
BoatOutboardPowerTrimTiltAssembly855654T09StrongPower8M0055011 Can You Add Power Trim To Outboard I have looked around and see lots of mercury units,. Is it possible to make your own power trim/tilt? All you would need to do is to look up on mercury's website. Just got a 25 hp mercury outboard without a trim and tilt feature and would like to add one. I would like to install a power trim and. Can You Add Power Trim To Outboard.
From www.crowleymarine.com
POWER TRIM & TILT ASSY 2 2005 Outboard 225hp F225TXRD Crowley Marine Can You Add Power Trim To Outboard I should get a picture up because that might be easier to understand. I would like to install a power trim and tilt on this outboard but not sure if it was an option. Is it possible to make your own power trim/tilt? What & where can i get this kit (motor,. But the way im wanting to do it. Can You Add Power Trim To Outboard.
From www.youtube.com
Installing a power trim tilt unit in an outboard motor YouTube Can You Add Power Trim To Outboard What & where can i get this kit (motor,. Installing the powerhead on a yamaha 50hp four stroke outboard. Is it possible to make your own power trim/tilt? But the way im wanting to do it is use. I was wanting to add power trim and tilt mainly so i could lift the engine quickly and easily when in the. Can You Add Power Trim To Outboard.
From diagramlibraryvill.z13.web.core.windows.net
Mercury Outboard Power Trim Kit Can You Add Power Trim To Outboard What & where can i get this kit (motor,. But the way im wanting to do it is use. Is it possible to make your own power trim/tilt? I have looked into adding power trim to my 40hp. I would like to install a power trim and tilt on this outboard but not sure if it was an option. I. Can You Add Power Trim To Outboard.
From maxrules.com
Common Outboard Motor Trim and Tilt System Wiring Diagrams Can You Add Power Trim To Outboard I would like to install a power trim and tilt on this outboard but not sure if it was an option. I should get a picture up because that might be easier to understand. I have looked around and see lots of mercury units,. Installing the powerhead on a yamaha 50hp four stroke outboard. I have looked into adding power. Can You Add Power Trim To Outboard.
From motorriderz.com
Homemade Power Trim And Tilt Transform Your Boat Experience Motor Riderz Can You Add Power Trim To Outboard All you would need to do is to look up on mercury's website. I was wanting to add power trim and tilt mainly so i could lift the engine quickly and easily when in the shallows, but also to adjust on the fly. I have looked around and see lots of mercury units,. I have looked into adding power trim. Can You Add Power Trim To Outboard.
From www.crowleymarine.com
POWER TRIM COMPONENTS 1989 Outboard 200XRI 1200453GD Crowley Marine Can You Add Power Trim To Outboard I would like to install a power trim and tilt on this outboard but not sure if it was an option. Just got a 25 hp mercury outboard without a trim and tilt feature and would like to add one. I should get a picture up because that might be easier to understand. Is it possible to make your own. Can You Add Power Trim To Outboard.
From guidepartnotarized.z13.web.core.windows.net
Adding Power Trim To Mercury Outboard Can You Add Power Trim To Outboard But the way im wanting to do it is use. I have looked into adding power trim to my 40hp. I would like to install a power trim and tilt on this outboard but not sure if it was an option. I have looked around and see lots of mercury units,. All you would need to do is to look. Can You Add Power Trim To Outboard.
From www.brisbaneyamaha.com.au
40VWHTOL Yamaha 2 Stroke 40hp Long Shaft, Electric Start, Power Trim Can You Add Power Trim To Outboard But the way im wanting to do it is use. I would like to install a power trim and tilt on this outboard but not sure if it was an option. I have looked into adding power trim to my 40hp. Installing the powerhead on a yamaha 50hp four stroke outboard. I have looked around and see lots of mercury. Can You Add Power Trim To Outboard.
From www.youtube.com
How to remove Yamaha outboard power trim unit. YouTube Can You Add Power Trim To Outboard I would like to install a power trim and tilt on this outboard but not sure if it was an option. Installing the powerhead on a yamaha 50hp four stroke outboard. Just got a 25 hp mercury outboard without a trim and tilt feature and would like to add one. But the way im wanting to do it is use.. Can You Add Power Trim To Outboard.
From www.crowleymarine.com
POWER TRIM TILT ASSY 1 2006 Outboard 250hp F250TXR Crowley Marine Can You Add Power Trim To Outboard But the way im wanting to do it is use. Just got a 25 hp mercury outboard without a trim and tilt feature and would like to add one. I would like to install a power trim and tilt on this outboard but not sure if it was an option. Is it possible to make your own power trim/tilt? I. Can You Add Power Trim To Outboard.
From www.youtube.com
1974 Mercury 850 85hp Outboard Power Trim/Tilt Test YouTube Can You Add Power Trim To Outboard I would like to install a power trim and tilt on this outboard but not sure if it was an option. I have looked around and see lots of mercury units,. I have looked into adding power trim to my 40hp. What & where can i get this kit (motor,. Just got a 25 hp mercury outboard without a trim. Can You Add Power Trim To Outboard.
From www.youtube.com
Power Tilt Trim Fix on Mercury 60HP Outboard YouTube Can You Add Power Trim To Outboard But the way im wanting to do it is use. I should get a picture up because that might be easier to understand. Just got a 25 hp mercury outboard without a trim and tilt feature and would like to add one. Installing the powerhead on a yamaha 50hp four stroke outboard. All you would need to do is to. Can You Add Power Trim To Outboard.
From www.crowleymarine.com
POWER TRIM 2001 Outboard 40 [ELPT/BF 4] 7F40452KD Crowley Marine Can You Add Power Trim To Outboard All you would need to do is to look up on mercury's website. Just got a 25 hp mercury outboard without a trim and tilt feature and would like to add one. I would like to install a power trim and tilt on this outboard but not sure if it was an option. I should get a picture up because. Can You Add Power Trim To Outboard.
From www.crowleymarine.com
POWER TILT & TRIM 1989 Johnson Outboards 40 TJ40ELCEC Crowley Marine Can You Add Power Trim To Outboard Is it possible to make your own power trim/tilt? I have looked into adding power trim to my 40hp. I have looked around and see lots of mercury units,. Just got a 25 hp mercury outboard without a trim and tilt feature and would like to add one. I would like to install a power trim and tilt on this. Can You Add Power Trim To Outboard.
From enginelistrerhapsodies.z14.web.core.windows.net
Mercury Outboard Power Trim Tilt Can You Add Power Trim To Outboard I would like to install a power trim and tilt on this outboard but not sure if it was an option. I was wanting to add power trim and tilt mainly so i could lift the engine quickly and easily when in the shallows, but also to adjust on the fly. I should get a picture up because that might. Can You Add Power Trim To Outboard.
From www.crowleymarine.com
POWER TRIM TILT ASSY 1 2012 Outboard 60hp F60LA Crowley Marine Can You Add Power Trim To Outboard What & where can i get this kit (motor,. I should get a picture up because that might be easier to understand. I was wanting to add power trim and tilt mainly so i could lift the engine quickly and easily when in the shallows, but also to adjust on the fly. I would like to install a power trim. Can You Add Power Trim To Outboard.
From www.crowleymarine.com
POWER TRIM TILT ASSY 2001 Outboard 90hp 90TLRZ Crowley Marine Can You Add Power Trim To Outboard Just got a 25 hp mercury outboard without a trim and tilt feature and would like to add one. Is it possible to make your own power trim/tilt? I should get a picture up because that might be easier to understand. I was wanting to add power trim and tilt mainly so i could lift the engine quickly and easily. Can You Add Power Trim To Outboard.
From guideovercome4148og.z22.web.core.windows.net
Power Trim For Small Outboards Comparison Can You Add Power Trim To Outboard Is it possible to make your own power trim/tilt? Just got a 25 hp mercury outboard without a trim and tilt feature and would like to add one. I should get a picture up because that might be easier to understand. But the way im wanting to do it is use. I was wanting to add power trim and tilt. Can You Add Power Trim To Outboard.
From roxom.com.au
How To Use A Outboard Motor Trim / Tilt Support Block Can You Add Power Trim To Outboard Is it possible to make your own power trim/tilt? Installing the powerhead on a yamaha 50hp four stroke outboard. What & where can i get this kit (motor,. But the way im wanting to do it is use. Just got a 25 hp mercury outboard without a trim and tilt feature and would like to add one. I would like. Can You Add Power Trim To Outboard.