Deadbolt Lock Parts Diagram . Explore the different types of door lock parts and their names with our detailed diagram. When installing a schlage deadbolt, you need to be careful with the individual parts to ensure you don’t break, damage, or even lose them. The diagram typically includes key elements such as the lock cylinder, latch, deadbolt, strike plate, and handles. Key in lock component part breakdown The parts you need to be careful with include the tailpiece, the lockset screw, lock cylinder, pins, and springs. The lath bore (aka edge bore) is usually 1 inch in diameter, so it’s much smaller than the cross bore. Learn about the anatomy of a door lock and understand the different components that make it. The lower one is for the doorknob and the top one is for the deadbolt. Learn about the different parts of a schlage deadbolt lock with our detailed diagram. Don’t confuse the cross borehole size with the latch bore size which is the diameter of the hole on the edge of the door. A door lock assembly diagram provides a detailed breakdown of the different components and their interactions within a door lock. Explore the various parts of a deadbolt lock with our helpful diagram. Understand how each component works together for enhanced security and functionality. Learn about the latch, strike plate, cylinder, tailpiece, and more.
from schempro.com
Key in lock component part breakdown When installing a schlage deadbolt, you need to be careful with the individual parts to ensure you don’t break, damage, or even lose them. The lath bore (aka edge bore) is usually 1 inch in diameter, so it’s much smaller than the cross bore. Don’t confuse the cross borehole size with the latch bore size which is the diameter of the hole on the edge of the door. The diagram typically includes key elements such as the lock cylinder, latch, deadbolt, strike plate, and handles. Understand how each component works together for enhanced security and functionality. Explore the various parts of a deadbolt lock with our helpful diagram. Learn about the different parts of a schlage deadbolt lock with our detailed diagram. The lower one is for the doorknob and the top one is for the deadbolt. A door lock assembly diagram provides a detailed breakdown of the different components and their interactions within a door lock.
Dissecting the Anatomy of a Deadbolt Lock
Deadbolt Lock Parts Diagram The lower one is for the doorknob and the top one is for the deadbolt. Learn about the different parts of a schlage deadbolt lock with our detailed diagram. Don’t confuse the cross borehole size with the latch bore size which is the diameter of the hole on the edge of the door. The lower one is for the doorknob and the top one is for the deadbolt. Understand how each component works together for enhanced security and functionality. Learn about the latch, strike plate, cylinder, tailpiece, and more. Explore the different types of door lock parts and their names with our detailed diagram. Explore the various parts of a deadbolt lock with our helpful diagram. When installing a schlage deadbolt, you need to be careful with the individual parts to ensure you don’t break, damage, or even lose them. The parts you need to be careful with include the tailpiece, the lockset screw, lock cylinder, pins, and springs. The lath bore (aka edge bore) is usually 1 inch in diameter, so it’s much smaller than the cross bore. Learn about the anatomy of a door lock and understand the different components that make it. A door lock assembly diagram provides a detailed breakdown of the different components and their interactions within a door lock. Key in lock component part breakdown The diagram typically includes key elements such as the lock cylinder, latch, deadbolt, strike plate, and handles.
From www.homenish.com
Parts of a Door Lock (2 Diagrams For Cylinder Lock & Padlock) Homenish Deadbolt Lock Parts Diagram Key in lock component part breakdown The lath bore (aka edge bore) is usually 1 inch in diameter, so it’s much smaller than the cross bore. The parts you need to be careful with include the tailpiece, the lockset screw, lock cylinder, pins, and springs. When installing a schlage deadbolt, you need to be careful with the individual parts to. Deadbolt Lock Parts Diagram.
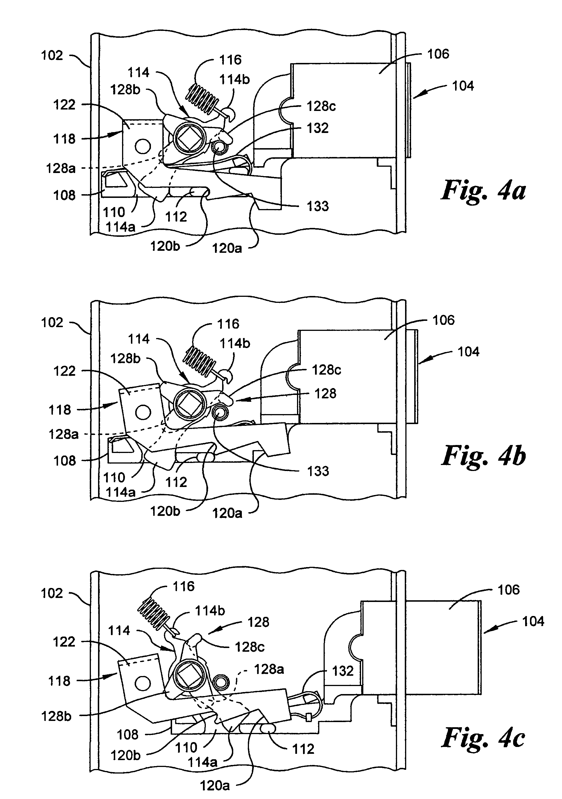
From schematicpillaged.z14.web.core.windows.net
Schlage Deadbolt Locksets Parts Deadbolt Lock Parts Diagram Learn about the different parts of a schlage deadbolt lock with our detailed diagram. The lower one is for the doorknob and the top one is for the deadbolt. Understand how each component works together for enhanced security and functionality. A door lock assembly diagram provides a detailed breakdown of the different components and their interactions within a door lock.. Deadbolt Lock Parts Diagram.
From garagekagaariytc.z13.web.core.windows.net
Parts Of A Lock Names Deadbolt Lock Parts Diagram Explore the different types of door lock parts and their names with our detailed diagram. Learn about the latch, strike plate, cylinder, tailpiece, and more. The parts you need to be careful with include the tailpiece, the lockset screw, lock cylinder, pins, and springs. Key in lock component part breakdown Explore the various parts of a deadbolt lock with our. Deadbolt Lock Parts Diagram.
From resolutionsforyou.com
Kwikset deadbolt parts diagram Deadbolt Lock Parts Diagram When installing a schlage deadbolt, you need to be careful with the individual parts to ensure you don’t break, damage, or even lose them. Understand how each component works together for enhanced security and functionality. The lower one is for the doorknob and the top one is for the deadbolt. Learn about the anatomy of a door lock and understand. Deadbolt Lock Parts Diagram.
From signalwires.com
Exploring the Inner Workings of a Kwikset Deadbolt A Parts Diagram Deadbolt Lock Parts Diagram Learn about the anatomy of a door lock and understand the different components that make it. When installing a schlage deadbolt, you need to be careful with the individual parts to ensure you don’t break, damage, or even lose them. Understand how each component works together for enhanced security and functionality. Explore the different types of door lock parts and. Deadbolt Lock Parts Diagram.
From gastshare.weebly.com
Parts of a deadbolt lock diagram gastshare Deadbolt Lock Parts Diagram The parts you need to be careful with include the tailpiece, the lockset screw, lock cylinder, pins, and springs. Learn about the anatomy of a door lock and understand the different components that make it. Learn about the different parts of a schlage deadbolt lock with our detailed diagram. Understand how each component works together for enhanced security and functionality.. Deadbolt Lock Parts Diagram.
From schempro.com
Dissecting the Anatomy of a Deadbolt Lock Deadbolt Lock Parts Diagram Explore the various parts of a deadbolt lock with our helpful diagram. Learn about the anatomy of a door lock and understand the different components that make it. The lower one is for the doorknob and the top one is for the deadbolt. Learn about the latch, strike plate, cylinder, tailpiece, and more. When installing a schlage deadbolt, you need. Deadbolt Lock Parts Diagram.
From www.gvlock.com
Guide To Commercial Automatic Door Locks & Operators GV Lock Deadbolt Lock Parts Diagram The parts you need to be careful with include the tailpiece, the lockset screw, lock cylinder, pins, and springs. Learn about the anatomy of a door lock and understand the different components that make it. Explore the different types of door lock parts and their names with our detailed diagram. Key in lock component part breakdown Learn about the latch,. Deadbolt Lock Parts Diagram.
From bouvet.com
Deadbolt Installation Instructions Deadbolt Lock Parts Diagram The lath bore (aka edge bore) is usually 1 inch in diameter, so it’s much smaller than the cross bore. The diagram typically includes key elements such as the lock cylinder, latch, deadbolt, strike plate, and handles. Understand how each component works together for enhanced security and functionality. Learn about the different parts of a schlage deadbolt lock with our. Deadbolt Lock Parts Diagram.
From www.anytimelocksmiths.co.uk
The 5 Lever Deadbolt BS3621 Anytime Locksmiths Deadbolt Lock Parts Diagram Learn about the different parts of a schlage deadbolt lock with our detailed diagram. Learn about the latch, strike plate, cylinder, tailpiece, and more. Explore the different types of door lock parts and their names with our detailed diagram. Learn about the anatomy of a door lock and understand the different components that make it. Don’t confuse the cross borehole. Deadbolt Lock Parts Diagram.
From revolar.com
Different Parts of a Door Lock and When to Replace Them Deadbolt Lock Parts Diagram The lower one is for the doorknob and the top one is for the deadbolt. The parts you need to be careful with include the tailpiece, the lockset screw, lock cylinder, pins, and springs. Understand how each component works together for enhanced security and functionality. The diagram typically includes key elements such as the lock cylinder, latch, deadbolt, strike plate,. Deadbolt Lock Parts Diagram.
From schempro.com
Dissecting the Anatomy of a Deadbolt Lock Deadbolt Lock Parts Diagram Learn about the anatomy of a door lock and understand the different components that make it. The lath bore (aka edge bore) is usually 1 inch in diameter, so it’s much smaller than the cross bore. Don’t confuse the cross borehole size with the latch bore size which is the diameter of the hole on the edge of the door.. Deadbolt Lock Parts Diagram.
From atelier-yuwa.ciao.jp
Labeled Parts Of A Door Knob, Door Handle Deadbolt Lock Signstek Deadbolt Lock Parts Diagram The lower one is for the doorknob and the top one is for the deadbolt. A door lock assembly diagram provides a detailed breakdown of the different components and their interactions within a door lock. The lath bore (aka edge bore) is usually 1 inch in diameter, so it’s much smaller than the cross bore. Explore the various parts of. Deadbolt Lock Parts Diagram.
From wirewiringlorraine.z13.web.core.windows.net
Deadbolt Lock Parts Diagram Deadbolt Lock Parts Diagram A door lock assembly diagram provides a detailed breakdown of the different components and their interactions within a door lock. The parts you need to be careful with include the tailpiece, the lockset screw, lock cylinder, pins, and springs. Key in lock component part breakdown Learn about the different parts of a schlage deadbolt lock with our detailed diagram. The. Deadbolt Lock Parts Diagram.
From diagramweb.net
Kwikset Deadbolt Parts Diagram Deadbolt Lock Parts Diagram Don’t confuse the cross borehole size with the latch bore size which is the diameter of the hole on the edge of the door. Explore the different types of door lock parts and their names with our detailed diagram. The lower one is for the doorknob and the top one is for the deadbolt. Understand how each component works together. Deadbolt Lock Parts Diagram.
From revolar.com
What is a Deadbolt Lock? How Does It Work? Deadbolt Lock Parts Diagram The lath bore (aka edge bore) is usually 1 inch in diameter, so it’s much smaller than the cross bore. Learn about the latch, strike plate, cylinder, tailpiece, and more. The lower one is for the doorknob and the top one is for the deadbolt. The diagram typically includes key elements such as the lock cylinder, latch, deadbolt, strike plate,. Deadbolt Lock Parts Diagram.
From wowlocks.com
What Is A Deadbolt Lock? How Does It Work? Deadbolt Lock Parts Diagram The lath bore (aka edge bore) is usually 1 inch in diameter, so it’s much smaller than the cross bore. When installing a schlage deadbolt, you need to be careful with the individual parts to ensure you don’t break, damage, or even lose them. The parts you need to be careful with include the tailpiece, the lockset screw, lock cylinder,. Deadbolt Lock Parts Diagram.
From schempro.com
Dissecting the Anatomy of a Deadbolt Lock Deadbolt Lock Parts Diagram Learn about the latch, strike plate, cylinder, tailpiece, and more. The lower one is for the doorknob and the top one is for the deadbolt. Understand how each component works together for enhanced security and functionality. Explore the different types of door lock parts and their names with our detailed diagram. Don’t confuse the cross borehole size with the latch. Deadbolt Lock Parts Diagram.
From www.waybuild.com
Yale 840 Double Deadbolt Waybuild Deadbolt Lock Parts Diagram Key in lock component part breakdown The diagram typically includes key elements such as the lock cylinder, latch, deadbolt, strike plate, and handles. The lath bore (aka edge bore) is usually 1 inch in diameter, so it’s much smaller than the cross bore. The lower one is for the doorknob and the top one is for the deadbolt. The parts. Deadbolt Lock Parts Diagram.
From schematron.org
Schlage Deadbolt Diagram Wiring Diagram Pictures Deadbolt Lock Parts Diagram When installing a schlage deadbolt, you need to be careful with the individual parts to ensure you don’t break, damage, or even lose them. The diagram typically includes key elements such as the lock cylinder, latch, deadbolt, strike plate, and handles. Learn about the latch, strike plate, cylinder, tailpiece, and more. Key in lock component part breakdown The lath bore. Deadbolt Lock Parts Diagram.
From signalwires.com
Exploring the Inner Workings of a Kwikset Deadbolt A Parts Diagram Deadbolt Lock Parts Diagram A door lock assembly diagram provides a detailed breakdown of the different components and their interactions within a door lock. Understand how each component works together for enhanced security and functionality. The lower one is for the doorknob and the top one is for the deadbolt. The lath bore (aka edge bore) is usually 1 inch in diameter, so it’s. Deadbolt Lock Parts Diagram.
From manuals.plus
SCHLAGE BE365 PLY 619 Keypad Deadbolt Instruction Manual Deadbolt Lock Parts Diagram The parts you need to be careful with include the tailpiece, the lockset screw, lock cylinder, pins, and springs. Learn about the latch, strike plate, cylinder, tailpiece, and more. The diagram typically includes key elements such as the lock cylinder, latch, deadbolt, strike plate, and handles. A door lock assembly diagram provides a detailed breakdown of the different components and. Deadbolt Lock Parts Diagram.
From www.harborcitysupply.net
Schlage B60 Series Residential Deadbolt Deadbolt Lock Parts Diagram Key in lock component part breakdown The lath bore (aka edge bore) is usually 1 inch in diameter, so it’s much smaller than the cross bore. Learn about the different parts of a schlage deadbolt lock with our detailed diagram. Understand how each component works together for enhanced security and functionality. When installing a schlage deadbolt, you need to be. Deadbolt Lock Parts Diagram.
From autoctrls.com
Understanding the Anatomy of a Schlage Deadbolt A Comprehensive Parts Deadbolt Lock Parts Diagram Learn about the different parts of a schlage deadbolt lock with our detailed diagram. The diagram typically includes key elements such as the lock cylinder, latch, deadbolt, strike plate, and handles. Understand how each component works together for enhanced security and functionality. The lath bore (aka edge bore) is usually 1 inch in diameter, so it’s much smaller than the. Deadbolt Lock Parts Diagram.
From www.kwikset.com
Kwikset Customer Support Product FAQs Deadbolt Lock Parts Diagram The diagram typically includes key elements such as the lock cylinder, latch, deadbolt, strike plate, and handles. Explore the various parts of a deadbolt lock with our helpful diagram. Understand how each component works together for enhanced security and functionality. When installing a schlage deadbolt, you need to be careful with the individual parts to ensure you don’t break, damage,. Deadbolt Lock Parts Diagram.
From schempro.com
Dissecting the Anatomy of a Deadbolt Lock Deadbolt Lock Parts Diagram When installing a schlage deadbolt, you need to be careful with the individual parts to ensure you don’t break, damage, or even lose them. Learn about the anatomy of a door lock and understand the different components that make it. The lower one is for the doorknob and the top one is for the deadbolt. The diagram typically includes key. Deadbolt Lock Parts Diagram.
From schematron.org
Kwikset Deadbolt Parts Diagram Wiring Diagram Pictures Deadbolt Lock Parts Diagram Understand how each component works together for enhanced security and functionality. The lower one is for the doorknob and the top one is for the deadbolt. A door lock assembly diagram provides a detailed breakdown of the different components and their interactions within a door lock. Don’t confuse the cross borehole size with the latch bore size which is the. Deadbolt Lock Parts Diagram.
From www.signstek.com
Labeled Parts of a Door Knob, Door Handle & Deadbolt Lock Deadbolt Lock Parts Diagram Learn about the latch, strike plate, cylinder, tailpiece, and more. Learn about the different parts of a schlage deadbolt lock with our detailed diagram. Explore the various parts of a deadbolt lock with our helpful diagram. A door lock assembly diagram provides a detailed breakdown of the different components and their interactions within a door lock. The lath bore (aka. Deadbolt Lock Parts Diagram.
From wiringall.com
Schlage Deadbolt Parts Diagram Deadbolt Lock Parts Diagram The lower one is for the doorknob and the top one is for the deadbolt. Explore the various parts of a deadbolt lock with our helpful diagram. The diagram typically includes key elements such as the lock cylinder, latch, deadbolt, strike plate, and handles. Learn about the anatomy of a door lock and understand the different components that make it.. Deadbolt Lock Parts Diagram.
From autoctrls.com
Understanding the Anatomy of a Schlage Deadbolt A Comprehensive Parts Deadbolt Lock Parts Diagram Learn about the anatomy of a door lock and understand the different components that make it. A door lock assembly diagram provides a detailed breakdown of the different components and their interactions within a door lock. Understand how each component works together for enhanced security and functionality. The lower one is for the doorknob and the top one is for. Deadbolt Lock Parts Diagram.
From schempro.com
Dissecting the Anatomy of a Deadbolt Lock Deadbolt Lock Parts Diagram Learn about the latch, strike plate, cylinder, tailpiece, and more. Understand how each component works together for enhanced security and functionality. Explore the various parts of a deadbolt lock with our helpful diagram. The diagram typically includes key elements such as the lock cylinder, latch, deadbolt, strike plate, and handles. Key in lock component part breakdown A door lock assembly. Deadbolt Lock Parts Diagram.
From www.madero.ca
Madero Schlage BSeries Deadbolts Deadbolt Lock Parts Diagram When installing a schlage deadbolt, you need to be careful with the individual parts to ensure you don’t break, damage, or even lose them. Learn about the different parts of a schlage deadbolt lock with our detailed diagram. Explore the various parts of a deadbolt lock with our helpful diagram. Explore the different types of door lock parts and their. Deadbolt Lock Parts Diagram.
From diagramweb.net
Schlage Lock Parts Diagram Deadbolt Lock Parts Diagram Learn about the different parts of a schlage deadbolt lock with our detailed diagram. When installing a schlage deadbolt, you need to be careful with the individual parts to ensure you don’t break, damage, or even lose them. The lower one is for the doorknob and the top one is for the deadbolt. The diagram typically includes key elements such. Deadbolt Lock Parts Diagram.
From wiringall.com
Schlage Deadbolt Parts Diagram Deadbolt Lock Parts Diagram Learn about the anatomy of a door lock and understand the different components that make it. Explore the different types of door lock parts and their names with our detailed diagram. The lath bore (aka edge bore) is usually 1 inch in diameter, so it’s much smaller than the cross bore. When installing a schlage deadbolt, you need to be. Deadbolt Lock Parts Diagram.
From www.mul-t-lock-online.com
MULTLOCK ONLINE Deadbolt Parts Deadbolt Lock Parts Diagram The lower one is for the doorknob and the top one is for the deadbolt. The parts you need to be careful with include the tailpiece, the lockset screw, lock cylinder, pins, and springs. A door lock assembly diagram provides a detailed breakdown of the different components and their interactions within a door lock. The lath bore (aka edge bore). Deadbolt Lock Parts Diagram.