Voltage To Frequency Calculator . The frequency to voltage calculator is a powerful tool for understanding the relationship between frequency and voltage in sinusoidal waveforms. To use the volts to hz calculator: Enter the conversion factor in hz/v. A voltage to frequency converter circuit converts a proportionately varying input voltage int a proportionately varying output frequency. Enter the total amplitude of the voltage (volts), the total frequency (hz), and the total time (seconds) into the calculator to determine the voltage from frequency. Enter the voltage value in volts. This calculator simplifies the conversion process, making it easier for engineers and hobbyists to determine the voltage. This calculator simplifies the transformation of frequency information into a voltage value, aiding professionals and enthusiasts in the field of.
from circuitdblandlady.z21.web.core.windows.net
The frequency to voltage calculator is a powerful tool for understanding the relationship between frequency and voltage in sinusoidal waveforms. Enter the conversion factor in hz/v. This calculator simplifies the conversion process, making it easier for engineers and hobbyists to determine the voltage. A voltage to frequency converter circuit converts a proportionately varying input voltage int a proportionately varying output frequency. Enter the voltage value in volts. To use the volts to hz calculator: This calculator simplifies the transformation of frequency information into a voltage value, aiding professionals and enthusiasts in the field of. Enter the total amplitude of the voltage (volts), the total frequency (hz), and the total time (seconds) into the calculator to determine the voltage from frequency.
Electrical Ohm's Law Chart
Voltage To Frequency Calculator The frequency to voltage calculator is a powerful tool for understanding the relationship between frequency and voltage in sinusoidal waveforms. To use the volts to hz calculator: Enter the voltage value in volts. A voltage to frequency converter circuit converts a proportionately varying input voltage int a proportionately varying output frequency. Enter the conversion factor in hz/v. Enter the total amplitude of the voltage (volts), the total frequency (hz), and the total time (seconds) into the calculator to determine the voltage from frequency. The frequency to voltage calculator is a powerful tool for understanding the relationship between frequency and voltage in sinusoidal waveforms. This calculator simplifies the conversion process, making it easier for engineers and hobbyists to determine the voltage. This calculator simplifies the transformation of frequency information into a voltage value, aiding professionals and enthusiasts in the field of.
From klakxhwqo.blob.core.windows.net
Frequency And Time Period at Thomas Campisi blog Voltage To Frequency Calculator To use the volts to hz calculator: Enter the voltage value in volts. Enter the total amplitude of the voltage (volts), the total frequency (hz), and the total time (seconds) into the calculator to determine the voltage from frequency. A voltage to frequency converter circuit converts a proportionately varying input voltage int a proportionately varying output frequency. The frequency to. Voltage To Frequency Calculator.
From www.researchgate.net
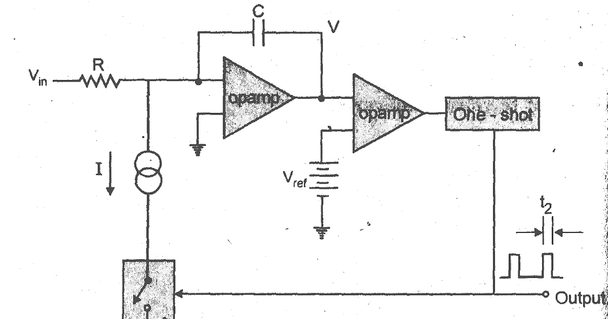
Current to frequency converter simplified scheme Download Scientific Voltage To Frequency Calculator Enter the conversion factor in hz/v. This calculator simplifies the transformation of frequency information into a voltage value, aiding professionals and enthusiasts in the field of. To use the volts to hz calculator: A voltage to frequency converter circuit converts a proportionately varying input voltage int a proportionately varying output frequency. Enter the total amplitude of the voltage (volts), the. Voltage To Frequency Calculator.
From app.testguy.net
Ohm's Law Calculator Voltage To Frequency Calculator This calculator simplifies the conversion process, making it easier for engineers and hobbyists to determine the voltage. To use the volts to hz calculator: Enter the voltage value in volts. A voltage to frequency converter circuit converts a proportionately varying input voltage int a proportionately varying output frequency. This calculator simplifies the transformation of frequency information into a voltage value,. Voltage To Frequency Calculator.
From circuitdigest.com
Voltage to Frequency Converter Circuit using AD654 Voltage To Frequency Calculator To use the volts to hz calculator: Enter the total amplitude of the voltage (volts), the total frequency (hz), and the total time (seconds) into the calculator to determine the voltage from frequency. This calculator simplifies the transformation of frequency information into a voltage value, aiding professionals and enthusiasts in the field of. Enter the voltage value in volts. A. Voltage To Frequency Calculator.
From www.animalia-life.club
Formula For Voltage Voltage To Frequency Calculator A voltage to frequency converter circuit converts a proportionately varying input voltage int a proportionately varying output frequency. Enter the conversion factor in hz/v. To use the volts to hz calculator: Enter the voltage value in volts. This calculator simplifies the conversion process, making it easier for engineers and hobbyists to determine the voltage. The frequency to voltage calculator is. Voltage To Frequency Calculator.
From schematicstretched.z14.web.core.windows.net
Frequency To Voltage Converter Circuit Voltage To Frequency Calculator Enter the total amplitude of the voltage (volts), the total frequency (hz), and the total time (seconds) into the calculator to determine the voltage from frequency. The frequency to voltage calculator is a powerful tool for understanding the relationship between frequency and voltage in sinusoidal waveforms. To use the volts to hz calculator: Enter the voltage value in volts. This. Voltage To Frequency Calculator.
From 3roam.com
Frequency Hz to Voltage Calculator Voltage To Frequency Calculator A voltage to frequency converter circuit converts a proportionately varying input voltage int a proportionately varying output frequency. This calculator simplifies the conversion process, making it easier for engineers and hobbyists to determine the voltage. Enter the voltage value in volts. Enter the total amplitude of the voltage (volts), the total frequency (hz), and the total time (seconds) into the. Voltage To Frequency Calculator.
From www.youtube.com
VOLTAGE to FREQUENCY CONVERTER YouTube Voltage To Frequency Calculator This calculator simplifies the transformation of frequency information into a voltage value, aiding professionals and enthusiasts in the field of. Enter the conversion factor in hz/v. A voltage to frequency converter circuit converts a proportionately varying input voltage int a proportionately varying output frequency. This calculator simplifies the conversion process, making it easier for engineers and hobbyists to determine the. Voltage To Frequency Calculator.
From www.electronicsworld.co.uk
The stable performance range of a simple frequencytovoltage converter Voltage To Frequency Calculator This calculator simplifies the conversion process, making it easier for engineers and hobbyists to determine the voltage. To use the volts to hz calculator: Enter the conversion factor in hz/v. This calculator simplifies the transformation of frequency information into a voltage value, aiding professionals and enthusiasts in the field of. Enter the voltage value in volts. A voltage to frequency. Voltage To Frequency Calculator.
From wirelibrarydrayman.z21.web.core.windows.net
Equation For Calculating Voltage Voltage To Frequency Calculator Enter the voltage value in volts. This calculator simplifies the conversion process, making it easier for engineers and hobbyists to determine the voltage. The frequency to voltage calculator is a powerful tool for understanding the relationship between frequency and voltage in sinusoidal waveforms. Enter the conversion factor in hz/v. Enter the total amplitude of the voltage (volts), the total frequency. Voltage To Frequency Calculator.
From circuitdigest.com
RMS Voltage Calculator Voltage To Frequency Calculator The frequency to voltage calculator is a powerful tool for understanding the relationship between frequency and voltage in sinusoidal waveforms. Enter the total amplitude of the voltage (volts), the total frequency (hz), and the total time (seconds) into the calculator to determine the voltage from frequency. This calculator simplifies the transformation of frequency information into a voltage value, aiding professionals. Voltage To Frequency Calculator.
From www.circuits-diy.com
Voltage to Frequency Converter using AD654 Voltage To Frequency Calculator Enter the conversion factor in hz/v. This calculator simplifies the conversion process, making it easier for engineers and hobbyists to determine the voltage. To use the volts to hz calculator: This calculator simplifies the transformation of frequency information into a voltage value, aiding professionals and enthusiasts in the field of. Enter the voltage value in volts. A voltage to frequency. Voltage To Frequency Calculator.
From electronics.stackexchange.com
analysis Using an LM331 as a frequency to voltage converter, how to Voltage To Frequency Calculator Enter the total amplitude of the voltage (volts), the total frequency (hz), and the total time (seconds) into the calculator to determine the voltage from frequency. This calculator simplifies the transformation of frequency information into a voltage value, aiding professionals and enthusiasts in the field of. The frequency to voltage calculator is a powerful tool for understanding the relationship between. Voltage To Frequency Calculator.
From www.electricaltechnology.org
RMS Voltage Calculator From Average Value, Peak & Peak to Peak Value Voltage To Frequency Calculator To use the volts to hz calculator: A voltage to frequency converter circuit converts a proportionately varying input voltage int a proportionately varying output frequency. This calculator simplifies the transformation of frequency information into a voltage value, aiding professionals and enthusiasts in the field of. Enter the total amplitude of the voltage (volts), the total frequency (hz), and the total. Voltage To Frequency Calculator.
From circuitdblandlady.z21.web.core.windows.net
Electrical Ohm's Law Chart Voltage To Frequency Calculator The frequency to voltage calculator is a powerful tool for understanding the relationship between frequency and voltage in sinusoidal waveforms. This calculator simplifies the conversion process, making it easier for engineers and hobbyists to determine the voltage. A voltage to frequency converter circuit converts a proportionately varying input voltage int a proportionately varying output frequency. This calculator simplifies the transformation. Voltage To Frequency Calculator.
From www.researchgate.net
currenttofrequency converter. Download Scientific Diagram Voltage To Frequency Calculator The frequency to voltage calculator is a powerful tool for understanding the relationship between frequency and voltage in sinusoidal waveforms. A voltage to frequency converter circuit converts a proportionately varying input voltage int a proportionately varying output frequency. To use the volts to hz calculator: Enter the conversion factor in hz/v. Enter the voltage value in volts. This calculator simplifies. Voltage To Frequency Calculator.
From www.circuits-diy.com
Circuits DIY Frequency To Voltage Converter Circuit using LM331 IC Voltage To Frequency Calculator Enter the conversion factor in hz/v. Enter the voltage value in volts. To use the volts to hz calculator: A voltage to frequency converter circuit converts a proportionately varying input voltage int a proportionately varying output frequency. The frequency to voltage calculator is a powerful tool for understanding the relationship between frequency and voltage in sinusoidal waveforms. Enter the total. Voltage To Frequency Calculator.
From www.edaboard.com
[SOLVED] voltage to frequency conversion Voltage To Frequency Calculator This calculator simplifies the transformation of frequency information into a voltage value, aiding professionals and enthusiasts in the field of. This calculator simplifies the conversion process, making it easier for engineers and hobbyists to determine the voltage. Enter the voltage value in volts. The frequency to voltage calculator is a powerful tool for understanding the relationship between frequency and voltage. Voltage To Frequency Calculator.
From www.pixelelectric.com
Voltage to Frequency Converter (V tof) Order Code 36266 Voltage To Frequency Calculator The frequency to voltage calculator is a powerful tool for understanding the relationship between frequency and voltage in sinusoidal waveforms. This calculator simplifies the conversion process, making it easier for engineers and hobbyists to determine the voltage. To use the volts to hz calculator: Enter the total amplitude of the voltage (volts), the total frequency (hz), and the total time. Voltage To Frequency Calculator.
From schematicparttara.z21.web.core.windows.net
Equation For Calculating Voltage Voltage To Frequency Calculator A voltage to frequency converter circuit converts a proportionately varying input voltage int a proportionately varying output frequency. To use the volts to hz calculator: Enter the total amplitude of the voltage (volts), the total frequency (hz), and the total time (seconds) into the calculator to determine the voltage from frequency. The frequency to voltage calculator is a powerful tool. Voltage To Frequency Calculator.
From guidedbmonika.z19.web.core.windows.net
Voltage To Frequency Converter Circuit Voltage To Frequency Calculator Enter the conversion factor in hz/v. Enter the voltage value in volts. This calculator simplifies the transformation of frequency information into a voltage value, aiding professionals and enthusiasts in the field of. Enter the total amplitude of the voltage (volts), the total frequency (hz), and the total time (seconds) into the calculator to determine the voltage from frequency. The frequency. Voltage To Frequency Calculator.
From wiredatapickering.z13.web.core.windows.net
Frequency To Voltage Converter Circuit Diagram Voltage To Frequency Calculator To use the volts to hz calculator: A voltage to frequency converter circuit converts a proportionately varying input voltage int a proportionately varying output frequency. Enter the voltage value in volts. Enter the conversion factor in hz/v. This calculator simplifies the conversion process, making it easier for engineers and hobbyists to determine the voltage. The frequency to voltage calculator is. Voltage To Frequency Calculator.
From labintot0kfixmachine.z13.web.core.windows.net
Voltage To Frequency Converter Circuit Voltage To Frequency Calculator This calculator simplifies the transformation of frequency information into a voltage value, aiding professionals and enthusiasts in the field of. Enter the voltage value in volts. To use the volts to hz calculator: The frequency to voltage calculator is a powerful tool for understanding the relationship between frequency and voltage in sinusoidal waveforms. A voltage to frequency converter circuit converts. Voltage To Frequency Calculator.
From www.slideserve.com
PPT Frequency to Voltage Converter and Voltage to Frequency Converter Voltage To Frequency Calculator To use the volts to hz calculator: Enter the voltage value in volts. Enter the total amplitude of the voltage (volts), the total frequency (hz), and the total time (seconds) into the calculator to determine the voltage from frequency. This calculator simplifies the conversion process, making it easier for engineers and hobbyists to determine the voltage. This calculator simplifies the. Voltage To Frequency Calculator.
From www.next.gr
Voltagetofrequencyconverter under Voltage to Frequency Circuits Voltage To Frequency Calculator Enter the total amplitude of the voltage (volts), the total frequency (hz), and the total time (seconds) into the calculator to determine the voltage from frequency. Enter the conversion factor in hz/v. A voltage to frequency converter circuit converts a proportionately varying input voltage int a proportionately varying output frequency. This calculator simplifies the conversion process, making it easier for. Voltage To Frequency Calculator.
From www.slideserve.com
PPT Frequency to Voltage Converter and Voltage to Frequency Converter Voltage To Frequency Calculator Enter the conversion factor in hz/v. Enter the voltage value in volts. This calculator simplifies the transformation of frequency information into a voltage value, aiding professionals and enthusiasts in the field of. Enter the total amplitude of the voltage (volts), the total frequency (hz), and the total time (seconds) into the calculator to determine the voltage from frequency. This calculator. Voltage To Frequency Calculator.
From schematicfixgrunwald.z19.web.core.windows.net
Voltage To Frequency Converter Schematic Voltage To Frequency Calculator Enter the conversion factor in hz/v. Enter the total amplitude of the voltage (volts), the total frequency (hz), and the total time (seconds) into the calculator to determine the voltage from frequency. This calculator simplifies the conversion process, making it easier for engineers and hobbyists to determine the voltage. Enter the voltage value in volts. A voltage to frequency converter. Voltage To Frequency Calculator.
From partmcveighrestrained.z21.web.core.windows.net
Power Formula Using Voltage And Current Voltage To Frequency Calculator The frequency to voltage calculator is a powerful tool for understanding the relationship between frequency and voltage in sinusoidal waveforms. Enter the total amplitude of the voltage (volts), the total frequency (hz), and the total time (seconds) into the calculator to determine the voltage from frequency. Enter the conversion factor in hz/v. This calculator simplifies the transformation of frequency information. Voltage To Frequency Calculator.
From circuitwiringstefanie.z19.web.core.windows.net
Voltage To Frequency Converter Circuit Diagram Voltage To Frequency Calculator This calculator simplifies the transformation of frequency information into a voltage value, aiding professionals and enthusiasts in the field of. This calculator simplifies the conversion process, making it easier for engineers and hobbyists to determine the voltage. Enter the total amplitude of the voltage (volts), the total frequency (hz), and the total time (seconds) into the calculator to determine the. Voltage To Frequency Calculator.
From www.electroschematics.com
Voltage to Frequency Converter Circuit Voltage To Frequency Calculator This calculator simplifies the transformation of frequency information into a voltage value, aiding professionals and enthusiasts in the field of. The frequency to voltage calculator is a powerful tool for understanding the relationship between frequency and voltage in sinusoidal waveforms. Enter the voltage value in volts. To use the volts to hz calculator: Enter the conversion factor in hz/v. Enter. Voltage To Frequency Calculator.
From mediatoget.blogspot.com
A "MEDIA TO GET" ALL DATAS IN ELECTRICAL SCIENCE...!! Voltage to Voltage To Frequency Calculator The frequency to voltage calculator is a powerful tool for understanding the relationship between frequency and voltage in sinusoidal waveforms. This calculator simplifies the transformation of frequency information into a voltage value, aiding professionals and enthusiasts in the field of. Enter the voltage value in volts. To use the volts to hz calculator: Enter the total amplitude of the voltage. Voltage To Frequency Calculator.
From guidepartseasoning.z21.web.core.windows.net
Frequency To Voltage Converter Circuit Voltage To Frequency Calculator This calculator simplifies the transformation of frequency information into a voltage value, aiding professionals and enthusiasts in the field of. This calculator simplifies the conversion process, making it easier for engineers and hobbyists to determine the voltage. Enter the total amplitude of the voltage (volts), the total frequency (hz), and the total time (seconds) into the calculator to determine the. Voltage To Frequency Calculator.
From sites.google.com
Voltage to frequency converter Voltage To Frequency Calculator This calculator simplifies the transformation of frequency information into a voltage value, aiding professionals and enthusiasts in the field of. To use the volts to hz calculator: Enter the total amplitude of the voltage (volts), the total frequency (hz), and the total time (seconds) into the calculator to determine the voltage from frequency. Enter the voltage value in volts. This. Voltage To Frequency Calculator.
From electronics.stackexchange.com
frequency How is the voltage supply and peaktopeak voltage of a Voltage To Frequency Calculator Enter the total amplitude of the voltage (volts), the total frequency (hz), and the total time (seconds) into the calculator to determine the voltage from frequency. Enter the voltage value in volts. The frequency to voltage calculator is a powerful tool for understanding the relationship between frequency and voltage in sinusoidal waveforms. Enter the conversion factor in hz/v. This calculator. Voltage To Frequency Calculator.
From streampowers.blogspot.com
Build a Voltage to Frequency Converter Circuit Diagram 3 Electronic Voltage To Frequency Calculator This calculator simplifies the conversion process, making it easier for engineers and hobbyists to determine the voltage. A voltage to frequency converter circuit converts a proportionately varying input voltage int a proportionately varying output frequency. Enter the total amplitude of the voltage (volts), the total frequency (hz), and the total time (seconds) into the calculator to determine the voltage from. Voltage To Frequency Calculator.