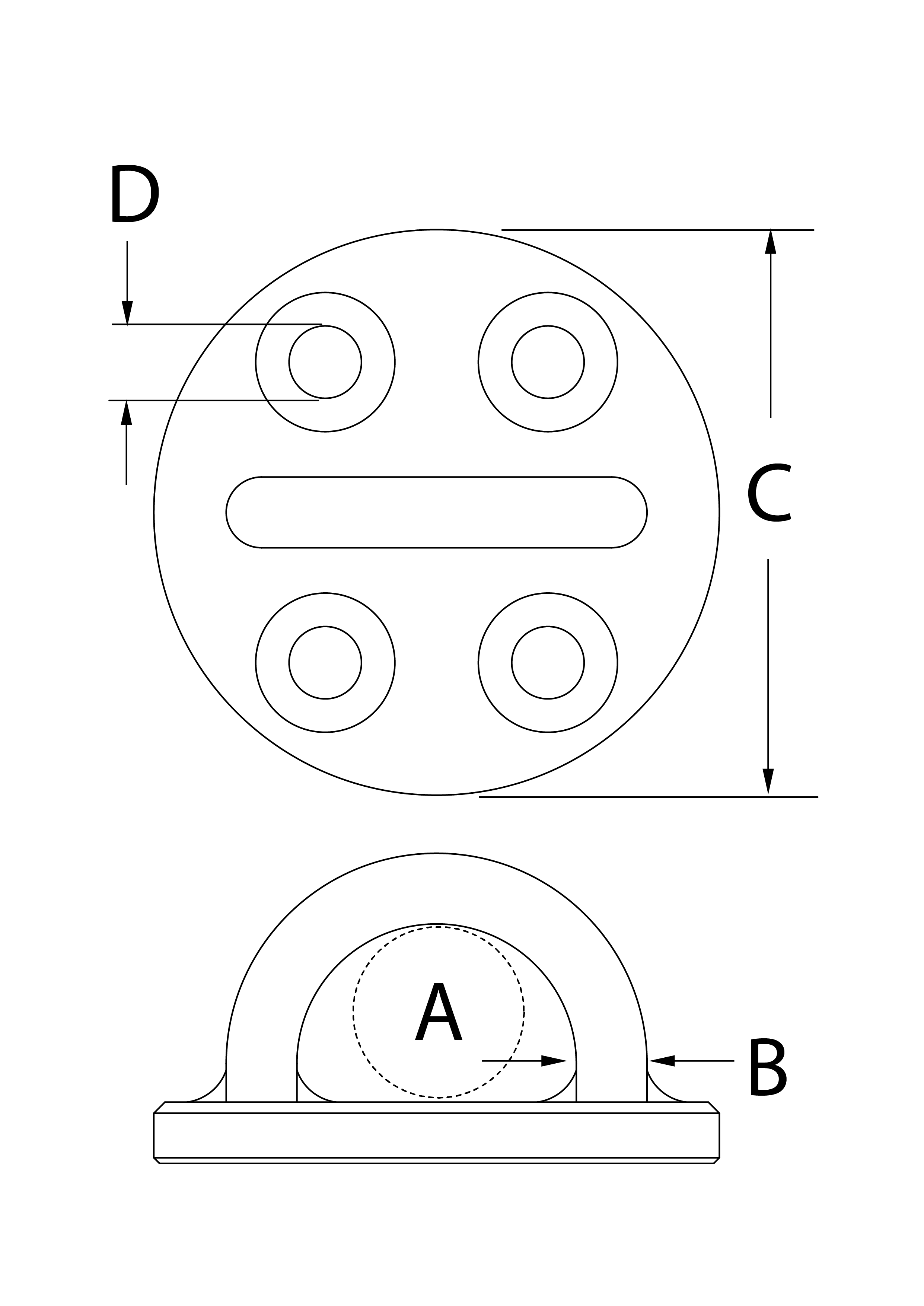
Pad Eye Standard Dimensions . The pad eye thickness at the hole shall not be less than 75% the inside width of a shackle suitable for the rsf of the padeye. Steel grade is s355, use shackle. Key dimensions specified include leg length and diameter, body diameter and length, and radii. The following guide gives an overview of padeye design based on dnv design rules and common industry practice. The padeyes and lift points geometry will be designed to exactly match the standard shackles rated to what the various standards specify. Flat, beveled, and plate base models available. Welded into place where needed. Load capacities of pad eyes used in offshore lifting operations are generally determined based on the guidelines given in lifting standards. Padeyes from 2mt up to 85 mt. All pad eyes are to be manufactured from steel conforming to bs 4360 grade 50d and must pass. Standard pad eye design suitable for lifting and seafastening applications.
from grabcad.com
Padeyes from 2mt up to 85 mt. Key dimensions specified include leg length and diameter, body diameter and length, and radii. Welded into place where needed. The pad eye thickness at the hole shall not be less than 75% the inside width of a shackle suitable for the rsf of the padeye. All pad eyes are to be manufactured from steel conforming to bs 4360 grade 50d and must pass. The following guide gives an overview of padeye design based on dnv design rules and common industry practice. The padeyes and lift points geometry will be designed to exactly match the standard shackles rated to what the various standards specify. Load capacities of pad eyes used in offshore lifting operations are generally determined based on the guidelines given in lifting standards. Standard pad eye design suitable for lifting and seafastening applications. Flat, beveled, and plate base models available.
25 TON PAD EYE, WELDABLE 3D CAD Model Library GrabCAD
Pad Eye Standard Dimensions The pad eye thickness at the hole shall not be less than 75% the inside width of a shackle suitable for the rsf of the padeye. The pad eye thickness at the hole shall not be less than 75% the inside width of a shackle suitable for the rsf of the padeye. Key dimensions specified include leg length and diameter, body diameter and length, and radii. Flat, beveled, and plate base models available. Load capacities of pad eyes used in offshore lifting operations are generally determined based on the guidelines given in lifting standards. Steel grade is s355, use shackle. The following guide gives an overview of padeye design based on dnv design rules and common industry practice. Padeyes from 2mt up to 85 mt. Standard pad eye design suitable for lifting and seafastening applications. Welded into place where needed. The padeyes and lift points geometry will be designed to exactly match the standard shackles rated to what the various standards specify. All pad eyes are to be manufactured from steel conforming to bs 4360 grade 50d and must pass.
From offshore.vn
Tính toán thiết kế tai cẩu Padeye Offshore.VN Diễn đàn kỹ sư Công Pad Eye Standard Dimensions Padeyes from 2mt up to 85 mt. Load capacities of pad eyes used in offshore lifting operations are generally determined based on the guidelines given in lifting standards. All pad eyes are to be manufactured from steel conforming to bs 4360 grade 50d and must pass. The padeyes and lift points geometry will be designed to exactly match the standard. Pad Eye Standard Dimensions.
From www.proboat.co.uk
Stainless Steel Single Folding Pad Eye Wichard Proboat Pad Eye Standard Dimensions Welded into place where needed. Steel grade is s355, use shackle. The padeyes and lift points geometry will be designed to exactly match the standard shackles rated to what the various standards specify. Padeyes from 2mt up to 85 mt. The pad eye thickness at the hole shall not be less than 75% the inside width of a shackle suitable. Pad Eye Standard Dimensions.
From www.scribd.com
36 TON PADEYE ASSEMBLY PARTS LIST AND DRAWING PDF Industrial Pad Eye Standard Dimensions Welded into place where needed. Key dimensions specified include leg length and diameter, body diameter and length, and radii. The following guide gives an overview of padeye design based on dnv design rules and common industry practice. Padeyes from 2mt up to 85 mt. Standard pad eye design suitable for lifting and seafastening applications. Steel grade is s355, use shackle.. Pad Eye Standard Dimensions.
From www.proboat.co.uk
Toe Rail Pad Eye Wichard Proboat Pad Eye Standard Dimensions Padeyes from 2mt up to 85 mt. Load capacities of pad eyes used in offshore lifting operations are generally determined based on the guidelines given in lifting standards. The padeyes and lift points geometry will be designed to exactly match the standard shackles rated to what the various standards specify. The following guide gives an overview of padeye design based. Pad Eye Standard Dimensions.
From www.researchgate.net
Pad eye with horse shoe plate. Download Scientific Diagram Pad Eye Standard Dimensions The padeyes and lift points geometry will be designed to exactly match the standard shackles rated to what the various standards specify. Load capacities of pad eyes used in offshore lifting operations are generally determined based on the guidelines given in lifting standards. Padeyes from 2mt up to 85 mt. Steel grade is s355, use shackle. The pad eye thickness. Pad Eye Standard Dimensions.
From www.offshoreengineering.com
Steel Steel padeye design Standard padeye CAD drawing ready for Pad Eye Standard Dimensions Steel grade is s355, use shackle. The following guide gives an overview of padeye design based on dnv design rules and common industry practice. All pad eyes are to be manufactured from steel conforming to bs 4360 grade 50d and must pass. The padeyes and lift points geometry will be designed to exactly match the standard shackles rated to what. Pad Eye Standard Dimensions.
From www.s3i.co.uk
Folding Pad Eye Stainless Steel S3i Group Pad Eye Standard Dimensions Padeyes from 2mt up to 85 mt. Steel grade is s355, use shackle. The following guide gives an overview of padeye design based on dnv design rules and common industry practice. All pad eyes are to be manufactured from steel conforming to bs 4360 grade 50d and must pass. Welded into place where needed. The pad eye thickness at the. Pad Eye Standard Dimensions.
From www.scribd.com
Standard Corus Pad Eyes Shackle and pad eye dimensions Pad Eye Standard Dimensions Load capacities of pad eyes used in offshore lifting operations are generally determined based on the guidelines given in lifting standards. The padeyes and lift points geometry will be designed to exactly match the standard shackles rated to what the various standards specify. Key dimensions specified include leg length and diameter, body diameter and length, and radii. The pad eye. Pad Eye Standard Dimensions.
From csjohnson.com
CSJ 48580 HINGED PAD EYE (1/4") C. Sherman Johnson Co., Inc. Pad Eye Standard Dimensions Steel grade is s355, use shackle. All pad eyes are to be manufactured from steel conforming to bs 4360 grade 50d and must pass. The pad eye thickness at the hole shall not be less than 75% the inside width of a shackle suitable for the rsf of the padeye. Welded into place where needed. Key dimensions specified include leg. Pad Eye Standard Dimensions.
From www.amazon.com
MAGMATE PE0475 WeldOn Pad Eye, Made of A36 Weldable Carbon Steel Pad Eye Standard Dimensions Flat, beveled, and plate base models available. The padeyes and lift points geometry will be designed to exactly match the standard shackles rated to what the various standards specify. The following guide gives an overview of padeye design based on dnv design rules and common industry practice. Load capacities of pad eyes used in offshore lifting operations are generally determined. Pad Eye Standard Dimensions.
From www.scribd.com
Offshore Pad Eyes General design data Building Engineering Nature Pad Eye Standard Dimensions Padeyes from 2mt up to 85 mt. The pad eye thickness at the hole shall not be less than 75% the inside width of a shackle suitable for the rsf of the padeye. Steel grade is s355, use shackle. The padeyes and lift points geometry will be designed to exactly match the standard shackles rated to what the various standards. Pad Eye Standard Dimensions.
From riggtech.com.au
Ronstan Fixed, Round Padeyes Riggtech Pad Eye Standard Dimensions Standard pad eye design suitable for lifting and seafastening applications. The following guide gives an overview of padeye design based on dnv design rules and common industry practice. Key dimensions specified include leg length and diameter, body diameter and length, and radii. Flat, beveled, and plate base models available. Padeyes from 2mt up to 85 mt. Steel grade is s355,. Pad Eye Standard Dimensions.
From www.esubsea.com
Padeye and Lift Point Design DNV and NORSOK Standards Pad Eye Standard Dimensions Steel grade is s355, use shackle. Padeyes from 2mt up to 85 mt. The pad eye thickness at the hole shall not be less than 75% the inside width of a shackle suitable for the rsf of the padeye. Flat, beveled, and plate base models available. The padeyes and lift points geometry will be designed to exactly match the standard. Pad Eye Standard Dimensions.
From suncorstainless.com
Heavy Duty Tow Pad Eye Suncor Stainless Pad Eye Standard Dimensions Key dimensions specified include leg length and diameter, body diameter and length, and radii. Welded into place where needed. Steel grade is s355, use shackle. Flat, beveled, and plate base models available. Padeyes from 2mt up to 85 mt. The pad eye thickness at the hole shall not be less than 75% the inside width of a shackle suitable for. Pad Eye Standard Dimensions.
From vdocuments.mx
Liftmax Lifting Devices Pad Eyes LIFTING DEVICES Pad Eyes Model PE Pad Eye Standard Dimensions The padeyes and lift points geometry will be designed to exactly match the standard shackles rated to what the various standards specify. Padeyes from 2mt up to 85 mt. The following guide gives an overview of padeye design based on dnv design rules and common industry practice. Load capacities of pad eyes used in offshore lifting operations are generally determined. Pad Eye Standard Dimensions.
From e-rigging.com
Stainless Steel Medium Duty Pad Eye Pad Eye Standard Dimensions Load capacities of pad eyes used in offshore lifting operations are generally determined based on the guidelines given in lifting standards. Steel grade is s355, use shackle. Key dimensions specified include leg length and diameter, body diameter and length, and radii. The padeyes and lift points geometry will be designed to exactly match the standard shackles rated to what the. Pad Eye Standard Dimensions.
From www.mizken.co.jp
Pad Eyes RIGGING HARDWARE MIZKEN INC. Pad Eye Standard Dimensions The pad eye thickness at the hole shall not be less than 75% the inside width of a shackle suitable for the rsf of the padeye. Steel grade is s355, use shackle. Standard pad eye design suitable for lifting and seafastening applications. The padeyes and lift points geometry will be designed to exactly match the standard shackles rated to what. Pad Eye Standard Dimensions.
From www.mermaid-consultants.com
Padeye design and calculation Pad Eye Standard Dimensions Steel grade is s355, use shackle. Padeyes from 2mt up to 85 mt. Load capacities of pad eyes used in offshore lifting operations are generally determined based on the guidelines given in lifting standards. Flat, beveled, and plate base models available. The following guide gives an overview of padeye design based on dnv design rules and common industry practice. Welded. Pad Eye Standard Dimensions.
From www.cementequipment.org
Standard padeyes dimensions INFINITY FOR CEMENT EQUIPMENT Pad Eye Standard Dimensions The pad eye thickness at the hole shall not be less than 75% the inside width of a shackle suitable for the rsf of the padeye. The padeyes and lift points geometry will be designed to exactly match the standard shackles rated to what the various standards specify. All pad eyes are to be manufactured from steel conforming to bs. Pad Eye Standard Dimensions.
From www.scribd.com
Pad Eyes Pad Eye Standard Dimensions The pad eye thickness at the hole shall not be less than 75% the inside width of a shackle suitable for the rsf of the padeye. Standard pad eye design suitable for lifting and seafastening applications. All pad eyes are to be manufactured from steel conforming to bs 4360 grade 50d and must pass. Welded into place where needed. Key. Pad Eye Standard Dimensions.
From www.scribd.com
Standard Padeye Sheet PDF Mechanical Engineering Applied And Pad Eye Standard Dimensions The following guide gives an overview of padeye design based on dnv design rules and common industry practice. All pad eyes are to be manufactured from steel conforming to bs 4360 grade 50d and must pass. Steel grade is s355, use shackle. Load capacities of pad eyes used in offshore lifting operations are generally determined based on the guidelines given. Pad Eye Standard Dimensions.
From www.mennens.nl
Pad Eye Type S Lifting Eyes Request your Quotation Mennens Pad Eye Standard Dimensions Steel grade is s355, use shackle. Standard pad eye design suitable for lifting and seafastening applications. All pad eyes are to be manufactured from steel conforming to bs 4360 grade 50d and must pass. Flat, beveled, and plate base models available. Welded into place where needed. The following guide gives an overview of padeye design based on dnv design rules. Pad Eye Standard Dimensions.
From radio.egerton.ac.ke
Padeye Design Guidelines PDF Engineering Tolerance, 51 OFF Pad Eye Standard Dimensions Flat, beveled, and plate base models available. Steel grade is s355, use shackle. Padeyes from 2mt up to 85 mt. Welded into place where needed. The pad eye thickness at the hole shall not be less than 75% the inside width of a shackle suitable for the rsf of the padeye. All pad eyes are to be manufactured from steel. Pad Eye Standard Dimensions.
From www.ewdaniel.com
Stainless Steel Pad Eyes Pad Eye Standard Dimensions Welded into place where needed. The following guide gives an overview of padeye design based on dnv design rules and common industry practice. All pad eyes are to be manufactured from steel conforming to bs 4360 grade 50d and must pass. Key dimensions specified include leg length and diameter, body diameter and length, and radii. The pad eye thickness at. Pad Eye Standard Dimensions.
From thenavalarch.com
PadEye Design Spreadsheet Pad Eye Standard Dimensions The following guide gives an overview of padeye design based on dnv design rules and common industry practice. Steel grade is s355, use shackle. The pad eye thickness at the hole shall not be less than 75% the inside width of a shackle suitable for the rsf of the padeye. Key dimensions specified include leg length and diameter, body diameter. Pad Eye Standard Dimensions.
From grabcad.com
25 TON PAD EYE, WELDABLE 3D CAD Model Library GrabCAD Pad Eye Standard Dimensions Key dimensions specified include leg length and diameter, body diameter and length, and radii. The following guide gives an overview of padeye design based on dnv design rules and common industry practice. All pad eyes are to be manufactured from steel conforming to bs 4360 grade 50d and must pass. Standard pad eye design suitable for lifting and seafastening applications.. Pad Eye Standard Dimensions.
From www.excelcalcs.com
Padeye Design Pad Eye Standard Dimensions The following guide gives an overview of padeye design based on dnv design rules and common industry practice. All pad eyes are to be manufactured from steel conforming to bs 4360 grade 50d and must pass. Key dimensions specified include leg length and diameter, body diameter and length, and radii. The pad eye thickness at the hole shall not be. Pad Eye Standard Dimensions.
From www.padeye.com
11/2 Ton Padeye Pad Eye Standard Dimensions All pad eyes are to be manufactured from steel conforming to bs 4360 grade 50d and must pass. Load capacities of pad eyes used in offshore lifting operations are generally determined based on the guidelines given in lifting standards. Standard pad eye design suitable for lifting and seafastening applications. Flat, beveled, and plate base models available. Welded into place where. Pad Eye Standard Dimensions.
From www.rhtltd.co.uk
Pad Eyes / Deck Plates Pad Eye Standard Dimensions The following guide gives an overview of padeye design based on dnv design rules and common industry practice. Padeyes from 2mt up to 85 mt. The padeyes and lift points geometry will be designed to exactly match the standard shackles rated to what the various standards specify. Key dimensions specified include leg length and diameter, body diameter and length, and. Pad Eye Standard Dimensions.
From www.mizken.co.jp
Pad Eyes RIGGING HARDWARE MIZKEN INC. Pad Eye Standard Dimensions Welded into place where needed. The pad eye thickness at the hole shall not be less than 75% the inside width of a shackle suitable for the rsf of the padeye. Flat, beveled, and plate base models available. Padeyes from 2mt up to 85 mt. Key dimensions specified include leg length and diameter, body diameter and length, and radii. The. Pad Eye Standard Dimensions.
From www.townleydropforge.com.au
Weld Pad Eyes Pelp Australia Townley Drop Pad Eye Standard Dimensions Steel grade is s355, use shackle. Standard pad eye design suitable for lifting and seafastening applications. The padeyes and lift points geometry will be designed to exactly match the standard shackles rated to what the various standards specify. All pad eyes are to be manufactured from steel conforming to bs 4360 grade 50d and must pass. Key dimensions specified include. Pad Eye Standard Dimensions.
From www.improducts.co.uk
Small Padeye, 10mm Clearance & Curved Base IMP Pad Eye Standard Dimensions Welded into place where needed. Flat, beveled, and plate base models available. The following guide gives an overview of padeye design based on dnv design rules and common industry practice. Load capacities of pad eyes used in offshore lifting operations are generally determined based on the guidelines given in lifting standards. Key dimensions specified include leg length and diameter, body. Pad Eye Standard Dimensions.
From giouypynw.blob.core.windows.net
Pad Eye Size Chart at Earl Whitman blog Pad Eye Standard Dimensions Standard pad eye design suitable for lifting and seafastening applications. Key dimensions specified include leg length and diameter, body diameter and length, and radii. The pad eye thickness at the hole shall not be less than 75% the inside width of a shackle suitable for the rsf of the padeye. All pad eyes are to be manufactured from steel conforming. Pad Eye Standard Dimensions.
From padeye.com
2 Ton Padeye Pad Eye Standard Dimensions The following guide gives an overview of padeye design based on dnv design rules and common industry practice. Padeyes from 2mt up to 85 mt. The padeyes and lift points geometry will be designed to exactly match the standard shackles rated to what the various standards specify. Flat, beveled, and plate base models available. The pad eye thickness at the. Pad Eye Standard Dimensions.
From seamarknunn.com
Wichard Stainless Steel Fixed Round Pad Eye 6635 Pad Eye Standard Dimensions Load capacities of pad eyes used in offshore lifting operations are generally determined based on the guidelines given in lifting standards. Padeyes from 2mt up to 85 mt. Steel grade is s355, use shackle. The pad eye thickness at the hole shall not be less than 75% the inside width of a shackle suitable for the rsf of the padeye.. Pad Eye Standard Dimensions.