Zero Crossing Detector Solid State Relay . in this post i have explained how to construct a simple mains operated solid state relay or an ssr circuit using a triac, bjts, a zero crossing opto coupler. The circuit is extremely simple to implement and make. the basic principle used for optimum cycle control is zero cross control, which determines the on/off status each half. Some pulse signals change voltage level cyclically at regular time intervals, while other pulse signals change at irregular time intervals. The relay remains on once it is turned on, so it is not repeatedly fired. A pulse signal changes voltage level in short time intervals. this design idea is a solid state relay (ssr) which uses a triac to switch ac loads at high current. a zero crossing relay is fine in this application. a solid state relay (ssr) circuit using in built zero crossing detector is explained in this post.
from www.huimultd.com
A pulse signal changes voltage level in short time intervals. a zero crossing relay is fine in this application. the basic principle used for optimum cycle control is zero cross control, which determines the on/off status each half. a solid state relay (ssr) circuit using in built zero crossing detector is explained in this post. The relay remains on once it is turned on, so it is not repeatedly fired. this design idea is a solid state relay (ssr) which uses a triac to switch ac loads at high current. in this post i have explained how to construct a simple mains operated solid state relay or an ssr circuit using a triac, bjts, a zero crossing opto coupler. Some pulse signals change voltage level cyclically at regular time intervals, while other pulse signals change at irregular time intervals. The circuit is extremely simple to implement and make.
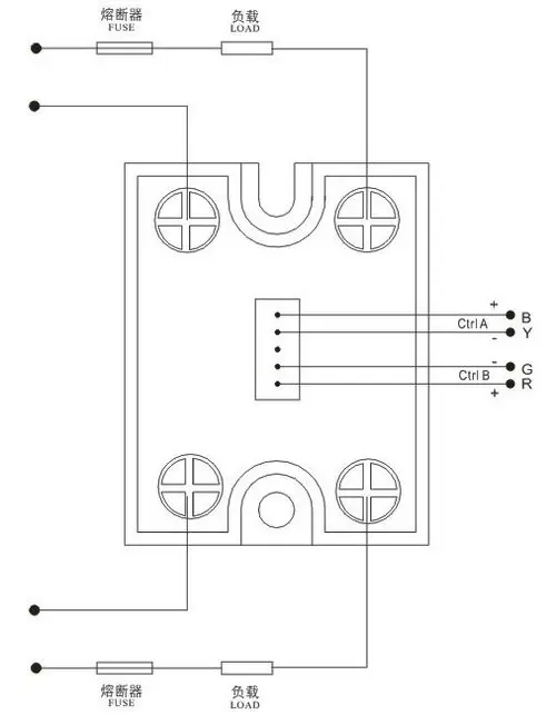
An introduction to solid state relays what is a solid state relay/how
Zero Crossing Detector Solid State Relay The circuit is extremely simple to implement and make. this design idea is a solid state relay (ssr) which uses a triac to switch ac loads at high current. in this post i have explained how to construct a simple mains operated solid state relay or an ssr circuit using a triac, bjts, a zero crossing opto coupler. a zero crossing relay is fine in this application. The circuit is extremely simple to implement and make. The relay remains on once it is turned on, so it is not repeatedly fired. Some pulse signals change voltage level cyclically at regular time intervals, while other pulse signals change at irregular time intervals. a solid state relay (ssr) circuit using in built zero crossing detector is explained in this post. A pulse signal changes voltage level in short time intervals. the basic principle used for optimum cycle control is zero cross control, which determines the on/off status each half.
From www.multisim.com
Zero crossing detector circuit Multisim Live Zero Crossing Detector Solid State Relay A pulse signal changes voltage level in short time intervals. in this post i have explained how to construct a simple mains operated solid state relay or an ssr circuit using a triac, bjts, a zero crossing opto coupler. a zero crossing relay is fine in this application. The circuit is extremely simple to implement and make. The. Zero Crossing Detector Solid State Relay.
From pucukcintya.blogspot.com
Solid State Relay Circuit Ssr Solid State Relay Interfacing With Zero Crossing Detector Solid State Relay a solid state relay (ssr) circuit using in built zero crossing detector is explained in this post. Some pulse signals change voltage level cyclically at regular time intervals, while other pulse signals change at irregular time intervals. the basic principle used for optimum cycle control is zero cross control, which determines the on/off status each half. The relay. Zero Crossing Detector Solid State Relay.
From lierd.en.alibaba.com
RoHS, UL 220V Zero Crossing Solid State Relay, View 220v solid state Zero Crossing Detector Solid State Relay A pulse signal changes voltage level in short time intervals. The relay remains on once it is turned on, so it is not repeatedly fired. the basic principle used for optimum cycle control is zero cross control, which determines the on/off status each half. in this post i have explained how to construct a simple mains operated solid. Zero Crossing Detector Solid State Relay.
From www.circuitstoday.com
Zero Crossing Detector Circuit Diagram Working and Waveform Zero Crossing Detector Solid State Relay a zero crossing relay is fine in this application. The relay remains on once it is turned on, so it is not repeatedly fired. Some pulse signals change voltage level cyclically at regular time intervals, while other pulse signals change at irregular time intervals. the basic principle used for optimum cycle control is zero cross control, which determines. Zero Crossing Detector Solid State Relay.
From www.alibaba.com
Zero Crossing Type Ac Solid State Relay Symbol Ssr40da Factory Supply Zero Crossing Detector Solid State Relay The circuit is extremely simple to implement and make. the basic principle used for optimum cycle control is zero cross control, which determines the on/off status each half. A pulse signal changes voltage level in short time intervals. this design idea is a solid state relay (ssr) which uses a triac to switch ac loads at high current.. Zero Crossing Detector Solid State Relay.
From electronics.huimultd.com
What is the Solid State Relay (SSR)? HUIMU Electronics Zero Crossing Detector Solid State Relay the basic principle used for optimum cycle control is zero cross control, which determines the on/off status each half. The relay remains on once it is turned on, so it is not repeatedly fired. in this post i have explained how to construct a simple mains operated solid state relay or an ssr circuit using a triac, bjts,. Zero Crossing Detector Solid State Relay.
From itecnotes.com
Zero Cross Detecting Circuit Understanding the Basics Valuable Tech Zero Crossing Detector Solid State Relay Some pulse signals change voltage level cyclically at regular time intervals, while other pulse signals change at irregular time intervals. in this post i have explained how to construct a simple mains operated solid state relay or an ssr circuit using a triac, bjts, a zero crossing opto coupler. A pulse signal changes voltage level in short time intervals.. Zero Crossing Detector Solid State Relay.
From www.huimultd.com
An introduction to solid state relays (Get started to an expert Zero Crossing Detector Solid State Relay a zero crossing relay is fine in this application. The relay remains on once it is turned on, so it is not repeatedly fired. in this post i have explained how to construct a simple mains operated solid state relay or an ssr circuit using a triac, bjts, a zero crossing opto coupler. A pulse signal changes voltage. Zero Crossing Detector Solid State Relay.
From relequick.com
Zero crossing solid state relay AC load Relays & Sockets Zero Crossing Detector Solid State Relay The relay remains on once it is turned on, so it is not repeatedly fired. a solid state relay (ssr) circuit using in built zero crossing detector is explained in this post. The circuit is extremely simple to implement and make. a zero crossing relay is fine in this application. Some pulse signals change voltage level cyclically at. Zero Crossing Detector Solid State Relay.
From www.omch.co
Zerocrossing solid state relay OMCH Zero Crossing Detector Solid State Relay in this post i have explained how to construct a simple mains operated solid state relay or an ssr circuit using a triac, bjts, a zero crossing opto coupler. a zero crossing relay is fine in this application. The circuit is extremely simple to implement and make. Some pulse signals change voltage level cyclically at regular time intervals,. Zero Crossing Detector Solid State Relay.
From www.indiamart.com
Zero Crossing Solid State Relay at best price in Mumbai by Sayali Zero Crossing Detector Solid State Relay Some pulse signals change voltage level cyclically at regular time intervals, while other pulse signals change at irregular time intervals. The circuit is extremely simple to implement and make. a zero crossing relay is fine in this application. this design idea is a solid state relay (ssr) which uses a triac to switch ac loads at high current.. Zero Crossing Detector Solid State Relay.
From www.aliexpress.com
SA34030D 3 Phase Output SSR, Load 30 Amp40530VAC, Zero crossing Triac Zero Crossing Detector Solid State Relay this design idea is a solid state relay (ssr) which uses a triac to switch ac loads at high current. A pulse signal changes voltage level in short time intervals. a zero crossing relay is fine in this application. in this post i have explained how to construct a simple mains operated solid state relay or an. Zero Crossing Detector Solid State Relay.
From chinaxurui.en.alibaba.com
40A solid state relay / zero crossing ssr 332VDC control, View 40A Zero Crossing Detector Solid State Relay in this post i have explained how to construct a simple mains operated solid state relay or an ssr circuit using a triac, bjts, a zero crossing opto coupler. this design idea is a solid state relay (ssr) which uses a triac to switch ac loads at high current. a zero crossing relay is fine in this. Zero Crossing Detector Solid State Relay.
From www.omchsmps.com
Zerocrossing solid state relay OMCH Zero Crossing Detector Solid State Relay The relay remains on once it is turned on, so it is not repeatedly fired. a zero crossing relay is fine in this application. the basic principle used for optimum cycle control is zero cross control, which determines the on/off status each half. in this post i have explained how to construct a simple mains operated solid. Zero Crossing Detector Solid State Relay.
From electricalworkbook.com
What is Zero Crossing Detector? Circuit Diagram, Derivation & Working Zero Crossing Detector Solid State Relay the basic principle used for optimum cycle control is zero cross control, which determines the on/off status each half. The circuit is extremely simple to implement and make. in this post i have explained how to construct a simple mains operated solid state relay or an ssr circuit using a triac, bjts, a zero crossing opto coupler. A. Zero Crossing Detector Solid State Relay.
From www.yumoelectric.com
SSR80DAP NonZero Crossing Type Single Phase Ssr Relay, China Single Zero Crossing Detector Solid State Relay this design idea is a solid state relay (ssr) which uses a triac to switch ac loads at high current. a zero crossing relay is fine in this application. the basic principle used for optimum cycle control is zero cross control, which determines the on/off status each half. in this post i have explained how to. Zero Crossing Detector Solid State Relay.
From www.homemade-circuits.com
How to Make a Zero Crossing Detector Circuit Homemade Circuit Projects Zero Crossing Detector Solid State Relay this design idea is a solid state relay (ssr) which uses a triac to switch ac loads at high current. a zero crossing relay is fine in this application. A pulse signal changes voltage level in short time intervals. The relay remains on once it is turned on, so it is not repeatedly fired. a solid state. Zero Crossing Detector Solid State Relay.
From www.grainger.com
SIEMENS Solid State Relay 15 to 24V DC, Solid State Relay, Zero Zero Crossing Detector Solid State Relay The relay remains on once it is turned on, so it is not repeatedly fired. The circuit is extremely simple to implement and make. a solid state relay (ssr) circuit using in built zero crossing detector is explained in this post. a zero crossing relay is fine in this application. the basic principle used for optimum cycle. Zero Crossing Detector Solid State Relay.
From export.rsdelivers.com
KSQF480D60 iAutoc iAutoc 60 A Solid State Relay 3 Phase, Zero Zero Crossing Detector Solid State Relay this design idea is a solid state relay (ssr) which uses a triac to switch ac loads at high current. A pulse signal changes voltage level in short time intervals. a zero crossing relay is fine in this application. The relay remains on once it is turned on, so it is not repeatedly fired. in this post. Zero Crossing Detector Solid State Relay.
From electronics.huimultd.com
MGR1D4840 Panel Mount Single Phase Zerocrossing DC to AC Solid Zero Crossing Detector Solid State Relay the basic principle used for optimum cycle control is zero cross control, which determines the on/off status each half. a zero crossing relay is fine in this application. The circuit is extremely simple to implement and make. The relay remains on once it is turned on, so it is not repeatedly fired. in this post i have. Zero Crossing Detector Solid State Relay.
From www.circuitstoday.com
Zero Crossing Detector Circuit Diagram Working and Waveform Zero Crossing Detector Solid State Relay this design idea is a solid state relay (ssr) which uses a triac to switch ac loads at high current. a solid state relay (ssr) circuit using in built zero crossing detector is explained in this post. A pulse signal changes voltage level in short time intervals. The circuit is extremely simple to implement and make. The relay. Zero Crossing Detector Solid State Relay.
From www.huimultd.com
An introduction to solid state relays (Get started to an expert Zero Crossing Detector Solid State Relay this design idea is a solid state relay (ssr) which uses a triac to switch ac loads at high current. in this post i have explained how to construct a simple mains operated solid state relay or an ssr circuit using a triac, bjts, a zero crossing opto coupler. The circuit is extremely simple to implement and make.. Zero Crossing Detector Solid State Relay.
From www.circuitstoday.com
Zero Crossing Detector Circuit Diagram Working and Waveform Zero Crossing Detector Solid State Relay a zero crossing relay is fine in this application. A pulse signal changes voltage level in short time intervals. The relay remains on once it is turned on, so it is not repeatedly fired. The circuit is extremely simple to implement and make. a solid state relay (ssr) circuit using in built zero crossing detector is explained in. Zero Crossing Detector Solid State Relay.
From www.99go.com
H3340ZN 340A Industrial Zero crossing trigger Solid State Relay 99GO Zero Crossing Detector Solid State Relay a solid state relay (ssr) circuit using in built zero crossing detector is explained in this post. a zero crossing relay is fine in this application. Some pulse signals change voltage level cyclically at regular time intervals, while other pulse signals change at irregular time intervals. The relay remains on once it is turned on, so it is. Zero Crossing Detector Solid State Relay.
From www.aliexpress.com
High Voltage Single Phase Solid State Relay Ssr 80amp 332vdc To 90 Zero Crossing Detector Solid State Relay the basic principle used for optimum cycle control is zero cross control, which determines the on/off status each half. The circuit is extremely simple to implement and make. in this post i have explained how to construct a simple mains operated solid state relay or an ssr circuit using a triac, bjts, a zero crossing opto coupler. . Zero Crossing Detector Solid State Relay.
From circuitwiringchela101.z4.web.core.windows.net
Circuit Diagram Of Zero Crossing Detector Zero Crossing Detector Solid State Relay The relay remains on once it is turned on, so it is not repeatedly fired. this design idea is a solid state relay (ssr) which uses a triac to switch ac loads at high current. a zero crossing relay is fine in this application. the basic principle used for optimum cycle control is zero cross control, which. Zero Crossing Detector Solid State Relay.
From electronics.stackexchange.com
solid state relay ZeroCrossing AC SSR not working for LED lightbulb Zero Crossing Detector Solid State Relay A pulse signal changes voltage level in short time intervals. a zero crossing relay is fine in this application. in this post i have explained how to construct a simple mains operated solid state relay or an ssr circuit using a triac, bjts, a zero crossing opto coupler. Some pulse signals change voltage level cyclically at regular time. Zero Crossing Detector Solid State Relay.
From www.aliexpress.com
Three phase solid state relays 100A 480vac zero crossing normally open Zero Crossing Detector Solid State Relay Some pulse signals change voltage level cyclically at regular time intervals, while other pulse signals change at irregular time intervals. a zero crossing relay is fine in this application. The circuit is extremely simple to implement and make. The relay remains on once it is turned on, so it is not repeatedly fired. the basic principle used for. Zero Crossing Detector Solid State Relay.
From www.circuits-diy.com
ZeroCrossing Detector Circuit Zero Crossing Detector Solid State Relay a solid state relay (ssr) circuit using in built zero crossing detector is explained in this post. The circuit is extremely simple to implement and make. the basic principle used for optimum cycle control is zero cross control, which determines the on/off status each half. A pulse signal changes voltage level in short time intervals. The relay remains. Zero Crossing Detector Solid State Relay.
From www.circuits-diy.com
ZeroCrossing Detector Circuit Zero Crossing Detector Solid State Relay The relay remains on once it is turned on, so it is not repeatedly fired. Some pulse signals change voltage level cyclically at regular time intervals, while other pulse signals change at irregular time intervals. A pulse signal changes voltage level in short time intervals. a solid state relay (ssr) circuit using in built zero crossing detector is explained. Zero Crossing Detector Solid State Relay.
From www.youtube.com
Zero Cross Detector Circuit Working and Simulation using Proteus Zero Crossing Detector Solid State Relay in this post i have explained how to construct a simple mains operated solid state relay or an ssr circuit using a triac, bjts, a zero crossing opto coupler. this design idea is a solid state relay (ssr) which uses a triac to switch ac loads at high current. the basic principle used for optimum cycle control. Zero Crossing Detector Solid State Relay.
From www.alibaba.com
Zero Crossing Dual Phase Solid State Relay Ssr Relay Model Xssr2da4840 Zero Crossing Detector Solid State Relay this design idea is a solid state relay (ssr) which uses a triac to switch ac loads at high current. the basic principle used for optimum cycle control is zero cross control, which determines the on/off status each half. a zero crossing relay is fine in this application. in this post i have explained how to. Zero Crossing Detector Solid State Relay.
From www.homemade-circuits.com
Solid State Relay Circuit using Triacs and Zero Crossing Switching Zero Crossing Detector Solid State Relay A pulse signal changes voltage level in short time intervals. The relay remains on once it is turned on, so it is not repeatedly fired. the basic principle used for optimum cycle control is zero cross control, which determines the on/off status each half. in this post i have explained how to construct a simple mains operated solid. Zero Crossing Detector Solid State Relay.
From huimuindustrial.wordpress.com
Overview and basics of SSR§6 What is the Working Principle of Solid Zero Crossing Detector Solid State Relay Some pulse signals change voltage level cyclically at regular time intervals, while other pulse signals change at irregular time intervals. in this post i have explained how to construct a simple mains operated solid state relay or an ssr circuit using a triac, bjts, a zero crossing opto coupler. a solid state relay (ssr) circuit using in built. Zero Crossing Detector Solid State Relay.
From www.huimultd.com
An introduction to solid state relays what is a solid state relay/how Zero Crossing Detector Solid State Relay a solid state relay (ssr) circuit using in built zero crossing detector is explained in this post. the basic principle used for optimum cycle control is zero cross control, which determines the on/off status each half. in this post i have explained how to construct a simple mains operated solid state relay or an ssr circuit using. Zero Crossing Detector Solid State Relay.