Kwikset Latch Bolt . Long screws that provide for maximum security. Is your kwikset door latch stuck and are you experiencing retraction issues? The screws fasten through your jamb and into the door frame for added. Secure and style your home with a complete line of. Shop door latch bolts and a variety of hardware products online at lowes.com. On my smartcode 909/910, the deadbolt latch does not extend or retract on its own during the door handing process. It includes two 3 in. Kwikset latches can fail to retract for several reasons, such as a misaligned strike plate. Find kwikset door latch bolts at lowe's today. Save your handle and some money.in this video i demonstrate how to replace the door latch. At kwikset, we design hardware solutions for effortless living and peace of mind. Whether it be the strike plate or a jam, let’s take a look at what you can do when your kwikset latch won’t retract. Additional door preparation may be required for.
from www.lowes.com
Is your kwikset door latch stuck and are you experiencing retraction issues? It includes two 3 in. Kwikset latches can fail to retract for several reasons, such as a misaligned strike plate. At kwikset, we design hardware solutions for effortless living and peace of mind. Long screws that provide for maximum security. Find kwikset door latch bolts at lowe's today. The screws fasten through your jamb and into the door frame for added. Whether it be the strike plate or a jam, let’s take a look at what you can do when your kwikset latch won’t retract. Secure and style your home with a complete line of. Additional door preparation may be required for.
Kwikset 19843 Adjustable Latch in the Door Latch Bolts department at
Kwikset Latch Bolt Save your handle and some money.in this video i demonstrate how to replace the door latch. Is your kwikset door latch stuck and are you experiencing retraction issues? Long screws that provide for maximum security. On my smartcode 909/910, the deadbolt latch does not extend or retract on its own during the door handing process. Save your handle and some money.in this video i demonstrate how to replace the door latch. Additional door preparation may be required for. Kwikset latches can fail to retract for several reasons, such as a misaligned strike plate. Shop door latch bolts and a variety of hardware products online at lowes.com. Whether it be the strike plate or a jam, let’s take a look at what you can do when your kwikset latch won’t retract. It includes two 3 in. At kwikset, we design hardware solutions for effortless living and peace of mind. The screws fasten through your jamb and into the door frame for added. Secure and style your home with a complete line of. Find kwikset door latch bolts at lowe's today.
From www.lowes.com
Kwikset 19841 Adjustable Latch in the Door Latch Bolts department at Kwikset Latch Bolt Whether it be the strike plate or a jam, let’s take a look at what you can do when your kwikset latch won’t retract. Shop door latch bolts and a variety of hardware products online at lowes.com. At kwikset, we design hardware solutions for effortless living and peace of mind. On my smartcode 909/910, the deadbolt latch does not extend. Kwikset Latch Bolt.
From doorlocksdirect.com
Kwikset / 660665667 Series / Round Corner / Deadbolt Latch / Polished Brass / 813053 Kwikset Latch Bolt Additional door preparation may be required for. At kwikset, we design hardware solutions for effortless living and peace of mind. Kwikset latches can fail to retract for several reasons, such as a misaligned strike plate. The screws fasten through your jamb and into the door frame for added. Long screws that provide for maximum security. On my smartcode 909/910, the. Kwikset Latch Bolt.
From www.chadwellsupply.com
Chadwell Supply. KWIKSET DRIVEIN DEADBOLT LATCH 23/4" Kwikset Latch Bolt Kwikset latches can fail to retract for several reasons, such as a misaligned strike plate. The screws fasten through your jamb and into the door frame for added. Secure and style your home with a complete line of. Long screws that provide for maximum security. Find kwikset door latch bolts at lowe's today. Whether it be the strike plate or. Kwikset Latch Bolt.
From www.lowes.com
Kwikset Adjustable Interior Latchbolt, Antique Brass in the Door Latch Bolts department at Kwikset Latch Bolt Secure and style your home with a complete line of. Is your kwikset door latch stuck and are you experiencing retraction issues? Long screws that provide for maximum security. Save your handle and some money.in this video i demonstrate how to replace the door latch. The screws fasten through your jamb and into the door frame for added. Find kwikset. Kwikset Latch Bolt.
From www.idn-inc.com
KWIKSET 6WAY CORE PLAIN SPRINGLATCH ONLY 81847 Kwikset Latch Bolt Secure and style your home with a complete line of. At kwikset, we design hardware solutions for effortless living and peace of mind. The screws fasten through your jamb and into the door frame for added. Whether it be the strike plate or a jam, let’s take a look at what you can do when your kwikset latch won’t retract.. Kwikset Latch Bolt.
From www.lowes.com
Shop Kwikset Adjustable Entry Latch, Polished Brass at Kwikset Latch Bolt Is your kwikset door latch stuck and are you experiencing retraction issues? Long screws that provide for maximum security. Shop door latch bolts and a variety of hardware products online at lowes.com. Kwikset latches can fail to retract for several reasons, such as a misaligned strike plate. Save your handle and some money.in this video i demonstrate how to replace. Kwikset Latch Bolt.
From www.wayfair.com
Kwikset Deadbolt Latch Back Plate Wayfair Kwikset Latch Bolt It includes two 3 in. Additional door preparation may be required for. Long screws that provide for maximum security. The screws fasten through your jamb and into the door frame for added. Secure and style your home with a complete line of. Whether it be the strike plate or a jam, let’s take a look at what you can do. Kwikset Latch Bolt.
From www.amazon.co.jp
Amazon.co.jp Kwikset Corporation 81308003 調節可能なデッドボルトラッチ 光沢クロム DIY・工具・ガーデン Kwikset Latch Bolt Whether it be the strike plate or a jam, let’s take a look at what you can do when your kwikset latch won’t retract. Secure and style your home with a complete line of. Is your kwikset door latch stuck and are you experiencing retraction issues? Find kwikset door latch bolts at lowe's today. Long screws that provide for maximum. Kwikset Latch Bolt.
From www.lowes.com
Kwikset 19843 Adjustable Latch in the Door Latch Bolts department at Kwikset Latch Bolt Save your handle and some money.in this video i demonstrate how to replace the door latch. It includes two 3 in. Is your kwikset door latch stuck and are you experiencing retraction issues? Shop door latch bolts and a variety of hardware products online at lowes.com. The screws fasten through your jamb and into the door frame for added. At. Kwikset Latch Bolt.
From www.lowes.com
Kwikset Polished Brass Mobile Home Interior Conversion Kit in the Door Latch Bolts department at Kwikset Latch Bolt At kwikset, we design hardware solutions for effortless living and peace of mind. It includes two 3 in. Additional door preparation may be required for. On my smartcode 909/910, the deadbolt latch does not extend or retract on its own during the door handing process. The screws fasten through your jamb and into the door frame for added. Secure and. Kwikset Latch Bolt.
From www.lowes.com
Kwikset 19841 Adjustable Latch in the Door Latch Bolts department at Kwikset Latch Bolt Is your kwikset door latch stuck and are you experiencing retraction issues? On my smartcode 909/910, the deadbolt latch does not extend or retract on its own during the door handing process. Whether it be the strike plate or a jam, let’s take a look at what you can do when your kwikset latch won’t retract. Save your handle and. Kwikset Latch Bolt.
From www.homedepot.com
Kwikset Polished Brass 5 in. Deadlatch83014001 The Home Depot Kwikset Latch Bolt The screws fasten through your jamb and into the door frame for added. On my smartcode 909/910, the deadbolt latch does not extend or retract on its own during the door handing process. Shop door latch bolts and a variety of hardware products online at lowes.com. Save your handle and some money.in this video i demonstrate how to replace the. Kwikset Latch Bolt.
From www.lowes.com
Kwikset 19843 Adjustable Latch in the Door Latch Bolts department at Kwikset Latch Bolt The screws fasten through your jamb and into the door frame for added. It includes two 3 in. On my smartcode 909/910, the deadbolt latch does not extend or retract on its own during the door handing process. Is your kwikset door latch stuck and are you experiencing retraction issues? At kwikset, we design hardware solutions for effortless living and. Kwikset Latch Bolt.
From www.doorlocksdirect.com
Kwikset / 980985 or 780785 Series / DriveIn / Deadbolt Latch / 83371 Kwikset Latch Bolt Is your kwikset door latch stuck and are you experiencing retraction issues? At kwikset, we design hardware solutions for effortless living and peace of mind. Save your handle and some money.in this video i demonstrate how to replace the door latch. It includes two 3 in. Secure and style your home with a complete line of. On my smartcode 909/910,. Kwikset Latch Bolt.
From www.amazon.com
Kwikset 8224715 Adjustable Radius Deadlatch Satin Nickel Finish Home & Kitchen Kwikset Latch Bolt Additional door preparation may be required for. Save your handle and some money.in this video i demonstrate how to replace the door latch. The screws fasten through your jamb and into the door frame for added. Secure and style your home with a complete line of. Find kwikset door latch bolts at lowe's today. It includes two 3 in. Is. Kwikset Latch Bolt.
From doorlocksdirect.com
Kwikset / 5" Backset / Square Corner / Deadbolt Latch / Polished Brass / 827303 Kwikset Latch Bolt Secure and style your home with a complete line of. Save your handle and some money.in this video i demonstrate how to replace the door latch. Kwikset latches can fail to retract for several reasons, such as a misaligned strike plate. Whether it be the strike plate or a jam, let’s take a look at what you can do when. Kwikset Latch Bolt.
From www.ebay.com
Lot of (4) Kwikset Latch Set Lock Door Dead Bolt Parts Adjustable Plate Striker eBay Kwikset Latch Bolt Additional door preparation may be required for. Whether it be the strike plate or a jam, let’s take a look at what you can do when your kwikset latch won’t retract. Find kwikset door latch bolts at lowe's today. Kwikset latches can fail to retract for several reasons, such as a misaligned strike plate. The screws fasten through your jamb. Kwikset Latch Bolt.
From www.amazon.ca
Kwikset 82735 23/4" Drivein Deadbolt Latch, Deadbolts Amazon Canada Kwikset Latch Bolt Kwikset latches can fail to retract for several reasons, such as a misaligned strike plate. Additional door preparation may be required for. The screws fasten through your jamb and into the door frame for added. Is your kwikset door latch stuck and are you experiencing retraction issues? Long screws that provide for maximum security. On my smartcode 909/910, the deadbolt. Kwikset Latch Bolt.
From www.lowes.com
Kwikset Adjustable Latch Bolt, for Passage Locks, 23/8in or 23/4in, Antique Brass in the Kwikset Latch Bolt The screws fasten through your jamb and into the door frame for added. Kwikset latches can fail to retract for several reasons, such as a misaligned strike plate. Secure and style your home with a complete line of. Save your handle and some money.in this video i demonstrate how to replace the door latch. Find kwikset door latch bolts at. Kwikset Latch Bolt.
From www.lowes.com
Kwikset 19843 Adjustable Latch in the Door Latch Bolts department at Kwikset Latch Bolt Whether it be the strike plate or a jam, let’s take a look at what you can do when your kwikset latch won’t retract. It includes two 3 in. Save your handle and some money.in this video i demonstrate how to replace the door latch. Find kwikset door latch bolts at lowe's today. Secure and style your home with a. Kwikset Latch Bolt.
From www.amazon.com
Kwikset Corporation 26499 DB SCAL 15 Series Deadbolt Square Corner Adjustable Latch in Satin Kwikset Latch Bolt Kwikset latches can fail to retract for several reasons, such as a misaligned strike plate. Additional door preparation may be required for. Whether it be the strike plate or a jam, let’s take a look at what you can do when your kwikset latch won’t retract. Find kwikset door latch bolts at lowe's today. Is your kwikset door latch stuck. Kwikset Latch Bolt.
From www.lowes.com
Kwikset Polished Brass Mobile Home Exterior Conversion Kit in the Door Latch Bolts department at Kwikset Latch Bolt Whether it be the strike plate or a jam, let’s take a look at what you can do when your kwikset latch won’t retract. Kwikset latches can fail to retract for several reasons, such as a misaligned strike plate. Is your kwikset door latch stuck and are you experiencing retraction issues? It includes two 3 in. Shop door latch bolts. Kwikset Latch Bolt.
From www.taylorsecurity.com
Kwikset 83370 SCAL Adjustable Deadbolt Latch for 780 & 980 Series Kwikset Latch Bolt Long screws that provide for maximum security. Find kwikset door latch bolts at lowe's today. It includes two 3 in. Shop door latch bolts and a variety of hardware products online at lowes.com. Additional door preparation may be required for. Kwikset latches can fail to retract for several reasons, such as a misaligned strike plate. On my smartcode 909/910, the. Kwikset Latch Bolt.
From www.chadwellsupply.com
Chadwell Supply. KWIKSET DEADBOLT LATCH 23/4" POLISHED BRASS Kwikset Latch Bolt Kwikset latches can fail to retract for several reasons, such as a misaligned strike plate. On my smartcode 909/910, the deadbolt latch does not extend or retract on its own during the door handing process. Shop door latch bolts and a variety of hardware products online at lowes.com. Secure and style your home with a complete line of. Additional door. Kwikset Latch Bolt.
From www.americanbuildersoutlet.com
Kwikset 599 Double Cylinder Gatelatch Deadbolt, SmartKey, Satin Chrome Kwikset Latch Bolt Long screws that provide for maximum security. Save your handle and some money.in this video i demonstrate how to replace the door latch. Secure and style your home with a complete line of. Shop door latch bolts and a variety of hardware products online at lowes.com. At kwikset, we design hardware solutions for effortless living and peace of mind. The. Kwikset Latch Bolt.
From www.walmart.com
Kwikset 8130815A Adjustable Square Deadbolt Latch Antique Nickel Finish Kwikset Latch Bolt On my smartcode 909/910, the deadbolt latch does not extend or retract on its own during the door handing process. Kwikset latches can fail to retract for several reasons, such as a misaligned strike plate. Long screws that provide for maximum security. Is your kwikset door latch stuck and are you experiencing retraction issues? Save your handle and some money.in. Kwikset Latch Bolt.
From www.lowes.com
Kwikset 19843 Adjustable Latch in the Door Latch Bolts department at Kwikset Latch Bolt Long screws that provide for maximum security. Additional door preparation may be required for. Is your kwikset door latch stuck and are you experiencing retraction issues? Find kwikset door latch bolts at lowe's today. Shop door latch bolts and a variety of hardware products online at lowes.com. It includes two 3 in. The screws fasten through your jamb and into. Kwikset Latch Bolt.
From blog.datacamp.net.br
Kwikset Deadbolt Latch Bolts DriveIn Brass Finish 5" Backset 12736 NOS Blog DATACAMP Kwikset Latch Bolt Additional door preparation may be required for. The screws fasten through your jamb and into the door frame for added. Whether it be the strike plate or a jam, let’s take a look at what you can do when your kwikset latch won’t retract. Shop door latch bolts and a variety of hardware products online at lowes.com. Find kwikset door. Kwikset Latch Bolt.
From www.walmart.com
kwikset 83186001 adjustable drivein deadbolt replacement latch Kwikset Latch Bolt Save your handle and some money.in this video i demonstrate how to replace the door latch. On my smartcode 909/910, the deadbolt latch does not extend or retract on its own during the door handing process. Secure and style your home with a complete line of. Whether it be the strike plate or a jam, let’s take a look at. Kwikset Latch Bolt.
From www.lowes.com
Kwikset KWIKSET ADJ D/B LATCH in the Door Latch Bolts department at Kwikset Latch Bolt It includes two 3 in. At kwikset, we design hardware solutions for effortless living and peace of mind. Secure and style your home with a complete line of. The screws fasten through your jamb and into the door frame for added. Save your handle and some money.in this video i demonstrate how to replace the door latch. Find kwikset door. Kwikset Latch Bolt.
From www.ebay.com
Lot of (4) Kwikset Latch Set Lock Door Dead Bolt Parts Adjustable Plate Striker eBay Kwikset Latch Bolt Whether it be the strike plate or a jam, let’s take a look at what you can do when your kwikset latch won’t retract. It includes two 3 in. Find kwikset door latch bolts at lowe's today. Is your kwikset door latch stuck and are you experiencing retraction issues? Secure and style your home with a complete line of. Save. Kwikset Latch Bolt.
From www.homedepot.com
Kwikset Polished Brass Deadbolt Door Latch11776 RCAL DB 3 CP The Home Depot Kwikset Latch Bolt Shop door latch bolts and a variety of hardware products online at lowes.com. Kwikset latches can fail to retract for several reasons, such as a misaligned strike plate. Whether it be the strike plate or a jam, let’s take a look at what you can do when your kwikset latch won’t retract. Save your handle and some money.in this video. Kwikset Latch Bolt.
From doorlocksdirect.com
Kwikset / 780 Series / Square Corner / Adjustable UL Deadbolt Latch / Polished Brass / 845133 Kwikset Latch Bolt Long screws that provide for maximum security. Additional door preparation may be required for. It includes two 3 in. Shop door latch bolts and a variety of hardware products online at lowes.com. On my smartcode 909/910, the deadbolt latch does not extend or retract on its own during the door handing process. Save your handle and some money.in this video. Kwikset Latch Bolt.
From wiringall.com
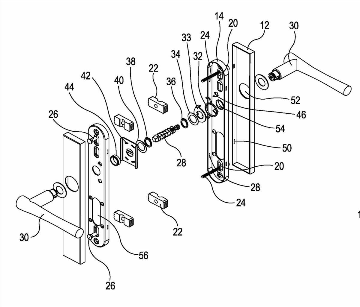
The Ultimate Guide to Understanding the Kwikset Latch Diagram Kwikset Latch Bolt The screws fasten through your jamb and into the door frame for added. Shop door latch bolts and a variety of hardware products online at lowes.com. At kwikset, we design hardware solutions for effortless living and peace of mind. Is your kwikset door latch stuck and are you experiencing retraction issues? Whether it be the strike plate or a jam,. Kwikset Latch Bolt.
From www.americanbuildersoutlet.com
Kwikset 598 Signature Series Single Cylinder Gatelatch Deadbolt Kwikset Latch Bolt Secure and style your home with a complete line of. At kwikset, we design hardware solutions for effortless living and peace of mind. Find kwikset door latch bolts at lowe's today. Is your kwikset door latch stuck and are you experiencing retraction issues? Whether it be the strike plate or a jam, let’s take a look at what you can. Kwikset Latch Bolt.