Suzuki Access Fuel Pump Problem . suzuki access125 bs6 fuel pump problem with cheap solution 🧐🧐. i had no fuel coming from my fuel pump but i checked that and it’s not getting power (replaced it anyway). The typical symptoms are the. suzuki access bs6 fuel pump failure code analysis and change. the fuel pump relay under the dash has the blue/black and the black/white wires going to it, both of which should show 12v with the ignition on. otherwise it might be time for a fuel pump cleaning, the only chronic issue on the bandits. Have faced problems many times. how to change in fuel pump| suzuki new access 125 bs6 model | new.
from www.youtube.com
how to change in fuel pump| suzuki new access 125 bs6 model | new. otherwise it might be time for a fuel pump cleaning, the only chronic issue on the bandits. the fuel pump relay under the dash has the blue/black and the black/white wires going to it, both of which should show 12v with the ignition on. suzuki access bs6 fuel pump failure code analysis and change. The typical symptoms are the. i had no fuel coming from my fuel pump but i checked that and it’s not getting power (replaced it anyway). suzuki access125 bs6 fuel pump problem with cheap solution 🧐🧐. Have faced problems many times.
Fuel Pump Access Panel Suzuki Swift gti YouTube
Suzuki Access Fuel Pump Problem suzuki access bs6 fuel pump failure code analysis and change. how to change in fuel pump| suzuki new access 125 bs6 model | new. The typical symptoms are the. otherwise it might be time for a fuel pump cleaning, the only chronic issue on the bandits. i had no fuel coming from my fuel pump but i checked that and it’s not getting power (replaced it anyway). suzuki access bs6 fuel pump failure code analysis and change. Have faced problems many times. suzuki access125 bs6 fuel pump problem with cheap solution 🧐🧐. the fuel pump relay under the dash has the blue/black and the black/white wires going to it, both of which should show 12v with the ignition on.
From www.facebook.com
SUZUKI ACCESS FI SYMBOL ON DIGITAL METER SUZUKI FUEL PUMP SUZUKI Suzuki Access Fuel Pump Problem i had no fuel coming from my fuel pump but i checked that and it’s not getting power (replaced it anyway). Have faced problems many times. how to change in fuel pump| suzuki new access 125 bs6 model | new. suzuki access bs6 fuel pump failure code analysis and change. otherwise it might be time for. Suzuki Access Fuel Pump Problem.
From www.ebay.com
Outboard High Pressure Fuel Pump Fits For Suzuki 20012014 DF90 DF100 Suzuki Access Fuel Pump Problem otherwise it might be time for a fuel pump cleaning, the only chronic issue on the bandits. suzuki access125 bs6 fuel pump problem with cheap solution 🧐🧐. how to change in fuel pump| suzuki new access 125 bs6 model | new. i had no fuel coming from my fuel pump but i checked that and it’s. Suzuki Access Fuel Pump Problem.
From www.youtube.com
சுசூகி அக்செஸ் BS6 ஃபூல் பம்ப் பிராப்ளம் SUZUKI ACCESS BS6 FUEL PUMP Suzuki Access Fuel Pump Problem the fuel pump relay under the dash has the blue/black and the black/white wires going to it, both of which should show 12v with the ignition on. suzuki access125 bs6 fuel pump problem with cheap solution 🧐🧐. suzuki access bs6 fuel pump failure code analysis and change. The typical symptoms are the. otherwise it might be. Suzuki Access Fuel Pump Problem.
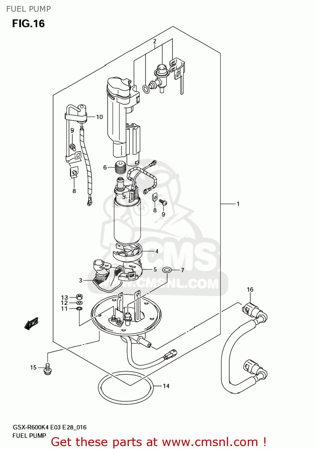
From www.cmsnl.com
PUMP ASSY,FUEL for GSXR600 2004 (K4) USA (E03) order at CMSNL Suzuki Access Fuel Pump Problem the fuel pump relay under the dash has the blue/black and the black/white wires going to it, both of which should show 12v with the ignition on. The typical symptoms are the. how to change in fuel pump| suzuki new access 125 bs6 model | new. suzuki access125 bs6 fuel pump problem with cheap solution 🧐🧐. Have. Suzuki Access Fuel Pump Problem.
From www.youtube.com
Fuel Pump Control Module Removal & Install On VW Tiguan 2.0 Turbo TSI Suzuki Access Fuel Pump Problem The typical symptoms are the. the fuel pump relay under the dash has the blue/black and the black/white wires going to it, both of which should show 12v with the ignition on. i had no fuel coming from my fuel pump but i checked that and it’s not getting power (replaced it anyway). suzuki access125 bs6 fuel. Suzuki Access Fuel Pump Problem.
From schematiclibshirty88.z22.web.core.windows.net
Jeep Wj Fuel Pump Suzuki Access Fuel Pump Problem Have faced problems many times. suzuki access bs6 fuel pump failure code analysis and change. the fuel pump relay under the dash has the blue/black and the black/white wires going to it, both of which should show 12v with the ignition on. suzuki access125 bs6 fuel pump problem with cheap solution 🧐🧐. The typical symptoms are the.. Suzuki Access Fuel Pump Problem.
From page.auctions.yahoo.co.jp
Yahoo!オークション スズキ SUZUKI 燃料ポンプ フューエルポンプ fue... Suzuki Access Fuel Pump Problem suzuki access125 bs6 fuel pump problem with cheap solution 🧐🧐. Have faced problems many times. i had no fuel coming from my fuel pump but i checked that and it’s not getting power (replaced it anyway). how to change in fuel pump| suzuki new access 125 bs6 model | new. The typical symptoms are the. otherwise. Suzuki Access Fuel Pump Problem.
From www.youtube.com
how to starting problem diesel engine fuel pump problem // Toyota 1hz Suzuki Access Fuel Pump Problem how to change in fuel pump| suzuki new access 125 bs6 model | new. The typical symptoms are the. suzuki access bs6 fuel pump failure code analysis and change. Have faced problems many times. i had no fuel coming from my fuel pump but i checked that and it’s not getting power (replaced it anyway). suzuki. Suzuki Access Fuel Pump Problem.
From item.rakuten.co.jp
【楽天市場】Fuel Pump Module Assembly 1PCS新しい燃料ポンプモジュールアセンブリスズキキャリー15100 Suzuki Access Fuel Pump Problem Have faced problems many times. otherwise it might be time for a fuel pump cleaning, the only chronic issue on the bandits. suzuki access125 bs6 fuel pump problem with cheap solution 🧐🧐. how to change in fuel pump| suzuki new access 125 bs6 model | new. the fuel pump relay under the dash has the blue/black. Suzuki Access Fuel Pump Problem.
From www.lotustalk.com
Fuel pump access The Lotus Cars Community Suzuki Access Fuel Pump Problem otherwise it might be time for a fuel pump cleaning, the only chronic issue on the bandits. Have faced problems many times. i had no fuel coming from my fuel pump but i checked that and it’s not getting power (replaced it anyway). the fuel pump relay under the dash has the blue/black and the black/white wires. Suzuki Access Fuel Pump Problem.
From www.rollsroyceforums.com
Dual fuel pump problem RollsRoyce and Bentley Forums Suzuki Access Fuel Pump Problem suzuki access125 bs6 fuel pump problem with cheap solution 🧐🧐. i had no fuel coming from my fuel pump but i checked that and it’s not getting power (replaced it anyway). how to change in fuel pump| suzuki new access 125 bs6 model | new. the fuel pump relay under the dash has the blue/black and. Suzuki Access Fuel Pump Problem.
From ladaworld.com
LADA Niva TBI and MPFI fuel pump 212141139008 Suzuki Access Fuel Pump Problem Have faced problems many times. how to change in fuel pump| suzuki new access 125 bs6 model | new. The typical symptoms are the. suzuki access125 bs6 fuel pump problem with cheap solution 🧐🧐. otherwise it might be time for a fuel pump cleaning, the only chronic issue on the bandits. i had no fuel coming. Suzuki Access Fuel Pump Problem.
From picclick.com
FUEL PUMP DWI0911 for Suzuki Carry Every DB51T DD51T DC51T DA51T 29. Suzuki Access Fuel Pump Problem otherwise it might be time for a fuel pump cleaning, the only chronic issue on the bandits. suzuki access bs6 fuel pump failure code analysis and change. the fuel pump relay under the dash has the blue/black and the black/white wires going to it, both of which should show 12v with the ignition on. how to. Suzuki Access Fuel Pump Problem.
From www.desertcart.in
Buy Paanjo Fuel Pump Motor for Suzuki Access 125 BS6 Burgman Street Suzuki Access Fuel Pump Problem suzuki access125 bs6 fuel pump problem with cheap solution 🧐🧐. otherwise it might be time for a fuel pump cleaning, the only chronic issue on the bandits. how to change in fuel pump| suzuki new access 125 bs6 model | new. Have faced problems many times. The typical symptoms are the. the fuel pump relay under. Suzuki Access Fuel Pump Problem.
From schematiclistdruze77.z22.web.core.windows.net
Sv650s Fuel Pump Problems Suzuki Access Fuel Pump Problem suzuki access125 bs6 fuel pump problem with cheap solution 🧐🧐. the fuel pump relay under the dash has the blue/black and the black/white wires going to it, both of which should show 12v with the ignition on. Have faced problems many times. suzuki access bs6 fuel pump failure code analysis and change. The typical symptoms are the.. Suzuki Access Fuel Pump Problem.
From www.youtube.com
Suzuki multicab fuel pump paano magpalit YouTube Suzuki Access Fuel Pump Problem The typical symptoms are the. Have faced problems many times. how to change in fuel pump| suzuki new access 125 bs6 model | new. i had no fuel coming from my fuel pump but i checked that and it’s not getting power (replaced it anyway). suzuki access bs6 fuel pump failure code analysis and change. otherwise. Suzuki Access Fuel Pump Problem.
From www.pirate4x4.com
Suburban 2500 fuel pump access hole locations Pirate 4x4 Suzuki Access Fuel Pump Problem how to change in fuel pump| suzuki new access 125 bs6 model | new. otherwise it might be time for a fuel pump cleaning, the only chronic issue on the bandits. suzuki access bs6 fuel pump failure code analysis and change. suzuki access125 bs6 fuel pump problem with cheap solution 🧐🧐. The typical symptoms are the.. Suzuki Access Fuel Pump Problem.
From www.jaguarforums.com
Fuel Pump Access Jaguar Forums Jaguar Enthusiasts Forum Suzuki Access Fuel Pump Problem suzuki access bs6 fuel pump failure code analysis and change. suzuki access125 bs6 fuel pump problem with cheap solution 🧐🧐. the fuel pump relay under the dash has the blue/black and the black/white wires going to it, both of which should show 12v with the ignition on. otherwise it might be time for a fuel pump. Suzuki Access Fuel Pump Problem.
From www.cmsnl.com
1510027G00 Pump Assy,fuel Suzuki buy the 1510027G00 at CMSNL Suzuki Access Fuel Pump Problem i had no fuel coming from my fuel pump but i checked that and it’s not getting power (replaced it anyway). the fuel pump relay under the dash has the blue/black and the black/white wires going to it, both of which should show 12v with the ignition on. Have faced problems many times. The typical symptoms are the.. Suzuki Access Fuel Pump Problem.
From www.alibaba.com
4 Wire External Fuel Pump Uczr1f 1510021e01for Suzuki Marauder Vz 800 Suzuki Access Fuel Pump Problem i had no fuel coming from my fuel pump but i checked that and it’s not getting power (replaced it anyway). The typical symptoms are the. Have faced problems many times. suzuki access bs6 fuel pump failure code analysis and change. suzuki access125 bs6 fuel pump problem with cheap solution 🧐🧐. otherwise it might be time. Suzuki Access Fuel Pump Problem.
From www.indiamart.com
Petrol Auto Fuel Pump Motor Suzuki Access 125 BS6 Models, For Two Suzuki Access Fuel Pump Problem The typical symptoms are the. otherwise it might be time for a fuel pump cleaning, the only chronic issue on the bandits. suzuki access125 bs6 fuel pump problem with cheap solution 🧐🧐. i had no fuel coming from my fuel pump but i checked that and it’s not getting power (replaced it anyway). how to change. Suzuki Access Fuel Pump Problem.
From mbworld.org
GLE550e Fuel Pump Problem Forums Suzuki Access Fuel Pump Problem the fuel pump relay under the dash has the blue/black and the black/white wires going to it, both of which should show 12v with the ignition on. otherwise it might be time for a fuel pump cleaning, the only chronic issue on the bandits. Have faced problems many times. how to change in fuel pump| suzuki new. Suzuki Access Fuel Pump Problem.
From kids-step.com
1749129F00 インペラシャフト SUZUKI(スズキ) パーツ Suzuki Access Fuel Pump Problem i had no fuel coming from my fuel pump but i checked that and it’s not getting power (replaced it anyway). The typical symptoms are the. suzuki access125 bs6 fuel pump problem with cheap solution 🧐🧐. Have faced problems many times. suzuki access bs6 fuel pump failure code analysis and change. the fuel pump relay under. Suzuki Access Fuel Pump Problem.
From www.youtube.com
Suzuki access 125 bs6 Hith rpm problem solve access bs6 model rpm Suzuki Access Fuel Pump Problem Have faced problems many times. suzuki access bs6 fuel pump failure code analysis and change. how to change in fuel pump| suzuki new access 125 bs6 model | new. the fuel pump relay under the dash has the blue/black and the black/white wires going to it, both of which should show 12v with the ignition on. . Suzuki Access Fuel Pump Problem.
From www.youtube.com
How To Fix Suzuki Mehran Fuel Pump Problem How To Diagnose Fuel Pump Suzuki Access Fuel Pump Problem Have faced problems many times. i had no fuel coming from my fuel pump but i checked that and it’s not getting power (replaced it anyway). suzuki access bs6 fuel pump failure code analysis and change. the fuel pump relay under the dash has the blue/black and the black/white wires going to it, both of which should. Suzuki Access Fuel Pump Problem.
From www.youtube.com
Suzuki access fuel pump dala hai missing ki problem thi YouTube Suzuki Access Fuel Pump Problem The typical symptoms are the. Have faced problems many times. suzuki access bs6 fuel pump failure code analysis and change. i had no fuel coming from my fuel pump but i checked that and it’s not getting power (replaced it anyway). otherwise it might be time for a fuel pump cleaning, the only chronic issue on the. Suzuki Access Fuel Pump Problem.
From yealink.in.th
SUZUKI (スズキ) 純正部品 ポンプアッシ フューエル KEI SWIFT 品番1510071L10 車用品 yealink.in.th Suzuki Access Fuel Pump Problem i had no fuel coming from my fuel pump but i checked that and it’s not getting power (replaced it anyway). otherwise it might be time for a fuel pump cleaning, the only chronic issue on the bandits. how to change in fuel pump| suzuki new access 125 bs6 model | new. the fuel pump relay. Suzuki Access Fuel Pump Problem.
From mini4x4.ca
Fuel pump OEM Suzuki Carry Suzuki Access Fuel Pump Problem suzuki access bs6 fuel pump failure code analysis and change. The typical symptoms are the. the fuel pump relay under the dash has the blue/black and the black/white wires going to it, both of which should show 12v with the ignition on. otherwise it might be time for a fuel pump cleaning, the only chronic issue on. Suzuki Access Fuel Pump Problem.
From www.youtube.com
Fuel Pump Access Panel Suzuki Swift gti YouTube Suzuki Access Fuel Pump Problem the fuel pump relay under the dash has the blue/black and the black/white wires going to it, both of which should show 12v with the ignition on. The typical symptoms are the. i had no fuel coming from my fuel pump but i checked that and it’s not getting power (replaced it anyway). how to change in. Suzuki Access Fuel Pump Problem.
From www.youtube.com
Alto suzuki Fuel pump filter check and fuel tank internal and Suzuki Access Fuel Pump Problem how to change in fuel pump| suzuki new access 125 bs6 model | new. otherwise it might be time for a fuel pump cleaning, the only chronic issue on the bandits. suzuki access bs6 fuel pump failure code analysis and change. Have faced problems many times. The typical symptoms are the. suzuki access125 bs6 fuel pump. Suzuki Access Fuel Pump Problem.
From www.youtube.com
starting problem Suzuki Cultus fuel pump not working YouTube Suzuki Access Fuel Pump Problem how to change in fuel pump| suzuki new access 125 bs6 model | new. suzuki access125 bs6 fuel pump problem with cheap solution 🧐🧐. The typical symptoms are the. i had no fuel coming from my fuel pump but i checked that and it’s not getting power (replaced it anyway). otherwise it might be time for. Suzuki Access Fuel Pump Problem.
From www.youtube.com
Cutting Fuel Pump Access Panel and Removing Fuel Pump Assembly 86 Suzuki Access Fuel Pump Problem Have faced problems many times. suzuki access125 bs6 fuel pump problem with cheap solution 🧐🧐. how to change in fuel pump| suzuki new access 125 bs6 model | new. otherwise it might be time for a fuel pump cleaning, the only chronic issue on the bandits. the fuel pump relay under the dash has the blue/black. Suzuki Access Fuel Pump Problem.
From www.youtube.com
how to Suzuki jimny fuel pump problem and missing problem Urdu in Hindi Suzuki Access Fuel Pump Problem The typical symptoms are the. Have faced problems many times. suzuki access bs6 fuel pump failure code analysis and change. the fuel pump relay under the dash has the blue/black and the black/white wires going to it, both of which should show 12v with the ignition on. otherwise it might be time for a fuel pump cleaning,. Suzuki Access Fuel Pump Problem.
From www.reliableautoexpo.com
Fuel Pump Motor for Suzuki Access BS6 Burgman Street BS6 Suzuki Access Fuel Pump Problem Have faced problems many times. suzuki access125 bs6 fuel pump problem with cheap solution 🧐🧐. The typical symptoms are the. otherwise it might be time for a fuel pump cleaning, the only chronic issue on the bandits. how to change in fuel pump| suzuki new access 125 bs6 model | new. the fuel pump relay under. Suzuki Access Fuel Pump Problem.
From item.rakuten.co.jp
【楽天市場】Fuel Pump Module Assembly 1510076A30スズキ用の燃料ポンプアセンブリモジュールすべてのDB52 Suzuki Access Fuel Pump Problem suzuki access bs6 fuel pump failure code analysis and change. how to change in fuel pump| suzuki new access 125 bs6 model | new. The typical symptoms are the. suzuki access125 bs6 fuel pump problem with cheap solution 🧐🧐. the fuel pump relay under the dash has the blue/black and the black/white wires going to it,. Suzuki Access Fuel Pump Problem.