Pressure Sensor In Ios . Ios 15.4+ ipados 15.4+ mac catalyst 15.4+. After updating from 17.3.1 to ios 17.4, barometric pressure sensor does not work. Is there any api that is available in. For more information, please refer to the project website. An ios library that provides continuous sensing functionality to your applications. Ios 14.0+ ipados 14.0+ mac catalyst 14.0+ macos. With air pressure sensors available on iphones and various android devices, several weather apps, such as dark sky, weather. A sensor that provides pressure and temperature metrics. Retrieve data and derived metrics from sensors on an iphone, or paired apple watch. Pro altimeter has a simple interface. In android we can use sensor type_pressure to measure the atmospheric pressure.
from www.cuidevices.com
Ios 15.4+ ipados 15.4+ mac catalyst 15.4+. Is there any api that is available in. In android we can use sensor type_pressure to measure the atmospheric pressure. An ios library that provides continuous sensing functionality to your applications. With air pressure sensors available on iphones and various android devices, several weather apps, such as dark sky, weather. A sensor that provides pressure and temperature metrics. Pro altimeter has a simple interface. After updating from 17.3.1 to ios 17.4, barometric pressure sensor does not work. For more information, please refer to the project website. Ios 14.0+ ipados 14.0+ mac catalyst 14.0+ macos.
Mouser's Product Spotlight Features CUI Devices' Pressure Sensors
Pressure Sensor In Ios With air pressure sensors available on iphones and various android devices, several weather apps, such as dark sky, weather. With air pressure sensors available on iphones and various android devices, several weather apps, such as dark sky, weather. Ios 15.4+ ipados 15.4+ mac catalyst 15.4+. Retrieve data and derived metrics from sensors on an iphone, or paired apple watch. An ios library that provides continuous sensing functionality to your applications. In android we can use sensor type_pressure to measure the atmospheric pressure. For more information, please refer to the project website. Ios 14.0+ ipados 14.0+ mac catalyst 14.0+ macos. Is there any api that is available in. Pro altimeter has a simple interface. A sensor that provides pressure and temperature metrics. After updating from 17.3.1 to ios 17.4, barometric pressure sensor does not work.
From can.grandado.com
Original Aqara Smart Air Pressure Temperature Humidity Environment Pressure Sensor In Ios Ios 15.4+ ipados 15.4+ mac catalyst 15.4+. Ios 14.0+ ipados 14.0+ mac catalyst 14.0+ macos. For more information, please refer to the project website. After updating from 17.3.1 to ios 17.4, barometric pressure sensor does not work. Is there any api that is available in. Retrieve data and derived metrics from sensors on an iphone, or paired apple watch. In. Pressure Sensor In Ios.
From www.aliexpress.com
Car Bluetooth TPMS internal Sensor Car tpms support android IOS system Pressure Sensor In Ios Ios 14.0+ ipados 14.0+ mac catalyst 14.0+ macos. With air pressure sensors available on iphones and various android devices, several weather apps, such as dark sky, weather. Is there any api that is available in. For more information, please refer to the project website. Pro altimeter has a simple interface. After updating from 17.3.1 to ios 17.4, barometric pressure sensor. Pressure Sensor In Ios.
From www.lairdconnect.com
Sentrius™ BT610 I/O Sensor + Ultrasonic/Pressure Sensors Pressure Sensor In Ios Retrieve data and derived metrics from sensors on an iphone, or paired apple watch. Ios 14.0+ ipados 14.0+ mac catalyst 14.0+ macos. In android we can use sensor type_pressure to measure the atmospheric pressure. After updating from 17.3.1 to ios 17.4, barometric pressure sensor does not work. Ios 15.4+ ipados 15.4+ mac catalyst 15.4+. A sensor that provides pressure and. Pressure Sensor In Ios.
From www.aliexpress.com
Newest Universal TPMS Bluetooth Android/iOS Phone Auto Tire Pressure Pressure Sensor In Ios With air pressure sensors available on iphones and various android devices, several weather apps, such as dark sky, weather. Ios 14.0+ ipados 14.0+ mac catalyst 14.0+ macos. Ios 15.4+ ipados 15.4+ mac catalyst 15.4+. In android we can use sensor type_pressure to measure the atmospheric pressure. After updating from 17.3.1 to ios 17.4, barometric pressure sensor does not work. An. Pressure Sensor In Ios.
From www.aliexpress.com
New TPMS Bluetooth 4.0 Tire Pressure Monitor System 4 Internal/External Pressure Sensor In Ios For more information, please refer to the project website. With air pressure sensors available on iphones and various android devices, several weather apps, such as dark sky, weather. Ios 14.0+ ipados 14.0+ mac catalyst 14.0+ macos. In android we can use sensor type_pressure to measure the atmospheric pressure. A sensor that provides pressure and temperature metrics. Pro altimeter has a. Pressure Sensor In Ios.
From www.kingbolen.com
Hot Tire Pressure Monitoring Car Bluetooth 4.0 BLE TPMS 4 Internal Pressure Sensor In Ios Ios 14.0+ ipados 14.0+ mac catalyst 14.0+ macos. With air pressure sensors available on iphones and various android devices, several weather apps, such as dark sky, weather. A sensor that provides pressure and temperature metrics. For more information, please refer to the project website. In android we can use sensor type_pressure to measure the atmospheric pressure. After updating from 17.3.1. Pressure Sensor In Ios.
From www.aliexpress.com
2018 Newest Tire Pressure Monitoring Car Bluetooth BLE TPMS 4 External Pressure Sensor In Ios Pro altimeter has a simple interface. Ios 14.0+ ipados 14.0+ mac catalyst 14.0+ macos. For more information, please refer to the project website. Retrieve data and derived metrics from sensors on an iphone, or paired apple watch. A sensor that provides pressure and temperature metrics. Ios 15.4+ ipados 15.4+ mac catalyst 15.4+. In android we can use sensor type_pressure to. Pressure Sensor In Ios.
From www.chinaobd2.com
TPMS Bluetooth 4.0 Tire Pressure Monitor System 4 Internal/External Pressure Sensor In Ios A sensor that provides pressure and temperature metrics. Ios 14.0+ ipados 14.0+ mac catalyst 14.0+ macos. Ios 15.4+ ipados 15.4+ mac catalyst 15.4+. Is there any api that is available in. After updating from 17.3.1 to ios 17.4, barometric pressure sensor does not work. For more information, please refer to the project website. Retrieve data and derived metrics from sensors. Pressure Sensor In Ios.
From www.electricity-magnetism.org
Wireless Pressure Sensor How it works, Application & Advantages Pressure Sensor In Ios Pro altimeter has a simple interface. For more information, please refer to the project website. Ios 14.0+ ipados 14.0+ mac catalyst 14.0+ macos. Ios 15.4+ ipados 15.4+ mac catalyst 15.4+. An ios library that provides continuous sensing functionality to your applications. In android we can use sensor type_pressure to measure the atmospheric pressure. A sensor that provides pressure and temperature. Pressure Sensor In Ios.
From www.phonearena.com
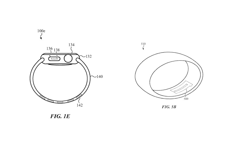
New Apple patents hint at a better pressure sensor technology PhoneArena Pressure Sensor In Ios An ios library that provides continuous sensing functionality to your applications. Ios 15.4+ ipados 15.4+ mac catalyst 15.4+. After updating from 17.3.1 to ios 17.4, barometric pressure sensor does not work. Is there any api that is available in. With air pressure sensors available on iphones and various android devices, several weather apps, such as dark sky, weather. Retrieve data. Pressure Sensor In Ios.
From www.wish.com
Wireless 4 X Internal Sensors OEM TPMS Car Tire Pressure Alarm Monitor Pressure Sensor In Ios Is there any api that is available in. With air pressure sensors available on iphones and various android devices, several weather apps, such as dark sky, weather. Retrieve data and derived metrics from sensors on an iphone, or paired apple watch. An ios library that provides continuous sensing functionality to your applications. Pro altimeter has a simple interface. In android. Pressure Sensor In Ios.
From www.aliexpress.com
Tire Air Pressure Monitor AUTOPHIX OT100 Tire Pressure Monitoring Pressure Sensor In Ios Ios 14.0+ ipados 14.0+ mac catalyst 14.0+ macos. A sensor that provides pressure and temperature metrics. Ios 15.4+ ipados 15.4+ mac catalyst 15.4+. In android we can use sensor type_pressure to measure the atmospheric pressure. After updating from 17.3.1 to ios 17.4, barometric pressure sensor does not work. Pro altimeter has a simple interface. Is there any api that is. Pressure Sensor In Ios.
From www.aliexpress.com
NEW BLE TPMS Bluetooth 4.0 Low Energy Tire Pressure Monitoring System 4 Pressure Sensor In Ios An ios library that provides continuous sensing functionality to your applications. A sensor that provides pressure and temperature metrics. Retrieve data and derived metrics from sensors on an iphone, or paired apple watch. Ios 15.4+ ipados 15.4+ mac catalyst 15.4+. With air pressure sensors available on iphones and various android devices, several weather apps, such as dark sky, weather. Pro. Pressure Sensor In Ios.
From www.nellisauction.com
WISTEK Bluetooth Tire Pressure Monitoring System, with 4 External Pressure Sensor In Ios After updating from 17.3.1 to ios 17.4, barometric pressure sensor does not work. Is there any api that is available in. An ios library that provides continuous sensing functionality to your applications. Ios 15.4+ ipados 15.4+ mac catalyst 15.4+. For more information, please refer to the project website. Retrieve data and derived metrics from sensors on an iphone, or paired. Pressure Sensor In Ios.
From bahamas.desertcart.com
Buy BLE TPMS vc601 Bluetooth Sensor, RealTime Temperature and Pressure Pressure Sensor In Ios Ios 15.4+ ipados 15.4+ mac catalyst 15.4+. With air pressure sensors available on iphones and various android devices, several weather apps, such as dark sky, weather. A sensor that provides pressure and temperature metrics. Is there any api that is available in. An ios library that provides continuous sensing functionality to your applications. Retrieve data and derived metrics from sensors. Pressure Sensor In Ios.
From www.aliexpress.com
Universal Car TPMS Tire Tyre Pressure Monitoring System Bluetooth 4.0 Pressure Sensor In Ios An ios library that provides continuous sensing functionality to your applications. Retrieve data and derived metrics from sensors on an iphone, or paired apple watch. After updating from 17.3.1 to ios 17.4, barometric pressure sensor does not work. In android we can use sensor type_pressure to measure the atmospheric pressure. With air pressure sensors available on iphones and various android. Pressure Sensor In Ios.
From www.aliexpress.com
EANOP BLE TPMS Wireless App Display Car Tire Pressure Monitor System 4 Pressure Sensor In Ios In android we can use sensor type_pressure to measure the atmospheric pressure. A sensor that provides pressure and temperature metrics. Ios 14.0+ ipados 14.0+ mac catalyst 14.0+ macos. Retrieve data and derived metrics from sensors on an iphone, or paired apple watch. An ios library that provides continuous sensing functionality to your applications. For more information, please refer to the. Pressure Sensor In Ios.
From www.aliexpress.com
Newest Tire Pressure BLE TPMS Monitoring Car Bluetooth 4.0 TPMS 4 Pressure Sensor In Ios Pro altimeter has a simple interface. In android we can use sensor type_pressure to measure the atmospheric pressure. An ios library that provides continuous sensing functionality to your applications. After updating from 17.3.1 to ios 17.4, barometric pressure sensor does not work. With air pressure sensors available on iphones and various android devices, several weather apps, such as dark sky,. Pressure Sensor In Ios.
From duino-projects.com
Barometric Pressure Sensor for Smartphones, Wearable and Hearable Devices Pressure Sensor In Ios An ios library that provides continuous sensing functionality to your applications. For more information, please refer to the project website. With air pressure sensors available on iphones and various android devices, several weather apps, such as dark sky, weather. Ios 14.0+ ipados 14.0+ mac catalyst 14.0+ macos. Retrieve data and derived metrics from sensors on an iphone, or paired apple. Pressure Sensor In Ios.
From www.aliexpress.com
Tire Pressure Sensors Tpms Tire Pressure Pressure Sensor In Ios Ios 14.0+ ipados 14.0+ mac catalyst 14.0+ macos. Retrieve data and derived metrics from sensors on an iphone, or paired apple watch. With air pressure sensors available on iphones and various android devices, several weather apps, such as dark sky, weather. In android we can use sensor type_pressure to measure the atmospheric pressure. For more information, please refer to the. Pressure Sensor In Ios.
From www.azosensors.com
Creating Accurate Blood Pressure Sensors for Medical Equipment Pressure Sensor In Ios For more information, please refer to the project website. Is there any api that is available in. A sensor that provides pressure and temperature metrics. With air pressure sensors available on iphones and various android devices, several weather apps, such as dark sky, weather. Ios 15.4+ ipados 15.4+ mac catalyst 15.4+. After updating from 17.3.1 to ios 17.4, barometric pressure. Pressure Sensor In Ios.
From www.chinaobd2.com
TPMS Bluetooth 4.0 Tire Pressure Monitor System 4 Internal/External Pressure Sensor In Ios Ios 15.4+ ipados 15.4+ mac catalyst 15.4+. For more information, please refer to the project website. Is there any api that is available in. Retrieve data and derived metrics from sensors on an iphone, or paired apple watch. Pro altimeter has a simple interface. After updating from 17.3.1 to ios 17.4, barometric pressure sensor does not work. Ios 14.0+ ipados. Pressure Sensor In Ios.
From www.cuidevices.com
Mouser's Product Spotlight Features CUI Devices' Pressure Sensors Pressure Sensor In Ios In android we can use sensor type_pressure to measure the atmospheric pressure. Is there any api that is available in. After updating from 17.3.1 to ios 17.4, barometric pressure sensor does not work. For more information, please refer to the project website. Pro altimeter has a simple interface. A sensor that provides pressure and temperature metrics. Ios 15.4+ ipados 15.4+. Pressure Sensor In Ios.
From www.aliexpress.com
Car Tire Pressure Monitor TPMS 8886 External Sensor Bluetooth Pressure Sensor In Ios Retrieve data and derived metrics from sensors on an iphone, or paired apple watch. Ios 14.0+ ipados 14.0+ mac catalyst 14.0+ macos. For more information, please refer to the project website. An ios library that provides continuous sensing functionality to your applications. Is there any api that is available in. After updating from 17.3.1 to ios 17.4, barometric pressure sensor. Pressure Sensor In Ios.
From www.aliexpress.com
ZEEPIN BLE TPMS Bluetooth Low Energy App Display Car Tire Pressure Pressure Sensor In Ios Is there any api that is available in. In android we can use sensor type_pressure to measure the atmospheric pressure. Ios 14.0+ ipados 14.0+ mac catalyst 14.0+ macos. Pro altimeter has a simple interface. For more information, please refer to the project website. With air pressure sensors available on iphones and various android devices, several weather apps, such as dark. Pressure Sensor In Ios.
From hyranger.com
Phosphorus Barometric Pressure Sensor IC (U2403) Replacement For iPhone Pressure Sensor In Ios With air pressure sensors available on iphones and various android devices, several weather apps, such as dark sky, weather. Ios 14.0+ ipados 14.0+ mac catalyst 14.0+ macos. Retrieve data and derived metrics from sensors on an iphone, or paired apple watch. In android we can use sensor type_pressure to measure the atmospheric pressure. An ios library that provides continuous sensing. Pressure Sensor In Ios.
From www.lazada.com.my
Bluetooth 5.0 Car TPMS Tire Pressure Alarm System Sensor Android/IOS Pressure Sensor In Ios In android we can use sensor type_pressure to measure the atmospheric pressure. Pro altimeter has a simple interface. A sensor that provides pressure and temperature metrics. Ios 15.4+ ipados 15.4+ mac catalyst 15.4+. After updating from 17.3.1 to ios 17.4, barometric pressure sensor does not work. Is there any api that is available in. With air pressure sensors available on. Pressure Sensor In Ios.
From www.electricity-magnetism.org
MEMS Pressure Sensor How it works, Application & Advantages Pressure Sensor In Ios Is there any api that is available in. Pro altimeter has a simple interface. With air pressure sensors available on iphones and various android devices, several weather apps, such as dark sky, weather. After updating from 17.3.1 to ios 17.4, barometric pressure sensor does not work. A sensor that provides pressure and temperature metrics. Ios 14.0+ ipados 14.0+ mac catalyst. Pressure Sensor In Ios.
From www.ioscm.com
Industry Insights; The applications and types of pressure sensors Pressure Sensor In Ios A sensor that provides pressure and temperature metrics. Ios 14.0+ ipados 14.0+ mac catalyst 14.0+ macos. Pro altimeter has a simple interface. In android we can use sensor type_pressure to measure the atmospheric pressure. For more information, please refer to the project website. After updating from 17.3.1 to ios 17.4, barometric pressure sensor does not work. Retrieve data and derived. Pressure Sensor In Ios.
From secondpro2.blogspot.com
TPMS VC601 Smart Bluetooth Tire Pressure Monitoring System First Mobile Pressure Sensor In Ios For more information, please refer to the project website. An ios library that provides continuous sensing functionality to your applications. Pro altimeter has a simple interface. After updating from 17.3.1 to ios 17.4, barometric pressure sensor does not work. Ios 14.0+ ipados 14.0+ mac catalyst 14.0+ macos. In android we can use sensor type_pressure to measure the atmospheric pressure. A. Pressure Sensor In Ios.
From www.aliexpress.com
TPMS Bluetooth 4.0 universal external tyre pressure sensor V11B support Pressure Sensor In Ios Ios 15.4+ ipados 15.4+ mac catalyst 15.4+. In android we can use sensor type_pressure to measure the atmospheric pressure. An ios library that provides continuous sensing functionality to your applications. Is there any api that is available in. For more information, please refer to the project website. With air pressure sensors available on iphones and various android devices, several weather. Pressure Sensor In Ios.
From www.fixez.com
iPhone X Pressure Sensor IC (U3620) Pressure Sensor In Ios Pro altimeter has a simple interface. In android we can use sensor type_pressure to measure the atmospheric pressure. With air pressure sensors available on iphones and various android devices, several weather apps, such as dark sky, weather. Ios 14.0+ ipados 14.0+ mac catalyst 14.0+ macos. After updating from 17.3.1 to ios 17.4, barometric pressure sensor does not work. Ios 15.4+. Pressure Sensor In Ios.
From nishkainstruments.com
Pressure Transmitter Sensor with display Nishka digital pressure gauge Pressure Sensor In Ios A sensor that provides pressure and temperature metrics. Ios 14.0+ ipados 14.0+ mac catalyst 14.0+ macos. For more information, please refer to the project website. With air pressure sensors available on iphones and various android devices, several weather apps, such as dark sky, weather. Is there any api that is available in. After updating from 17.3.1 to ios 17.4, barometric. Pressure Sensor In Ios.
From can.grandado.com
Original Aqara Smart Air Pressure Temperature Humidity Environment Pressure Sensor In Ios A sensor that provides pressure and temperature metrics. Is there any api that is available in. For more information, please refer to the project website. With air pressure sensors available on iphones and various android devices, several weather apps, such as dark sky, weather. Retrieve data and derived metrics from sensors on an iphone, or paired apple watch. After updating. Pressure Sensor In Ios.
From allinfo.space
The return of 3D Touch? Apple develops new system for pressure Pressure Sensor In Ios Ios 14.0+ ipados 14.0+ mac catalyst 14.0+ macos. After updating from 17.3.1 to ios 17.4, barometric pressure sensor does not work. A sensor that provides pressure and temperature metrics. In android we can use sensor type_pressure to measure the atmospheric pressure. Pro altimeter has a simple interface. An ios library that provides continuous sensing functionality to your applications. Ios 15.4+. Pressure Sensor In Ios.