Louver Mechanism . Operable louvres are modular systems, supplied to site as factory built units. Kinetic louvres move in three dimensions to screen sunlight from any angle. A louver is an architectural or mechanical feature that includes a set of blades, either fixed or operable, that have been designed to allow the. Architecture student tyler short has developed an. Add louvers for your pergola, build privacy deck railings, a louvered wall, louvered fences or even a louvered bbq or hot tub enclosure, this the diy. The blades can be driven open and closed either manually, where direct access is available to the back of the louvre, or remotely, by linear driven actuator mounted to the side of the louvre frame. The slats or ‘louvers’ are shaped using a special attachment on the router called a roundover, and a mechanical sander is used to. Our manually operable louvre systems are easily controlled by hand adjusting the angle of the blades. It is a fundamental architectural and engineering element designed to balance the ingress of air and natural light with the need for.
from thelatebay.com
The slats or ‘louvers’ are shaped using a special attachment on the router called a roundover, and a mechanical sander is used to. Operable louvres are modular systems, supplied to site as factory built units. It is a fundamental architectural and engineering element designed to balance the ingress of air and natural light with the need for. Kinetic louvres move in three dimensions to screen sunlight from any angle. The blades can be driven open and closed either manually, where direct access is available to the back of the louvre, or remotely, by linear driven actuator mounted to the side of the louvre frame. A louver is an architectural or mechanical feature that includes a set of blades, either fixed or operable, that have been designed to allow the. Our manually operable louvre systems are easily controlled by hand adjusting the angle of the blades. Add louvers for your pergola, build privacy deck railings, a louvered wall, louvered fences or even a louvered bbq or hot tub enclosure, this the diy. Architecture student tyler short has developed an.
Louver window mechanism Repair? The Late Bay
Louver Mechanism Kinetic louvres move in three dimensions to screen sunlight from any angle. It is a fundamental architectural and engineering element designed to balance the ingress of air and natural light with the need for. The blades can be driven open and closed either manually, where direct access is available to the back of the louvre, or remotely, by linear driven actuator mounted to the side of the louvre frame. Add louvers for your pergola, build privacy deck railings, a louvered wall, louvered fences or even a louvered bbq or hot tub enclosure, this the diy. Architecture student tyler short has developed an. Operable louvres are modular systems, supplied to site as factory built units. The slats or ‘louvers’ are shaped using a special attachment on the router called a roundover, and a mechanical sander is used to. A louver is an architectural or mechanical feature that includes a set of blades, either fixed or operable, that have been designed to allow the. Kinetic louvres move in three dimensions to screen sunlight from any angle. Our manually operable louvre systems are easily controlled by hand adjusting the angle of the blades.
From www.google.com
Patent EP1074690B1 Shutter with perfected rotating louvers and Louver Mechanism Operable louvres are modular systems, supplied to site as factory built units. Architecture student tyler short has developed an. Kinetic louvres move in three dimensions to screen sunlight from any angle. The slats or ‘louvers’ are shaped using a special attachment on the router called a roundover, and a mechanical sander is used to. The blades can be driven open. Louver Mechanism.
From www.researchgate.net
Photographs of the louver system attached to the downstream Louver Mechanism The blades can be driven open and closed either manually, where direct access is available to the back of the louvre, or remotely, by linear driven actuator mounted to the side of the louvre frame. Add louvers for your pergola, build privacy deck railings, a louvered wall, louvered fences or even a louvered bbq or hot tub enclosure, this the. Louver Mechanism.
From www.youtube.com
3 technics to manually operate wooden louvers YouTube Louver Mechanism Operable louvres are modular systems, supplied to site as factory built units. Our manually operable louvre systems are easily controlled by hand adjusting the angle of the blades. Add louvers for your pergola, build privacy deck railings, a louvered wall, louvered fences or even a louvered bbq or hot tub enclosure, this the diy. A louver is an architectural or. Louver Mechanism.
From www.hitachiaircon.com
How to set louver direction Louver Mechanism Kinetic louvres move in three dimensions to screen sunlight from any angle. The blades can be driven open and closed either manually, where direct access is available to the back of the louvre, or remotely, by linear driven actuator mounted to the side of the louvre frame. It is a fundamental architectural and engineering element designed to balance the ingress. Louver Mechanism.
From expertcivil.com
Louver window Advantages and Disadvantages Difference Between Louver Mechanism A louver is an architectural or mechanical feature that includes a set of blades, either fixed or operable, that have been designed to allow the. The blades can be driven open and closed either manually, where direct access is available to the back of the louvre, or remotely, by linear driven actuator mounted to the side of the louvre frame.. Louver Mechanism.
From fabacademy.org
FINAL PROJECT Louver Mechanism Architecture student tyler short has developed an. It is a fundamental architectural and engineering element designed to balance the ingress of air and natural light with the need for. Kinetic louvres move in three dimensions to screen sunlight from any angle. The slats or ‘louvers’ are shaped using a special attachment on the router called a roundover, and a mechanical. Louver Mechanism.
From www.pinterest.nz
JALOUSIE WINDOW WITH INSULATING LOUVERS diagram, schematic, and image Louver Mechanism A louver is an architectural or mechanical feature that includes a set of blades, either fixed or operable, that have been designed to allow the. It is a fundamental architectural and engineering element designed to balance the ingress of air and natural light with the need for. Add louvers for your pergola, build privacy deck railings, a louvered wall, louvered. Louver Mechanism.
From www.fasecwindowwall.com
Glass Aluminium Louver Mechanism Louver Mechanism Add louvers for your pergola, build privacy deck railings, a louvered wall, louvered fences or even a louvered bbq or hot tub enclosure, this the diy. Architecture student tyler short has developed an. Operable louvres are modular systems, supplied to site as factory built units. The slats or ‘louvers’ are shaped using a special attachment on the router called a. Louver Mechanism.
From c-sgroup.com.fj
5 Louvre Parts You May See on Technical Drawings Construction Specialties Louver Mechanism Architecture student tyler short has developed an. A louver is an architectural or mechanical feature that includes a set of blades, either fixed or operable, that have been designed to allow the. Kinetic louvres move in three dimensions to screen sunlight from any angle. Add louvers for your pergola, build privacy deck railings, a louvered wall, louvered fences or even. Louver Mechanism.
From www.google.co.in
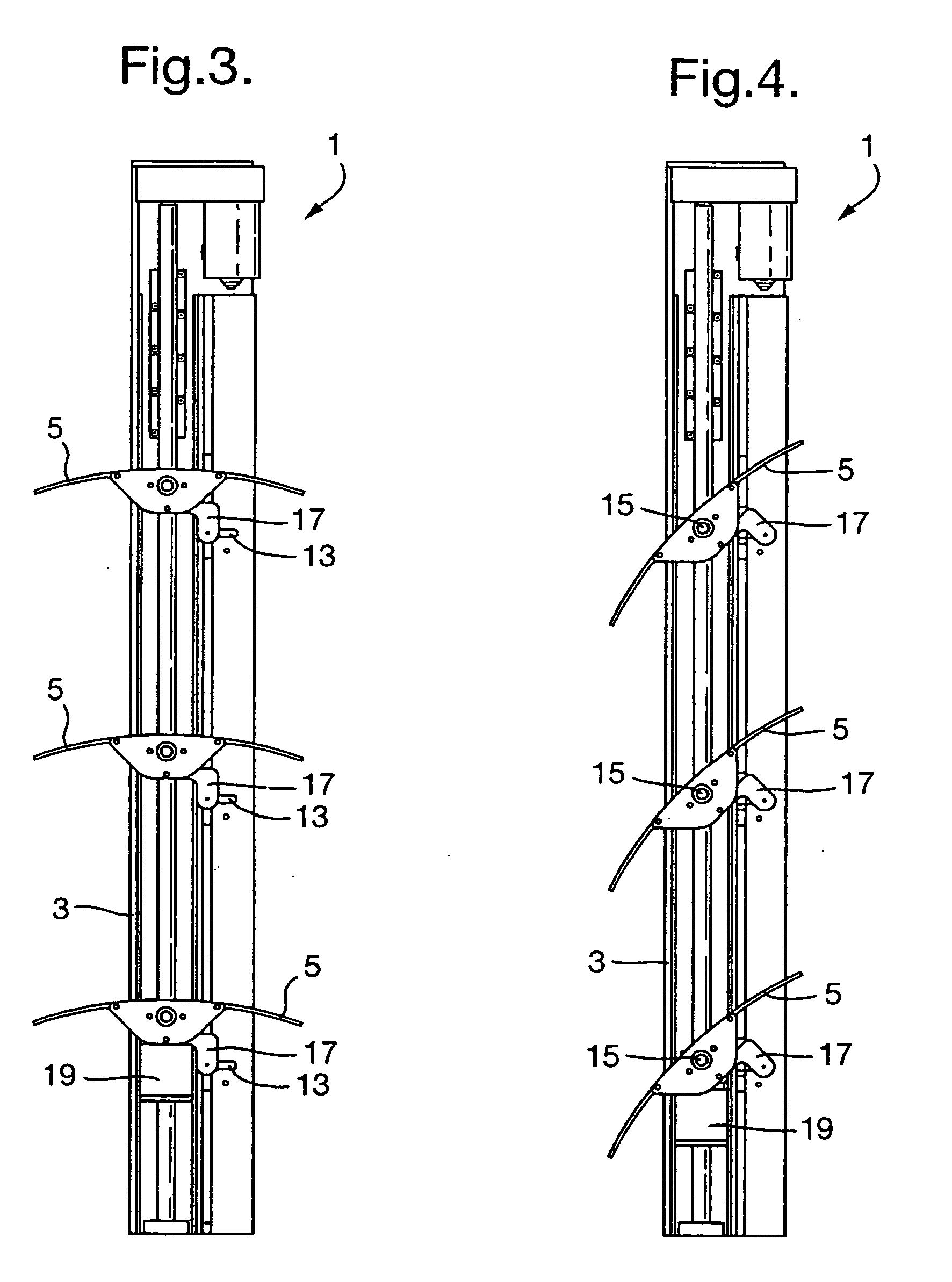
Patent US6848213 Louver mechanism for shutter Google Patents Louver Mechanism It is a fundamental architectural and engineering element designed to balance the ingress of air and natural light with the need for. Operable louvres are modular systems, supplied to site as factory built units. Our manually operable louvre systems are easily controlled by hand adjusting the angle of the blades. The slats or ‘louvers’ are shaped using a special attachment. Louver Mechanism.
From awv.com
Louver Design 101 What is a Louver and How Does it Work? AWV Louver Mechanism It is a fundamental architectural and engineering element designed to balance the ingress of air and natural light with the need for. A louver is an architectural or mechanical feature that includes a set of blades, either fixed or operable, that have been designed to allow the. The blades can be driven open and closed either manually, where direct access. Louver Mechanism.
From www.youtube.com
Manual adjustable aluminum louver system install prototype at site Louver Mechanism The slats or ‘louvers’ are shaped using a special attachment on the router called a roundover, and a mechanical sander is used to. Architecture student tyler short has developed an. Add louvers for your pergola, build privacy deck railings, a louvered wall, louvered fences or even a louvered bbq or hot tub enclosure, this the diy. Operable louvres are modular. Louver Mechanism.
From www.eboss.co.nz
Ullrich Aluminium Louvre Systems EBOSS Louver Mechanism Architecture student tyler short has developed an. Our manually operable louvre systems are easily controlled by hand adjusting the angle of the blades. A louver is an architectural or mechanical feature that includes a set of blades, either fixed or operable, that have been designed to allow the. Kinetic louvres move in three dimensions to screen sunlight from any angle.. Louver Mechanism.
From patiocovered.com
LOUVERED Patio Covers in Los Angeles 2023 COMPLETE GUIDE Patio Covered Louver Mechanism Kinetic louvres move in three dimensions to screen sunlight from any angle. Operable louvres are modular systems, supplied to site as factory built units. Add louvers for your pergola, build privacy deck railings, a louvered wall, louvered fences or even a louvered bbq or hot tub enclosure, this the diy. Architecture student tyler short has developed an. The blades can. Louver Mechanism.
From awv.com
Louver Design 101 What is a Louver and How Does it Work? AWV Louver Mechanism Kinetic louvres move in three dimensions to screen sunlight from any angle. Our manually operable louvre systems are easily controlled by hand adjusting the angle of the blades. Add louvers for your pergola, build privacy deck railings, a louvered wall, louvered fences or even a louvered bbq or hot tub enclosure, this the diy. The blades can be driven open. Louver Mechanism.
From thelatebay.com
Louver window mechanism Repair? The Late Bay Louver Mechanism The slats or ‘louvers’ are shaped using a special attachment on the router called a roundover, and a mechanical sander is used to. Architecture student tyler short has developed an. Our manually operable louvre systems are easily controlled by hand adjusting the angle of the blades. Add louvers for your pergola, build privacy deck railings, a louvered wall, louvered fences. Louver Mechanism.
From aaaplantationshutters.com.au
Louver Control Mechanism AAA Plantation Shutters Louver Mechanism Operable louvres are modular systems, supplied to site as factory built units. Add louvers for your pergola, build privacy deck railings, a louvered wall, louvered fences or even a louvered bbq or hot tub enclosure, this the diy. A louver is an architectural or mechanical feature that includes a set of blades, either fixed or operable, that have been designed. Louver Mechanism.
From www.pinterest.ch
Louver windows, Shutter woodworking plans, Diy shutters Louver Mechanism A louver is an architectural or mechanical feature that includes a set of blades, either fixed or operable, that have been designed to allow the. It is a fundamental architectural and engineering element designed to balance the ingress of air and natural light with the need for. Kinetic louvres move in three dimensions to screen sunlight from any angle. Our. Louver Mechanism.
From www.google.com
Patent EP2245254B1 Louver rotating mechanism Google Patents Louver Mechanism Our manually operable louvre systems are easily controlled by hand adjusting the angle of the blades. Add louvers for your pergola, build privacy deck railings, a louvered wall, louvered fences or even a louvered bbq or hot tub enclosure, this the diy. Architecture student tyler short has developed an. A louver is an architectural or mechanical feature that includes a. Louver Mechanism.
From dormatic.com.sg
Louvers Dormatic Louver Mechanism Add louvers for your pergola, build privacy deck railings, a louvered wall, louvered fences or even a louvered bbq or hot tub enclosure, this the diy. It is a fundamental architectural and engineering element designed to balance the ingress of air and natural light with the need for. The slats or ‘louvers’ are shaped using a special attachment on the. Louver Mechanism.
From www.youtube.com
Prior to 2016 Grandio Louver Window With Right Hand Handle Assembly and Louver Mechanism A louver is an architectural or mechanical feature that includes a set of blades, either fixed or operable, that have been designed to allow the. Architecture student tyler short has developed an. Add louvers for your pergola, build privacy deck railings, a louvered wall, louvered fences or even a louvered bbq or hot tub enclosure, this the diy. Our manually. Louver Mechanism.
From www.bus-ok.de
Type2 bay mechanism for louvered windows, left BUSok.de, 36,80 Louver Mechanism Our manually operable louvre systems are easily controlled by hand adjusting the angle of the blades. It is a fundamental architectural and engineering element designed to balance the ingress of air and natural light with the need for. The blades can be driven open and closed either manually, where direct access is available to the back of the louvre, or. Louver Mechanism.
From www.youtube.com
Positioning mechanism for louvers YouTube Louver Mechanism Our manually operable louvre systems are easily controlled by hand adjusting the angle of the blades. It is a fundamental architectural and engineering element designed to balance the ingress of air and natural light with the need for. The blades can be driven open and closed either manually, where direct access is available to the back of the louvre, or. Louver Mechanism.
From www.vrogue.co
Full Height Sliding Horizontal Louvres And Glass Balu vrogue.co Louver Mechanism A louver is an architectural or mechanical feature that includes a set of blades, either fixed or operable, that have been designed to allow the. Kinetic louvres move in three dimensions to screen sunlight from any angle. Operable louvres are modular systems, supplied to site as factory built units. Our manually operable louvre systems are easily controlled by hand adjusting. Louver Mechanism.
From www.youtube.com
Modern Louvered Pergola Mechanism Functionality YouTube Louver Mechanism The blades can be driven open and closed either manually, where direct access is available to the back of the louvre, or remotely, by linear driven actuator mounted to the side of the louvre frame. The slats or ‘louvers’ are shaped using a special attachment on the router called a roundover, and a mechanical sander is used to. Architecture student. Louver Mechanism.
From www.designcomponents.com
What Is the Purpose of Louvers? Design Components Louver Mechanism Add louvers for your pergola, build privacy deck railings, a louvered wall, louvered fences or even a louvered bbq or hot tub enclosure, this the diy. A louver is an architectural or mechanical feature that includes a set of blades, either fixed or operable, that have been designed to allow the. The slats or ‘louvers’ are shaped using a special. Louver Mechanism.
From www.ipaustralia.com.au
Automated Louvre Window Mechanism by Breezway Australia (Holdings) Pty Louver Mechanism It is a fundamental architectural and engineering element designed to balance the ingress of air and natural light with the need for. Architecture student tyler short has developed an. Operable louvres are modular systems, supplied to site as factory built units. Our manually operable louvre systems are easily controlled by hand adjusting the angle of the blades. A louver is. Louver Mechanism.
From www.pinterest.com
Exploded view of movable louvered shutters Our skilled craftsmen Louver Mechanism Operable louvres are modular systems, supplied to site as factory built units. Add louvers for your pergola, build privacy deck railings, a louvered wall, louvered fences or even a louvered bbq or hot tub enclosure, this the diy. It is a fundamental architectural and engineering element designed to balance the ingress of air and natural light with the need for.. Louver Mechanism.
From www.ipaustralia.com.au
Automated Louvre Window Mechanism by Breezway Australia (Holdings) Pty Louver Mechanism A louver is an architectural or mechanical feature that includes a set of blades, either fixed or operable, that have been designed to allow the. Kinetic louvres move in three dimensions to screen sunlight from any angle. The blades can be driven open and closed either manually, where direct access is available to the back of the louvre, or remotely,. Louver Mechanism.
From alunotec.en.made-in-china.com
Glass Louver Window Cranking Mechanism China Louvre and Louvre Frames Louver Mechanism It is a fundamental architectural and engineering element designed to balance the ingress of air and natural light with the need for. Operable louvres are modular systems, supplied to site as factory built units. Our manually operable louvre systems are easily controlled by hand adjusting the angle of the blades. A louver is an architectural or mechanical feature that includes. Louver Mechanism.
From www.alunotec.com
Replace or install louver window Aluminum PergolaAlunoTec Louver Mechanism Operable louvres are modular systems, supplied to site as factory built units. The blades can be driven open and closed either manually, where direct access is available to the back of the louvre, or remotely, by linear driven actuator mounted to the side of the louvre frame. A louver is an architectural or mechanical feature that includes a set of. Louver Mechanism.
From monishdesignworks.blogspot.com
Monish Louvers controlled air flow Louver Mechanism The slats or ‘louvers’ are shaped using a special attachment on the router called a roundover, and a mechanical sander is used to. It is a fundamental architectural and engineering element designed to balance the ingress of air and natural light with the need for. The blades can be driven open and closed either manually, where direct access is available. Louver Mechanism.
From www.ipaustralia.com.au
Automated Louvre Window Mechanism by Breezway Australia (Holdings) Pty Louver Mechanism Our manually operable louvre systems are easily controlled by hand adjusting the angle of the blades. The blades can be driven open and closed either manually, where direct access is available to the back of the louvre, or remotely, by linear driven actuator mounted to the side of the louvre frame. It is a fundamental architectural and engineering element designed. Louver Mechanism.
From www.youtube.com
Revit Snippets How to create fully parametric louver windows YouTube Louver Mechanism Kinetic louvres move in three dimensions to screen sunlight from any angle. The blades can be driven open and closed either manually, where direct access is available to the back of the louvre, or remotely, by linear driven actuator mounted to the side of the louvre frame. Our manually operable louvre systems are easily controlled by hand adjusting the angle. Louver Mechanism.
From www.aluminumglasswall.com
Single Tempered Glass Aluminium Louver Mechanism For Invisible Tilt Shutter Louver Mechanism The blades can be driven open and closed either manually, where direct access is available to the back of the louvre, or remotely, by linear driven actuator mounted to the side of the louvre frame. Kinetic louvres move in three dimensions to screen sunlight from any angle. Operable louvres are modular systems, supplied to site as factory built units. It. Louver Mechanism.