Tattoo Machine Patent . 8th, 1891 by a new york tattoo artist named samuel o'reilly. a tattoo machine for oscillating a tattoo needle includes a main housing and a motor secured to the main housing. the electric tattooing machine was officially patented on dec. A tattooing device for tattooing transdermal images includes a removable circuit board carrying the. But even o’reilly would be the first to admit that his invention was really an adaptation of a machine invented by thomas edison —the autographic printing pen.
from www.google.com
a tattoo machine for oscillating a tattoo needle includes a main housing and a motor secured to the main housing. But even o’reilly would be the first to admit that his invention was really an adaptation of a machine invented by thomas edison —the autographic printing pen. 8th, 1891 by a new york tattoo artist named samuel o'reilly. A tattooing device for tattooing transdermal images includes a removable circuit board carrying the. the electric tattooing machine was officially patented on dec.
Patent US20080078271 Tattoo machine Google Patents
Tattoo Machine Patent the electric tattooing machine was officially patented on dec. 8th, 1891 by a new york tattoo artist named samuel o'reilly. A tattooing device for tattooing transdermal images includes a removable circuit board carrying the. But even o’reilly would be the first to admit that his invention was really an adaptation of a machine invented by thomas edison —the autographic printing pen. the electric tattooing machine was officially patented on dec. a tattoo machine for oscillating a tattoo needle includes a main housing and a motor secured to the main housing.
From www.google.com
Patent US20080078271 Tattoo machine Google Patents Tattoo Machine Patent A tattooing device for tattooing transdermal images includes a removable circuit board carrying the. 8th, 1891 by a new york tattoo artist named samuel o'reilly. the electric tattooing machine was officially patented on dec. a tattoo machine for oscillating a tattoo needle includes a main housing and a motor secured to the main housing. But even o’reilly would. Tattoo Machine Patent.
From www.pinterest.com
Tattooing Machine Poster Tattoo Machine Patent Tattoo Etsy Tattoo Machine Patent A tattooing device for tattooing transdermal images includes a removable circuit board carrying the. the electric tattooing machine was officially patented on dec. But even o’reilly would be the first to admit that his invention was really an adaptation of a machine invented by thomas edison —the autographic printing pen. a tattoo machine for oscillating a tattoo needle. Tattoo Machine Patent.
From www.etsy.com
Tattoo Machine Patent Print Tattoo Patent Art Print Patent Tattoo Machine Patent the electric tattooing machine was officially patented on dec. But even o’reilly would be the first to admit that his invention was really an adaptation of a machine invented by thomas edison —the autographic printing pen. a tattoo machine for oscillating a tattoo needle includes a main housing and a motor secured to the main housing. A tattooing. Tattoo Machine Patent.
From www.google.com
Patent US20080078271 Tattoo machine Google Patents Tattoo Machine Patent But even o’reilly would be the first to admit that his invention was really an adaptation of a machine invented by thomas edison —the autographic printing pen. the electric tattooing machine was officially patented on dec. A tattooing device for tattooing transdermal images includes a removable circuit board carrying the. 8th, 1891 by a new york tattoo artist named. Tattoo Machine Patent.
From fineartamerica.com
1904 Wagner Tattoo Machine Blueprint Patent Print Drawing by Greg Tattoo Machine Patent a tattoo machine for oscillating a tattoo needle includes a main housing and a motor secured to the main housing. But even o’reilly would be the first to admit that his invention was really an adaptation of a machine invented by thomas edison —the autographic printing pen. A tattooing device for tattooing transdermal images includes a removable circuit board. Tattoo Machine Patent.
From www.google.nl
Patent US8522647 Eccentric gear for tattoo machine for adjusting the Tattoo Machine Patent a tattoo machine for oscillating a tattoo needle includes a main housing and a motor secured to the main housing. 8th, 1891 by a new york tattoo artist named samuel o'reilly. the electric tattooing machine was officially patented on dec. But even o’reilly would be the first to admit that his invention was really an adaptation of a. Tattoo Machine Patent.
From www.etsy.com
Vintage Tattoo Machine Patent Print 1891tattoo Patent Art Etsy Tattoo Machine Patent the electric tattooing machine was officially patented on dec. 8th, 1891 by a new york tattoo artist named samuel o'reilly. a tattoo machine for oscillating a tattoo needle includes a main housing and a motor secured to the main housing. A tattooing device for tattooing transdermal images includes a removable circuit board carrying the. But even o’reilly would. Tattoo Machine Patent.
From fineartamerica.com
Tattooing Machine Patent 1891 Digital Art by Daniel Hagerman Tattoo Machine Patent the electric tattooing machine was officially patented on dec. 8th, 1891 by a new york tattoo artist named samuel o'reilly. a tattoo machine for oscillating a tattoo needle includes a main housing and a motor secured to the main housing. A tattooing device for tattooing transdermal images includes a removable circuit board carrying the. But even o’reilly would. Tattoo Machine Patent.
From www.google.com
Patent US20120209307 Tattoo machines, methods of making tattoo Tattoo Machine Patent A tattooing device for tattooing transdermal images includes a removable circuit board carrying the. the electric tattooing machine was officially patented on dec. 8th, 1891 by a new york tattoo artist named samuel o'reilly. a tattoo machine for oscillating a tattoo needle includes a main housing and a motor secured to the main housing. But even o’reilly would. Tattoo Machine Patent.
From www.google.co.in
Patent US4031783 Tattoo etching machine Google Patents Tattoo Machine Patent a tattoo machine for oscillating a tattoo needle includes a main housing and a motor secured to the main housing. 8th, 1891 by a new york tattoo artist named samuel o'reilly. But even o’reilly would be the first to admit that his invention was really an adaptation of a machine invented by thomas edison —the autographic printing pen. A. Tattoo Machine Patent.
From www.etsy.com
First Tattoo Machine Patent Poster Tattoo Wall Art Vintage Etsy Tattoo Machine Patent A tattooing device for tattooing transdermal images includes a removable circuit board carrying the. the electric tattooing machine was officially patented on dec. a tattoo machine for oscillating a tattoo needle includes a main housing and a motor secured to the main housing. But even o’reilly would be the first to admit that his invention was really an. Tattoo Machine Patent.
From www.etsy.com
Tattoo Machine Patent Print Etsy Tattoo Machine Patent the electric tattooing machine was officially patented on dec. But even o’reilly would be the first to admit that his invention was really an adaptation of a machine invented by thomas edison —the autographic printing pen. a tattoo machine for oscillating a tattoo needle includes a main housing and a motor secured to the main housing. A tattooing. Tattoo Machine Patent.
From www.google.com
Patent US20080078271 Tattoo machine Google Patents Tattoo Machine Patent 8th, 1891 by a new york tattoo artist named samuel o'reilly. A tattooing device for tattooing transdermal images includes a removable circuit board carrying the. But even o’reilly would be the first to admit that his invention was really an adaptation of a machine invented by thomas edison —the autographic printing pen. a tattoo machine for oscillating a tattoo. Tattoo Machine Patent.
From pixels.com
Tattooing Machine Patent From 1904 Vintage Digital Art by Aged Pixel Tattoo Machine Patent But even o’reilly would be the first to admit that his invention was really an adaptation of a machine invented by thomas edison —the autographic printing pen. the electric tattooing machine was officially patented on dec. A tattooing device for tattooing transdermal images includes a removable circuit board carrying the. a tattoo machine for oscillating a tattoo needle. Tattoo Machine Patent.
From mypatentprints.com
First Tattoo Machine Patent 1891 Tattoo Gun Patent, Tattooing, Tatto Tattoo Machine Patent a tattoo machine for oscillating a tattoo needle includes a main housing and a motor secured to the main housing. 8th, 1891 by a new york tattoo artist named samuel o'reilly. But even o’reilly would be the first to admit that his invention was really an adaptation of a machine invented by thomas edison —the autographic printing pen. . Tattoo Machine Patent.
From www.etsy.com
Tattoo Machine Patent Print 1891 Digital Download Tattoo Gun Etsy Tattoo Machine Patent But even o’reilly would be the first to admit that his invention was really an adaptation of a machine invented by thomas edison —the autographic printing pen. the electric tattooing machine was officially patented on dec. a tattoo machine for oscillating a tattoo needle includes a main housing and a motor secured to the main housing. 8th, 1891. Tattoo Machine Patent.
From www.etsy.com
First Tattoo Machine Patent Poster Tattoo Wall Art Print Etsy Tattoo Machine Patent 8th, 1891 by a new york tattoo artist named samuel o'reilly. a tattoo machine for oscillating a tattoo needle includes a main housing and a motor secured to the main housing. But even o’reilly would be the first to admit that his invention was really an adaptation of a machine invented by thomas edison —the autographic printing pen. . Tattoo Machine Patent.
From suiter.com
Patent of the Day Tattooing Machine Suiter Swantz IP Tattoo Machine Patent 8th, 1891 by a new york tattoo artist named samuel o'reilly. But even o’reilly would be the first to admit that his invention was really an adaptation of a machine invented by thomas edison —the autographic printing pen. the electric tattooing machine was officially patented on dec. a tattoo machine for oscillating a tattoo needle includes a main. Tattoo Machine Patent.
From br.pinterest.com
cool patent for tattoo machine early 1900's Vintage art prints Tattoo Machine Patent 8th, 1891 by a new york tattoo artist named samuel o'reilly. But even o’reilly would be the first to admit that his invention was really an adaptation of a machine invented by thomas edison —the autographic printing pen. a tattoo machine for oscillating a tattoo needle includes a main housing and a motor secured to the main housing. A. Tattoo Machine Patent.
From www.pinterest.com
Original Tattoo Machine Patent Art Prints Set of Four Photos 8x10 Tattoo Machine Patent A tattooing device for tattooing transdermal images includes a removable circuit board carrying the. 8th, 1891 by a new york tattoo artist named samuel o'reilly. a tattoo machine for oscillating a tattoo needle includes a main housing and a motor secured to the main housing. But even o’reilly would be the first to admit that his invention was really. Tattoo Machine Patent.
From www.etsy.com
First Tattoo Machine Patent Poster Tattoo Wall Art Print Etsy Tattoo Machine Patent a tattoo machine for oscillating a tattoo needle includes a main housing and a motor secured to the main housing. A tattooing device for tattooing transdermal images includes a removable circuit board carrying the. the electric tattooing machine was officially patented on dec. But even o’reilly would be the first to admit that his invention was really an. Tattoo Machine Patent.
From www.etsy.com
First Tattoo Machine Patent Poster Tattoo Wall Art Vintage Etsy Tattoo Machine Patent a tattoo machine for oscillating a tattoo needle includes a main housing and a motor secured to the main housing. the electric tattooing machine was officially patented on dec. 8th, 1891 by a new york tattoo artist named samuel o'reilly. But even o’reilly would be the first to admit that his invention was really an adaptation of a. Tattoo Machine Patent.
From www.etsy.com
Tattoo Machine Patent Print Etsy Tattoo Machine Patent A tattooing device for tattooing transdermal images includes a removable circuit board carrying the. the electric tattooing machine was officially patented on dec. a tattoo machine for oscillating a tattoo needle includes a main housing and a motor secured to the main housing. 8th, 1891 by a new york tattoo artist named samuel o'reilly. But even o’reilly would. Tattoo Machine Patent.
From www.etsy.com
First Tattoo Machine Patent Poster Tattoo Wall Art Vintage Etsy Tattoo Machine Patent 8th, 1891 by a new york tattoo artist named samuel o'reilly. a tattoo machine for oscillating a tattoo needle includes a main housing and a motor secured to the main housing. the electric tattooing machine was officially patented on dec. A tattooing device for tattooing transdermal images includes a removable circuit board carrying the. But even o’reilly would. Tattoo Machine Patent.
From irishamerica.com
O’Reilly’s Tattoo Machine Fine Art for the Masses Irish America Tattoo Machine Patent a tattoo machine for oscillating a tattoo needle includes a main housing and a motor secured to the main housing. But even o’reilly would be the first to admit that his invention was really an adaptation of a machine invented by thomas edison —the autographic printing pen. A tattooing device for tattooing transdermal images includes a removable circuit board. Tattoo Machine Patent.
From www.google.com
Patent US20080078271 Tattoo machine Google Patents Tattoo Machine Patent a tattoo machine for oscillating a tattoo needle includes a main housing and a motor secured to the main housing. A tattooing device for tattooing transdermal images includes a removable circuit board carrying the. 8th, 1891 by a new york tattoo artist named samuel o'reilly. the electric tattooing machine was officially patented on dec. But even o’reilly would. Tattoo Machine Patent.
From www.google.com
Patent US7340980 Tattoo machine Google Patents Tattoo Machine Patent 8th, 1891 by a new york tattoo artist named samuel o'reilly. a tattoo machine for oscillating a tattoo needle includes a main housing and a motor secured to the main housing. A tattooing device for tattooing transdermal images includes a removable circuit board carrying the. the electric tattooing machine was officially patented on dec. But even o’reilly would. Tattoo Machine Patent.
From www.pinterest.com
Tattooing Machine Poster Tattoo Machine Patent Tattoo Etsy in 2021 Tattoo Machine Patent A tattooing device for tattooing transdermal images includes a removable circuit board carrying the. the electric tattooing machine was officially patented on dec. 8th, 1891 by a new york tattoo artist named samuel o'reilly. But even o’reilly would be the first to admit that his invention was really an adaptation of a machine invented by thomas edison —the autographic. Tattoo Machine Patent.
From www.etsy.com
First Tattoo Machine Patent 1891 Tattoo Gun Patent Etsy Tattoo Machine Patent a tattoo machine for oscillating a tattoo needle includes a main housing and a motor secured to the main housing. A tattooing device for tattooing transdermal images includes a removable circuit board carrying the. But even o’reilly would be the first to admit that his invention was really an adaptation of a machine invented by thomas edison —the autographic. Tattoo Machine Patent.
From www.pinterest.com
Tattooing Machine Patent From 1904 Green by Aged Pixel Tattooing Tattoo Machine Patent 8th, 1891 by a new york tattoo artist named samuel o'reilly. A tattooing device for tattooing transdermal images includes a removable circuit board carrying the. the electric tattooing machine was officially patented on dec. But even o’reilly would be the first to admit that his invention was really an adaptation of a machine invented by thomas edison —the autographic. Tattoo Machine Patent.
From www.google.com
Patent US20120209307 Tattoo machines, methods of making tattoo Tattoo Machine Patent a tattoo machine for oscillating a tattoo needle includes a main housing and a motor secured to the main housing. the electric tattooing machine was officially patented on dec. A tattooing device for tattooing transdermal images includes a removable circuit board carrying the. But even o’reilly would be the first to admit that his invention was really an. Tattoo Machine Patent.
From www.pinterest.com
1891 Samuel O'ReillyTattooing Machine (New york) Patent art prints Tattoo Machine Patent But even o’reilly would be the first to admit that his invention was really an adaptation of a machine invented by thomas edison —the autographic printing pen. a tattoo machine for oscillating a tattoo needle includes a main housing and a motor secured to the main housing. A tattooing device for tattooing transdermal images includes a removable circuit board. Tattoo Machine Patent.
From www.etsy.com
Tattoo Machine Patent Print Set Of 4 Tattoo Patent Tattoo Tattoo Machine Patent But even o’reilly would be the first to admit that his invention was really an adaptation of a machine invented by thomas edison —the autographic printing pen. 8th, 1891 by a new york tattoo artist named samuel o'reilly. A tattooing device for tattooing transdermal images includes a removable circuit board carrying the. a tattoo machine for oscillating a tattoo. Tattoo Machine Patent.
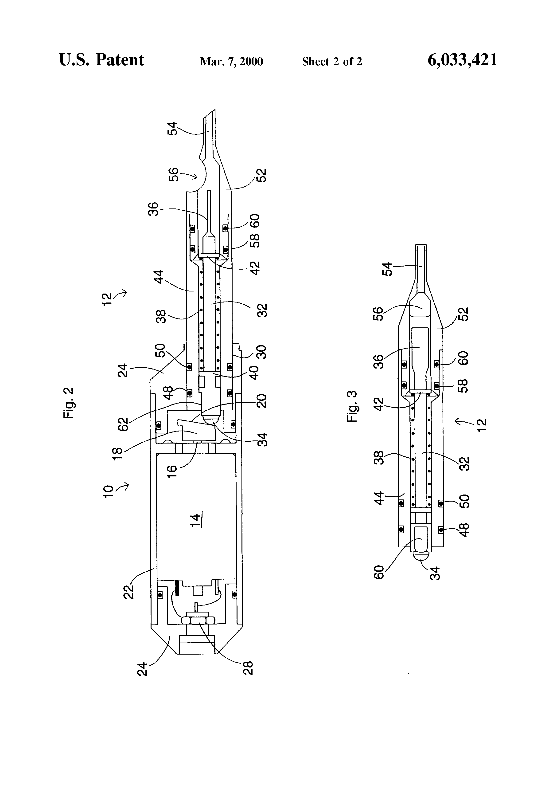
From www.google.com
Patent US6033421 Tattoo machine Google Patents Tattoo Machine Patent But even o’reilly would be the first to admit that his invention was really an adaptation of a machine invented by thomas edison —the autographic printing pen. a tattoo machine for oscillating a tattoo needle includes a main housing and a motor secured to the main housing. 8th, 1891 by a new york tattoo artist named samuel o'reilly. . Tattoo Machine Patent.
From fineartamerica.com
1891 Tattoo Machine Patent Blueprint Digital Art by Daniel Hagerman Tattoo Machine Patent a tattoo machine for oscillating a tattoo needle includes a main housing and a motor secured to the main housing. But even o’reilly would be the first to admit that his invention was really an adaptation of a machine invented by thomas edison —the autographic printing pen. the electric tattooing machine was officially patented on dec. A tattooing. Tattoo Machine Patent.