Brute Lawn Mower Parts Canada . If you have an issue with a product or part of a product please contact us directly at service@litehawk.ca. Fix it fast with oem parts list and diagrams. Whether you're a new homeowner, commercial. We have parts to repair your lawn mower, chainsaw, generator, snow blower, trimmer, and other outdoor power equipment. Brute power equipment is supported by over 30,000 briggs & stratton authorized dealers worldwide who provide quality service.
from eleccircs.com
We have parts to repair your lawn mower, chainsaw, generator, snow blower, trimmer, and other outdoor power equipment. If you have an issue with a product or part of a product please contact us directly at service@litehawk.ca. Fix it fast with oem parts list and diagrams. Brute power equipment is supported by over 30,000 briggs & stratton authorized dealers worldwide who provide quality service. Whether you're a new homeowner, commercial.
How to Identify and Replace Brute Lawn Mower Parts Complete Diagram
Brute Lawn Mower Parts Canada Fix it fast with oem parts list and diagrams. Fix it fast with oem parts list and diagrams. We have parts to repair your lawn mower, chainsaw, generator, snow blower, trimmer, and other outdoor power equipment. Brute power equipment is supported by over 30,000 briggs & stratton authorized dealers worldwide who provide quality service. If you have an issue with a product or part of a product please contact us directly at service@litehawk.ca. Whether you're a new homeowner, commercial.
From www.partstree.com
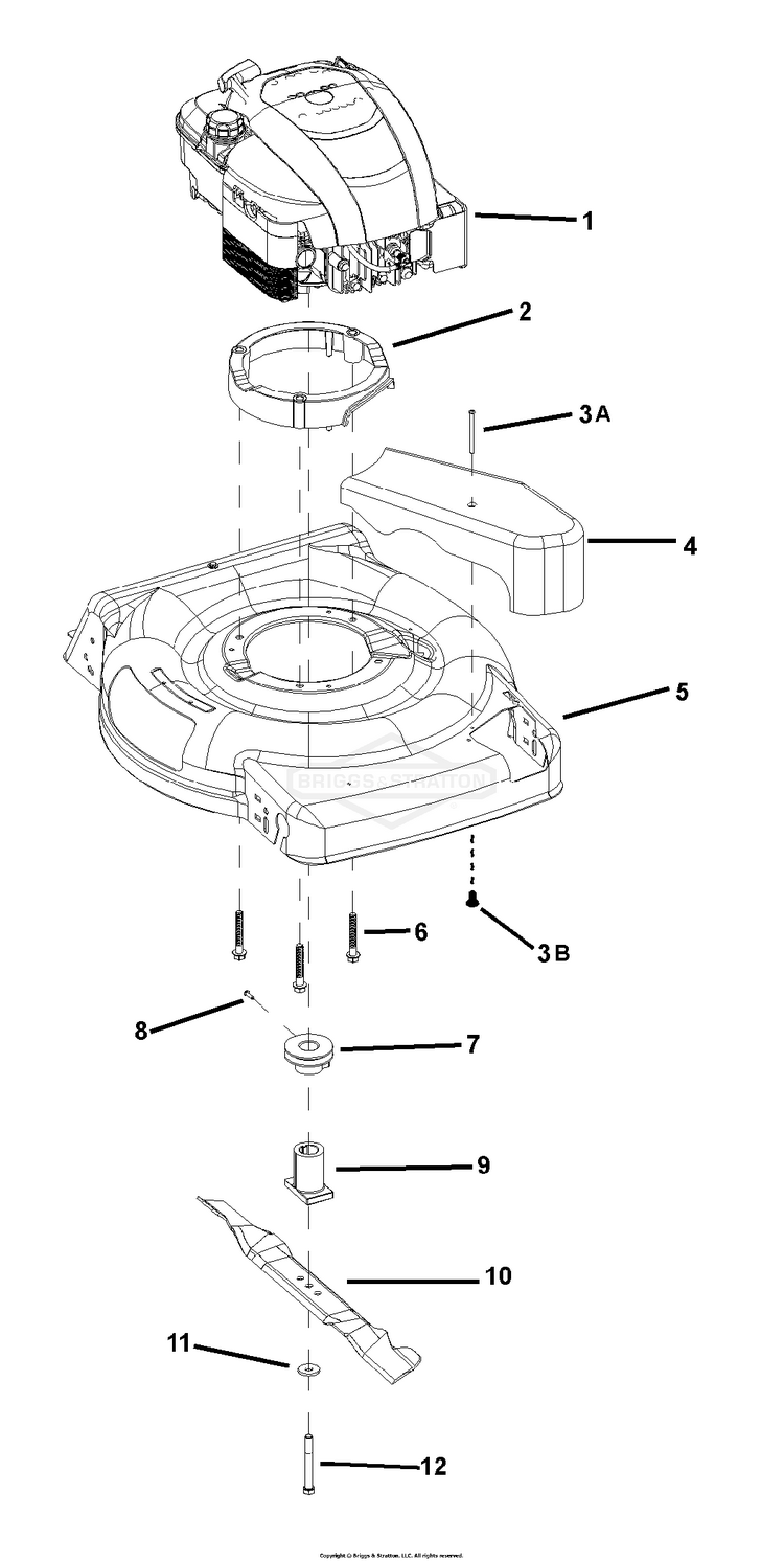
Brute BTXPV22725 (7800886) Brute 22" WalkBehind Mower (2012) Deck Brute Lawn Mower Parts Canada We have parts to repair your lawn mower, chainsaw, generator, snow blower, trimmer, and other outdoor power equipment. Brute power equipment is supported by over 30,000 briggs & stratton authorized dealers worldwide who provide quality service. Whether you're a new homeowner, commercial. Fix it fast with oem parts list and diagrams. If you have an issue with a product or. Brute Lawn Mower Parts Canada.
From manualdbfrances.z21.web.core.windows.net
Brute Lawn Mower Parts Diagram Brute Lawn Mower Parts Canada Brute power equipment is supported by over 30,000 briggs & stratton authorized dealers worldwide who provide quality service. If you have an issue with a product or part of a product please contact us directly at service@litehawk.ca. We have parts to repair your lawn mower, chainsaw, generator, snow blower, trimmer, and other outdoor power equipment. Whether you're a new homeowner,. Brute Lawn Mower Parts Canada.
From www.partstree.com
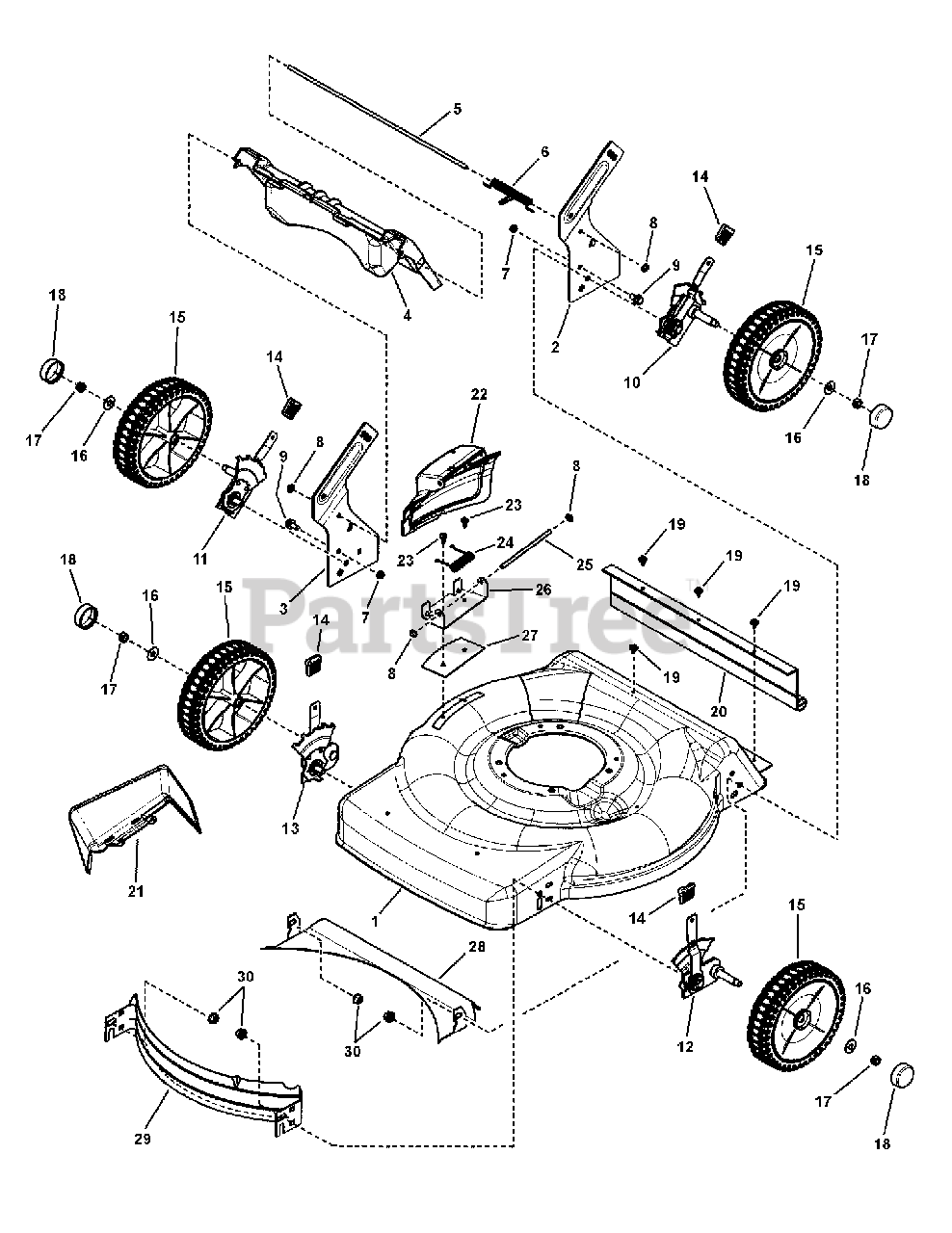
Brute BTPV21675E (7800268) Brute 21" WalkBehind Mower (2008) Handles Brute Lawn Mower Parts Canada Fix it fast with oem parts list and diagrams. If you have an issue with a product or part of a product please contact us directly at service@litehawk.ca. Whether you're a new homeowner, commercial. Brute power equipment is supported by over 30,000 briggs & stratton authorized dealers worldwide who provide quality service. We have parts to repair your lawn mower,. Brute Lawn Mower Parts Canada.
From www.partstree.com
Brute BTPV 22675 HW FC (7800806) Brute 22" WalkBehind Mower, Canada Brute Lawn Mower Parts Canada We have parts to repair your lawn mower, chainsaw, generator, snow blower, trimmer, and other outdoor power equipment. Whether you're a new homeowner, commercial. If you have an issue with a product or part of a product please contact us directly at service@litehawk.ca. Brute power equipment is supported by over 30,000 briggs & stratton authorized dealers worldwide who provide quality. Brute Lawn Mower Parts Canada.
From www.jackssmallengines.com
Murray 7800510 BTPV22675E, 22" 6.75GT Brute SelfPropelled Mower Brute Lawn Mower Parts Canada Brute power equipment is supported by over 30,000 briggs & stratton authorized dealers worldwide who provide quality service. If you have an issue with a product or part of a product please contact us directly at service@litehawk.ca. Whether you're a new homeowner, commercial. Fix it fast with oem parts list and diagrams. We have parts to repair your lawn mower,. Brute Lawn Mower Parts Canada.
From www.partswarehouse.com
7800267 Murray BTP2265HW, 22" 6.5GT Brute High Wheel SelfPropelled Brute Lawn Mower Parts Canada Brute power equipment is supported by over 30,000 briggs & stratton authorized dealers worldwide who provide quality service. If you have an issue with a product or part of a product please contact us directly at service@litehawk.ca. Whether you're a new homeowner, commercial. Fix it fast with oem parts list and diagrams. We have parts to repair your lawn mower,. Brute Lawn Mower Parts Canada.
From stewart-switch.com
Brute Lawn Mower Parts Diagram Brute Lawn Mower Parts Canada Brute power equipment is supported by over 30,000 briggs & stratton authorized dealers worldwide who provide quality service. If you have an issue with a product or part of a product please contact us directly at service@litehawk.ca. Whether you're a new homeowner, commercial. Fix it fast with oem parts list and diagrams. We have parts to repair your lawn mower,. Brute Lawn Mower Parts Canada.
From stewart-switch.com
Brute Lawn Mower Parts Diagram Brute Lawn Mower Parts Canada If you have an issue with a product or part of a product please contact us directly at service@litehawk.ca. Fix it fast with oem parts list and diagrams. Brute power equipment is supported by over 30,000 briggs & stratton authorized dealers worldwide who provide quality service. We have parts to repair your lawn mower, chainsaw, generator, snow blower, trimmer, and. Brute Lawn Mower Parts Canada.
From stewart-switch.com
Brute Lawn Mower Parts Diagram Brute Lawn Mower Parts Canada We have parts to repair your lawn mower, chainsaw, generator, snow blower, trimmer, and other outdoor power equipment. Brute power equipment is supported by over 30,000 briggs & stratton authorized dealers worldwide who provide quality service. Whether you're a new homeowner, commercial. Fix it fast with oem parts list and diagrams. If you have an issue with a product or. Brute Lawn Mower Parts Canada.
From www.partstree.com
Brute BTXPV22700E (7800662) Brute 22" WalkBehind Mower (2010) Deck Brute Lawn Mower Parts Canada Brute power equipment is supported by over 30,000 briggs & stratton authorized dealers worldwide who provide quality service. Whether you're a new homeowner, commercial. Fix it fast with oem parts list and diagrams. If you have an issue with a product or part of a product please contact us directly at service@litehawk.ca. We have parts to repair your lawn mower,. Brute Lawn Mower Parts Canada.
From eleccircs.com
How to Identify and Replace Brute Lawn Mower Parts Complete Diagram Brute Lawn Mower Parts Canada Whether you're a new homeowner, commercial. Brute power equipment is supported by over 30,000 briggs & stratton authorized dealers worldwide who provide quality service. Fix it fast with oem parts list and diagrams. If you have an issue with a product or part of a product please contact us directly at service@litehawk.ca. We have parts to repair your lawn mower,. Brute Lawn Mower Parts Canada.
From www.mtdparts.com
Brute Riding Lawn Mower Model 13AL795T057 MTD Parts Brute Lawn Mower Parts Canada If you have an issue with a product or part of a product please contact us directly at service@litehawk.ca. Brute power equipment is supported by over 30,000 briggs & stratton authorized dealers worldwide who provide quality service. We have parts to repair your lawn mower, chainsaw, generator, snow blower, trimmer, and other outdoor power equipment. Fix it fast with oem. Brute Lawn Mower Parts Canada.
From lawnmower.org
Brute Lawn Mower Parts lawnmower Brute Lawn Mower Parts Canada We have parts to repair your lawn mower, chainsaw, generator, snow blower, trimmer, and other outdoor power equipment. Brute power equipment is supported by over 30,000 briggs & stratton authorized dealers worldwide who provide quality service. Fix it fast with oem parts list and diagrams. Whether you're a new homeowner, commercial. If you have an issue with a product or. Brute Lawn Mower Parts Canada.
From www.partstree.com
Brute BTP 22675 HW FC (7800471) Brute 22" WalkBehind Mower, 6.75hp Brute Lawn Mower Parts Canada Whether you're a new homeowner, commercial. Brute power equipment is supported by over 30,000 briggs & stratton authorized dealers worldwide who provide quality service. If you have an issue with a product or part of a product please contact us directly at service@litehawk.ca. Fix it fast with oem parts list and diagrams. We have parts to repair your lawn mower,. Brute Lawn Mower Parts Canada.
From www.partstree.com
Brute 11AA0A9778 Brute WalkBehind Mower (2015) General Assembly Brute Lawn Mower Parts Canada We have parts to repair your lawn mower, chainsaw, generator, snow blower, trimmer, and other outdoor power equipment. Fix it fast with oem parts list and diagrams. Whether you're a new homeowner, commercial. Brute power equipment is supported by over 30,000 briggs & stratton authorized dealers worldwide who provide quality service. If you have an issue with a product or. Brute Lawn Mower Parts Canada.
From www.texaslawnmowerparts.com
Rotary 14152 Lawn Mower Blade for Snapper, Murray, Brute, 7100242BZYP Brute Lawn Mower Parts Canada Fix it fast with oem parts list and diagrams. Brute power equipment is supported by over 30,000 briggs & stratton authorized dealers worldwide who provide quality service. If you have an issue with a product or part of a product please contact us directly at service@litehawk.ca. We have parts to repair your lawn mower, chainsaw, generator, snow blower, trimmer, and. Brute Lawn Mower Parts Canada.
From lawnmower.org
Brute Lawn Mower Parts lawnmower Brute Lawn Mower Parts Canada Fix it fast with oem parts list and diagrams. Whether you're a new homeowner, commercial. Brute power equipment is supported by over 30,000 briggs & stratton authorized dealers worldwide who provide quality service. We have parts to repair your lawn mower, chainsaw, generator, snow blower, trimmer, and other outdoor power equipment. If you have an issue with a product or. Brute Lawn Mower Parts Canada.
From lawnmower.org
Brute Lawn Mower Parts lawnmower Brute Lawn Mower Parts Canada Whether you're a new homeowner, commercial. Brute power equipment is supported by over 30,000 briggs & stratton authorized dealers worldwide who provide quality service. If you have an issue with a product or part of a product please contact us directly at service@litehawk.ca. We have parts to repair your lawn mower, chainsaw, generator, snow blower, trimmer, and other outdoor power. Brute Lawn Mower Parts Canada.
From www.walmart.com
Original 7103500YP Brute Lawn Mower Drive Wheel Compatible With 7103500 Brute Lawn Mower Parts Canada If you have an issue with a product or part of a product please contact us directly at service@litehawk.ca. Brute power equipment is supported by over 30,000 briggs & stratton authorized dealers worldwide who provide quality service. Fix it fast with oem parts list and diagrams. We have parts to repair your lawn mower, chainsaw, generator, snow blower, trimmer, and. Brute Lawn Mower Parts Canada.
From lawnmower.org
Brute Lawn Mower Parts lawnmower Brute Lawn Mower Parts Canada Brute power equipment is supported by over 30,000 briggs & stratton authorized dealers worldwide who provide quality service. If you have an issue with a product or part of a product please contact us directly at service@litehawk.ca. Whether you're a new homeowner, commercial. We have parts to repair your lawn mower, chainsaw, generator, snow blower, trimmer, and other outdoor power. Brute Lawn Mower Parts Canada.
From www.partstree.com
Brute BTPV 21675 E (7800268) Brute 21" WalkBehind Mower (2008) Deck Brute Lawn Mower Parts Canada We have parts to repair your lawn mower, chainsaw, generator, snow blower, trimmer, and other outdoor power equipment. Brute power equipment is supported by over 30,000 briggs & stratton authorized dealers worldwide who provide quality service. If you have an issue with a product or part of a product please contact us directly at service@litehawk.ca. Fix it fast with oem. Brute Lawn Mower Parts Canada.
From www.partstree.com
Brute BT22675 FC (7800684) Brute 22" WalkBehind Mower, Canada (2011 Brute Lawn Mower Parts Canada If you have an issue with a product or part of a product please contact us directly at service@litehawk.ca. Whether you're a new homeowner, commercial. We have parts to repair your lawn mower, chainsaw, generator, snow blower, trimmer, and other outdoor power equipment. Brute power equipment is supported by over 30,000 briggs & stratton authorized dealers worldwide who provide quality. Brute Lawn Mower Parts Canada.
From enginefixenrique.z13.web.core.windows.net
Brute Lawn Mower Parts Manual Brute Lawn Mower Parts Canada If you have an issue with a product or part of a product please contact us directly at service@litehawk.ca. Fix it fast with oem parts list and diagrams. We have parts to repair your lawn mower, chainsaw, generator, snow blower, trimmer, and other outdoor power equipment. Brute power equipment is supported by over 30,000 briggs & stratton authorized dealers worldwide. Brute Lawn Mower Parts Canada.
From www.partstree.com
Brute BTPV 22675 HW FC (7800806) Brute 22" WalkBehind Mower, Canada Brute Lawn Mower Parts Canada Whether you're a new homeowner, commercial. If you have an issue with a product or part of a product please contact us directly at service@litehawk.ca. We have parts to repair your lawn mower, chainsaw, generator, snow blower, trimmer, and other outdoor power equipment. Brute power equipment is supported by over 30,000 briggs & stratton authorized dealers worldwide who provide quality. Brute Lawn Mower Parts Canada.
From www.partstree.com
Brute BT22675 FC (7800684) Brute 22" WalkBehind Mower, Canada (2011 Brute Lawn Mower Parts Canada Whether you're a new homeowner, commercial. Brute power equipment is supported by over 30,000 briggs & stratton authorized dealers worldwide who provide quality service. Fix it fast with oem parts list and diagrams. If you have an issue with a product or part of a product please contact us directly at service@litehawk.ca. We have parts to repair your lawn mower,. Brute Lawn Mower Parts Canada.
From www.partswarehouse.com
7800886 Murray BTXPV22725, 22" 7.25GT Brute Steel Deck SelfPropelled Brute Lawn Mower Parts Canada Whether you're a new homeowner, commercial. Fix it fast with oem parts list and diagrams. We have parts to repair your lawn mower, chainsaw, generator, snow blower, trimmer, and other outdoor power equipment. If you have an issue with a product or part of a product please contact us directly at service@litehawk.ca. Brute power equipment is supported by over 30,000. Brute Lawn Mower Parts Canada.
From www.amazon.com
2 Pack 63405040 Lawn Mower Wheel Replacement for Craftsman Brute Lawn Mower Parts Canada If you have an issue with a product or part of a product please contact us directly at service@litehawk.ca. Fix it fast with oem parts list and diagrams. We have parts to repair your lawn mower, chainsaw, generator, snow blower, trimmer, and other outdoor power equipment. Whether you're a new homeowner, commercial. Brute power equipment is supported by over 30,000. Brute Lawn Mower Parts Canada.
From gallerysusanna.blogspot.com
Brute Lawn Mower Parts Manual Illustrated Parts List Brute 22 7 25tp Brute Lawn Mower Parts Canada Whether you're a new homeowner, commercial. If you have an issue with a product or part of a product please contact us directly at service@litehawk.ca. We have parts to repair your lawn mower, chainsaw, generator, snow blower, trimmer, and other outdoor power equipment. Fix it fast with oem parts list and diagrams. Brute power equipment is supported by over 30,000. Brute Lawn Mower Parts Canada.
From www.partstree.com
Brute BTPV 22675 HW FC (7800806) Brute 22" WalkBehind Mower, Canada Brute Lawn Mower Parts Canada Fix it fast with oem parts list and diagrams. We have parts to repair your lawn mower, chainsaw, generator, snow blower, trimmer, and other outdoor power equipment. Whether you're a new homeowner, commercial. Brute power equipment is supported by over 30,000 briggs & stratton authorized dealers worldwide who provide quality service. If you have an issue with a product or. Brute Lawn Mower Parts Canada.
From stewart-switch.com
Brute Lawn Mower Parts Diagram Brute Lawn Mower Parts Canada Fix it fast with oem parts list and diagrams. Whether you're a new homeowner, commercial. We have parts to repair your lawn mower, chainsaw, generator, snow blower, trimmer, and other outdoor power equipment. Brute power equipment is supported by over 30,000 briggs & stratton authorized dealers worldwide who provide quality service. If you have an issue with a product or. Brute Lawn Mower Parts Canada.
From www.partstree.com
Brute BTXPV226750HW (7800885) Brute 22" WalkBehind Mower (2012 Brute Lawn Mower Parts Canada Whether you're a new homeowner, commercial. Brute power equipment is supported by over 30,000 briggs & stratton authorized dealers worldwide who provide quality service. We have parts to repair your lawn mower, chainsaw, generator, snow blower, trimmer, and other outdoor power equipment. If you have an issue with a product or part of a product please contact us directly at. Brute Lawn Mower Parts Canada.
From circuitenginejames55.z19.web.core.windows.net
Brute Lawn Mower Parts Manual Brute Lawn Mower Parts Canada We have parts to repair your lawn mower, chainsaw, generator, snow blower, trimmer, and other outdoor power equipment. Brute power equipment is supported by over 30,000 briggs & stratton authorized dealers worldwide who provide quality service. Whether you're a new homeowner, commercial. If you have an issue with a product or part of a product please contact us directly at. Brute Lawn Mower Parts Canada.
From stewart-switch.com
Brute Lawn Mower Parts Diagram Brute Lawn Mower Parts Canada We have parts to repair your lawn mower, chainsaw, generator, snow blower, trimmer, and other outdoor power equipment. If you have an issue with a product or part of a product please contact us directly at service@litehawk.ca. Brute power equipment is supported by over 30,000 briggs & stratton authorized dealers worldwide who provide quality service. Fix it fast with oem. Brute Lawn Mower Parts Canada.
From www.partstree.com
Brute BT22675 (7800881) Brute 22" WalkBehind Mower (2012) Deck Group Brute Lawn Mower Parts Canada We have parts to repair your lawn mower, chainsaw, generator, snow blower, trimmer, and other outdoor power equipment. Whether you're a new homeowner, commercial. If you have an issue with a product or part of a product please contact us directly at service@litehawk.ca. Fix it fast with oem parts list and diagrams. Brute power equipment is supported by over 30,000. Brute Lawn Mower Parts Canada.
From manualenginemaxima.z13.web.core.windows.net
Brute Lawn Mower Parts Diagram Brute Lawn Mower Parts Canada Whether you're a new homeowner, commercial. Fix it fast with oem parts list and diagrams. Brute power equipment is supported by over 30,000 briggs & stratton authorized dealers worldwide who provide quality service. We have parts to repair your lawn mower, chainsaw, generator, snow blower, trimmer, and other outdoor power equipment. If you have an issue with a product or. Brute Lawn Mower Parts Canada.