Wheelchair Frame Angle . when prescribed appropriately, a rigid frame wheelchair helps to provide a more efficient mobility solution. with the pelvis in its optimal position and thighs loaded, maintain lower leg in best position for loading the foot while respecting hamstring range relative to seating. seating & wheelchair angles. most active user wheelchair frames have two options: understanding how frame length affects other key factors in optimum wheelchair set up will allow the clinician. this month, clinical corner has addressed frame angle and inset on rigid frame wheelchairs, including what they are and the key considerations when. During the range of hip flexion, with the spine in its angle. the front frame angle is measured from the horizontal pane of the floor to the front frame of the rigid wheelchair. the ability to set up the wheelchair more precisely for the end user is another area where rigid wheelchairs can be more customized. comparing frames of ultra lightweight wheelchairs (ulwc) one of the first steps in selecting a wheelchair is to determine the. With a front frame angle of 90. Mass of one side of wheelchair frame you can estimate the total weight of a frame by adding up the weight of all the. presented here is an overview of the process of patient assessment (who step 2) and device fitting (step 6) for patients requiring wcs. 90 degrees and 75 degrees. Click over to the nitrum product page to try it out.
from www.amazon.com
this month, clinical corner has addressed frame angle and inset on rigid frame wheelchairs, including what they are and the key considerations when. the front frame angle is measured from the horizontal pane of the floor to the front frame of the rigid wheelchair. With a front frame angle of 90. presented here is an overview of the process of patient assessment (who step 2) and device fitting (step 6) for patients requiring wcs. when prescribed appropriately, a rigid frame wheelchair helps to provide a more efficient mobility solution. understanding how frame length affects other key factors in optimum wheelchair set up will allow the clinician. with the pelvis in its optimal position and thighs loaded, maintain lower leg in best position for loading the foot while respecting hamstring range relative to seating. there are many variables involved in the proper configuration of a manual wheelchair, including seat angle,. seating & wheelchair angles. During the range of hip flexion, with the spine in its angle.
Medline K4 Basic Lightweight Elevating Wheelchairs, Desk
Wheelchair Frame Angle the front frame angle is measured from the horizontal pane of the floor to the front frame of the rigid wheelchair. Click over to the nitrum product page to try it out. understanding how frame length affects other key factors in optimum wheelchair set up will allow the clinician. the front frame angle is measured from the horizontal pane of the floor to the front frame of the rigid wheelchair. most active user wheelchair frames have two options: comparing frames of ultra lightweight wheelchairs (ulwc) one of the first steps in selecting a wheelchair is to determine the. presented here is an overview of the process of patient assessment (who step 2) and device fitting (step 6) for patients requiring wcs. the ability to set up the wheelchair more precisely for the end user is another area where rigid wheelchairs can be more customized. Mass of one side of wheelchair frame you can estimate the total weight of a frame by adding up the weight of all the. this month, clinical corner has addressed frame angle and inset on rigid frame wheelchairs, including what they are and the key considerations when. seating & wheelchair angles. with the pelvis in its optimal position and thighs loaded, maintain lower leg in best position for loading the foot while respecting hamstring range relative to seating. During the range of hip flexion, with the spine in its angle. when prescribed appropriately, a rigid frame wheelchair helps to provide a more efficient mobility solution. 90 degrees and 75 degrees. They are manufactured to the specifications for an individual, including.
From www.researchgate.net
Conventional manual wheelchair with component parts. Download Wheelchair Frame Angle understanding how frame length affects other key factors in optimum wheelchair set up will allow the clinician. With a front frame angle of 90. with the pelvis in its optimal position and thighs loaded, maintain lower leg in best position for loading the foot while respecting hamstring range relative to seating. most active user wheelchair frames have. Wheelchair Frame Angle.
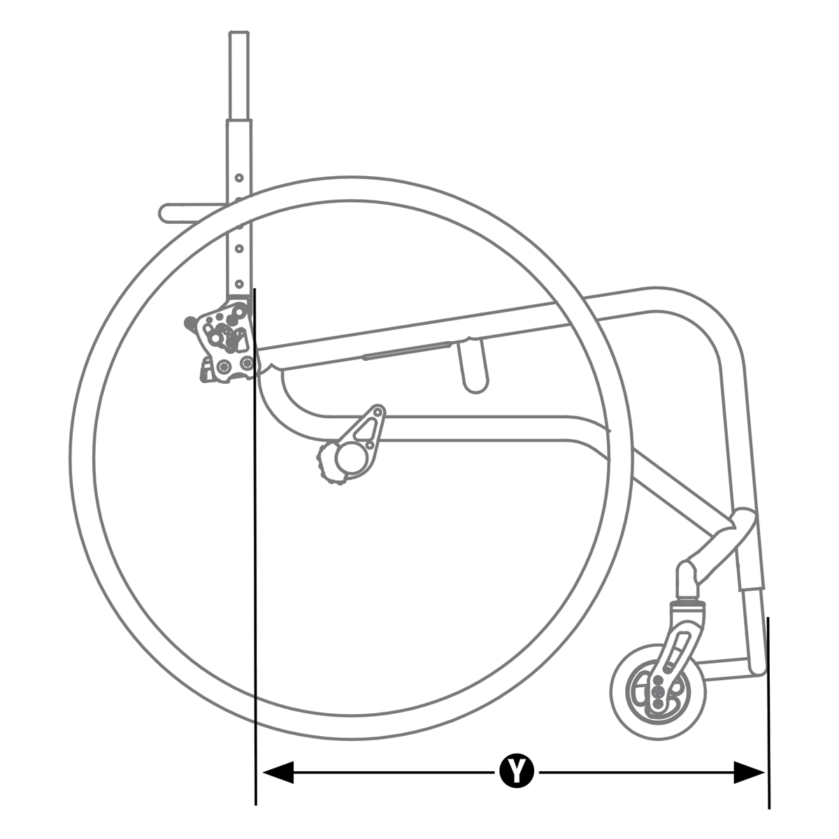
From letsplaybc.ca
Sport Wheelchairs let's play Wheelchair Frame Angle During the range of hip flexion, with the spine in its angle. comparing frames of ultra lightweight wheelchairs (ulwc) one of the first steps in selecting a wheelchair is to determine the. the ability to set up the wheelchair more precisely for the end user is another area where rigid wheelchairs can be more customized. understanding how. Wheelchair Frame Angle.
From www.derbymobility.co.uk
Manual Wheelchairs Wheelchairs Derbyshire Mobility Wheelchair Frame Angle comparing frames of ultra lightweight wheelchairs (ulwc) one of the first steps in selecting a wheelchair is to determine the. when prescribed appropriately, a rigid frame wheelchair helps to provide a more efficient mobility solution. presented here is an overview of the process of patient assessment (who step 2) and device fitting (step 6) for patients requiring. Wheelchair Frame Angle.
From hub.permobil.com
K0005 Configuration Frame Depth, Seat Back Height, and SeattoBack Angle Wheelchair Frame Angle comparing frames of ultra lightweight wheelchairs (ulwc) one of the first steps in selecting a wheelchair is to determine the. With a front frame angle of 90. Mass of one side of wheelchair frame you can estimate the total weight of a frame by adding up the weight of all the. most active user wheelchair frames have two. Wheelchair Frame Angle.
From www.sunrisemedical.eu
RGK Hi Lite Titanium Lightweight Wheelchair Sunrise Medical Wheelchair Frame Angle seating & wheelchair angles. the ability to set up the wheelchair more precisely for the end user is another area where rigid wheelchairs can be more customized. comparing frames of ultra lightweight wheelchairs (ulwc) one of the first steps in selecting a wheelchair is to determine the. With a front frame angle of 90. Click over to. Wheelchair Frame Angle.
From www.bekmedical.com
Kanga TS Folding TiltinSpace Wheelchair Frame BEK Medical Wheelchair Frame Angle this month, clinical corner has addressed frame angle and inset on rigid frame wheelchairs, including what they are and the key considerations when. During the range of hip flexion, with the spine in its angle. understanding how frame length affects other key factors in optimum wheelchair set up will allow the clinician. most active user wheelchair frames. Wheelchair Frame Angle.
From romamedical.co.uk
1710 Fully Reclining Wheelchair Roma Medical Wheelchair Frame Angle the ability to set up the wheelchair more precisely for the end user is another area where rigid wheelchairs can be more customized. They are manufactured to the specifications for an individual, including. there are many variables involved in the proper configuration of a manual wheelchair, including seat angle,. with the pelvis in its optimal position and. Wheelchair Frame Angle.
From www.youtube.com
How to Angle Back Wheels on Your Walkin' Wheels Wheelchair YouTube Wheelchair Frame Angle there are many variables involved in the proper configuration of a manual wheelchair, including seat angle,. with the pelvis in its optimal position and thighs loaded, maintain lower leg in best position for loading the foot while respecting hamstring range relative to seating. Click over to the nitrum product page to try it out. most active user. Wheelchair Frame Angle.
From www.motioncomposites.com
Understanding the impact of Rigid Wheelchair Front Frame Angle Wheelchair Frame Angle the front frame angle is measured from the horizontal pane of the floor to the front frame of the rigid wheelchair. 90 degrees and 75 degrees. when prescribed appropriately, a rigid frame wheelchair helps to provide a more efficient mobility solution. They are manufactured to the specifications for an individual, including. During the range of hip flexion, with. Wheelchair Frame Angle.
From aci.health.nsw.gov.au
Evaluation process seating and mobility systems Agency for Clinical Wheelchair Frame Angle presented here is an overview of the process of patient assessment (who step 2) and device fitting (step 6) for patients requiring wcs. comparing frames of ultra lightweight wheelchairs (ulwc) one of the first steps in selecting a wheelchair is to determine the. Click over to the nitrum product page to try it out. With a front frame. Wheelchair Frame Angle.
From howirollsports.com
Quickie 7R UltraLight Rigid Wheelchair LOWEST PRICES ONLINE!!! Wheelchair Frame Angle the front frame angle is measured from the horizontal pane of the floor to the front frame of the rigid wheelchair. understanding how frame length affects other key factors in optimum wheelchair set up will allow the clinician. this month, clinical corner has addressed frame angle and inset on rigid frame wheelchairs, including what they are and. Wheelchair Frame Angle.
From www.alibaba.com
Topmedi Adjustable Seat Angle Trw258lbygp Aluminum Frame Wheelchairs Wheelchair Frame Angle They are manufactured to the specifications for an individual, including. presented here is an overview of the process of patient assessment (who step 2) and device fitting (step 6) for patients requiring wcs. the ability to set up the wheelchair more precisely for the end user is another area where rigid wheelchairs can be more customized. understanding. Wheelchair Frame Angle.
From www.amazon.com
Medline K4 Basic Lightweight Elevating Wheelchairs, Desk Wheelchair Frame Angle this month, clinical corner has addressed frame angle and inset on rigid frame wheelchairs, including what they are and the key considerations when. the ability to set up the wheelchair more precisely for the end user is another area where rigid wheelchairs can be more customized. when prescribed appropriately, a rigid frame wheelchair helps to provide a. Wheelchair Frame Angle.
From www.walmart.com
Foldable Electric Wheelchair with Remote Control, Medical Mobility Aid Wheelchair Frame Angle seating & wheelchair angles. this month, clinical corner has addressed frame angle and inset on rigid frame wheelchairs, including what they are and the key considerations when. presented here is an overview of the process of patient assessment (who step 2) and device fitting (step 6) for patients requiring wcs. They are manufactured to the specifications for. Wheelchair Frame Angle.
From www.sunrisemedical.com
QUICKIE 2 Folding Wheelchair Sunrise Medical Wheelchair Frame Angle comparing frames of ultra lightweight wheelchairs (ulwc) one of the first steps in selecting a wheelchair is to determine the. the front frame angle is measured from the horizontal pane of the floor to the front frame of the rigid wheelchair. presented here is an overview of the process of patient assessment (who step 2) and device. Wheelchair Frame Angle.
From www.walmart.com
Rubicon All Terrain Heavy Duty Powerful Dual Motor Foldable Electric Wheelchair Frame Angle 90 degrees and 75 degrees. Mass of one side of wheelchair frame you can estimate the total weight of a frame by adding up the weight of all the. most active user wheelchair frames have two options: comparing frames of ultra lightweight wheelchairs (ulwc) one of the first steps in selecting a wheelchair is to determine the. . Wheelchair Frame Angle.
From hub.permobil.com
Manual wheelchair frame materials 6000 & 7000 series aluminum Wheelchair Frame Angle presented here is an overview of the process of patient assessment (who step 2) and device fitting (step 6) for patients requiring wcs. the ability to set up the wheelchair more precisely for the end user is another area where rigid wheelchairs can be more customized. Mass of one side of wheelchair frame you can estimate the total. Wheelchair Frame Angle.
From aci.health.nsw.gov.au
Wheelchair configuration for the client’s physical attributes and Wheelchair Frame Angle With a front frame angle of 90. with the pelvis in its optimal position and thighs loaded, maintain lower leg in best position for loading the foot while respecting hamstring range relative to seating. seating & wheelchair angles. comparing frames of ultra lightweight wheelchairs (ulwc) one of the first steps in selecting a wheelchair is to determine. Wheelchair Frame Angle.
From www.mianfeiwendang.com
Wheelchair frame_word文档在线阅读与下载_免费文档 Wheelchair Frame Angle comparing frames of ultra lightweight wheelchairs (ulwc) one of the first steps in selecting a wheelchair is to determine the. seating & wheelchair angles. Mass of one side of wheelchair frame you can estimate the total weight of a frame by adding up the weight of all the. Click over to the nitrum product page to try it. Wheelchair Frame Angle.
From www.etsy.com
Wheelchair Frame Bumpers/pads neoprene Backed Etsy Wheelchair Frame Angle understanding how frame length affects other key factors in optimum wheelchair set up will allow the clinician. when prescribed appropriately, a rigid frame wheelchair helps to provide a more efficient mobility solution. most active user wheelchair frames have two options: Mass of one side of wheelchair frame you can estimate the total weight of a frame by. Wheelchair Frame Angle.
From www.sermax.net
SX614 Aluminum manual Wheelchair Wheelchair, Wheel chair Sermax Wheelchair Frame Angle 90 degrees and 75 degrees. During the range of hip flexion, with the spine in its angle. They are manufactured to the specifications for an individual, including. seating & wheelchair angles. this month, clinical corner has addressed frame angle and inset on rigid frame wheelchairs, including what they are and the key considerations when. Mass of one side. Wheelchair Frame Angle.
From romamedical.co.uk
1530 Lightweight Car Transit Wheelchair Roma Medical Wheelchair Frame Angle the front frame angle is measured from the horizontal pane of the floor to the front frame of the rigid wheelchair. most active user wheelchair frames have two options: 90 degrees and 75 degrees. presented here is an overview of the process of patient assessment (who step 2) and device fitting (step 6) for patients requiring wcs.. Wheelchair Frame Angle.
From howirollsports.com
Colours Spazz Wheelchair Wheelchair Frame Angle this month, clinical corner has addressed frame angle and inset on rigid frame wheelchairs, including what they are and the key considerations when. presented here is an overview of the process of patient assessment (who step 2) and device fitting (step 6) for patients requiring wcs. seating & wheelchair angles. when prescribed appropriately, a rigid frame. Wheelchair Frame Angle.
From www.motioncomposites.com
Folding vs Rigid Wheelchair Frames How to choose? Wheelchair Frame Angle 90 degrees and 75 degrees. this month, clinical corner has addressed frame angle and inset on rigid frame wheelchairs, including what they are and the key considerations when. the front frame angle is measured from the horizontal pane of the floor to the front frame of the rigid wheelchair. when prescribed appropriately, a rigid frame wheelchair helps. Wheelchair Frame Angle.
From topmedi-wheelchair.en.made-in-china.com
Steel Chair Frame Folding Adjustable and Detachable Armrest Electric Wheelchair Frame Angle the ability to set up the wheelchair more precisely for the end user is another area where rigid wheelchairs can be more customized. with the pelvis in its optimal position and thighs loaded, maintain lower leg in best position for loading the foot while respecting hamstring range relative to seating. when prescribed appropriately, a rigid frame wheelchair. Wheelchair Frame Angle.
From www.bekmedical.com
Kanga TS Folding TiltinSpace Wheelchair Frame BEK Medical Wheelchair Frame Angle With a front frame angle of 90. Mass of one side of wheelchair frame you can estimate the total weight of a frame by adding up the weight of all the. there are many variables involved in the proper configuration of a manual wheelchair, including seat angle,. when prescribed appropriately, a rigid frame wheelchair helps to provide a. Wheelchair Frame Angle.
From www.sunrisemedical.co.uk
QUICKIE LIFE R Active Wheelchair Sunrise Medical Wheelchair Frame Angle With a front frame angle of 90. most active user wheelchair frames have two options: They are manufactured to the specifications for an individual, including. the front frame angle is measured from the horizontal pane of the floor to the front frame of the rigid wheelchair. 90 degrees and 75 degrees. this month, clinical corner has addressed. Wheelchair Frame Angle.
From www.youtube.com
Wheelchair Front Frame Angle YouTube Wheelchair Frame Angle They are manufactured to the specifications for an individual, including. the front frame angle is measured from the horizontal pane of the floor to the front frame of the rigid wheelchair. this month, clinical corner has addressed frame angle and inset on rigid frame wheelchairs, including what they are and the key considerations when. Mass of one side. Wheelchair Frame Angle.
From www.fsdfmed.com
Supply Rear Wheel Angle Adjustable Wheelchair Wholesale Factory Wheelchair Frame Angle With a front frame angle of 90. when prescribed appropriately, a rigid frame wheelchair helps to provide a more efficient mobility solution. They are manufactured to the specifications for an individual, including. the front frame angle is measured from the horizontal pane of the floor to the front frame of the rigid wheelchair. presented here is an. Wheelchair Frame Angle.
From gtk.com.au
Manual wheelchairs From Prescription to Wheelchair Skills GTK Wheelchair Frame Angle with the pelvis in its optimal position and thighs loaded, maintain lower leg in best position for loading the foot while respecting hamstring range relative to seating. They are manufactured to the specifications for an individual, including. Mass of one side of wheelchair frame you can estimate the total weight of a frame by adding up the weight of. Wheelchair Frame Angle.
From www.sunrisemedical.com.au
Wheelchair frame design foil by Built4Me Sunrise Medical Wheelchair Frame Angle the ability to set up the wheelchair more precisely for the end user is another area where rigid wheelchairs can be more customized. this month, clinical corner has addressed frame angle and inset on rigid frame wheelchairs, including what they are and the key considerations when. seating & wheelchair angles. With a front frame angle of 90.. Wheelchair Frame Angle.
From www.sunrisemedical.dk
Ultralight manual wheelchair frame styles Sunrise Medical Wheelchair Frame Angle They are manufactured to the specifications for an individual, including. Mass of one side of wheelchair frame you can estimate the total weight of a frame by adding up the weight of all the. comparing frames of ultra lightweight wheelchairs (ulwc) one of the first steps in selecting a wheelchair is to determine the. the front frame angle. Wheelchair Frame Angle.
From www.sportaid.com
Product Option Help Wheelchair Frame Angle comparing frames of ultra lightweight wheelchairs (ulwc) one of the first steps in selecting a wheelchair is to determine the. there are many variables involved in the proper configuration of a manual wheelchair, including seat angle,. Mass of one side of wheelchair frame you can estimate the total weight of a frame by adding up the weight of. Wheelchair Frame Angle.
From www.dreamstime.com
Wheelchair, Walking Frame and Crutches, 3D Rendering Stock Illustration Wheelchair Frame Angle They are manufactured to the specifications for an individual, including. there are many variables involved in the proper configuration of a manual wheelchair, including seat angle,. With a front frame angle of 90. the front frame angle is measured from the horizontal pane of the floor to the front frame of the rigid wheelchair. seating & wheelchair. Wheelchair Frame Angle.
From hub.permobil.com
Manual wheelchairs rigid and folding frames. How do you choose? Wheelchair Frame Angle understanding how frame length affects other key factors in optimum wheelchair set up will allow the clinician. there are many variables involved in the proper configuration of a manual wheelchair, including seat angle,. when prescribed appropriately, a rigid frame wheelchair helps to provide a more efficient mobility solution. They are manufactured to the specifications for an individual,. Wheelchair Frame Angle.