E46 Power Steering Hose Diagram . Finished replacing the high pressure power steering hose that goes from the pump to the steering rack. Here's my plan of so far: Bmw e46 power steering hose replacement. Just a simple diy on how to replace the power steering hose tools list: A few things worth to mention: Looking for a diagram of the power steering hose for your e46? Make sure to get the correct. 1) empty the power steering fluid using this diy. Of note, on the 2002 325 xi, the is. Find all the information you need to properly identify and replace your power steering hose with our comprehensive guide. Bmw e46 power steering hose replacment (diy) how to change the high pressure power steering hose.
from www.estore-central.com
1) empty the power steering fluid using this diy. Bmw e46 power steering hose replacement. Of note, on the 2002 325 xi, the is. Looking for a diagram of the power steering hose for your e46? Find all the information you need to properly identify and replace your power steering hose with our comprehensive guide. Finished replacing the high pressure power steering hose that goes from the pump to the steering rack. Just a simple diy on how to replace the power steering hose tools list: Make sure to get the correct. A few things worth to mention: Bmw e46 power steering hose replacment (diy) how to change the high pressure power steering hose.
Original Parts for E46 318Ci N46 Coupe / Steering/ Hydro Steering Oil
E46 Power Steering Hose Diagram Bmw e46 power steering hose replacment (diy) how to change the high pressure power steering hose. Bmw e46 power steering hose replacment (diy) how to change the high pressure power steering hose. A few things worth to mention: 1) empty the power steering fluid using this diy. Here's my plan of so far: Make sure to get the correct. Find all the information you need to properly identify and replace your power steering hose with our comprehensive guide. Finished replacing the high pressure power steering hose that goes from the pump to the steering rack. Looking for a diagram of the power steering hose for your e46? Just a simple diy on how to replace the power steering hose tools list: Of note, on the 2002 325 xi, the is. Bmw e46 power steering hose replacement.
From properparts.co
BMW E46 3 Series Power Steering Fluid Reservoir W/ Hoses Proper Parts Co E46 Power Steering Hose Diagram A few things worth to mention: Find all the information you need to properly identify and replace your power steering hose with our comprehensive guide. Make sure to get the correct. Of note, on the 2002 325 xi, the is. 1) empty the power steering fluid using this diy. Finished replacing the high pressure power steering hose that goes from. E46 Power Steering Hose Diagram.
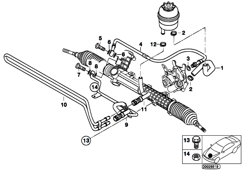
From design1systems.com
Demystifying the E46 Power Steering Hose Diagram A Visual Guide for E46 Power Steering Hose Diagram Bmw e46 power steering hose replacment (diy) how to change the high pressure power steering hose. Finished replacing the high pressure power steering hose that goes from the pump to the steering rack. Here's my plan of so far: A few things worth to mention: Just a simple diy on how to replace the power steering hose tools list: Make. E46 Power Steering Hose Diagram.
From forum.e46fanatics.com
Power Steering Flush For M3 (S54, E46) E46Fanatics E46 Power Steering Hose Diagram Bmw e46 power steering hose replacement. Just a simple diy on how to replace the power steering hose tools list: Finished replacing the high pressure power steering hose that goes from the pump to the steering rack. Of note, on the 2002 325 xi, the is. Here's my plan of so far: 1) empty the power steering fluid using this. E46 Power Steering Hose Diagram.
From tech-53.com
E46 Power Steering Pressure Hose (Pump to Rack) Tech 53 E46 Power Steering Hose Diagram Bmw e46 power steering hose replacment (diy) how to change the high pressure power steering hose. Bmw e46 power steering hose replacement. Make sure to get the correct. 1) empty the power steering fluid using this diy. Of note, on the 2002 325 xi, the is. Finished replacing the high pressure power steering hose that goes from the pump to. E46 Power Steering Hose Diagram.
From properparts.co
BMW E46 Power Steering Hose Rack To Cooler Proper Parts Co E46 Power Steering Hose Diagram Here's my plan of so far: Just a simple diy on how to replace the power steering hose tools list: Make sure to get the correct. Finished replacing the high pressure power steering hose that goes from the pump to the steering rack. Looking for a diagram of the power steering hose for your e46? Bmw e46 power steering hose. E46 Power Steering Hose Diagram.
From www.youtube.com
BMW E39/E46 Power Steering Reservoir and Hose Replacement YouTube E46 Power Steering Hose Diagram Make sure to get the correct. Of note, on the 2002 325 xi, the is. A few things worth to mention: Looking for a diagram of the power steering hose for your e46? Find all the information you need to properly identify and replace your power steering hose with our comprehensive guide. Finished replacing the high pressure power steering hose. E46 Power Steering Hose Diagram.
From exytdtmdh.blob.core.windows.net
Bmw E46 M3 Power Steering Fluid at Maria Busch blog E46 Power Steering Hose Diagram Find all the information you need to properly identify and replace your power steering hose with our comprehensive guide. Finished replacing the high pressure power steering hose that goes from the pump to the steering rack. Just a simple diy on how to replace the power steering hose tools list: Of note, on the 2002 325 xi, the is. Here's. E46 Power Steering Hose Diagram.
From www.c3bmw.co.uk
Power Steering Hose E46 E46 Power Steering Hose Diagram Looking for a diagram of the power steering hose for your e46? Here's my plan of so far: Make sure to get the correct. Bmw e46 power steering hose replacement. 1) empty the power steering fluid using this diy. Find all the information you need to properly identify and replace your power steering hose with our comprehensive guide. Of note,. E46 Power Steering Hose Diagram.
From exytdtmdh.blob.core.windows.net
Bmw E46 M3 Power Steering Fluid at Maria Busch blog E46 Power Steering Hose Diagram Looking for a diagram of the power steering hose for your e46? Of note, on the 2002 325 xi, the is. Here's my plan of so far: Make sure to get the correct. Bmw e46 power steering hose replacement. Just a simple diy on how to replace the power steering hose tools list: 1) empty the power steering fluid using. E46 Power Steering Hose Diagram.
From www.mecatechnic.com
Pipe connecting the reservoir and power steering for BMW E46 M54 from E46 Power Steering Hose Diagram Bmw e46 power steering hose replacement. Here's my plan of so far: Looking for a diagram of the power steering hose for your e46? Make sure to get the correct. Of note, on the 2002 325 xi, the is. Just a simple diy on how to replace the power steering hose tools list: Find all the information you need to. E46 Power Steering Hose Diagram.
From design1systems.com
Demystifying the E46 Power Steering Hose Diagram A Visual Guide for E46 Power Steering Hose Diagram Finished replacing the high pressure power steering hose that goes from the pump to the steering rack. A few things worth to mention: Of note, on the 2002 325 xi, the is. 1) empty the power steering fluid using this diy. Bmw e46 power steering hose replacement. Make sure to get the correct. Just a simple diy on how to. E46 Power Steering Hose Diagram.
From www.youtube.com
How to change BMW E46 Power Steering hose YouTube E46 Power Steering Hose Diagram Of note, on the 2002 325 xi, the is. Looking for a diagram of the power steering hose for your e46? Make sure to get the correct. Bmw e46 power steering hose replacement. A few things worth to mention: Here's my plan of so far: Bmw e46 power steering hose replacment (diy) how to change the high pressure power steering. E46 Power Steering Hose Diagram.
From stewart-switch.com
E46 Power Steering Hose Diagram E46 Power Steering Hose Diagram Bmw e46 power steering hose replacement. Here's my plan of so far: 1) empty the power steering fluid using this diy. A few things worth to mention: Looking for a diagram of the power steering hose for your e46? Find all the information you need to properly identify and replace your power steering hose with our comprehensive guide. Finished replacing. E46 Power Steering Hose Diagram.
From oembimmerparts.com
BMW E46 325xi & 330xi Power Steering Hose Cooling Coil to Reservoir OE E46 Power Steering Hose Diagram Of note, on the 2002 325 xi, the is. Make sure to get the correct. Find all the information you need to properly identify and replace your power steering hose with our comprehensive guide. A few things worth to mention: Finished replacing the high pressure power steering hose that goes from the pump to the steering rack. Looking for a. E46 Power Steering Hose Diagram.
From paydata.itti.edu.sa
Bmw E46 Power Steering Hose Diagram Cheapest Dealers paydata.itti.edu.sa E46 Power Steering Hose Diagram Find all the information you need to properly identify and replace your power steering hose with our comprehensive guide. Bmw e46 power steering hose replacment (diy) how to change the high pressure power steering hose. Here's my plan of so far: Make sure to get the correct. Of note, on the 2002 325 xi, the is. Bmw e46 power steering. E46 Power Steering Hose Diagram.
From www.youtube.com
BMW E46 DIY Power Steering Line Refresh Kit YouTube E46 Power Steering Hose Diagram Here's my plan of so far: Of note, on the 2002 325 xi, the is. Looking for a diagram of the power steering hose for your e46? Just a simple diy on how to replace the power steering hose tools list: 1) empty the power steering fluid using this diy. A few things worth to mention: Find all the information. E46 Power Steering Hose Diagram.
From www.moreheadspeedworks.com
E46 LF30 Power Steering Pressure Hose Morehead Speed Works E46 Power Steering Hose Diagram Of note, on the 2002 325 xi, the is. Find all the information you need to properly identify and replace your power steering hose with our comprehensive guide. 1) empty the power steering fluid using this diy. Just a simple diy on how to replace the power steering hose tools list: Bmw e46 power steering hose replacement. Bmw e46 power. E46 Power Steering Hose Diagram.
From www.estore-central.com
Original Parts for E46 318Ci N46 Coupe / Steering/ Hydro Steering Oil E46 Power Steering Hose Diagram Of note, on the 2002 325 xi, the is. 1) empty the power steering fluid using this diy. Here's my plan of so far: Just a simple diy on how to replace the power steering hose tools list: Find all the information you need to properly identify and replace your power steering hose with our comprehensive guide. Bmw e46 power. E46 Power Steering Hose Diagram.
From www.bimmerworld.com
BMW Power Steering System E46 Power Steering Hose Diagram Looking for a diagram of the power steering hose for your e46? Bmw e46 power steering hose replacement. Just a simple diy on how to replace the power steering hose tools list: Bmw e46 power steering hose replacment (diy) how to change the high pressure power steering hose. 1) empty the power steering fluid using this diy. A few things. E46 Power Steering Hose Diagram.
From www.walmart.com
Bapmic 32416774215 Power Steering High Pressure Hose Line for BMW 3 E46 Power Steering Hose Diagram Make sure to get the correct. Of note, on the 2002 325 xi, the is. Bmw e46 power steering hose replacment (diy) how to change the high pressure power steering hose. Finished replacing the high pressure power steering hose that goes from the pump to the steering rack. Here's my plan of so far: Find all the information you need. E46 Power Steering Hose Diagram.
From estore-central.com
Original Parts for E46 316i 1.9 M43 Sedan / Steering/ Hydro Steering E46 Power Steering Hose Diagram Just a simple diy on how to replace the power steering hose tools list: Make sure to get the correct. Finished replacing the high pressure power steering hose that goes from the pump to the steering rack. Bmw e46 power steering hose replacement. Here's my plan of so far: Looking for a diagram of the power steering hose for your. E46 Power Steering Hose Diagram.
From www.aliexpress.com
New Power Steering Hose Fit For BMW E46 320i 320Ci 325i 325Ci 328i E46 Power Steering Hose Diagram Here's my plan of so far: 1) empty the power steering fluid using this diy. Find all the information you need to properly identify and replace your power steering hose with our comprehensive guide. A few things worth to mention: Just a simple diy on how to replace the power steering hose tools list: Looking for a diagram of the. E46 Power Steering Hose Diagram.
From www.estore-central.com
Original Parts for E46 330i M54 Sedan / Steering/ Hydro Steering Oil E46 Power Steering Hose Diagram Just a simple diy on how to replace the power steering hose tools list: Looking for a diagram of the power steering hose for your e46? Make sure to get the correct. Bmw e46 power steering hose replacment (diy) how to change the high pressure power steering hose. Of note, on the 2002 325 xi, the is. 1) empty the. E46 Power Steering Hose Diagram.
From stewart-switch.com
Power Steering Pump Hose Diagram E46 Power Steering Hose Diagram Finished replacing the high pressure power steering hose that goes from the pump to the steering rack. Just a simple diy on how to replace the power steering hose tools list: Looking for a diagram of the power steering hose for your e46? Here's my plan of so far: Find all the information you need to properly identify and replace. E46 Power Steering Hose Diagram.
From www.coolerj.com
Reservoir Oem Bmw E46 Power Steering Hose Cooler E46 Power Steering Hose Diagram Find all the information you need to properly identify and replace your power steering hose with our comprehensive guide. A few things worth to mention: Bmw e46 power steering hose replacment (diy) how to change the high pressure power steering hose. Here's my plan of so far: Of note, on the 2002 325 xi, the is. Just a simple diy. E46 Power Steering Hose Diagram.
From www.pelicanparts.com
BMW E46 Power Steering Pump Replacement BMW 325i (20012005), BMW E46 Power Steering Hose Diagram A few things worth to mention: Here's my plan of so far: Finished replacing the high pressure power steering hose that goes from the pump to the steering rack. Bmw e46 power steering hose replacement. Find all the information you need to properly identify and replace your power steering hose with our comprehensive guide. 1) empty the power steering fluid. E46 Power Steering Hose Diagram.
From techschematic.com
Understanding the Chevy Power Steering Hose Diagram A Comprehensive Guide E46 Power Steering Hose Diagram Bmw e46 power steering hose replacment (diy) how to change the high pressure power steering hose. Bmw e46 power steering hose replacement. A few things worth to mention: Finished replacing the high pressure power steering hose that goes from the pump to the steering rack. Make sure to get the correct. Find all the information you need to properly identify. E46 Power Steering Hose Diagram.
From autoctrls.com
Everything You Need to Know about E46 Heater Hose Diagrams E46 Power Steering Hose Diagram 1) empty the power steering fluid using this diy. Make sure to get the correct. Of note, on the 2002 325 xi, the is. Bmw e46 power steering hose replacement. Looking for a diagram of the power steering hose for your e46? Here's my plan of so far: Finished replacing the high pressure power steering hose that goes from the. E46 Power Steering Hose Diagram.
From pbhperformance.com
Power Steering Hose Diagrams Power By The Hour E46 Power Steering Hose Diagram Looking for a diagram of the power steering hose for your e46? Bmw e46 power steering hose replacment (diy) how to change the high pressure power steering hose. A few things worth to mention: Just a simple diy on how to replace the power steering hose tools list: Bmw e46 power steering hose replacement. Finished replacing the high pressure power. E46 Power Steering Hose Diagram.
From design1systems.com
Understanding the Gm Power Steering Hose Diagram A Comprehensive Guide E46 Power Steering Hose Diagram 1) empty the power steering fluid using this diy. Finished replacing the high pressure power steering hose that goes from the pump to the steering rack. Bmw e46 power steering hose replacment (diy) how to change the high pressure power steering hose. Just a simple diy on how to replace the power steering hose tools list: Bmw e46 power steering. E46 Power Steering Hose Diagram.
From www.estore-central.com
Original Parts for E46 316ti N42 Compact / Steering/ Hydro Steering Oil E46 Power Steering Hose Diagram Bmw e46 power steering hose replacment (diy) how to change the high pressure power steering hose. Make sure to get the correct. Finished replacing the high pressure power steering hose that goes from the pump to the steering rack. Find all the information you need to properly identify and replace your power steering hose with our comprehensive guide. 1) empty. E46 Power Steering Hose Diagram.
From www.ebay.com
BMW E46 Power Steering Hose Set 20002006 OEM 32416764725 for sale E46 Power Steering Hose Diagram Find all the information you need to properly identify and replace your power steering hose with our comprehensive guide. Bmw e46 power steering hose replacement. Looking for a diagram of the power steering hose for your e46? Of note, on the 2002 325 xi, the is. Bmw e46 power steering hose replacment (diy) how to change the high pressure power. E46 Power Steering Hose Diagram.
From www.pelicanparts.com
BMW E46 Power Steering Pump Replacement BMW 325i (20012005), BMW E46 Power Steering Hose Diagram Here's my plan of so far: Of note, on the 2002 325 xi, the is. Looking for a diagram of the power steering hose for your e46? Bmw e46 power steering hose replacement. Find all the information you need to properly identify and replace your power steering hose with our comprehensive guide. Bmw e46 power steering hose replacment (diy) how. E46 Power Steering Hose Diagram.
From design1systems.com
Demystifying the E46 Power Steering Hose Diagram A Visual Guide for E46 Power Steering Hose Diagram Here's my plan of so far: A few things worth to mention: 1) empty the power steering fluid using this diy. Of note, on the 2002 325 xi, the is. Finished replacing the high pressure power steering hose that goes from the pump to the steering rack. Make sure to get the correct. Bmw e46 power steering hose replacement. Find. E46 Power Steering Hose Diagram.
From www.youtube.com
Sidewaze DIY Refurbish BMW E46 M3 Leaking Power Steering Hoses YouTube E46 Power Steering Hose Diagram 1) empty the power steering fluid using this diy. Just a simple diy on how to replace the power steering hose tools list: Bmw e46 power steering hose replacment (diy) how to change the high pressure power steering hose. Of note, on the 2002 325 xi, the is. Find all the information you need to properly identify and replace your. E46 Power Steering Hose Diagram.