Mercury Inflatable Boat Floor Replacement . Shop mercury inflatable boat parts, valves, repair kits, oars, accessories & more for your inflatable boat! Kits typically include inflatable boat glue and hypalon or pvc inflatable boat patches. Mercury inflatable boat replacement air floor. The wood floorboards are available. Easy to install and then remove for cleaning. Most orders placed by 3pm est ship. We suggest you keep a repair kit on hand. No need to deflate the hull tubes to do so. 2004 and newer mercury 240 airdeck and mercury sport. Mercury sport 240 owner's manual (42 pages) mercury marine inflatable boat owner's manual. I have an achilles with an air floor. Some of the boats come with either the air deck or a wood floorboard (heavy duty models).
from www.boats.net
I have an achilles with an air floor. Most orders placed by 3pm est ship. Shop mercury inflatable boat parts, valves, repair kits, oars, accessories & more for your inflatable boat! Mercury sport 240 owner's manual (42 pages) mercury marine inflatable boat owner's manual. Easy to install and then remove for cleaning. Kits typically include inflatable boat glue and hypalon or pvc inflatable boat patches. No need to deflate the hull tubes to do so. Some of the boats come with either the air deck or a wood floorboard (heavy duty models). The wood floorboards are available. 2004 and newer mercury 240 airdeck and mercury sport.
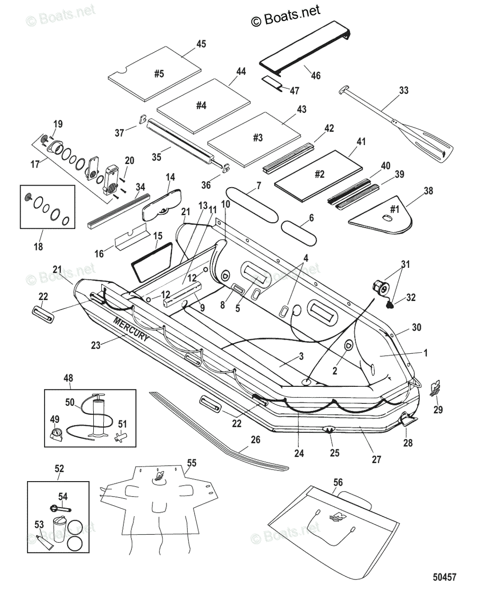
Mercury Inflatable Boats 2010 OEM Parts Diagram for Air Deck Models
Mercury Inflatable Boat Floor Replacement Shop mercury inflatable boat parts, valves, repair kits, oars, accessories & more for your inflatable boat! Kits typically include inflatable boat glue and hypalon or pvc inflatable boat patches. The wood floorboards are available. We suggest you keep a repair kit on hand. Shop mercury inflatable boat parts, valves, repair kits, oars, accessories & more for your inflatable boat! Some of the boats come with either the air deck or a wood floorboard (heavy duty models). 2004 and newer mercury 240 airdeck and mercury sport. Mercury inflatable boat replacement air floor. I have an achilles with an air floor. Easy to install and then remove for cleaning. No need to deflate the hull tubes to do so. Mercury sport 240 owner's manual (42 pages) mercury marine inflatable boat owner's manual. Most orders placed by 3pm est ship.
From www.boats.net
Mercury Inflatable Boats 2007 OEM Parts Diagram for Air Deck Models Mercury Inflatable Boat Floor Replacement Easy to install and then remove for cleaning. The wood floorboards are available. Shop mercury inflatable boat parts, valves, repair kits, oars, accessories & more for your inflatable boat! Mercury inflatable boat replacement air floor. 2004 and newer mercury 240 airdeck and mercury sport. We suggest you keep a repair kit on hand. I have an achilles with an air. Mercury Inflatable Boat Floor Replacement.
From www.boats.net
Mercury Inflatable Boats 2010 OEM Parts Diagram for Air Deck Models Mercury Inflatable Boat Floor Replacement Mercury sport 240 owner's manual (42 pages) mercury marine inflatable boat owner's manual. Shop mercury inflatable boat parts, valves, repair kits, oars, accessories & more for your inflatable boat! Some of the boats come with either the air deck or a wood floorboard (heavy duty models). 2004 and newer mercury 240 airdeck and mercury sport. I have an achilles with. Mercury Inflatable Boat Floor Replacement.
From www.mercurymarine.com
Air Deck Mercury Marine Mercury Inflatable Boat Floor Replacement I have an achilles with an air floor. 2004 and newer mercury 240 airdeck and mercury sport. Shop mercury inflatable boat parts, valves, repair kits, oars, accessories & more for your inflatable boat! Mercury sport 240 owner's manual (42 pages) mercury marine inflatable boat owner's manual. No need to deflate the hull tubes to do so. Easy to install and. Mercury Inflatable Boat Floor Replacement.
From defender.com
Mercury Replacement/Additional Bench Seat for Inflatable Boats Mercury Inflatable Boat Floor Replacement Some of the boats come with either the air deck or a wood floorboard (heavy duty models). Most orders placed by 3pm est ship. Mercury inflatable boat replacement air floor. We suggest you keep a repair kit on hand. No need to deflate the hull tubes to do so. 2004 and newer mercury 240 airdeck and mercury sport. Kits typically. Mercury Inflatable Boat Floor Replacement.
From www.crowleymarine.com
MERCURY HEAVY DUTY 430 MODEL(WITH WOOD FLOORS) 2003 Inflatable Boat Mercury Inflatable Boat Floor Replacement Most orders placed by 3pm est ship. Shop mercury inflatable boat parts, valves, repair kits, oars, accessories & more for your inflatable boat! Kits typically include inflatable boat glue and hypalon or pvc inflatable boat patches. We suggest you keep a repair kit on hand. Mercury sport 240 owner's manual (42 pages) mercury marine inflatable boat owner's manual. Mercury inflatable. Mercury Inflatable Boat Floor Replacement.
From harbourchandler.ca
Inflatable Boats Replacement Air Floor The Harbour Chandler Mercury Inflatable Boat Floor Replacement Shop mercury inflatable boat parts, valves, repair kits, oars, accessories & more for your inflatable boat! We suggest you keep a repair kit on hand. 2004 and newer mercury 240 airdeck and mercury sport. Some of the boats come with either the air deck or a wood floorboard (heavy duty models). Easy to install and then remove for cleaning. Mercury. Mercury Inflatable Boat Floor Replacement.
From www.boats.net
Mercury Inflatable Boats 2004 OEM Parts Diagram for Mercury Air Deck Mercury Inflatable Boat Floor Replacement Most orders placed by 3pm est ship. Shop mercury inflatable boat parts, valves, repair kits, oars, accessories & more for your inflatable boat! Kits typically include inflatable boat glue and hypalon or pvc inflatable boat patches. Mercury sport 240 owner's manual (42 pages) mercury marine inflatable boat owner's manual. Easy to install and then remove for cleaning. The wood floorboards. Mercury Inflatable Boat Floor Replacement.
From defender.com
Mercury Inflatable Boat Replacement/Conversion Air Floor 896282A06 Mercury Inflatable Boat Floor Replacement Shop mercury inflatable boat parts, valves, repair kits, oars, accessories & more for your inflatable boat! Kits typically include inflatable boat glue and hypalon or pvc inflatable boat patches. Mercury sport 240 owner's manual (42 pages) mercury marine inflatable boat owner's manual. 2004 and newer mercury 240 airdeck and mercury sport. Some of the boats come with either the air. Mercury Inflatable Boat Floor Replacement.
From waves.com.au
Replacement floor for Mercury 240 Dinghy Waves Overseas Mercury Inflatable Boat Floor Replacement No need to deflate the hull tubes to do so. Mercury inflatable boat replacement air floor. Some of the boats come with either the air deck or a wood floorboard (heavy duty models). Easy to install and then remove for cleaning. Mercury sport 240 owner's manual (42 pages) mercury marine inflatable boat owner's manual. Shop mercury inflatable boat parts, valves,. Mercury Inflatable Boat Floor Replacement.
From defender.com
Mercury Inflatable Boat Repair Kit 896344A05 Defender Marine Mercury Inflatable Boat Floor Replacement Easy to install and then remove for cleaning. The wood floorboards are available. 2004 and newer mercury 240 airdeck and mercury sport. Some of the boats come with either the air deck or a wood floorboard (heavy duty models). We suggest you keep a repair kit on hand. No need to deflate the hull tubes to do so. Shop mercury. Mercury Inflatable Boat Floor Replacement.
From www.durainflate.com
inflatable boat floor boards Mercury Inflatable Boat Floor Replacement We suggest you keep a repair kit on hand. Most orders placed by 3pm est ship. The wood floorboards are available. 2004 and newer mercury 240 airdeck and mercury sport. I have an achilles with an air floor. Kits typically include inflatable boat glue and hypalon or pvc inflatable boat patches. Some of the boats come with either the air. Mercury Inflatable Boat Floor Replacement.
From www.boats.net
Mercury Inflatable Boats 2013 OEM Parts Diagram for TM470 Pro ModelPVC Mercury Inflatable Boat Floor Replacement Mercury inflatable boat replacement air floor. No need to deflate the hull tubes to do so. 2004 and newer mercury 240 airdeck and mercury sport. Shop mercury inflatable boat parts, valves, repair kits, oars, accessories & more for your inflatable boat! Mercury sport 240 owner's manual (42 pages) mercury marine inflatable boat owner's manual. Kits typically include inflatable boat glue. Mercury Inflatable Boat Floor Replacement.
From www.boats.net
Mercury Inflatable Boats 2007 OEM Parts Diagram for Mercury Heavy Duty Mercury Inflatable Boat Floor Replacement No need to deflate the hull tubes to do so. We suggest you keep a repair kit on hand. Kits typically include inflatable boat glue and hypalon or pvc inflatable boat patches. Some of the boats come with either the air deck or a wood floorboard (heavy duty models). Mercury inflatable boat replacement air floor. Most orders placed by 3pm. Mercury Inflatable Boat Floor Replacement.
From www.boatstogo.com
Highpressure air floors, aluminum & plywood hard floors for inflatable Mercury Inflatable Boat Floor Replacement Shop mercury inflatable boat parts, valves, repair kits, oars, accessories & more for your inflatable boat! Some of the boats come with either the air deck or a wood floorboard (heavy duty models). I have an achilles with an air floor. Easy to install and then remove for cleaning. Mercury sport 240 owner's manual (42 pages) mercury marine inflatable boat. Mercury Inflatable Boat Floor Replacement.
From defender.com
Inflatable Boat Floors Defender Marine Mercury Inflatable Boat Floor Replacement We suggest you keep a repair kit on hand. Some of the boats come with either the air deck or a wood floorboard (heavy duty models). Shop mercury inflatable boat parts, valves, repair kits, oars, accessories & more for your inflatable boat! I have an achilles with an air floor. Most orders placed by 3pm est ship. Easy to install. Mercury Inflatable Boat Floor Replacement.
From www.youtube.com
How to Repair Inflatable Boat at Home (Instructional Video) YouTube Mercury Inflatable Boat Floor Replacement Kits typically include inflatable boat glue and hypalon or pvc inflatable boat patches. Mercury sport 240 owner's manual (42 pages) mercury marine inflatable boat owner's manual. I have an achilles with an air floor. 2004 and newer mercury 240 airdeck and mercury sport. No need to deflate the hull tubes to do so. We suggest you keep a repair kit. Mercury Inflatable Boat Floor Replacement.
From www.boats.net
Mercury Inflatable Boats 2013 OEM Parts Diagram for TM470 Pro Model Mercury Inflatable Boat Floor Replacement Mercury inflatable boat replacement air floor. We suggest you keep a repair kit on hand. Some of the boats come with either the air deck or a wood floorboard (heavy duty models). 2004 and newer mercury 240 airdeck and mercury sport. I have an achilles with an air floor. Shop mercury inflatable boat parts, valves, repair kits, oars, accessories &. Mercury Inflatable Boat Floor Replacement.
From www.boats.net
Mercury Inflatable Boats 2013 OEM Parts Diagram for Mercury Air Deck Mercury Inflatable Boat Floor Replacement The wood floorboards are available. I have an achilles with an air floor. No need to deflate the hull tubes to do so. Mercury inflatable boat replacement air floor. Easy to install and then remove for cleaning. Shop mercury inflatable boat parts, valves, repair kits, oars, accessories & more for your inflatable boat! Mercury sport 240 owner's manual (42 pages). Mercury Inflatable Boat Floor Replacement.
From www.boats.net
Mercury Inflatable Boats 2008 OEM Parts Diagram for Mercury Heavy Duty Mercury Inflatable Boat Floor Replacement I have an achilles with an air floor. 2004 and newer mercury 240 airdeck and mercury sport. Shop mercury inflatable boat parts, valves, repair kits, oars, accessories & more for your inflatable boat! Kits typically include inflatable boat glue and hypalon or pvc inflatable boat patches. Most orders placed by 3pm est ship. The wood floorboards are available. Some of. Mercury Inflatable Boat Floor Replacement.
From www.boats.net
Mercury Inflatable Boats 2007 OEM Parts Diagram for Dynamic Inflatables Mercury Inflatable Boat Floor Replacement Shop mercury inflatable boat parts, valves, repair kits, oars, accessories & more for your inflatable boat! I have an achilles with an air floor. We suggest you keep a repair kit on hand. Some of the boats come with either the air deck or a wood floorboard (heavy duty models). 2004 and newer mercury 240 airdeck and mercury sport. Easy. Mercury Inflatable Boat Floor Replacement.
From aquamarineboat.com
Replacement Floor Boards for inflatable boat 9 ft Mercury Inflatable Boat Floor Replacement We suggest you keep a repair kit on hand. Easy to install and then remove for cleaning. Most orders placed by 3pm est ship. No need to deflate the hull tubes to do so. I have an achilles with an air floor. Some of the boats come with either the air deck or a wood floorboard (heavy duty models). Mercury. Mercury Inflatable Boat Floor Replacement.
From www.boats.net
Mercury Inflatable Boats 2016 OEM Parts Diagram for Mercury Heavy Duty Mercury Inflatable Boat Floor Replacement We suggest you keep a repair kit on hand. Some of the boats come with either the air deck or a wood floorboard (heavy duty models). Shop mercury inflatable boat parts, valves, repair kits, oars, accessories & more for your inflatable boat! I have an achilles with an air floor. Mercury inflatable boat replacement air floor. No need to deflate. Mercury Inflatable Boat Floor Replacement.
From defender.com
Mercury Inflatable Boat Replacement Thrust Board 852875T12 Defender Mercury Inflatable Boat Floor Replacement Easy to install and then remove for cleaning. We suggest you keep a repair kit on hand. Shop mercury inflatable boat parts, valves, repair kits, oars, accessories & more for your inflatable boat! Most orders placed by 3pm est ship. Mercury inflatable boat replacement air floor. The wood floorboards are available. Kits typically include inflatable boat glue and hypalon or. Mercury Inflatable Boat Floor Replacement.
From defender.com
Inflatable Boat Floors Defender Marine Mercury Inflatable Boat Floor Replacement Some of the boats come with either the air deck or a wood floorboard (heavy duty models). The wood floorboards are available. Most orders placed by 3pm est ship. 2004 and newer mercury 240 airdeck and mercury sport. I have an achilles with an air floor. Easy to install and then remove for cleaning. No need to deflate the hull. Mercury Inflatable Boat Floor Replacement.
From www.boats.net
Mercury Inflatable Boats 2004 OEM Parts Diagram for Quicksilver Heavy Mercury Inflatable Boat Floor Replacement Easy to install and then remove for cleaning. 2004 and newer mercury 240 airdeck and mercury sport. The wood floorboards are available. No need to deflate the hull tubes to do so. I have an achilles with an air floor. Most orders placed by 3pm est ship. Kits typically include inflatable boat glue and hypalon or pvc inflatable boat patches.. Mercury Inflatable Boat Floor Replacement.
From www.boats.net
Mercury Inflatable Boats 2012 OEM Parts Diagram for Adventure XS 365 Mercury Inflatable Boat Floor Replacement 2004 and newer mercury 240 airdeck and mercury sport. Most orders placed by 3pm est ship. We suggest you keep a repair kit on hand. I have an achilles with an air floor. Shop mercury inflatable boat parts, valves, repair kits, oars, accessories & more for your inflatable boat! Some of the boats come with either the air deck or. Mercury Inflatable Boat Floor Replacement.
From www.boats.net
Mercury Inflatable Boats 2013 OEM Parts Diagram for Heavy Duty 470 XS Mercury Inflatable Boat Floor Replacement Easy to install and then remove for cleaning. Most orders placed by 3pm est ship. Shop mercury inflatable boat parts, valves, repair kits, oars, accessories & more for your inflatable boat! 2004 and newer mercury 240 airdeck and mercury sport. Kits typically include inflatable boat glue and hypalon or pvc inflatable boat patches. No need to deflate the hull tubes. Mercury Inflatable Boat Floor Replacement.
From www.boats.net
Mercury Inflatable Boats 2015 OEM Parts Diagram for Quicksilver Heavy Mercury Inflatable Boat Floor Replacement Shop mercury inflatable boat parts, valves, repair kits, oars, accessories & more for your inflatable boat! No need to deflate the hull tubes to do so. Easy to install and then remove for cleaning. Some of the boats come with either the air deck or a wood floorboard (heavy duty models). Mercury sport 240 owner's manual (42 pages) mercury marine. Mercury Inflatable Boat Floor Replacement.
From aquamarineboat.com
Aluminum floor for 7.5 inflatable boat Aquamarine Inflatable Boats Mercury Inflatable Boat Floor Replacement No need to deflate the hull tubes to do so. Shop mercury inflatable boat parts, valves, repair kits, oars, accessories & more for your inflatable boat! The wood floorboards are available. I have an achilles with an air floor. Easy to install and then remove for cleaning. Most orders placed by 3pm est ship. 2004 and newer mercury 240 airdeck. Mercury Inflatable Boat Floor Replacement.
From www.boats.net
Mercury Inflatable Boats 2004 OEM Parts Diagram for Mercury Heavy Duty Mercury Inflatable Boat Floor Replacement We suggest you keep a repair kit on hand. Most orders placed by 3pm est ship. The wood floorboards are available. I have an achilles with an air floor. Shop mercury inflatable boat parts, valves, repair kits, oars, accessories & more for your inflatable boat! No need to deflate the hull tubes to do so. 2004 and newer mercury 240. Mercury Inflatable Boat Floor Replacement.
From coretecfloors.art
Mercury Inflatable Replacement Floor The Floors Mercury Inflatable Boat Floor Replacement Easy to install and then remove for cleaning. Kits typically include inflatable boat glue and hypalon or pvc inflatable boat patches. Mercury inflatable boat replacement air floor. Mercury sport 240 owner's manual (42 pages) mercury marine inflatable boat owner's manual. 2004 and newer mercury 240 airdeck and mercury sport. Shop mercury inflatable boat parts, valves, repair kits, oars, accessories &. Mercury Inflatable Boat Floor Replacement.
From www.boatstogo.com
Highpressure air floors, aluminum & plywood hard floors for inflatable Mercury Inflatable Boat Floor Replacement The wood floorboards are available. I have an achilles with an air floor. We suggest you keep a repair kit on hand. Mercury sport 240 owner's manual (42 pages) mercury marine inflatable boat owner's manual. Shop mercury inflatable boat parts, valves, repair kits, oars, accessories & more for your inflatable boat! No need to deflate the hull tubes to do. Mercury Inflatable Boat Floor Replacement.
From www.boats.net
Mercury Inflatable Boats 2008 OEM Parts Diagram for Trimax Models(340 Mercury Inflatable Boat Floor Replacement Kits typically include inflatable boat glue and hypalon or pvc inflatable boat patches. Mercury sport 240 owner's manual (42 pages) mercury marine inflatable boat owner's manual. The wood floorboards are available. 2004 and newer mercury 240 airdeck and mercury sport. Easy to install and then remove for cleaning. Most orders placed by 3pm est ship. Some of the boats come. Mercury Inflatable Boat Floor Replacement.
From www.boats.net
Mercury Inflatable Boats 2015 OEM Parts Diagram for Mercury Heavy Duty Mercury Inflatable Boat Floor Replacement Kits typically include inflatable boat glue and hypalon or pvc inflatable boat patches. Most orders placed by 3pm est ship. Easy to install and then remove for cleaning. Some of the boats come with either the air deck or a wood floorboard (heavy duty models). Shop mercury inflatable boat parts, valves, repair kits, oars, accessories & more for your inflatable. Mercury Inflatable Boat Floor Replacement.
From www.boats.net
Mercury Inflatable Boats 2013 OEM Parts Diagram for Heavy Duty XS 365/ Mercury Inflatable Boat Floor Replacement Mercury sport 240 owner's manual (42 pages) mercury marine inflatable boat owner's manual. Kits typically include inflatable boat glue and hypalon or pvc inflatable boat patches. No need to deflate the hull tubes to do so. Easy to install and then remove for cleaning. 2004 and newer mercury 240 airdeck and mercury sport. Shop mercury inflatable boat parts, valves, repair. Mercury Inflatable Boat Floor Replacement.