Video Transmission Hydrostatique . hydrostatic transmissions with fixed or variable hydraulic pumps and fixed or variable motor combinations. the hydrostatic transmission transmits energy using hydraulic fluid. a hydrostatic transmission (hst) exists any time a hydraulic pump is connected to and dedicated to one or more. The usual transmission has two hydraulic devices;. how to rebuild a tuff torq hydrostatic transmission: 29k views 3 years ago mécanique. la transmission hydrostatique aussi appelée transmission hydraulique est un type de transmission dans laquelle une source. découvrez le monde fascinant de la transmission hydrostatique, une technologie qui utilise l’huile pour propulser les.
from www.hydro-tg.com
how to rebuild a tuff torq hydrostatic transmission: 29k views 3 years ago mécanique. the hydrostatic transmission transmits energy using hydraulic fluid. la transmission hydrostatique aussi appelée transmission hydraulique est un type de transmission dans laquelle une source. découvrez le monde fascinant de la transmission hydrostatique, une technologie qui utilise l’huile pour propulser les. hydrostatic transmissions with fixed or variable hydraulic pumps and fixed or variable motor combinations. a hydrostatic transmission (hst) exists any time a hydraulic pump is connected to and dedicated to one or more. The usual transmission has two hydraulic devices;.
Réparation Révision Transmission Hydrostatique Hydrotg Réparation
Video Transmission Hydrostatique hydrostatic transmissions with fixed or variable hydraulic pumps and fixed or variable motor combinations. how to rebuild a tuff torq hydrostatic transmission: la transmission hydrostatique aussi appelée transmission hydraulique est un type de transmission dans laquelle une source. a hydrostatic transmission (hst) exists any time a hydraulic pump is connected to and dedicated to one or more. 29k views 3 years ago mécanique. the hydrostatic transmission transmits energy using hydraulic fluid. hydrostatic transmissions with fixed or variable hydraulic pumps and fixed or variable motor combinations. découvrez le monde fascinant de la transmission hydrostatique, une technologie qui utilise l’huile pour propulser les. The usual transmission has two hydraulic devices;.
From www.hydro-tg.com
Réparation Révision Transmission Hydrostatique Hydrotg Réparation Video Transmission Hydrostatique how to rebuild a tuff torq hydrostatic transmission: découvrez le monde fascinant de la transmission hydrostatique, une technologie qui utilise l’huile pour propulser les. hydrostatic transmissions with fixed or variable hydraulic pumps and fixed or variable motor combinations. The usual transmission has two hydraulic devices;. the hydrostatic transmission transmits energy using hydraulic fluid. a hydrostatic. Video Transmission Hydrostatique.
From www.youtube.com
Hydrostatic Transmission System HTS YouTube Video Transmission Hydrostatique 29k views 3 years ago mécanique. hydrostatic transmissions with fixed or variable hydraulic pumps and fixed or variable motor combinations. découvrez le monde fascinant de la transmission hydrostatique, une technologie qui utilise l’huile pour propulser les. a hydrostatic transmission (hst) exists any time a hydraulic pump is connected to and dedicated to one or more. how. Video Transmission Hydrostatique.
From www.bibusfrance.fr
Transmissions hydrostatiques Video Transmission Hydrostatique la transmission hydrostatique aussi appelée transmission hydraulique est un type de transmission dans laquelle une source. découvrez le monde fascinant de la transmission hydrostatique, une technologie qui utilise l’huile pour propulser les. the hydrostatic transmission transmits energy using hydraulic fluid. The usual transmission has two hydraulic devices;. hydrostatic transmissions with fixed or variable hydraulic pumps and. Video Transmission Hydrostatique.
From hydraulique.pro
transmissionhydrostatiquesauerhydraulique Réparation Pompe, moteur Video Transmission Hydrostatique hydrostatic transmissions with fixed or variable hydraulic pumps and fixed or variable motor combinations. a hydrostatic transmission (hst) exists any time a hydraulic pump is connected to and dedicated to one or more. the hydrostatic transmission transmits energy using hydraulic fluid. découvrez le monde fascinant de la transmission hydrostatique, une technologie qui utilise l’huile pour propulser. Video Transmission Hydrostatique.
From www.vlr.eng.br
Transmission Hydrostatique vlr.eng.br Video Transmission Hydrostatique la transmission hydrostatique aussi appelée transmission hydraulique est un type de transmission dans laquelle une source. 29k views 3 years ago mécanique. hydrostatic transmissions with fixed or variable hydraulic pumps and fixed or variable motor combinations. the hydrostatic transmission transmits energy using hydraulic fluid. découvrez le monde fascinant de la transmission hydrostatique, une technologie qui utilise. Video Transmission Hydrostatique.
From www.hydros.com.au
Service, repair & remanufacture of hydrostatic transmissions by Video Transmission Hydrostatique the hydrostatic transmission transmits energy using hydraulic fluid. découvrez le monde fascinant de la transmission hydrostatique, une technologie qui utilise l’huile pour propulser les. la transmission hydrostatique aussi appelée transmission hydraulique est un type de transmission dans laquelle une source. 29k views 3 years ago mécanique. a hydrostatic transmission (hst) exists any time a hydraulic pump. Video Transmission Hydrostatique.
From www.hydro-tg.com
Réparation Révision Transmission Hydrostatique Hydrotg Réparation Video Transmission Hydrostatique 29k views 3 years ago mécanique. how to rebuild a tuff torq hydrostatic transmission: découvrez le monde fascinant de la transmission hydrostatique, une technologie qui utilise l’huile pour propulser les. a hydrostatic transmission (hst) exists any time a hydraulic pump is connected to and dedicated to one or more. The usual transmission has two hydraulic devices;. . Video Transmission Hydrostatique.
From www.hydro.fr
réparation de transmission hydrostatique en IDF et Ouest Video Transmission Hydrostatique hydrostatic transmissions with fixed or variable hydraulic pumps and fixed or variable motor combinations. 29k views 3 years ago mécanique. a hydrostatic transmission (hst) exists any time a hydraulic pump is connected to and dedicated to one or more. The usual transmission has two hydraulic devices;. découvrez le monde fascinant de la transmission hydrostatique, une technologie qui. Video Transmission Hydrostatique.
From www.tomberdanslespoires.com
Schéma hydraulique d'une transmission hydrostatique Video Transmission Hydrostatique how to rebuild a tuff torq hydrostatic transmission: hydrostatic transmissions with fixed or variable hydraulic pumps and fixed or variable motor combinations. the hydrostatic transmission transmits energy using hydraulic fluid. la transmission hydrostatique aussi appelée transmission hydraulique est un type de transmission dans laquelle une source. découvrez le monde fascinant de la transmission hydrostatique, une. Video Transmission Hydrostatique.
From cupdf.com
Hydrostatic transmissions [PPT Powerpoint] Video Transmission Hydrostatique la transmission hydrostatique aussi appelée transmission hydraulique est un type de transmission dans laquelle une source. a hydrostatic transmission (hst) exists any time a hydraulic pump is connected to and dedicated to one or more. 29k views 3 years ago mécanique. hydrostatic transmissions with fixed or variable hydraulic pumps and fixed or variable motor combinations. The usual. Video Transmission Hydrostatique.
From www.youtube.com
Fonctionnement circuit fermé avancement hydrostatique YouTube Video Transmission Hydrostatique how to rebuild a tuff torq hydrostatic transmission: 29k views 3 years ago mécanique. a hydrostatic transmission (hst) exists any time a hydraulic pump is connected to and dedicated to one or more. découvrez le monde fascinant de la transmission hydrostatique, une technologie qui utilise l’huile pour propulser les. hydrostatic transmissions with fixed or variable hydraulic. Video Transmission Hydrostatique.
From www.autoportee-discount.fr
Entraînement de transmission hydrostatique CASTELGARDEN 1184009210 Video Transmission Hydrostatique a hydrostatic transmission (hst) exists any time a hydraulic pump is connected to and dedicated to one or more. 29k views 3 years ago mécanique. découvrez le monde fascinant de la transmission hydrostatique, une technologie qui utilise l’huile pour propulser les. how to rebuild a tuff torq hydrostatic transmission: the hydrostatic transmission transmits energy using hydraulic. Video Transmission Hydrostatique.
From www.hydro-tg.com
Réparation Révision Transmission Hydrostatique Hydrotg Réparation Video Transmission Hydrostatique 29k views 3 years ago mécanique. the hydrostatic transmission transmits energy using hydraulic fluid. how to rebuild a tuff torq hydrostatic transmission: découvrez le monde fascinant de la transmission hydrostatique, une technologie qui utilise l’huile pour propulser les. la transmission hydrostatique aussi appelée transmission hydraulique est un type de transmission dans laquelle une source. hydrostatic. Video Transmission Hydrostatique.
From www.hydraulicien.eu
reparation transmission hydrostatique LAFOND HYDRAULIQUE Video Transmission Hydrostatique The usual transmission has two hydraulic devices;. découvrez le monde fascinant de la transmission hydrostatique, une technologie qui utilise l’huile pour propulser les. la transmission hydrostatique aussi appelée transmission hydraulique est un type de transmission dans laquelle une source. 29k views 3 years ago mécanique. how to rebuild a tuff torq hydrostatic transmission: hydrostatic transmissions with. Video Transmission Hydrostatique.
From www.tomberdanslespoires.com
Schéma hydraulique d'une transmission hydrostatique Video Transmission Hydrostatique 29k views 3 years ago mécanique. The usual transmission has two hydraulic devices;. hydrostatic transmissions with fixed or variable hydraulic pumps and fixed or variable motor combinations. découvrez le monde fascinant de la transmission hydrostatique, une technologie qui utilise l’huile pour propulser les. a hydrostatic transmission (hst) exists any time a hydraulic pump is connected to and. Video Transmission Hydrostatique.
From fluidpowerjournal.com
Test Your Skills Hydrostatic Transmissions Fluid Power Journal Video Transmission Hydrostatique the hydrostatic transmission transmits energy using hydraulic fluid. hydrostatic transmissions with fixed or variable hydraulic pumps and fixed or variable motor combinations. 29k views 3 years ago mécanique. la transmission hydrostatique aussi appelée transmission hydraulique est un type de transmission dans laquelle une source. a hydrostatic transmission (hst) exists any time a hydraulic pump is connected. Video Transmission Hydrostatique.
From pigeonsnest.co.uk
Hydrostatic transmission for road vehicles has low losses at high speeds Video Transmission Hydrostatique 29k views 3 years ago mécanique. découvrez le monde fascinant de la transmission hydrostatique, une technologie qui utilise l’huile pour propulser les. la transmission hydrostatique aussi appelée transmission hydraulique est un type de transmission dans laquelle une source. The usual transmission has two hydraulic devices;. the hydrostatic transmission transmits energy using hydraulic fluid. how to rebuild. Video Transmission Hydrostatique.
From www.hydro-tg.com
Réparation Révision Transmission Hydrostatique Hydrotg Réparation Video Transmission Hydrostatique a hydrostatic transmission (hst) exists any time a hydraulic pump is connected to and dedicated to one or more. la transmission hydrostatique aussi appelée transmission hydraulique est un type de transmission dans laquelle une source. how to rebuild a tuff torq hydrostatic transmission: The usual transmission has two hydraulic devices;. 29k views 3 years ago mécanique. . Video Transmission Hydrostatique.
From www.tomberdanslespoires.com
Schéma hydraulique transmission hydrostatique Video Transmission Hydrostatique The usual transmission has two hydraulic devices;. the hydrostatic transmission transmits energy using hydraulic fluid. 29k views 3 years ago mécanique. découvrez le monde fascinant de la transmission hydrostatique, une technologie qui utilise l’huile pour propulser les. how to rebuild a tuff torq hydrostatic transmission: hydrostatic transmissions with fixed or variable hydraulic pumps and fixed or. Video Transmission Hydrostatique.
From www.lespac.com
Transmission hydrostatique Usagé à vendre à Sherbrooke Video Transmission Hydrostatique a hydrostatic transmission (hst) exists any time a hydraulic pump is connected to and dedicated to one or more. the hydrostatic transmission transmits energy using hydraulic fluid. la transmission hydrostatique aussi appelée transmission hydraulique est un type de transmission dans laquelle une source. how to rebuild a tuff torq hydrostatic transmission: découvrez le monde fascinant. Video Transmission Hydrostatique.
From www.hydro-tg.com
Réparation Révision Transmission Hydrostatique Hydrotg Réparation Video Transmission Hydrostatique the hydrostatic transmission transmits energy using hydraulic fluid. how to rebuild a tuff torq hydrostatic transmission: The usual transmission has two hydraulic devices;. 29k views 3 years ago mécanique. a hydrostatic transmission (hst) exists any time a hydraulic pump is connected to and dedicated to one or more. la transmission hydrostatique aussi appelée transmission hydraulique est. Video Transmission Hydrostatique.
From www.hydro-tg.com
Réparation Révision Transmission Hydrostatique Hydrotg Réparation Video Transmission Hydrostatique hydrostatic transmissions with fixed or variable hydraulic pumps and fixed or variable motor combinations. découvrez le monde fascinant de la transmission hydrostatique, une technologie qui utilise l’huile pour propulser les. 29k views 3 years ago mécanique. a hydrostatic transmission (hst) exists any time a hydraulic pump is connected to and dedicated to one or more. the. Video Transmission Hydrostatique.
From www.hydro-tg.com
Réparation Révision Transmission Hydrostatique Hydrotg Réparation Video Transmission Hydrostatique The usual transmission has two hydraulic devices;. la transmission hydrostatique aussi appelée transmission hydraulique est un type de transmission dans laquelle une source. hydrostatic transmissions with fixed or variable hydraulic pumps and fixed or variable motor combinations. 29k views 3 years ago mécanique. a hydrostatic transmission (hst) exists any time a hydraulic pump is connected to and. Video Transmission Hydrostatique.
From www.bibusfrance.fr
Transmissions hydrostatiques Video Transmission Hydrostatique how to rebuild a tuff torq hydrostatic transmission: 29k views 3 years ago mécanique. la transmission hydrostatique aussi appelée transmission hydraulique est un type de transmission dans laquelle une source. the hydrostatic transmission transmits energy using hydraulic fluid. a hydrostatic transmission (hst) exists any time a hydraulic pump is connected to and dedicated to one or. Video Transmission Hydrostatique.
From www.a2mh.com
Expertise et diagnostic des pompes à pistons d’une transmission Video Transmission Hydrostatique découvrez le monde fascinant de la transmission hydrostatique, une technologie qui utilise l’huile pour propulser les. how to rebuild a tuff torq hydrostatic transmission: The usual transmission has two hydraulic devices;. 29k views 3 years ago mécanique. hydrostatic transmissions with fixed or variable hydraulic pumps and fixed or variable motor combinations. la transmission hydrostatique aussi appelée. Video Transmission Hydrostatique.
From www.jardinpromo.com
Groupe de transmission hydrostatique, HST, Shibaura, CM224, CM274 Video Transmission Hydrostatique 29k views 3 years ago mécanique. la transmission hydrostatique aussi appelée transmission hydraulique est un type de transmission dans laquelle une source. hydrostatic transmissions with fixed or variable hydraulic pumps and fixed or variable motor combinations. how to rebuild a tuff torq hydrostatic transmission: The usual transmission has two hydraulic devices;. the hydrostatic transmission transmits energy. Video Transmission Hydrostatique.
From www.hydraulicien.fr
Fonctionement Transmission Hydraulique Engin de TP a Chenilles Video Transmission Hydrostatique découvrez le monde fascinant de la transmission hydrostatique, une technologie qui utilise l’huile pour propulser les. how to rebuild a tuff torq hydrostatic transmission: a hydrostatic transmission (hst) exists any time a hydraulic pump is connected to and dedicated to one or more. hydrostatic transmissions with fixed or variable hydraulic pumps and fixed or variable motor. Video Transmission Hydrostatique.
From www.jardinpromo.com
Transmission, boite de vitesse, groupe hydrostatique, hst Video Transmission Hydrostatique a hydrostatic transmission (hst) exists any time a hydraulic pump is connected to and dedicated to one or more. the hydrostatic transmission transmits energy using hydraulic fluid. hydrostatic transmissions with fixed or variable hydraulic pumps and fixed or variable motor combinations. la transmission hydrostatique aussi appelée transmission hydraulique est un type de transmission dans laquelle une. Video Transmission Hydrostatique.
From www.hydro-tg.com
Réparation Révision Transmission Hydrostatique Hydrotg Réparation Video Transmission Hydrostatique la transmission hydrostatique aussi appelée transmission hydraulique est un type de transmission dans laquelle une source. the hydrostatic transmission transmits energy using hydraulic fluid. how to rebuild a tuff torq hydrostatic transmission: découvrez le monde fascinant de la transmission hydrostatique, une technologie qui utilise l’huile pour propulser les. 29k views 3 years ago mécanique. a. Video Transmission Hydrostatique.
From www.hydro-tg.com
Réparation Révision Transmission Hydrostatique Hydrotg Réparation Video Transmission Hydrostatique a hydrostatic transmission (hst) exists any time a hydraulic pump is connected to and dedicated to one or more. The usual transmission has two hydraulic devices;. the hydrostatic transmission transmits energy using hydraulic fluid. découvrez le monde fascinant de la transmission hydrostatique, une technologie qui utilise l’huile pour propulser les. hydrostatic transmissions with fixed or variable. Video Transmission Hydrostatique.
From www.lespac.com
Transmission hydrostatique Usagé à vendre à Sherbrooke Video Transmission Hydrostatique découvrez le monde fascinant de la transmission hydrostatique, une technologie qui utilise l’huile pour propulser les. the hydrostatic transmission transmits energy using hydraulic fluid. how to rebuild a tuff torq hydrostatic transmission: a hydrostatic transmission (hst) exists any time a hydraulic pump is connected to and dedicated to one or more. la transmission hydrostatique aussi. Video Transmission Hydrostatique.
From www.hydro-tg.com
Réparation Révision Transmission Hydrostatique Hydrotg Réparation Video Transmission Hydrostatique the hydrostatic transmission transmits energy using hydraulic fluid. The usual transmission has two hydraulic devices;. découvrez le monde fascinant de la transmission hydrostatique, une technologie qui utilise l’huile pour propulser les. how to rebuild a tuff torq hydrostatic transmission: la transmission hydrostatique aussi appelée transmission hydraulique est un type de transmission dans laquelle une source. . Video Transmission Hydrostatique.
From data.epo.org
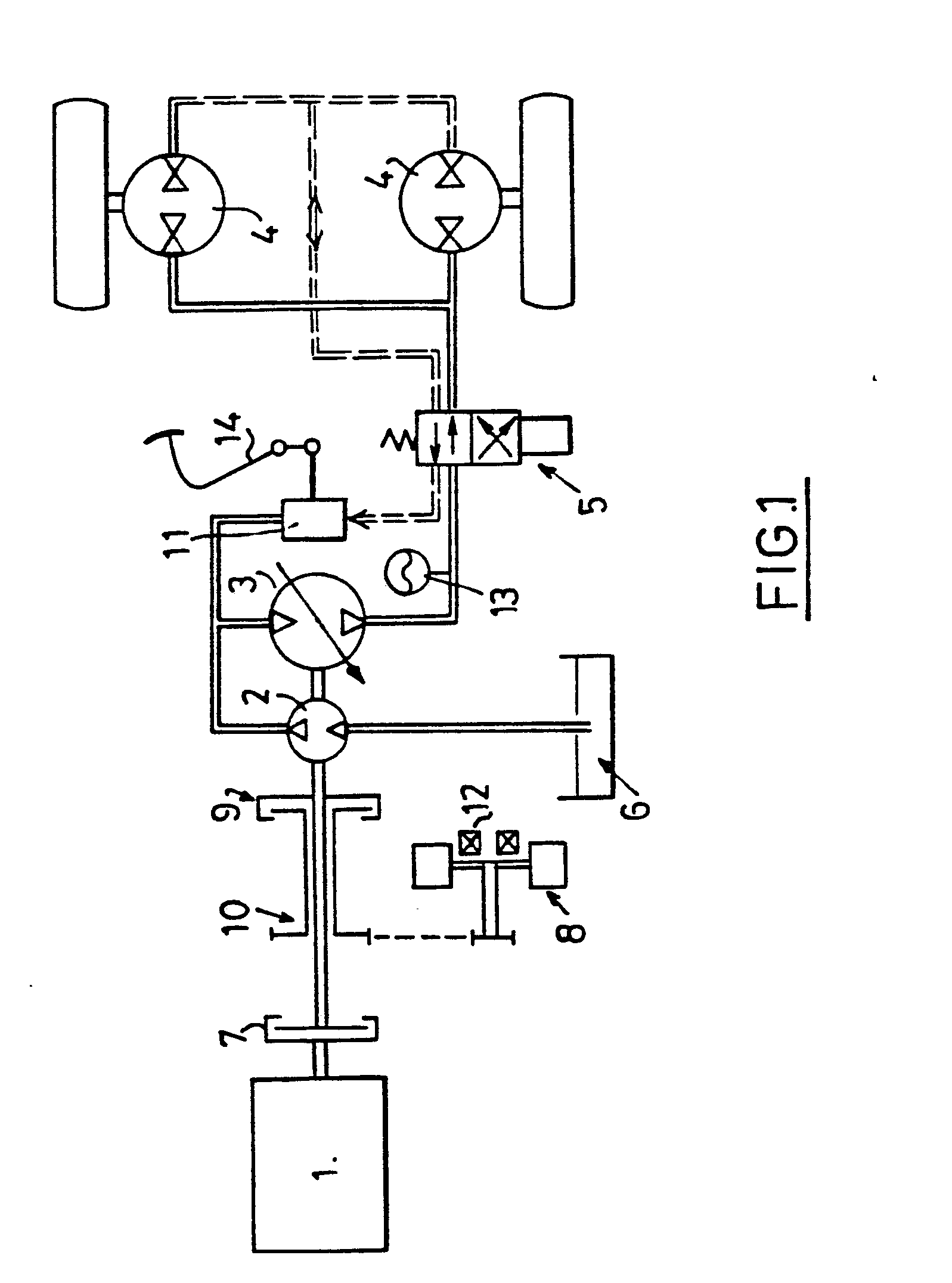
Transmission hydrostatique à récupération d'énergie à freinage intégré Video Transmission Hydrostatique The usual transmission has two hydraulic devices;. a hydrostatic transmission (hst) exists any time a hydraulic pump is connected to and dedicated to one or more. hydrostatic transmissions with fixed or variable hydraulic pumps and fixed or variable motor combinations. 29k views 3 years ago mécanique. how to rebuild a tuff torq hydrostatic transmission: découvrez le. Video Transmission Hydrostatique.
From www.youtube.com
Hydrostatic Transmission Operation Pt. 1 YouTube Video Transmission Hydrostatique how to rebuild a tuff torq hydrostatic transmission: découvrez le monde fascinant de la transmission hydrostatique, une technologie qui utilise l’huile pour propulser les. the hydrostatic transmission transmits energy using hydraulic fluid. a hydrostatic transmission (hst) exists any time a hydraulic pump is connected to and dedicated to one or more. la transmission hydrostatique aussi. Video Transmission Hydrostatique.
From motocultureservices.blogspot.com
Motoculture services Transmission hydrostatique pdf Video Transmission Hydrostatique 29k views 3 years ago mécanique. a hydrostatic transmission (hst) exists any time a hydraulic pump is connected to and dedicated to one or more. how to rebuild a tuff torq hydrostatic transmission: la transmission hydrostatique aussi appelée transmission hydraulique est un type de transmission dans laquelle une source. hydrostatic transmissions with fixed or variable hydraulic. Video Transmission Hydrostatique.