Rolair Compressor Parts Canada . Enter a part number below to view. Master tool repair is your source for rolair air compressor parts. Official parts that fit, repair videos, model diagrams, and the expert advice you need. The rolair service network is made up of over 600 independent service centers throughout the united states and canada. Our distributors have access to a huge variety of rolair repair parts and accessories. Rolair compressor parts & accessories available online at acme tools. Find pumps, regulators, gaskets, filters, belts, and more for all rolair models. Shop for genuine rolair compressor from top manufacturers. Our site is easy to shop and we have online schematics, tech docs and videos available. Enter your postal code in our interactive map to locate an authorized rolair sales or service dealer near you. Easily filter our rolair compressor to find the exact replacement you need. Acme tools is the premier rolair authorized online retailer.
from www.repairtoolparts.com
Our distributors have access to a huge variety of rolair repair parts and accessories. Easily filter our rolair compressor to find the exact replacement you need. Acme tools is the premier rolair authorized online retailer. Master tool repair is your source for rolair air compressor parts. Find pumps, regulators, gaskets, filters, belts, and more for all rolair models. Official parts that fit, repair videos, model diagrams, and the expert advice you need. Enter your postal code in our interactive map to locate an authorized rolair sales or service dealer near you. Our site is easy to shop and we have online schematics, tech docs and videos available. Enter a part number below to view. Rolair compressor parts & accessories available online at acme tools.
Buy Rolair 4090HK17 Replacement Tool Parts Rolair 4090HK17 Diagram
Rolair Compressor Parts Canada Acme tools is the premier rolair authorized online retailer. Shop for genuine rolair compressor from top manufacturers. Acme tools is the premier rolair authorized online retailer. Our distributors have access to a huge variety of rolair repair parts and accessories. Official parts that fit, repair videos, model diagrams, and the expert advice you need. Rolair compressor parts & accessories available online at acme tools. Find pumps, regulators, gaskets, filters, belts, and more for all rolair models. Enter your postal code in our interactive map to locate an authorized rolair sales or service dealer near you. Our site is easy to shop and we have online schematics, tech docs and videos available. Easily filter our rolair compressor to find the exact replacement you need. The rolair service network is made up of over 600 independent service centers throughout the united states and canada. Enter a part number below to view. Master tool repair is your source for rolair air compressor parts.
From pacificaircompressors.com
131CVC ROLAIR COMBINATION CHECK/PILOT VALVE AIR COMPRESSOR PARTS Rolair Compressor Parts Canada Acme tools is the premier rolair authorized online retailer. Shop for genuine rolair compressor from top manufacturers. The rolair service network is made up of over 600 independent service centers throughout the united states and canada. Master tool repair is your source for rolair air compressor parts. Enter a part number below to view. Our distributors have access to a. Rolair Compressor Parts Canada.
From www.ereplacementparts.com
Rolair 1040HK18 Parts List and Diagram Rolair Compressor Parts Canada Official parts that fit, repair videos, model diagrams, and the expert advice you need. Enter your postal code in our interactive map to locate an authorized rolair sales or service dealer near you. Acme tools is the premier rolair authorized online retailer. Find pumps, regulators, gaskets, filters, belts, and more for all rolair models. Shop for genuine rolair compressor from. Rolair Compressor Parts Canada.
From www.toolpartspro.com
Buy Rolair FC1250LS3 Replacement Tool Parts Rolair FC1250LS3 Other Rolair Compressor Parts Canada Master tool repair is your source for rolair air compressor parts. The rolair service network is made up of over 600 independent service centers throughout the united states and canada. Rolair compressor parts & accessories available online at acme tools. Find pumps, regulators, gaskets, filters, belts, and more for all rolair models. Acme tools is the premier rolair authorized online. Rolair Compressor Parts Canada.
From www.ereplacementparts.com
Rolair Wheeled Compressor 8422HK30 Rolair Compressor Parts Canada Rolair compressor parts & accessories available online at acme tools. Official parts that fit, repair videos, model diagrams, and the expert advice you need. Enter a part number below to view. Find pumps, regulators, gaskets, filters, belts, and more for all rolair models. Shop for genuine rolair compressor from top manufacturers. Master tool repair is your source for rolair air. Rolair Compressor Parts Canada.
From www.toolpartspro.com
Buy Rolair H10312K60 Replacement Tool Parts Rolair H10312K60 Diagram Rolair Compressor Parts Canada Our site is easy to shop and we have online schematics, tech docs and videos available. Acme tools is the premier rolair authorized online retailer. The rolair service network is made up of over 600 independent service centers throughout the united states and canada. Easily filter our rolair compressor to find the exact replacement you need. Official parts that fit,. Rolair Compressor Parts Canada.
From pacificaircompressors.com
ROLAIR 32700350CH REED VALVES FOR K17 PUMP PMP12K17CH COMPRESSOR PARTS Rolair Compressor Parts Canada Rolair compressor parts & accessories available online at acme tools. The rolair service network is made up of over 600 independent service centers throughout the united states and canada. Official parts that fit, repair videos, model diagrams, and the expert advice you need. Find pumps, regulators, gaskets, filters, belts, and more for all rolair models. Easily filter our rolair compressor. Rolair Compressor Parts Canada.
From www.repairtoolparts.com
Rolair 5230K30CS Parts List Rolair 5230K30CS Repair Parts OEM Parts Rolair Compressor Parts Canada The rolair service network is made up of over 600 independent service centers throughout the united states and canada. Our site is easy to shop and we have online schematics, tech docs and videos available. Official parts that fit, repair videos, model diagrams, and the expert advice you need. Enter a part number below to view. Our distributors have access. Rolair Compressor Parts Canada.
From factoryaircompressorparts.com
K17 ROLAIR GASKET SET COMPRESSOR REPAIR PARTS Factory Air Compressor Rolair Compressor Parts Canada Rolair compressor parts & accessories available online at acme tools. Shop for genuine rolair compressor from top manufacturers. Official parts that fit, repair videos, model diagrams, and the expert advice you need. Our site is easy to shop and we have online schematics, tech docs and videos available. Easily filter our rolair compressor to find the exact replacement you need.. Rolair Compressor Parts Canada.
From www.ereplacementparts.com
Rolair FC2002 Parts List and Diagram Rolair Compressor Parts Canada Our site is easy to shop and we have online schematics, tech docs and videos available. Shop for genuine rolair compressor from top manufacturers. Enter a part number below to view. The rolair service network is made up of over 600 independent service centers throughout the united states and canada. Master tool repair is your source for rolair air compressor. Rolair Compressor Parts Canada.
From www.toolpartspro.com
Buy rolair AB5PLUS Hand Carry Air Compressors Replacement Tool Parts Rolair Compressor Parts Canada Enter your postal code in our interactive map to locate an authorized rolair sales or service dealer near you. Enter a part number below to view. Our distributors have access to a huge variety of rolair repair parts and accessories. The rolair service network is made up of over 600 independent service centers throughout the united states and canada. Acme. Rolair Compressor Parts Canada.
From factoryaircompressorparts.com
FC009200075 ROLAIR CAPACITOR 60UF, 250 VAC START RUN CAPACTOR Factory Rolair Compressor Parts Canada Our distributors have access to a huge variety of rolair repair parts and accessories. Our site is easy to shop and we have online schematics, tech docs and videos available. Official parts that fit, repair videos, model diagrams, and the expert advice you need. Enter a part number below to view. The rolair service network is made up of over. Rolair Compressor Parts Canada.
From mowerpartsland.com
Replaces RolAir 8422HK300001 Air Compressor Pull Start Mower Parts Land Rolair Compressor Parts Canada Official parts that fit, repair videos, model diagrams, and the expert advice you need. Enter your postal code in our interactive map to locate an authorized rolair sales or service dealer near you. Shop for genuine rolair compressor from top manufacturers. Find pumps, regulators, gaskets, filters, belts, and more for all rolair models. Our site is easy to shop and. Rolair Compressor Parts Canada.
From tricitytoolparts.com
FS14100 Rolair Air Compressor Air Filter 6" Diameter 1" NPT Tri City Rolair Compressor Parts Canada Our site is easy to shop and we have online schematics, tech docs and videos available. Official parts that fit, repair videos, model diagrams, and the expert advice you need. Acme tools is the premier rolair authorized online retailer. Shop for genuine rolair compressor from top manufacturers. The rolair service network is made up of over 600 independent service centers. Rolair Compressor Parts Canada.
From www.ereplacementparts.com
Rolair 6590HK18 Parts List and Diagram Rolair Compressor Parts Canada Official parts that fit, repair videos, model diagrams, and the expert advice you need. Enter your postal code in our interactive map to locate an authorized rolair sales or service dealer near you. Enter a part number below to view. Find pumps, regulators, gaskets, filters, belts, and more for all rolair models. Our distributors have access to a huge variety. Rolair Compressor Parts Canada.
From www.repairtoolparts.com
Buy Rolair 4090HK17 Replacement Tool Parts Rolair 4090HK17 Diagram Rolair Compressor Parts Canada Rolair compressor parts & accessories available online at acme tools. Find pumps, regulators, gaskets, filters, belts, and more for all rolair models. Official parts that fit, repair videos, model diagrams, and the expert advice you need. Enter a part number below to view. Our site is easy to shop and we have online schematics, tech docs and videos available. Master. Rolair Compressor Parts Canada.
From www.toolpartspro.com
Buy Rolair FC2002 Replacement Tool Parts Rolair FC2002 Diagram Rolair Compressor Parts Canada Official parts that fit, repair videos, model diagrams, and the expert advice you need. Master tool repair is your source for rolair air compressor parts. Enter a part number below to view. Find pumps, regulators, gaskets, filters, belts, and more for all rolair models. Easily filter our rolair compressor to find the exact replacement you need. Our distributors have access. Rolair Compressor Parts Canada.
From diagramlisthavens.z21.web.core.windows.net
Rolair Compressor Parts Diagram Rolair Compressor Parts Canada Find pumps, regulators, gaskets, filters, belts, and more for all rolair models. Enter a part number below to view. Acme tools is the premier rolair authorized online retailer. Official parts that fit, repair videos, model diagrams, and the expert advice you need. Enter your postal code in our interactive map to locate an authorized rolair sales or service dealer near. Rolair Compressor Parts Canada.
From www.toolbarn.com
RolAir 4090Hk17 51/2 Hp 9 Gallon Belt Drive GasPowered Air Rolair Compressor Parts Canada Easily filter our rolair compressor to find the exact replacement you need. The rolair service network is made up of over 600 independent service centers throughout the united states and canada. Our distributors have access to a huge variety of rolair repair parts and accessories. Enter a part number below to view. Find pumps, regulators, gaskets, filters, belts, and more. Rolair Compressor Parts Canada.
From www.ereplacementparts.com
Rolair 8HP Air Compressor 7722HK28/20 Rolair Compressor Parts Canada The rolair service network is made up of over 600 independent service centers throughout the united states and canada. Master tool repair is your source for rolair air compressor parts. Enter your postal code in our interactive map to locate an authorized rolair sales or service dealer near you. Find pumps, regulators, gaskets, filters, belts, and more for all rolair. Rolair Compressor Parts Canada.
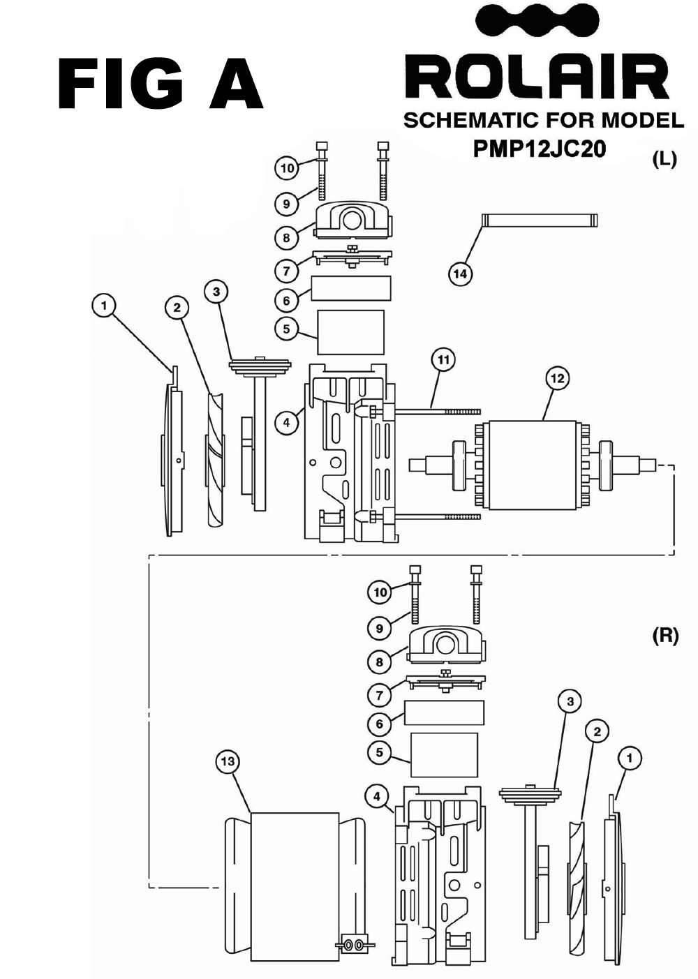
From www.toolpartspro.com
Buy rolair JC20 Hand Carry Air Compressors Replacement Tool Parts Rolair Compressor Parts Canada Our site is easy to shop and we have online schematics, tech docs and videos available. Master tool repair is your source for rolair air compressor parts. Our distributors have access to a huge variety of rolair repair parts and accessories. Enter your postal code in our interactive map to locate an authorized rolair sales or service dealer near you.. Rolair Compressor Parts Canada.
From schematicheelazoonrj.z4.web.core.windows.net
Rolair Compressor Parts Diagram Rolair Compressor Parts Canada The rolair service network is made up of over 600 independent service centers throughout the united states and canada. Easily filter our rolair compressor to find the exact replacement you need. Rolair compressor parts & accessories available online at acme tools. Shop for genuine rolair compressor from top manufacturers. Master tool repair is your source for rolair air compressor parts.. Rolair Compressor Parts Canada.
From factoryaircompressorparts.com
ROLAIR 131CVE EAGLE LMV100F PILOT CHECK VALVE AIR COMPRESSOR PARTS Rolair Compressor Parts Canada Shop for genuine rolair compressor from top manufacturers. Rolair compressor parts & accessories available online at acme tools. Our site is easy to shop and we have online schematics, tech docs and videos available. Find pumps, regulators, gaskets, filters, belts, and more for all rolair models. Official parts that fit, repair videos, model diagrams, and the expert advice you need.. Rolair Compressor Parts Canada.
From factoryaircompressorparts.com
REG0250M 1/4'' ROLAIR HEAVY DUTY REGULATOR 7225 PSI Factory Air Rolair Compressor Parts Canada Acme tools is the premier rolair authorized online retailer. Enter a part number below to view. Our distributors have access to a huge variety of rolair repair parts and accessories. The rolair service network is made up of over 600 independent service centers throughout the united states and canada. Official parts that fit, repair videos, model diagrams, and the expert. Rolair Compressor Parts Canada.
From www.ereplacementparts.com
Rolair Wheel Electric Compressor 5715K17 Rolair Compressor Parts Canada Rolair compressor parts & accessories available online at acme tools. Master tool repair is your source for rolair air compressor parts. Our distributors have access to a huge variety of rolair repair parts and accessories. Find pumps, regulators, gaskets, filters, belts, and more for all rolair models. Shop for genuine rolair compressor from top manufacturers. Easily filter our rolair compressor. Rolair Compressor Parts Canada.
From www.toolpartspro.com
Buy Rolair 5520K17 Replacement Tool Parts Rolair 5520K17 Diagram Rolair Compressor Parts Canada Easily filter our rolair compressor to find the exact replacement you need. The rolair service network is made up of over 600 independent service centers throughout the united states and canada. Our site is easy to shop and we have online schematics, tech docs and videos available. Enter a part number below to view. Acme tools is the premier rolair. Rolair Compressor Parts Canada.
From tricitytoolparts.com
REG0375 ROLAIR Air Compressor Regulator Tri City Tool Parts, Inc. Rolair Compressor Parts Canada Acme tools is the premier rolair authorized online retailer. Enter your postal code in our interactive map to locate an authorized rolair sales or service dealer near you. Master tool repair is your source for rolair air compressor parts. Official parts that fit, repair videos, model diagrams, and the expert advice you need. Our site is easy to shop and. Rolair Compressor Parts Canada.
From factoryaircompressorparts.com
ROLAIR 24 HP SINGLE STAGE AIR COMPRESSOR PUMP W/ FLYWHEEL PMP12MK113 Rolair Compressor Parts Canada Master tool repair is your source for rolair air compressor parts. Enter your postal code in our interactive map to locate an authorized rolair sales or service dealer near you. Enter a part number below to view. Shop for genuine rolair compressor from top manufacturers. Easily filter our rolair compressor to find the exact replacement you need. Our distributors have. Rolair Compressor Parts Canada.
From www.toolpartspro.com
Buy rolair JC10 Hand Carry Air Compressors Replacement Tool Parts Rolair Compressor Parts Canada Acme tools is the premier rolair authorized online retailer. The rolair service network is made up of over 600 independent service centers throughout the united states and canada. Shop for genuine rolair compressor from top manufacturers. Enter your postal code in our interactive map to locate an authorized rolair sales or service dealer near you. Master tool repair is your. Rolair Compressor Parts Canada.
From factoryaircompressorparts.com
ROLAIR 8422HK30 2 STAGE PUMP W/ FLYWHEEL AIR COMPRESSOR PARTS Rolair Compressor Parts Canada Our site is easy to shop and we have online schematics, tech docs and videos available. Shop for genuine rolair compressor from top manufacturers. Rolair compressor parts & accessories available online at acme tools. Master tool repair is your source for rolair air compressor parts. Find pumps, regulators, gaskets, filters, belts, and more for all rolair models. Official parts that. Rolair Compressor Parts Canada.
From www.toolpartspro.com
Buy rolair JC20 Hand Carry Air Compressors Replacement Tool Parts Rolair Compressor Parts Canada Enter a part number below to view. Enter your postal code in our interactive map to locate an authorized rolair sales or service dealer near you. Rolair compressor parts & accessories available online at acme tools. Official parts that fit, repair videos, model diagrams, and the expert advice you need. Easily filter our rolair compressor to find the exact replacement. Rolair Compressor Parts Canada.
From pacificaircompressors.com
ROLAIR 3000PHPK30 HIGH PRESSURE PISTON ASSEMBLY FOR K30 PUMP Rolair Compressor Parts Canada Shop for genuine rolair compressor from top manufacturers. Our site is easy to shop and we have online schematics, tech docs and videos available. Easily filter our rolair compressor to find the exact replacement you need. Enter your postal code in our interactive map to locate an authorized rolair sales or service dealer near you. The rolair service network is. Rolair Compressor Parts Canada.
From www.repairtoolparts.com
Buy rolair AB5PLUS Hand Carry Air Compressors Replacement Tool Parts Rolair Compressor Parts Canada The rolair service network is made up of over 600 independent service centers throughout the united states and canada. Enter your postal code in our interactive map to locate an authorized rolair sales or service dealer near you. Master tool repair is your source for rolair air compressor parts. Acme tools is the premier rolair authorized online retailer. Official parts. Rolair Compressor Parts Canada.
From wirevuiopancreatin.z21.web.core.windows.net
Rol Air Compressor Parts List Rolair Compressor Parts Canada Our distributors have access to a huge variety of rolair repair parts and accessories. Rolair compressor parts & accessories available online at acme tools. Enter your postal code in our interactive map to locate an authorized rolair sales or service dealer near you. Master tool repair is your source for rolair air compressor parts. Our site is easy to shop. Rolair Compressor Parts Canada.
From factoryaircompressorparts.com
ROLAIR 8430HK30 2 STAGE PUMP W/ FLYWHEEL AIR COMPRESSOR PARTS Rolair Compressor Parts Canada Shop for genuine rolair compressor from top manufacturers. Our site is easy to shop and we have online schematics, tech docs and videos available. The rolair service network is made up of over 600 independent service centers throughout the united states and canada. Official parts that fit, repair videos, model diagrams, and the expert advice you need. Find pumps, regulators,. Rolair Compressor Parts Canada.
From factoryaircompressorparts.com
008017000F ROLAIR 12 AMP MANUAL RESET BUTTON Factory Air Compressor Parts Rolair Compressor Parts Canada The rolair service network is made up of over 600 independent service centers throughout the united states and canada. Find pumps, regulators, gaskets, filters, belts, and more for all rolair models. Our distributors have access to a huge variety of rolair repair parts and accessories. Acme tools is the premier rolair authorized online retailer. Master tool repair is your source. Rolair Compressor Parts Canada.