High-Low Pressure Pilot . monitor process or pipeline pressure in high/low pressure shut down installations. the cvs 7970 is a versatile sensor that can be programmed to detect and react to either increasing pressure or decreasing. It is operated by either a hydraulic or. the 4660 high‐low pressure pilot (figure 1) activates emergency shutdown systems for flowlines,.
from www.valveuser.com
the cvs 7970 is a versatile sensor that can be programmed to detect and react to either increasing pressure or decreasing. the 4660 high‐low pressure pilot (figure 1) activates emergency shutdown systems for flowlines,. monitor process or pipeline pressure in high/low pressure shut down installations. It is operated by either a hydraulic or.
Oxford Flow launches two new high and lowpressure Valve
High-Low Pressure Pilot It is operated by either a hydraulic or. the 4660 high‐low pressure pilot (figure 1) activates emergency shutdown systems for flowlines,. monitor process or pipeline pressure in high/low pressure shut down installations. the cvs 7970 is a versatile sensor that can be programmed to detect and react to either increasing pressure or decreasing. It is operated by either a hydraulic or.
From www.weirconcepts.com
Weir Concepts Home High-Low Pressure Pilot monitor process or pipeline pressure in high/low pressure shut down installations. It is operated by either a hydraulic or. the cvs 7970 is a versatile sensor that can be programmed to detect and react to either increasing pressure or decreasing. the 4660 high‐low pressure pilot (figure 1) activates emergency shutdown systems for flowlines,. High-Low Pressure Pilot.
From www.scribd.com
CVS 7970 HighLow Pressure Pilot Feb 2016 PDF Valve Piston High-Low Pressure Pilot the cvs 7970 is a versatile sensor that can be programmed to detect and react to either increasing pressure or decreasing. the 4660 high‐low pressure pilot (figure 1) activates emergency shutdown systems for flowlines,. It is operated by either a hydraulic or. monitor process or pipeline pressure in high/low pressure shut down installations. High-Low Pressure Pilot.
From www.ebay.com
Emerson Fisher Type FS4660XB HighLow Pressure Pilot *NEW* PSIG eBay High-Low Pressure Pilot the 4660 high‐low pressure pilot (figure 1) activates emergency shutdown systems for flowlines,. monitor process or pipeline pressure in high/low pressure shut down installations. It is operated by either a hydraulic or. the cvs 7970 is a versatile sensor that can be programmed to detect and react to either increasing pressure or decreasing. High-Low Pressure Pilot.
From petersoninst.com
HLR Controls, original producer of the 7970 Pressure Pilot High-Low Pressure Pilot It is operated by either a hydraulic or. the cvs 7970 is a versatile sensor that can be programmed to detect and react to either increasing pressure or decreasing. monitor process or pipeline pressure in high/low pressure shut down installations. the 4660 high‐low pressure pilot (figure 1) activates emergency shutdown systems for flowlines,. High-Low Pressure Pilot.
From proportionair.com
RG4918 Pilot Operated Regulators ProportionAir High-Low Pressure Pilot monitor process or pipeline pressure in high/low pressure shut down installations. the 4660 high‐low pressure pilot (figure 1) activates emergency shutdown systems for flowlines,. It is operated by either a hydraulic or. the cvs 7970 is a versatile sensor that can be programmed to detect and react to either increasing pressure or decreasing. High-Low Pressure Pilot.
From dragonproductspes.com
Fisher 4660 High/Low Pressure Pilot w/ Relay High-Low Pressure Pilot It is operated by either a hydraulic or. monitor process or pipeline pressure in high/low pressure shut down installations. the 4660 high‐low pressure pilot (figure 1) activates emergency shutdown systems for flowlines,. the cvs 7970 is a versatile sensor that can be programmed to detect and react to either increasing pressure or decreasing. High-Low Pressure Pilot.
From www.industrialvalvenews.com
Oxford Flow expands its product range and grows market potential with High-Low Pressure Pilot monitor process or pipeline pressure in high/low pressure shut down installations. the cvs 7970 is a versatile sensor that can be programmed to detect and react to either increasing pressure or decreasing. the 4660 high‐low pressure pilot (figure 1) activates emergency shutdown systems for flowlines,. It is operated by either a hydraulic or. High-Low Pressure Pilot.
From yagipipeandsteel.com
Fisher FS4660XF Pneumatic HighLow Pressure Pilot 65 psig YAGI Pipe High-Low Pressure Pilot the cvs 7970 is a versatile sensor that can be programmed to detect and react to either increasing pressure or decreasing. the 4660 high‐low pressure pilot (figure 1) activates emergency shutdown systems for flowlines,. It is operated by either a hydraulic or. monitor process or pipeline pressure in high/low pressure shut down installations. High-Low Pressure Pilot.
From pilotinstitute.com
High vs. LowPressure Systems Explained Pilot Institute High-Low Pressure Pilot the 4660 high‐low pressure pilot (figure 1) activates emergency shutdown systems for flowlines,. the cvs 7970 is a versatile sensor that can be programmed to detect and react to either increasing pressure or decreasing. It is operated by either a hydraulic or. monitor process or pipeline pressure in high/low pressure shut down installations. High-Low Pressure Pilot.
From www.steamsupply.com
SPIRAX SARCO 25P PRESSURE PILOT 59607, BLUE SPRING High-Low Pressure Pilot the 4660 high‐low pressure pilot (figure 1) activates emergency shutdown systems for flowlines,. monitor process or pipeline pressure in high/low pressure shut down installations. the cvs 7970 is a versatile sensor that can be programmed to detect and react to either increasing pressure or decreasing. It is operated by either a hydraulic or. High-Low Pressure Pilot.
From www.ebay.com
Emerson Fisher Type FS4660XB HighLow Pressure Pilot *NEW* PSIG eBay High-Low Pressure Pilot the 4660 high‐low pressure pilot (figure 1) activates emergency shutdown systems for flowlines,. monitor process or pipeline pressure in high/low pressure shut down installations. the cvs 7970 is a versatile sensor that can be programmed to detect and react to either increasing pressure or decreasing. It is operated by either a hydraulic or. High-Low Pressure Pilot.
From kimray.com
Beyond the Basics Pressure Pilots & Relays Kimray High-Low Pressure Pilot It is operated by either a hydraulic or. the 4660 high‐low pressure pilot (figure 1) activates emergency shutdown systems for flowlines,. monitor process or pipeline pressure in high/low pressure shut down installations. the cvs 7970 is a versatile sensor that can be programmed to detect and react to either increasing pressure or decreasing. High-Low Pressure Pilot.
From www.ebay.com
Emerson Fisher Type FS4660XB HighLow Pressure Pilot *NEW* PSIG eBay High-Low Pressure Pilot It is operated by either a hydraulic or. monitor process or pipeline pressure in high/low pressure shut down installations. the 4660 high‐low pressure pilot (figure 1) activates emergency shutdown systems for flowlines,. the cvs 7970 is a versatile sensor that can be programmed to detect and react to either increasing pressure or decreasing. High-Low Pressure Pilot.
From yagipipeandsteel.com
Fisher FS4660XF Pneumatic HighLow Pressure Pilot 65 psig YAGI Pipe High-Low Pressure Pilot It is operated by either a hydraulic or. the cvs 7970 is a versatile sensor that can be programmed to detect and react to either increasing pressure or decreasing. the 4660 high‐low pressure pilot (figure 1) activates emergency shutdown systems for flowlines,. monitor process or pipeline pressure in high/low pressure shut down installations. High-Low Pressure Pilot.
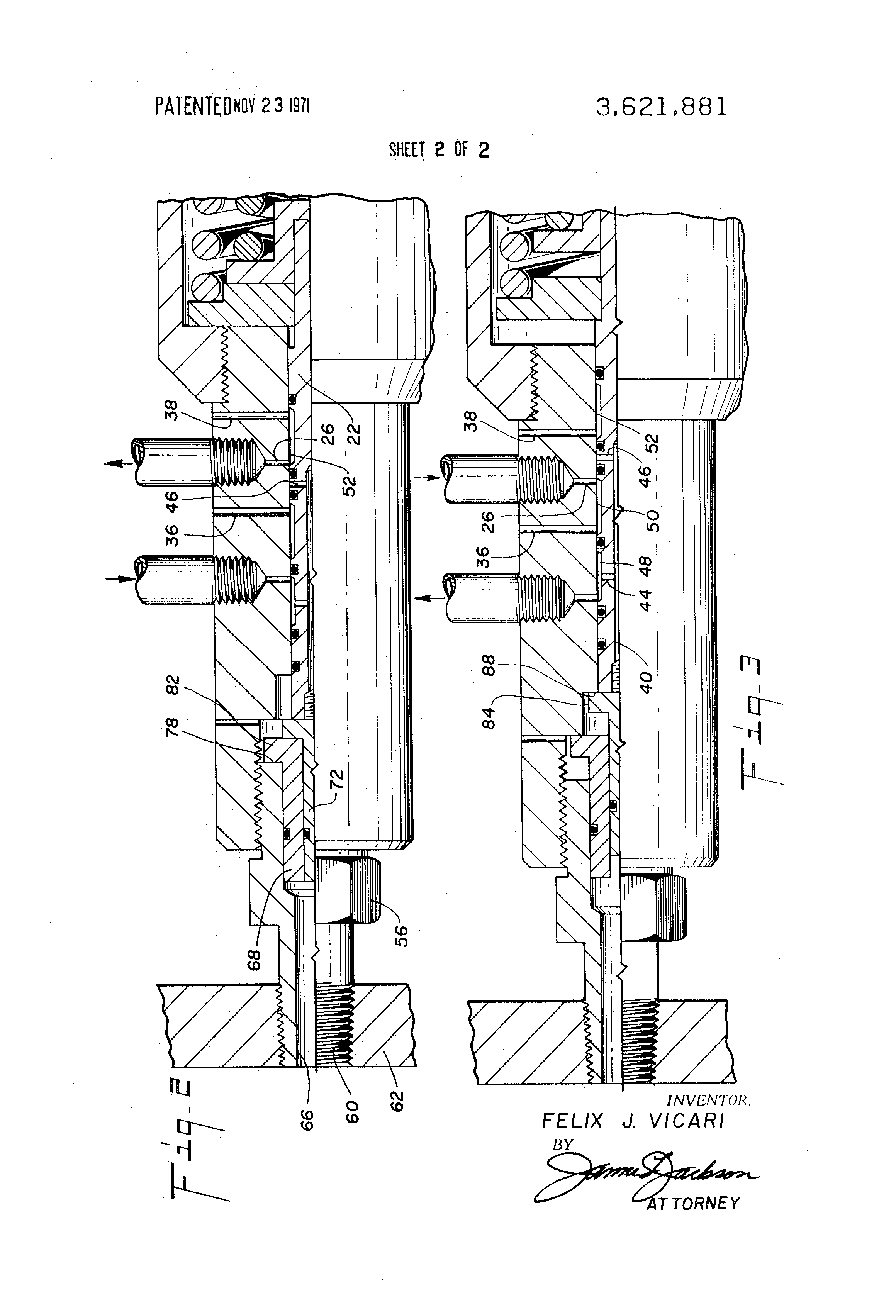
From eureka.patsnap.com
Highlow pressure pilot valve and pipeline highlow pressure emergency High-Low Pressure Pilot the 4660 high‐low pressure pilot (figure 1) activates emergency shutdown systems for flowlines,. It is operated by either a hydraulic or. monitor process or pipeline pressure in high/low pressure shut down installations. the cvs 7970 is a versatile sensor that can be programmed to detect and react to either increasing pressure or decreasing. High-Low Pressure Pilot.
From www.ebay.com
Emerson Fisher Type FS4660XB HighLow Pressure Pilot *NEW* PSIG eBay High-Low Pressure Pilot the cvs 7970 is a versatile sensor that can be programmed to detect and react to either increasing pressure or decreasing. monitor process or pipeline pressure in high/low pressure shut down installations. It is operated by either a hydraulic or. the 4660 high‐low pressure pilot (figure 1) activates emergency shutdown systems for flowlines,. High-Low Pressure Pilot.
From essentialpilot.co.za
Understanding how a Pressure Altimeter works Essential Pilot High-Low Pressure Pilot It is operated by either a hydraulic or. monitor process or pipeline pressure in high/low pressure shut down installations. the cvs 7970 is a versatile sensor that can be programmed to detect and react to either increasing pressure or decreasing. the 4660 high‐low pressure pilot (figure 1) activates emergency shutdown systems for flowlines,. High-Low Pressure Pilot.
From control.com
An Overview of Pilot Valves Technical Articles High-Low Pressure Pilot the cvs 7970 is a versatile sensor that can be programmed to detect and react to either increasing pressure or decreasing. monitor process or pipeline pressure in high/low pressure shut down installations. It is operated by either a hydraulic or. the 4660 high‐low pressure pilot (figure 1) activates emergency shutdown systems for flowlines,. High-Low Pressure Pilot.
From yagipipeandsteel.com
Fisher FS4660XF Pneumatic HighLow Pressure Pilot 65 psig YAGI Pipe High-Low Pressure Pilot the cvs 7970 is a versatile sensor that can be programmed to detect and react to either increasing pressure or decreasing. monitor process or pipeline pressure in high/low pressure shut down installations. It is operated by either a hydraulic or. the 4660 high‐low pressure pilot (figure 1) activates emergency shutdown systems for flowlines,. High-Low Pressure Pilot.
From www.emerson.com
Pressure Relief Valves Emerson IN High-Low Pressure Pilot the 4660 high‐low pressure pilot (figure 1) activates emergency shutdown systems for flowlines,. It is operated by either a hydraulic or. monitor process or pipeline pressure in high/low pressure shut down installations. the cvs 7970 is a versatile sensor that can be programmed to detect and react to either increasing pressure or decreasing. High-Low Pressure Pilot.
From www.valveuser.com
Oxford Flow launches two new high and lowpressure Valve News High-Low Pressure Pilot It is operated by either a hydraulic or. the 4660 high‐low pressure pilot (figure 1) activates emergency shutdown systems for flowlines,. the cvs 7970 is a versatile sensor that can be programmed to detect and react to either increasing pressure or decreasing. monitor process or pipeline pressure in high/low pressure shut down installations. High-Low Pressure Pilot.
From www.scribd.com
Product Bulletin Fisher 4660 High Low Pressure Pilot en 122794 PDF High-Low Pressure Pilot the cvs 7970 is a versatile sensor that can be programmed to detect and react to either increasing pressure or decreasing. the 4660 high‐low pressure pilot (figure 1) activates emergency shutdown systems for flowlines,. It is operated by either a hydraulic or. monitor process or pipeline pressure in high/low pressure shut down installations. High-Low Pressure Pilot.
From www.valveuser.com
Oxford Flow launches two new high and lowpressure Valve High-Low Pressure Pilot monitor process or pipeline pressure in high/low pressure shut down installations. the cvs 7970 is a versatile sensor that can be programmed to detect and react to either increasing pressure or decreasing. It is operated by either a hydraulic or. the 4660 high‐low pressure pilot (figure 1) activates emergency shutdown systems for flowlines,. High-Low Pressure Pilot.
From eureka.patsnap.com
Highlow pressure pilot valve and pipeline highlow pressure emergency High-Low Pressure Pilot It is operated by either a hydraulic or. the 4660 high‐low pressure pilot (figure 1) activates emergency shutdown systems for flowlines,. monitor process or pipeline pressure in high/low pressure shut down installations. the cvs 7970 is a versatile sensor that can be programmed to detect and react to either increasing pressure or decreasing. High-Low Pressure Pilot.
From pilotinstitute.com
High vs. LowPressure Systems Explained Pilot Institute High-Low Pressure Pilot the cvs 7970 is a versatile sensor that can be programmed to detect and react to either increasing pressure or decreasing. monitor process or pipeline pressure in high/low pressure shut down installations. It is operated by either a hydraulic or. the 4660 high‐low pressure pilot (figure 1) activates emergency shutdown systems for flowlines,. High-Low Pressure Pilot.
From hypersanati.ir
Fisher 4660 Pneumatic HighLow Pressure Pilot هایپرصنعتی High-Low Pressure Pilot the cvs 7970 is a versatile sensor that can be programmed to detect and react to either increasing pressure or decreasing. It is operated by either a hydraulic or. monitor process or pipeline pressure in high/low pressure shut down installations. the 4660 high‐low pressure pilot (figure 1) activates emergency shutdown systems for flowlines,. High-Low Pressure Pilot.
From www.flowfitonline.com
Walvoil DF10, Low Pressure Pilot, Type IB2 High-Low Pressure Pilot the cvs 7970 is a versatile sensor that can be programmed to detect and react to either increasing pressure or decreasing. monitor process or pipeline pressure in high/low pressure shut down installations. It is operated by either a hydraulic or. the 4660 high‐low pressure pilot (figure 1) activates emergency shutdown systems for flowlines,. High-Low Pressure Pilot.
From www.scribd.com
brochurebettispressurematicpneumatichydraulichighlowpressure High-Low Pressure Pilot monitor process or pipeline pressure in high/low pressure shut down installations. the cvs 7970 is a versatile sensor that can be programmed to detect and react to either increasing pressure or decreasing. the 4660 high‐low pressure pilot (figure 1) activates emergency shutdown systems for flowlines,. It is operated by either a hydraulic or. High-Low Pressure Pilot.
From yagipipeandsteel.com
Fisher FS4660XF Pneumatic HighLow Pressure Pilot 65 psig YAGI Pipe High-Low Pressure Pilot monitor process or pipeline pressure in high/low pressure shut down installations. It is operated by either a hydraulic or. the cvs 7970 is a versatile sensor that can be programmed to detect and react to either increasing pressure or decreasing. the 4660 high‐low pressure pilot (figure 1) activates emergency shutdown systems for flowlines,. High-Low Pressure Pilot.
From www.youtube.com
How to Operate the Kimray PG Pressure Pilot YouTube High-Low Pressure Pilot the 4660 high‐low pressure pilot (figure 1) activates emergency shutdown systems for flowlines,. monitor process or pipeline pressure in high/low pressure shut down installations. the cvs 7970 is a versatile sensor that can be programmed to detect and react to either increasing pressure or decreasing. It is operated by either a hydraulic or. High-Low Pressure Pilot.
From yagipipeandsteel.com
Fisher FS4660XF Pneumatic HighLow Pressure Pilot 65 psig YAGI Pipe High-Low Pressure Pilot the 4660 high‐low pressure pilot (figure 1) activates emergency shutdown systems for flowlines,. It is operated by either a hydraulic or. the cvs 7970 is a versatile sensor that can be programmed to detect and react to either increasing pressure or decreasing. monitor process or pipeline pressure in high/low pressure shut down installations. High-Low Pressure Pilot.
From www.google.de
Patent US3621881 Highlow pressure pilot valve mechanism Google High-Low Pressure Pilot the cvs 7970 is a versatile sensor that can be programmed to detect and react to either increasing pressure or decreasing. the 4660 high‐low pressure pilot (figure 1) activates emergency shutdown systems for flowlines,. It is operated by either a hydraulic or. monitor process or pipeline pressure in high/low pressure shut down installations. High-Low Pressure Pilot.
From www.scribd.com
Instruction Manual Fisher 4660 High Low Pressure Pilot en 134808 PDF High-Low Pressure Pilot the cvs 7970 is a versatile sensor that can be programmed to detect and react to either increasing pressure or decreasing. It is operated by either a hydraulic or. the 4660 high‐low pressure pilot (figure 1) activates emergency shutdown systems for flowlines,. monitor process or pipeline pressure in high/low pressure shut down installations. High-Low Pressure Pilot.
From www.flowfitonline.com
Walvoil DF5, High Pressure Pilot, Type IA2 Flowfit High-Low Pressure Pilot monitor process or pipeline pressure in high/low pressure shut down installations. It is operated by either a hydraulic or. the 4660 high‐low pressure pilot (figure 1) activates emergency shutdown systems for flowlines,. the cvs 7970 is a versatile sensor that can be programmed to detect and react to either increasing pressure or decreasing. High-Low Pressure Pilot.
From www.ebay.com
Emerson Fisher Type FS4660XB HighLow Pressure Pilot *NEW* PSIG eBay High-Low Pressure Pilot It is operated by either a hydraulic or. monitor process or pipeline pressure in high/low pressure shut down installations. the 4660 high‐low pressure pilot (figure 1) activates emergency shutdown systems for flowlines,. the cvs 7970 is a versatile sensor that can be programmed to detect and react to either increasing pressure or decreasing. High-Low Pressure Pilot.