What Is Roller Delay . From a simplified standpoint, the roller delayed blowback system utilizes recoil to cycle the action by way of rollers located at either side of the bolt. Roller delayed firearms use fixed barrels and, thanks to this simplicity, are more common in modern weapons. The delay allows gas pressure to fall to safe levels prior case extraction and ejection. Of course, there’s a bit more to it than that. For that reason, this article will focus on roller delayed designs, leaving a detailed look at roller lockers for another day. As such, these systems rely on recoil or a gas piston to unlock and cycle the action. The rollers are what create the delay, slowing down the process until the pressure equalizes. Roller delayed blowback originated in the mauser company r&d department when engineers.
from www.vlsi-expert.com
Roller delayed firearms use fixed barrels and, thanks to this simplicity, are more common in modern weapons. For that reason, this article will focus on roller delayed designs, leaving a detailed look at roller lockers for another day. Of course, there’s a bit more to it than that. The delay allows gas pressure to fall to safe levels prior case extraction and ejection. The rollers are what create the delay, slowing down the process until the pressure equalizes. As such, these systems rely on recoil or a gas piston to unlock and cycle the action. Roller delayed blowback originated in the mauser company r&d department when engineers. From a simplified standpoint, the roller delayed blowback system utilizes recoil to cycle the action by way of rollers located at either side of the bolt.
"Delay Timing path Delay" Static Timing Analysis (STA) basic (Part
What Is Roller Delay Roller delayed blowback originated in the mauser company r&d department when engineers. From a simplified standpoint, the roller delayed blowback system utilizes recoil to cycle the action by way of rollers located at either side of the bolt. Roller delayed blowback originated in the mauser company r&d department when engineers. Roller delayed firearms use fixed barrels and, thanks to this simplicity, are more common in modern weapons. For that reason, this article will focus on roller delayed designs, leaving a detailed look at roller lockers for another day. Of course, there’s a bit more to it than that. As such, these systems rely on recoil or a gas piston to unlock and cycle the action. The rollers are what create the delay, slowing down the process until the pressure equalizes. The delay allows gas pressure to fall to safe levels prior case extraction and ejection.
From allynarms.com
Paddle Release Drilling Jig For HK Roller Delay Rifles Allyn Arms What Is Roller Delay The rollers are what create the delay, slowing down the process until the pressure equalizes. As such, these systems rely on recoil or a gas piston to unlock and cycle the action. Of course, there’s a bit more to it than that. Roller delayed blowback originated in the mauser company r&d department when engineers. For that reason, this article will. What Is Roller Delay.
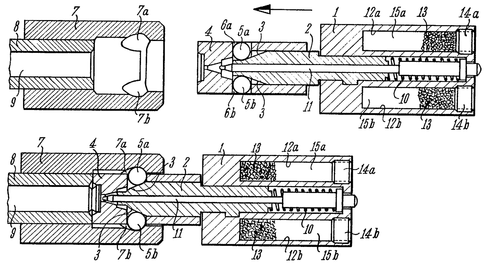
From mavink.com
Mp5 Roller Delayed Blowback What Is Roller Delay Of course, there’s a bit more to it than that. The rollers are what create the delay, slowing down the process until the pressure equalizes. The delay allows gas pressure to fall to safe levels prior case extraction and ejection. From a simplified standpoint, the roller delayed blowback system utilizes recoil to cycle the action by way of rollers located. What Is Roller Delay.
From www.ar15.com
MEAN Arms Roller Delay System What Is Roller Delay Roller delayed blowback originated in the mauser company r&d department when engineers. Roller delayed firearms use fixed barrels and, thanks to this simplicity, are more common in modern weapons. The delay allows gas pressure to fall to safe levels prior case extraction and ejection. As such, these systems rely on recoil or a gas piston to unlock and cycle the. What Is Roller Delay.
From www.youtube.com
ZS roller delay system! by 3d Defense! YouTube What Is Roller Delay Of course, there’s a bit more to it than that. As such, these systems rely on recoil or a gas piston to unlock and cycle the action. Roller delayed blowback originated in the mauser company r&d department when engineers. Roller delayed firearms use fixed barrels and, thanks to this simplicity, are more common in modern weapons. The rollers are what. What Is Roller Delay.
From www.forgottenweapons.com
SIG PE57 Swiss RollerDelay! (Video) Weapons What Is Roller Delay As such, these systems rely on recoil or a gas piston to unlock and cycle the action. From a simplified standpoint, the roller delayed blowback system utilizes recoil to cycle the action by way of rollers located at either side of the bolt. For that reason, this article will focus on roller delayed designs, leaving a detailed look at roller. What Is Roller Delay.
From www.russomusic.com
Classic Audio Transponder Digital Delay, Roller Used What Is Roller Delay From a simplified standpoint, the roller delayed blowback system utilizes recoil to cycle the action by way of rollers located at either side of the bolt. For that reason, this article will focus on roller delayed designs, leaving a detailed look at roller lockers for another day. Roller delayed firearms use fixed barrels and, thanks to this simplicity, are more. What Is Roller Delay.
From www.sdi.edu
Inside the MP5, the History and Function of RollerDelay What Is Roller Delay From a simplified standpoint, the roller delayed blowback system utilizes recoil to cycle the action by way of rollers located at either side of the bolt. As such, these systems rely on recoil or a gas piston to unlock and cycle the action. Roller delayed firearms use fixed barrels and, thanks to this simplicity, are more common in modern weapons.. What Is Roller Delay.
From www.russomusic.com
Classic Audio Transponder Digital Delay, Roller Used What Is Roller Delay The rollers are what create the delay, slowing down the process until the pressure equalizes. Roller delayed blowback originated in the mauser company r&d department when engineers. The delay allows gas pressure to fall to safe levels prior case extraction and ejection. For that reason, this article will focus on roller delayed designs, leaving a detailed look at roller lockers. What Is Roller Delay.
From www.reddit.com
Roller delay gang r/milsurp What Is Roller Delay For that reason, this article will focus on roller delayed designs, leaving a detailed look at roller lockers for another day. Roller delayed blowback originated in the mauser company r&d department when engineers. The rollers are what create the delay, slowing down the process until the pressure equalizes. Of course, there’s a bit more to it than that. The delay. What Is Roller Delay.
From electricalacademia.com
Time Delay Relay ON Delay Timer OFF Delay Timer Electrical Academia What Is Roller Delay Of course, there’s a bit more to it than that. Roller delayed blowback originated in the mauser company r&d department when engineers. The delay allows gas pressure to fall to safe levels prior case extraction and ejection. Roller delayed firearms use fixed barrels and, thanks to this simplicity, are more common in modern weapons. From a simplified standpoint, the roller. What Is Roller Delay.
From www.pedal-of-the-day.com
Classic Audio Effects Transponder Delay Roller Pedal of the Day What Is Roller Delay The delay allows gas pressure to fall to safe levels prior case extraction and ejection. The rollers are what create the delay, slowing down the process until the pressure equalizes. As such, these systems rely on recoil or a gas piston to unlock and cycle the action. Roller delayed blowback originated in the mauser company r&d department when engineers. Of. What Is Roller Delay.
From www.bartleby.com
Transmission Delay bartleby What Is Roller Delay The rollers are what create the delay, slowing down the process until the pressure equalizes. From a simplified standpoint, the roller delayed blowback system utilizes recoil to cycle the action by way of rollers located at either side of the bolt. The delay allows gas pressure to fall to safe levels prior case extraction and ejection. Roller delayed blowback originated. What Is Roller Delay.
From www.youtube.com
delayed roller blowback operation.wmv YouTube What Is Roller Delay Roller delayed blowback originated in the mauser company r&d department when engineers. From a simplified standpoint, the roller delayed blowback system utilizes recoil to cycle the action by way of rollers located at either side of the bolt. The delay allows gas pressure to fall to safe levels prior case extraction and ejection. As such, these systems rely on recoil. What Is Roller Delay.
From www.walmart.com
Oily Skin Roller Delay Summer Skin Care Trendy Makeup Products Super C What Is Roller Delay As such, these systems rely on recoil or a gas piston to unlock and cycle the action. Roller delayed blowback originated in the mauser company r&d department when engineers. For that reason, this article will focus on roller delayed designs, leaving a detailed look at roller lockers for another day. The delay allows gas pressure to fall to safe levels. What Is Roller Delay.
From producerhive.com
The Definitive Delay Guide 10 Delay Types & Their Uses What Is Roller Delay Of course, there’s a bit more to it than that. From a simplified standpoint, the roller delayed blowback system utilizes recoil to cycle the action by way of rollers located at either side of the bolt. Roller delayed blowback originated in the mauser company r&d department when engineers. For that reason, this article will focus on roller delayed designs, leaving. What Is Roller Delay.
From angstadtarms.com
Roller Delayed AR9 Upper Receiver, MDP9 GEN2 Angstadt Arms What Is Roller Delay Roller delayed firearms use fixed barrels and, thanks to this simplicity, are more common in modern weapons. As such, these systems rely on recoil or a gas piston to unlock and cycle the action. Of course, there’s a bit more to it than that. The rollers are what create the delay, slowing down the process until the pressure equalizes. From. What Is Roller Delay.
From allynarms.com
Paddle Release Drilling Jig For HK Roller Delay Rifles Allyn Arms What Is Roller Delay Roller delayed blowback originated in the mauser company r&d department when engineers. The rollers are what create the delay, slowing down the process until the pressure equalizes. For that reason, this article will focus on roller delayed designs, leaving a detailed look at roller lockers for another day. From a simplified standpoint, the roller delayed blowback system utilizes recoil to. What Is Roller Delay.
From www.pikpng.com
Roller Delayed Blowback Operated Breech For Automatic Blowback With What Is Roller Delay As such, these systems rely on recoil or a gas piston to unlock and cycle the action. For that reason, this article will focus on roller delayed designs, leaving a detailed look at roller lockers for another day. Roller delayed firearms use fixed barrels and, thanks to this simplicity, are more common in modern weapons. Roller delayed blowback originated in. What Is Roller Delay.
From www.forgottenweapons.com
How Does It Work Roller Delayed Blowback Weapons What Is Roller Delay The rollers are what create the delay, slowing down the process until the pressure equalizes. As such, these systems rely on recoil or a gas piston to unlock and cycle the action. Of course, there’s a bit more to it than that. Roller delayed firearms use fixed barrels and, thanks to this simplicity, are more common in modern weapons. From. What Is Roller Delay.
From www.pewpewtactical.com
11 Best RollerDelayed Subguns & Rifles Pew Pew Tactical What Is Roller Delay As such, these systems rely on recoil or a gas piston to unlock and cycle the action. Roller delayed blowback originated in the mauser company r&d department when engineers. For that reason, this article will focus on roller delayed designs, leaving a detailed look at roller lockers for another day. The delay allows gas pressure to fall to safe levels. What Is Roller Delay.
From www.vlsi-expert.com
"Delay Timing path Delay" Static Timing Analysis (STA) basic (Part What Is Roller Delay The delay allows gas pressure to fall to safe levels prior case extraction and ejection. From a simplified standpoint, the roller delayed blowback system utilizes recoil to cycle the action by way of rollers located at either side of the bolt. The rollers are what create the delay, slowing down the process until the pressure equalizes. Of course, there’s a. What Is Roller Delay.
From www.youtube.com
Troubleshooting a Locked HK Style RollerDelayed Bolt YouTube What Is Roller Delay Roller delayed blowback originated in the mauser company r&d department when engineers. As such, these systems rely on recoil or a gas piston to unlock and cycle the action. For that reason, this article will focus on roller delayed designs, leaving a detailed look at roller lockers for another day. Roller delayed firearms use fixed barrels and, thanks to this. What Is Roller Delay.
From reverb.com
Classic Audio Effects Transponder Delay Roller Reverb What Is Roller Delay As such, these systems rely on recoil or a gas piston to unlock and cycle the action. The delay allows gas pressure to fall to safe levels prior case extraction and ejection. The rollers are what create the delay, slowing down the process until the pressure equalizes. Roller delayed blowback originated in the mauser company r&d department when engineers. Of. What Is Roller Delay.
From gunmagwarehouse.com
Roller Delayed Blowback System A Detailed Look The Mag Life What Is Roller Delay Roller delayed blowback originated in the mauser company r&d department when engineers. The delay allows gas pressure to fall to safe levels prior case extraction and ejection. Of course, there’s a bit more to it than that. The rollers are what create the delay, slowing down the process until the pressure equalizes. As such, these systems rely on recoil or. What Is Roller Delay.
From internationalsportsman.com
How RollerDelayed Firearms Work and Why it Matters What Is Roller Delay Roller delayed blowback originated in the mauser company r&d department when engineers. As such, these systems rely on recoil or a gas piston to unlock and cycle the action. Roller delayed firearms use fixed barrels and, thanks to this simplicity, are more common in modern weapons. Of course, there’s a bit more to it than that. For that reason, this. What Is Roller Delay.
From www.shootersconnectionstore.com
Scheel MFG RollerDelayed Buffer System Complete System What Is Roller Delay Roller delayed blowback originated in the mauser company r&d department when engineers. The rollers are what create the delay, slowing down the process until the pressure equalizes. From a simplified standpoint, the roller delayed blowback system utilizes recoil to cycle the action by way of rollers located at either side of the bolt. For that reason, this article will focus. What Is Roller Delay.
From www.youtube.com
Pallet Roller Flow Time delay principle YouTube What Is Roller Delay For that reason, this article will focus on roller delayed designs, leaving a detailed look at roller lockers for another day. The delay allows gas pressure to fall to safe levels prior case extraction and ejection. The rollers are what create the delay, slowing down the process until the pressure equalizes. Roller delayed firearms use fixed barrels and, thanks to. What Is Roller Delay.
From www.rainierarms.com
Maxim Defense CQB Roller Delay Buffer System What Is Roller Delay From a simplified standpoint, the roller delayed blowback system utilizes recoil to cycle the action by way of rollers located at either side of the bolt. Roller delayed firearms use fixed barrels and, thanks to this simplicity, are more common in modern weapons. The rollers are what create the delay, slowing down the process until the pressure equalizes. Roller delayed. What Is Roller Delay.
From allynarms.com
Paddle Release Drilling Jig For HK Roller Delay Rifles Allyn Arms What Is Roller Delay Roller delayed firearms use fixed barrels and, thanks to this simplicity, are more common in modern weapons. Of course, there’s a bit more to it than that. From a simplified standpoint, the roller delayed blowback system utilizes recoil to cycle the action by way of rollers located at either side of the bolt. For that reason, this article will focus. What Is Roller Delay.
From www.youtube.com
Delay Timers Explained Which One Should You Use? YouTube What Is Roller Delay Roller delayed firearms use fixed barrels and, thanks to this simplicity, are more common in modern weapons. As such, these systems rely on recoil or a gas piston to unlock and cycle the action. Roller delayed blowback originated in the mauser company r&d department when engineers. The delay allows gas pressure to fall to safe levels prior case extraction and. What Is Roller Delay.
From ecooking.com
Derma Roller delay signs of aging Ecooking What Is Roller Delay Roller delayed blowback originated in the mauser company r&d department when engineers. Of course, there’s a bit more to it than that. From a simplified standpoint, the roller delayed blowback system utilizes recoil to cycle the action by way of rollers located at either side of the bolt. The rollers are what create the delay, slowing down the process until. What Is Roller Delay.
From www.electricalvolt.com
What is a On Delay Timer? Its Working Electrical Volt What Is Roller Delay The rollers are what create the delay, slowing down the process until the pressure equalizes. The delay allows gas pressure to fall to safe levels prior case extraction and ejection. For that reason, this article will focus on roller delayed designs, leaving a detailed look at roller lockers for another day. Roller delayed blowback originated in the mauser company r&d. What Is Roller Delay.
From contractbites.com
How to select the best delay analysis technique? Contract Bites What Is Roller Delay Roller delayed firearms use fixed barrels and, thanks to this simplicity, are more common in modern weapons. Of course, there’s a bit more to it than that. The delay allows gas pressure to fall to safe levels prior case extraction and ejection. For that reason, this article will focus on roller delayed designs, leaving a detailed look at roller lockers. What Is Roller Delay.
From www.thefirearmblog.com
[SHOT 2018] FIRST LOOK The New PTR 9C And 9CT Roller Delayed Pistol What Is Roller Delay Roller delayed blowback originated in the mauser company r&d department when engineers. Of course, there’s a bit more to it than that. Roller delayed firearms use fixed barrels and, thanks to this simplicity, are more common in modern weapons. The delay allows gas pressure to fall to safe levels prior case extraction and ejection. The rollers are what create the. What Is Roller Delay.
From sosteneslekule.blogspot.com
Ladder Logic Examples and PLC Programming Examples LEKULE What Is Roller Delay The rollers are what create the delay, slowing down the process until the pressure equalizes. Roller delayed firearms use fixed barrels and, thanks to this simplicity, are more common in modern weapons. For that reason, this article will focus on roller delayed designs, leaving a detailed look at roller lockers for another day. Of course, there’s a bit more to. What Is Roller Delay.