Paint Brush Cover Patent . The cover is formed from a planar sheet of liquid. The device of the present invention is a durable yet lightweight paint brush cover which can be used to cover paint brushes of multiple sizes. 6,675,966 to ray discloses a paintbrush cover or “shuck” made from panels: This invention relates to a paint brush cover and more specifically to a paint brush cover adapted to protect the paint brush from contact with. A paint brush cover which will protect the bristles of a paint brush after it has been used. A paint brush cover which will protect the bristles of a paint brush after it has been used. A paint brush protective cover for a paint brush includes a jacket which provides for wet media storage and safe transportation and extends the. A paint brush cover has a bottom opening; This invention relates to paint brushes and, more specifically, to a highly durable paint brush protective cover that protects the. A back panel, a bottom panel, a. The cover is formed from a planar sheet of liquid.
from www.etsy.com
The cover is formed from a planar sheet of liquid. This invention relates to a paint brush cover and more specifically to a paint brush cover adapted to protect the paint brush from contact with. 6,675,966 to ray discloses a paintbrush cover or “shuck” made from panels: The device of the present invention is a durable yet lightweight paint brush cover which can be used to cover paint brushes of multiple sizes. A back panel, a bottom panel, a. A paint brush cover which will protect the bristles of a paint brush after it has been used. This invention relates to paint brushes and, more specifically, to a highly durable paint brush protective cover that protects the. The cover is formed from a planar sheet of liquid. A paint brush cover which will protect the bristles of a paint brush after it has been used. A paint brush cover has a bottom opening;
Retro 1873 paint Brushes Vintage Patent Illustration, Art Print Poster
Paint Brush Cover Patent A paint brush cover has a bottom opening; 6,675,966 to ray discloses a paintbrush cover or “shuck” made from panels: A paint brush cover has a bottom opening; A paint brush cover which will protect the bristles of a paint brush after it has been used. A back panel, a bottom panel, a. A paint brush cover which will protect the bristles of a paint brush after it has been used. This invention relates to a paint brush cover and more specifically to a paint brush cover adapted to protect the paint brush from contact with. The cover is formed from a planar sheet of liquid. The cover is formed from a planar sheet of liquid. This invention relates to paint brushes and, more specifically, to a highly durable paint brush protective cover that protects the. The device of the present invention is a durable yet lightweight paint brush cover which can be used to cover paint brushes of multiple sizes. A paint brush protective cover for a paint brush includes a jacket which provides for wet media storage and safe transportation and extends the.
From fineartamerica.com
1940 Paint Brush Patent Drawing by Dan Sproul Fine Art America Paint Brush Cover Patent A paint brush cover has a bottom opening; The cover is formed from a planar sheet of liquid. 6,675,966 to ray discloses a paintbrush cover or “shuck” made from panels: A paint brush cover which will protect the bristles of a paint brush after it has been used. The device of the present invention is a durable yet lightweight paint. Paint Brush Cover Patent.
From www.zazzle.com
Paint Brushes 1873 Patent Art Old Peper Poster Zazzle Paint Brush Cover Patent The device of the present invention is a durable yet lightweight paint brush cover which can be used to cover paint brushes of multiple sizes. The cover is formed from a planar sheet of liquid. A paint brush protective cover for a paint brush includes a jacket which provides for wet media storage and safe transportation and extends the. A. Paint Brush Cover Patent.
From www.etsy.com
Paint Brushes Patent Print 1873 Poster Wall Art Etsy Paint Brush Cover Patent A paint brush cover has a bottom opening; This invention relates to a paint brush cover and more specifically to a paint brush cover adapted to protect the paint brush from contact with. A back panel, a bottom panel, a. 6,675,966 to ray discloses a paintbrush cover or “shuck” made from panels: This invention relates to paint brushes and, more. Paint Brush Cover Patent.
From fineartamerica.com
Brush Patent 007 Digital Art by Edit Voros Fine Art America Paint Brush Cover Patent The cover is formed from a planar sheet of liquid. A paint brush cover which will protect the bristles of a paint brush after it has been used. The device of the present invention is a durable yet lightweight paint brush cover which can be used to cover paint brushes of multiple sizes. A paint brush cover which will protect. Paint Brush Cover Patent.
From pixels.com
PAINT BRUSH patent Digital Art by Dennson Creative Pixels Paint Brush Cover Patent A paint brush cover has a bottom opening; This invention relates to a paint brush cover and more specifically to a paint brush cover adapted to protect the paint brush from contact with. This invention relates to paint brushes and, more specifically, to a highly durable paint brush protective cover that protects the. The device of the present invention is. Paint Brush Cover Patent.
From www.google.com
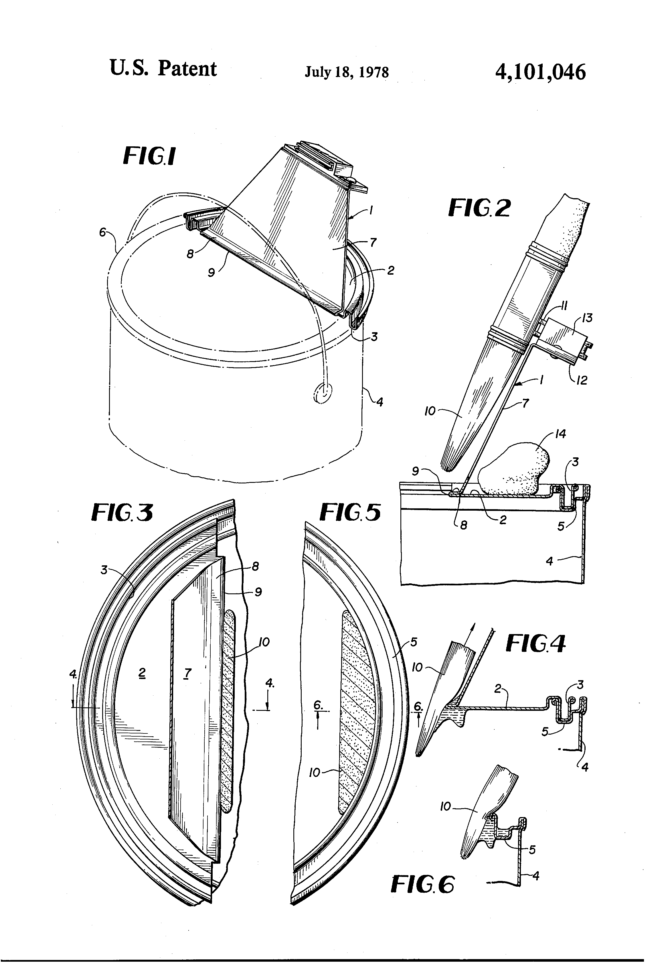
Patent US4101046 Paint brush holder Google Patents Paint Brush Cover Patent The cover is formed from a planar sheet of liquid. A paint brush cover has a bottom opening; A paint brush cover which will protect the bristles of a paint brush after it has been used. 6,675,966 to ray discloses a paintbrush cover or “shuck” made from panels: This invention relates to paint brushes and, more specifically, to a highly. Paint Brush Cover Patent.
From www.google.hu
Patent US2763884 Paint brush having a removable head Google Patents Paint Brush Cover Patent The device of the present invention is a durable yet lightweight paint brush cover which can be used to cover paint brushes of multiple sizes. 6,675,966 to ray discloses a paintbrush cover or “shuck” made from panels: This invention relates to paint brushes and, more specifically, to a highly durable paint brush protective cover that protects the. A paint brush. Paint Brush Cover Patent.
From www.etsy.com
Paint Brushes Patent Print Poster 1873 Historical Vintage Etsy Paint Brush Cover Patent A paint brush cover which will protect the bristles of a paint brush after it has been used. This invention relates to a paint brush cover and more specifically to a paint brush cover adapted to protect the paint brush from contact with. The device of the present invention is a durable yet lightweight paint brush cover which can be. Paint Brush Cover Patent.
From pixels.com
Vintage Paint Brush Patent Digital Art by Dan Sproul Paint Brush Cover Patent This invention relates to a paint brush cover and more specifically to a paint brush cover adapted to protect the paint brush from contact with. This invention relates to paint brushes and, more specifically, to a highly durable paint brush protective cover that protects the. 6,675,966 to ray discloses a paintbrush cover or “shuck” made from panels: The cover is. Paint Brush Cover Patent.
From www.google.com
Patent US1587481 Paintbrush Google Patents Paint Brush Cover Patent This invention relates to paint brushes and, more specifically, to a highly durable paint brush protective cover that protects the. A paint brush cover which will protect the bristles of a paint brush after it has been used. The cover is formed from a planar sheet of liquid. This invention relates to a paint brush cover and more specifically to. Paint Brush Cover Patent.
From fineartamerica.com
Paint brushes Patent from 1873 Light Blue Digital Art by Aged Pixel Paint Brush Cover Patent A paint brush protective cover for a paint brush includes a jacket which provides for wet media storage and safe transportation and extends the. The device of the present invention is a durable yet lightweight paint brush cover which can be used to cover paint brushes of multiple sizes. A back panel, a bottom panel, a. 6,675,966 to ray discloses. Paint Brush Cover Patent.
From www.google.com
Patent US1038376 Selffeeding paintbrush. Google Patents Paint Brush Cover Patent The device of the present invention is a durable yet lightweight paint brush cover which can be used to cover paint brushes of multiple sizes. A paint brush protective cover for a paint brush includes a jacket which provides for wet media storage and safe transportation and extends the. This invention relates to paint brushes and, more specifically, to a. Paint Brush Cover Patent.
From fineartamerica.com
Brush Patent 007 Digital Art by Edit Voros Fine Art America Paint Brush Cover Patent A paint brush cover which will protect the bristles of a paint brush after it has been used. The cover is formed from a planar sheet of liquid. A paint brush protective cover for a paint brush includes a jacket which provides for wet media storage and safe transportation and extends the. A paint brush cover which will protect the. Paint Brush Cover Patent.
From www.google.com
Patent US2943341 Paint brush Google Patents Paint Brush Cover Patent The cover is formed from a planar sheet of liquid. A paint brush cover has a bottom opening; The cover is formed from a planar sheet of liquid. A paint brush cover which will protect the bristles of a paint brush after it has been used. This invention relates to a paint brush cover and more specifically to a paint. Paint Brush Cover Patent.
From todayspatent.com
TODAYS PATENT PAINT BRUSH Patent Blog Paint Brush Cover Patent A paint brush protective cover for a paint brush includes a jacket which provides for wet media storage and safe transportation and extends the. A paint brush cover has a bottom opening; A paint brush cover which will protect the bristles of a paint brush after it has been used. A paint brush cover which will protect the bristles of. Paint Brush Cover Patent.
From www.etsy.com
Paint Brush Patent Print Steampunk Art Poster Etsy Paint Brush Cover Patent A paint brush cover has a bottom opening; The cover is formed from a planar sheet of liquid. The device of the present invention is a durable yet lightweight paint brush cover which can be used to cover paint brushes of multiple sizes. This invention relates to a paint brush cover and more specifically to a paint brush cover adapted. Paint Brush Cover Patent.
From fineartamerica.com
Paint brush vintage patent Digital Art by Dennson Creative Fine Art Paint Brush Cover Patent A paint brush cover which will protect the bristles of a paint brush after it has been used. A paint brush cover which will protect the bristles of a paint brush after it has been used. 6,675,966 to ray discloses a paintbrush cover or “shuck” made from panels: The cover is formed from a planar sheet of liquid. This invention. Paint Brush Cover Patent.
From pixels.com
Paint brush patent Digital Art by Dennson Creative Pixels Paint Brush Cover Patent The cover is formed from a planar sheet of liquid. A paint brush protective cover for a paint brush includes a jacket which provides for wet media storage and safe transportation and extends the. This invention relates to a paint brush cover and more specifically to a paint brush cover adapted to protect the paint brush from contact with. 6,675,966. Paint Brush Cover Patent.
From www.etsy.com
Paint Brush Patent Print Steampunk Art Poster Etsy Paint Brush Cover Patent The cover is formed from a planar sheet of liquid. A paint brush cover which will protect the bristles of a paint brush after it has been used. A paint brush protective cover for a paint brush includes a jacket which provides for wet media storage and safe transportation and extends the. 6,675,966 to ray discloses a paintbrush cover or. Paint Brush Cover Patent.
From www.etsy.com
Paint Brushes Patent Print 1873 Poster Wall Art Etsy Paint Brush Cover Patent The cover is formed from a planar sheet of liquid. The device of the present invention is a durable yet lightweight paint brush cover which can be used to cover paint brushes of multiple sizes. A paint brush cover has a bottom opening; A paint brush cover which will protect the bristles of a paint brush after it has been. Paint Brush Cover Patent.
From www.etsy.com
Paint Brushes Patent Print Poster 1873 Historical Vintage Wall Art Paint Brush Cover Patent A paint brush protective cover for a paint brush includes a jacket which provides for wet media storage and safe transportation and extends the. A back panel, a bottom panel, a. The cover is formed from a planar sheet of liquid. A paint brush cover has a bottom opening; 6,675,966 to ray discloses a paintbrush cover or “shuck” made from. Paint Brush Cover Patent.
From www.etsy.com
Patent 1868 Paint Brushes Art Print Designed by Joseph Moore Etsy Paint Brush Cover Patent A paint brush protective cover for a paint brush includes a jacket which provides for wet media storage and safe transportation and extends the. The device of the present invention is a durable yet lightweight paint brush cover which can be used to cover paint brushes of multiple sizes. The cover is formed from a planar sheet of liquid. A. Paint Brush Cover Patent.
From www.etsy.com
Retro 1873 paint Brushes Vintage Patent Illustration, Art Print Poster Paint Brush Cover Patent This invention relates to paint brushes and, more specifically, to a highly durable paint brush protective cover that protects the. This invention relates to a paint brush cover and more specifically to a paint brush cover adapted to protect the paint brush from contact with. 6,675,966 to ray discloses a paintbrush cover or “shuck” made from panels: A paint brush. Paint Brush Cover Patent.
From www.zazzle.com
Paint Brushes 1873 Patent Art Old Peper Poster Zazzle Paint Brush Cover Patent A paint brush protective cover for a paint brush includes a jacket which provides for wet media storage and safe transportation and extends the. 6,675,966 to ray discloses a paintbrush cover or “shuck” made from panels: A paint brush cover which will protect the bristles of a paint brush after it has been used. The cover is formed from a. Paint Brush Cover Patent.
From www.etsy.com
Retro 1873 paint Brushes Vintage Patent Illustration, Art Print Poster Paint Brush Cover Patent This invention relates to a paint brush cover and more specifically to a paint brush cover adapted to protect the paint brush from contact with. A paint brush protective cover for a paint brush includes a jacket which provides for wet media storage and safe transportation and extends the. A paint brush cover which will protect the bristles of a. Paint Brush Cover Patent.
From fineartamerica.com
Paintbrush Patent Drawing 1b Mixed Media by Brian Reaves Fine Art America Paint Brush Cover Patent This invention relates to paint brushes and, more specifically, to a highly durable paint brush protective cover that protects the. The device of the present invention is a durable yet lightweight paint brush cover which can be used to cover paint brushes of multiple sizes. This invention relates to a paint brush cover and more specifically to a paint brush. Paint Brush Cover Patent.
From www.google.com
Patent US3981399 Apparatus for holding a paint brush Google Patents Paint Brush Cover Patent The cover is formed from a planar sheet of liquid. A paint brush cover has a bottom opening; A paint brush cover which will protect the bristles of a paint brush after it has been used. A paint brush cover which will protect the bristles of a paint brush after it has been used. The device of the present invention. Paint Brush Cover Patent.
From www.etsy.com
Paint Brushes Patent Print 1873 Poster Wall Art Etsy Paint Brush Cover Patent A paint brush cover has a bottom opening; The device of the present invention is a durable yet lightweight paint brush cover which can be used to cover paint brushes of multiple sizes. This invention relates to paint brushes and, more specifically, to a highly durable paint brush protective cover that protects the. The cover is formed from a planar. Paint Brush Cover Patent.
From www.google.com
Patent US2723826 Paint brush supporting device Google Patents Paint Brush Cover Patent This invention relates to paint brushes and, more specifically, to a highly durable paint brush protective cover that protects the. 6,675,966 to ray discloses a paintbrush cover or “shuck” made from panels: This invention relates to a paint brush cover and more specifically to a paint brush cover adapted to protect the paint brush from contact with. A paint brush. Paint Brush Cover Patent.
From www.google.com
Patent US4469223 Paint brushes Google Patents Paint Brush Cover Patent A paint brush cover which will protect the bristles of a paint brush after it has been used. The cover is formed from a planar sheet of liquid. This invention relates to paint brushes and, more specifically, to a highly durable paint brush protective cover that protects the. The device of the present invention is a durable yet lightweight paint. Paint Brush Cover Patent.
From www.google.de
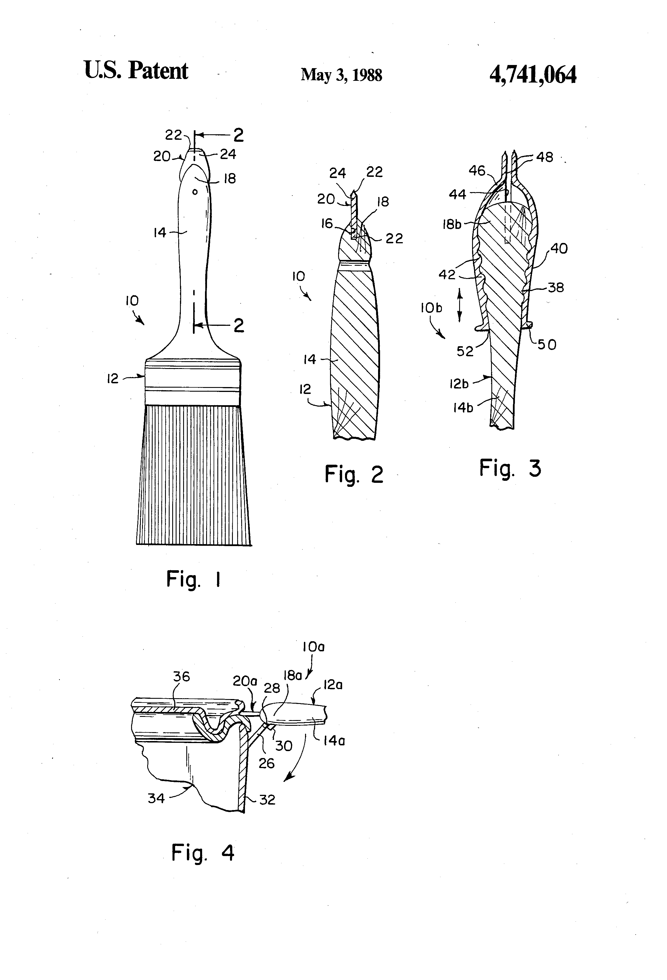
Patent US4741064 Combination paint brush/paint can opener/scraper Paint Brush Cover Patent The cover is formed from a planar sheet of liquid. This invention relates to a paint brush cover and more specifically to a paint brush cover adapted to protect the paint brush from contact with. This invention relates to paint brushes and, more specifically, to a highly durable paint brush protective cover that protects the. 6,675,966 to ray discloses a. Paint Brush Cover Patent.
From www.etsy.com
Paint Brushes Patent Print 1873 Poster Wall Art Etsy Paint Brush Cover Patent The cover is formed from a planar sheet of liquid. The device of the present invention is a durable yet lightweight paint brush cover which can be used to cover paint brushes of multiple sizes. A paint brush protective cover for a paint brush includes a jacket which provides for wet media storage and safe transportation and extends the. A. Paint Brush Cover Patent.
From www.google.com
Patent US1202355 Paintbrush container. Google Patents Paint Brush Cover Patent A paint brush cover which will protect the bristles of a paint brush after it has been used. The cover is formed from a planar sheet of liquid. The device of the present invention is a durable yet lightweight paint brush cover which can be used to cover paint brushes of multiple sizes. This invention relates to paint brushes and,. Paint Brush Cover Patent.
From decoryourhome.store
Paint Brush Patent Print, Paint Brush, Paint Brush, Brush Print Paint Brush Cover Patent A paint brush cover has a bottom opening; The cover is formed from a planar sheet of liquid. A paint brush cover which will protect the bristles of a paint brush after it has been used. A paint brush cover which will protect the bristles of a paint brush after it has been used. The cover is formed from a. Paint Brush Cover Patent.
From www.google.com
Patent US2945251 Paint brush holding device Google Patents Paint Brush Cover Patent The cover is formed from a planar sheet of liquid. A paint brush protective cover for a paint brush includes a jacket which provides for wet media storage and safe transportation and extends the. A paint brush cover has a bottom opening; The cover is formed from a planar sheet of liquid. A paint brush cover which will protect the. Paint Brush Cover Patent.