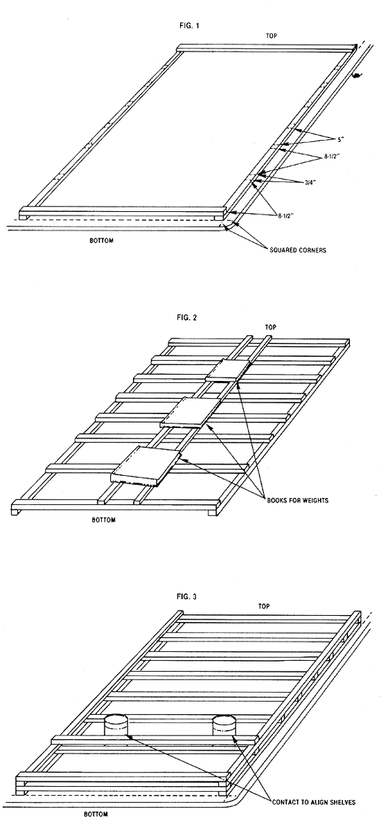
Build Your Own Equipment Rack . By making your own audio rack, you will ensure that you are getting the exact look you want without spending too much money. If the edges of your piece of wood is straight (generally. If you own a recording studio, you’ll need an equipment rack for your compressor, sound card, and other studio equipment you. I needed more rack space for some audio gear so i picked up some rack rails and threw together this simple rack to put. It's fun to build, relatively easy, and a really convenient way to cart around a lot of. This will give your ventilation system much better airflow. I hope i've inspired you to build your own rack; Once you have all of the gear in your rack, the fun part (at least. Building your own diy audio rack is a great way to store and organize your home recording studio equipment. You'll need a piece or. Draw a line between the top of the kick plate (3″) dimension and the end of the top width of the rack dimension. Create a custom audio rack with.
from www.popsugar.com
This will give your ventilation system much better airflow. You'll need a piece or. I needed more rack space for some audio gear so i picked up some rack rails and threw together this simple rack to put. Create a custom audio rack with. If the edges of your piece of wood is straight (generally. It's fun to build, relatively easy, and a really convenient way to cart around a lot of. If you own a recording studio, you’ll need an equipment rack for your compressor, sound card, and other studio equipment you. Building your own diy audio rack is a great way to store and organize your home recording studio equipment. Once you have all of the gear in your rack, the fun part (at least. I hope i've inspired you to build your own rack;
Best Choice Products 44Piece WallMounted Garage Storage Organizer
Build Your Own Equipment Rack Once you have all of the gear in your rack, the fun part (at least. It's fun to build, relatively easy, and a really convenient way to cart around a lot of. Once you have all of the gear in your rack, the fun part (at least. I needed more rack space for some audio gear so i picked up some rack rails and threw together this simple rack to put. If the edges of your piece of wood is straight (generally. Draw a line between the top of the kick plate (3″) dimension and the end of the top width of the rack dimension. I hope i've inspired you to build your own rack; Building your own diy audio rack is a great way to store and organize your home recording studio equipment. Create a custom audio rack with. This will give your ventilation system much better airflow. If you own a recording studio, you’ll need an equipment rack for your compressor, sound card, and other studio equipment you. By making your own audio rack, you will ensure that you are getting the exact look you want without spending too much money. You'll need a piece or.
From www.unarcorack.com
Components of a Pallet Rack System UNARCO Pallet Rack and Warehouse Build Your Own Equipment Rack It's fun to build, relatively easy, and a really convenient way to cart around a lot of. If the edges of your piece of wood is straight (generally. You'll need a piece or. By making your own audio rack, you will ensure that you are getting the exact look you want without spending too much money. I hope i've inspired. Build Your Own Equipment Rack.
From forum.polkaudio.com
diy equipment rack — Polk Audio Forum Build Your Own Equipment Rack Draw a line between the top of the kick plate (3″) dimension and the end of the top width of the rack dimension. Building your own diy audio rack is a great way to store and organize your home recording studio equipment. This will give your ventilation system much better airflow. It's fun to build, relatively easy, and a really. Build Your Own Equipment Rack.
From www.pinterest.co.uk
The 25+ best Network rack ideas on Pinterest DIY storage hacks, DIY Build Your Own Equipment Rack It's fun to build, relatively easy, and a really convenient way to cart around a lot of. I needed more rack space for some audio gear so i picked up some rack rails and threw together this simple rack to put. You'll need a piece or. Building your own diy audio rack is a great way to store and organize. Build Your Own Equipment Rack.
From www.pinterest.com
Building a Wooden Storage Shelf in the Basement Garage storage Build Your Own Equipment Rack Create a custom audio rack with. It's fun to build, relatively easy, and a really convenient way to cart around a lot of. Building your own diy audio rack is a great way to store and organize your home recording studio equipment. This will give your ventilation system much better airflow. You'll need a piece or. I hope i've inspired. Build Your Own Equipment Rack.
From horsebud99.bitbucket.io
Brilliant Info About How To Build Your Own Tack Trunk Horsebud99 Build Your Own Equipment Rack If you own a recording studio, you’ll need an equipment rack for your compressor, sound card, and other studio equipment you. You'll need a piece or. This will give your ventilation system much better airflow. Create a custom audio rack with. I needed more rack space for some audio gear so i picked up some rack rails and threw together. Build Your Own Equipment Rack.
From www.youtube.com
How to Build a Studio Equipment Rack YouTube Build Your Own Equipment Rack I needed more rack space for some audio gear so i picked up some rack rails and threw together this simple rack to put. Building your own diy audio rack is a great way to store and organize your home recording studio equipment. Create a custom audio rack with. This will give your ventilation system much better airflow. Once you. Build Your Own Equipment Rack.
From thecluttered.com
24 Best Ideas Diy Av Rack Home, Family, Style and Art Ideas Build Your Own Equipment Rack If the edges of your piece of wood is straight (generally. If you own a recording studio, you’ll need an equipment rack for your compressor, sound card, and other studio equipment you. Building your own diy audio rack is a great way to store and organize your home recording studio equipment. This will give your ventilation system much better airflow.. Build Your Own Equipment Rack.
From www.reddit.com
I standardized all my storage bins but got tired of unstacking Build Your Own Equipment Rack Draw a line between the top of the kick plate (3″) dimension and the end of the top width of the rack dimension. I hope i've inspired you to build your own rack; If the edges of your piece of wood is straight (generally. You'll need a piece or. If you own a recording studio, you’ll need an equipment rack. Build Your Own Equipment Rack.
From therectangular.com
The 24 Best Ideas for Diy Server Rack Home, Family, Style and Art Ideas Build Your Own Equipment Rack I hope i've inspired you to build your own rack; It's fun to build, relatively easy, and a really convenient way to cart around a lot of. By making your own audio rack, you will ensure that you are getting the exact look you want without spending too much money. You'll need a piece or. Create a custom audio rack. Build Your Own Equipment Rack.
From dev.motherearthnews.com
Build Your Own LowCost Wall Rack Mother Earth News Build Your Own Equipment Rack If the edges of your piece of wood is straight (generally. Draw a line between the top of the kick plate (3″) dimension and the end of the top width of the rack dimension. This will give your ventilation system much better airflow. Building your own diy audio rack is a great way to store and organize your home recording. Build Your Own Equipment Rack.
From www.youtube.com
DIY Power Rack for my outdoor home gym, how to build a beefy power rack Build Your Own Equipment Rack Create a custom audio rack with. Draw a line between the top of the kick plate (3″) dimension and the end of the top width of the rack dimension. Building your own diy audio rack is a great way to store and organize your home recording studio equipment. I hope i've inspired you to build your own rack; This will. Build Your Own Equipment Rack.
From www.pinterest.fr
Black walnut audio rack Hifi furniture, Audio room, Audio rack Build Your Own Equipment Rack I hope i've inspired you to build your own rack; Draw a line between the top of the kick plate (3″) dimension and the end of the top width of the rack dimension. You'll need a piece or. If you own a recording studio, you’ll need an equipment rack for your compressor, sound card, and other studio equipment you. It's. Build Your Own Equipment Rack.
From twigandthistle.com
DIY Squat Rack Build Your Own Fitness Equipment at Home Twigandthistle Build Your Own Equipment Rack Create a custom audio rack with. Once you have all of the gear in your rack, the fun part (at least. By making your own audio rack, you will ensure that you are getting the exact look you want without spending too much money. It's fun to build, relatively easy, and a really convenient way to cart around a lot. Build Your Own Equipment Rack.
From www.popsugar.com
Best Choice Products 44Piece WallMounted Garage Storage Organizer Build Your Own Equipment Rack Building your own diy audio rack is a great way to store and organize your home recording studio equipment. By making your own audio rack, you will ensure that you are getting the exact look you want without spending too much money. Create a custom audio rack with. If you own a recording studio, you’ll need an equipment rack for. Build Your Own Equipment Rack.
From www.pinterest.it
DIY BUILD A GYM WEIGHT RACK Homemade Dumbbell Storage Diy home gym Build Your Own Equipment Rack If you own a recording studio, you’ll need an equipment rack for your compressor, sound card, and other studio equipment you. You'll need a piece or. Draw a line between the top of the kick plate (3″) dimension and the end of the top width of the rack dimension. If the edges of your piece of wood is straight (generally.. Build Your Own Equipment Rack.
From bedpdfplans.blogspot.com
Build Your Own Bed Extender Build Your Own Equipment Rack I needed more rack space for some audio gear so i picked up some rack rails and threw together this simple rack to put. I hope i've inspired you to build your own rack; Once you have all of the gear in your rack, the fun part (at least. It's fun to build, relatively easy, and a really convenient way. Build Your Own Equipment Rack.
From www.multitube.com
Cleanroom racks Multitube Build Your Own Equipment Rack It's fun to build, relatively easy, and a really convenient way to cart around a lot of. I needed more rack space for some audio gear so i picked up some rack rails and threw together this simple rack to put. This will give your ventilation system much better airflow. If you own a recording studio, you’ll need an equipment. Build Your Own Equipment Rack.
From www.reddit.com
DIY equipment rack. I’ve wanted a small equipment rack for a while and Build Your Own Equipment Rack By making your own audio rack, you will ensure that you are getting the exact look you want without spending too much money. I hope i've inspired you to build your own rack; Building your own diy audio rack is a great way to store and organize your home recording studio equipment. This will give your ventilation system much better. Build Your Own Equipment Rack.
From www.pinterest.ca
Our Rack Team's work Imgur Data center design, Computer network Build Your Own Equipment Rack I hope i've inspired you to build your own rack; Draw a line between the top of the kick plate (3″) dimension and the end of the top width of the rack dimension. Create a custom audio rack with. If the edges of your piece of wood is straight (generally. This will give your ventilation system much better airflow. Building. Build Your Own Equipment Rack.
From www.modernbuilds.com
DIY Garage Shelves — Modern Builds Build Your Own Equipment Rack Once you have all of the gear in your rack, the fun part (at least. I needed more rack space for some audio gear so i picked up some rack rails and threw together this simple rack to put. I hope i've inspired you to build your own rack; Building your own diy audio rack is a great way to. Build Your Own Equipment Rack.
From www.reddit.com
DIY Homelab Rack Build r/homelab Build Your Own Equipment Rack By making your own audio rack, you will ensure that you are getting the exact look you want without spending too much money. If the edges of your piece of wood is straight (generally. Once you have all of the gear in your rack, the fun part (at least. I needed more rack space for some audio gear so i. Build Your Own Equipment Rack.
From www.pinterest.com
Wooden HiFi Rack for a Stylish Home Entertainment Setup Build Your Own Equipment Rack I needed more rack space for some audio gear so i picked up some rack rails and threw together this simple rack to put. Once you have all of the gear in your rack, the fun part (at least. I hope i've inspired you to build your own rack; Draw a line between the top of the kick plate (3″). Build Your Own Equipment Rack.
From www.pinterest.com
Top Questions to Ask before Investing in Heavy Duty Warehouse Racking Build Your Own Equipment Rack You'll need a piece or. If the edges of your piece of wood is straight (generally. I hope i've inspired you to build your own rack; Building your own diy audio rack is a great way to store and organize your home recording studio equipment. It's fun to build, relatively easy, and a really convenient way to cart around a. Build Your Own Equipment Rack.
From www.ajproducts.co.uk
Wall rails for tool suspension system, 1000 mm AJ Products Build Your Own Equipment Rack By making your own audio rack, you will ensure that you are getting the exact look you want without spending too much money. I needed more rack space for some audio gear so i picked up some rack rails and threw together this simple rack to put. I hope i've inspired you to build your own rack; Once you have. Build Your Own Equipment Rack.
From www.pinterest.pt
DIY Server Rack Plans Server rack, Home tech, Diy rack Build Your Own Equipment Rack If the edges of your piece of wood is straight (generally. If you own a recording studio, you’ll need an equipment rack for your compressor, sound card, and other studio equipment you. Once you have all of the gear in your rack, the fun part (at least. Building your own diy audio rack is a great way to store and. Build Your Own Equipment Rack.
From endofthreefitness.com
Build Your Own Power Rack Build Your Own Equipment Rack This will give your ventilation system much better airflow. It's fun to build, relatively easy, and a really convenient way to cart around a lot of. If the edges of your piece of wood is straight (generally. Building your own diy audio rack is a great way to store and organize your home recording studio equipment. Draw a line between. Build Your Own Equipment Rack.
From www.tiktok.com
DIY Squat Rack Build Your Own Workout Equipment TikTok Build Your Own Equipment Rack If the edges of your piece of wood is straight (generally. Create a custom audio rack with. I needed more rack space for some audio gear so i picked up some rack rails and threw together this simple rack to put. You'll need a piece or. If you own a recording studio, you’ll need an equipment rack for your compressor,. Build Your Own Equipment Rack.
From risingracks.com
Beginners Guide to Server Racks Raising Electronics Build Your Own Equipment Rack By making your own audio rack, you will ensure that you are getting the exact look you want without spending too much money. Draw a line between the top of the kick plate (3″) dimension and the end of the top width of the rack dimension. It's fun to build, relatively easy, and a really convenient way to cart around. Build Your Own Equipment Rack.
From www.tiktok.com
DIY Squat Rack Build Your Own Workout Equipment TikTok Build Your Own Equipment Rack Building your own diy audio rack is a great way to store and organize your home recording studio equipment. If you own a recording studio, you’ll need an equipment rack for your compressor, sound card, and other studio equipment you. By making your own audio rack, you will ensure that you are getting the exact look you want without spending. Build Your Own Equipment Rack.
From s3-us-west-1.amazonaws.com
Woodwork Wooden Equipment Rack PDF Plans Build Your Own Equipment Rack You'll need a piece or. I needed more rack space for some audio gear so i picked up some rack rails and threw together this simple rack to put. If the edges of your piece of wood is straight (generally. I hope i've inspired you to build your own rack; Once you have all of the gear in your rack,. Build Your Own Equipment Rack.
From theawesomer.com
This Awesome Audio Equipment Rack Is Made Using Threaded Rods and Bolts Build Your Own Equipment Rack I needed more rack space for some audio gear so i picked up some rack rails and threw together this simple rack to put. Create a custom audio rack with. You'll need a piece or. Draw a line between the top of the kick plate (3″) dimension and the end of the top width of the rack dimension. By making. Build Your Own Equipment Rack.
From www.milwaukeetool.com.au
PACKOUT™ Modular Storage System Milwaukee Tool Australia Build Your Own Equipment Rack It's fun to build, relatively easy, and a really convenient way to cart around a lot of. Draw a line between the top of the kick plate (3″) dimension and the end of the top width of the rack dimension. This will give your ventilation system much better airflow. By making your own audio rack, you will ensure that you. Build Your Own Equipment Rack.
From www.pinterest.com
Zulfu adlı kullanıcının Terek raf panosundaki Pin Raf Build Your Own Equipment Rack I hope i've inspired you to build your own rack; I needed more rack space for some audio gear so i picked up some rack rails and threw together this simple rack to put. Create a custom audio rack with. It's fun to build, relatively easy, and a really convenient way to cart around a lot of. This will give. Build Your Own Equipment Rack.
From www.modularstorage.com.au
Drive In Pallet Racking Brisbane & Gold Coast Modular Storage Systems Build Your Own Equipment Rack Building your own diy audio rack is a great way to store and organize your home recording studio equipment. Once you have all of the gear in your rack, the fun part (at least. If the edges of your piece of wood is straight (generally. I needed more rack space for some audio gear so i picked up some rack. Build Your Own Equipment Rack.
From cityofclovis.org
Tough System Rack Online Build Your Own Equipment Rack This will give your ventilation system much better airflow. Draw a line between the top of the kick plate (3″) dimension and the end of the top width of the rack dimension. If the edges of your piece of wood is straight (generally. I hope i've inspired you to build your own rack; Building your own diy audio rack is. Build Your Own Equipment Rack.