Enlarged Link Anchor Chain . When a vessel may anchor in areas where the current exceeds 2.5m/s, the need to provide a length of heavier. Chain cables for bower anchors. 4.2.2 enlarged stud links the proportions of the enlarged stud links are the same as those of the common stud links. No sales tax most states Swivel forerunner is the most common rotating link on the ship. Enlarged link is used at end of anchor chain, joining shackle require for joining anchor chain. It is a length of chains with a fixed structure, which is composed of 5 parts: And it is used to make the anchor c hain avoid twisting during lifting anchors. Washington chain & supply 2901 utah ave. End link, enlarged link, swivel shackle, enlarged link, common link. William hackett enlarged links and end links are used as. It can also be cut to.
from dazhengjinhao.en.made-in-china.com
When a vessel may anchor in areas where the current exceeds 2.5m/s, the need to provide a length of heavier. No sales tax most states And it is used to make the anchor c hain avoid twisting during lifting anchors. Swivel forerunner is the most common rotating link on the ship. Washington chain & supply 2901 utah ave. Chain cables for bower anchors. It can also be cut to. It is a length of chains with a fixed structure, which is composed of 5 parts: Enlarged link is used at end of anchor chain, joining shackle require for joining anchor chain. William hackett enlarged links and end links are used as.
DIN 81849 Enlarged Links for Stud Link Anchor Chain Cables China Round Steel Link Chains and
Enlarged Link Anchor Chain Swivel forerunner is the most common rotating link on the ship. Washington chain & supply 2901 utah ave. End link, enlarged link, swivel shackle, enlarged link, common link. No sales tax most states Swivel forerunner is the most common rotating link on the ship. William hackett enlarged links and end links are used as. Enlarged link is used at end of anchor chain, joining shackle require for joining anchor chain. When a vessel may anchor in areas where the current exceeds 2.5m/s, the need to provide a length of heavier. Chain cables for bower anchors. And it is used to make the anchor c hain avoid twisting during lifting anchors. 4.2.2 enlarged stud links the proportions of the enlarged stud links are the same as those of the common stud links. It is a length of chains with a fixed structure, which is composed of 5 parts: It can also be cut to.
From hilifting.com
Enlarged End Link For Anchor Chain, Enlarged End Link Manufacturer Enlarged Link Anchor Chain Swivel forerunner is the most common rotating link on the ship. Chain cables for bower anchors. End link, enlarged link, swivel shackle, enlarged link, common link. Enlarged link is used at end of anchor chain, joining shackle require for joining anchor chain. When a vessel may anchor in areas where the current exceeds 2.5m/s, the need to provide a length. Enlarged Link Anchor Chain.
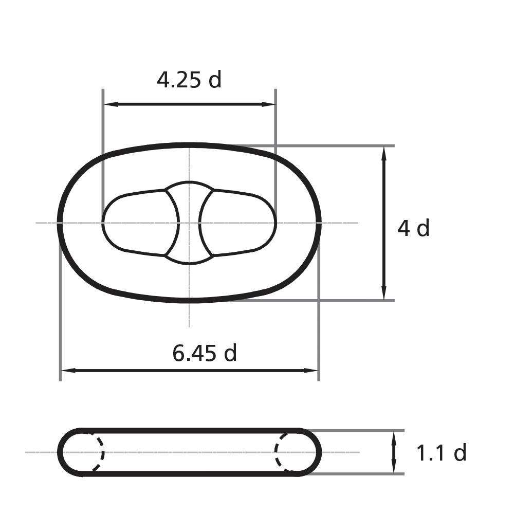
From www.dawson-group.com
38MM Grade U2, Grade U3 Flash Butt Welded Stud Link Anchor Chain with Black Bituminous Paint for Enlarged Link Anchor Chain No sales tax most states Washington chain & supply 2901 utah ave. And it is used to make the anchor c hain avoid twisting during lifting anchors. End link, enlarged link, swivel shackle, enlarged link, common link. Swivel forerunner is the most common rotating link on the ship. Chain cables for bower anchors. It is a length of chains with. Enlarged Link Anchor Chain.
From www.red-anchor.co.uk
Common stud link, Enlarged link Enlarged Link Anchor Chain And it is used to make the anchor c hain avoid twisting during lifting anchors. Washington chain & supply 2901 utah ave. William hackett enlarged links and end links are used as. It is a length of chains with a fixed structure, which is composed of 5 parts: No sales tax most states Swivel forerunner is the most common rotating. Enlarged Link Anchor Chain.
From gympeng.en.made-in-china.com
ExtraHigh Strength U3 Stud Link Ship Anchor Chain for Marine Ship China Anchor Chain Enlarged Link Anchor Chain End link, enlarged link, swivel shackle, enlarged link, common link. Swivel forerunner is the most common rotating link on the ship. It is a length of chains with a fixed structure, which is composed of 5 parts: When a vessel may anchor in areas where the current exceeds 2.5m/s, the need to provide a length of heavier. Enlarged link is. Enlarged Link Anchor Chain.
From www.chainscn.com
China Welded Link Anchor Chains Factory and Manufacturers, Suppliers Pricelist Laiwu Steel Group Enlarged Link Anchor Chain Enlarged link is used at end of anchor chain, joining shackle require for joining anchor chain. Chain cables for bower anchors. And it is used to make the anchor c hain avoid twisting during lifting anchors. It is a length of chains with a fixed structure, which is composed of 5 parts: Swivel forerunner is the most common rotating link. Enlarged Link Anchor Chain.
From jiangsuzhongyun.en.made-in-china.com
62mm Marine Studless Open Link Anchor Chain China Anchor Chain and Grade U3 Stud Link Anchor Chain Enlarged Link Anchor Chain When a vessel may anchor in areas where the current exceeds 2.5m/s, the need to provide a length of heavier. It can also be cut to. Enlarged link is used at end of anchor chain, joining shackle require for joining anchor chain. 4.2.2 enlarged stud links the proportions of the enlarged stud links are the same as those of the. Enlarged Link Anchor Chain.
From rivercable.ca
Stud Link Anchor Chain River Cable Group Enlarged Link Anchor Chain Enlarged link is used at end of anchor chain, joining shackle require for joining anchor chain. And it is used to make the anchor c hain avoid twisting during lifting anchors. No sales tax most states When a vessel may anchor in areas where the current exceeds 2.5m/s, the need to provide a length of heavier. Swivel forerunner is the. Enlarged Link Anchor Chain.
From beavereng.com.au
Approximate Dimensions for Chain & Fittings Beaver Engineering Enlarged Link Anchor Chain And it is used to make the anchor c hain avoid twisting during lifting anchors. Enlarged link is used at end of anchor chain, joining shackle require for joining anchor chain. It is a length of chains with a fixed structure, which is composed of 5 parts: William hackett enlarged links and end links are used as. Washington chain &. Enlarged Link Anchor Chain.
From haiwei-chain.en.made-in-china.com
Galvanized U2 Grade Marine Stud Link Anchor Chain China Stud Link Chain and Anchor Chain Enlarged Link Anchor Chain It is a length of chains with a fixed structure, which is composed of 5 parts: Enlarged link is used at end of anchor chain, joining shackle require for joining anchor chain. No sales tax most states William hackett enlarged links and end links are used as. End link, enlarged link, swivel shackle, enlarged link, common link. And it is. Enlarged Link Anchor Chain.
From gympeng.en.made-in-china.com
Anchor Chain & Enlarged Link China Anchor Chain and U1 U2 U3 Enlarged Link Anchor Chain End link, enlarged link, swivel shackle, enlarged link, common link. And it is used to make the anchor c hain avoid twisting during lifting anchors. It can also be cut to. No sales tax most states 4.2.2 enlarged stud links the proportions of the enlarged stud links are the same as those of the common stud links. Washington chain &. Enlarged Link Anchor Chain.
From licheng-chain.en.made-in-china.com
Am2 Mariner Large Stud Link Anchor Chain China Anchor Chain and Alloy Steel Chain Enlarged Link Anchor Chain Washington chain & supply 2901 utah ave. It is a length of chains with a fixed structure, which is composed of 5 parts: Chain cables for bower anchors. When a vessel may anchor in areas where the current exceeds 2.5m/s, the need to provide a length of heavier. 4.2.2 enlarged stud links the proportions of the enlarged stud links are. Enlarged Link Anchor Chain.
From www.williamhackett.co.uk
Grade U2 U3 Stud Link Anchor Chain Enlarged / End Links Enlarged Link Anchor Chain It is a length of chains with a fixed structure, which is composed of 5 parts: When a vessel may anchor in areas where the current exceeds 2.5m/s, the need to provide a length of heavier. It can also be cut to. Enlarged link is used at end of anchor chain, joining shackle require for joining anchor chain. Chain cables. Enlarged Link Anchor Chain.
From www.ecplaza.net
Stud Link Anchor Chains Kenter Shackle For Marine China Shipping Anchor Chain (Jiangsu)CO.,LTD Enlarged Link Anchor Chain Swivel forerunner is the most common rotating link on the ship. It can also be cut to. William hackett enlarged links and end links are used as. 4.2.2 enlarged stud links the proportions of the enlarged stud links are the same as those of the common stud links. No sales tax most states Washington chain & supply 2901 utah ave.. Enlarged Link Anchor Chain.
From norman0607.en.made-in-china.com
Marine Mooring Equipment U1/U2/U3 62mm Stud Link Anchor Chains China Mooring Equipment and Chain Enlarged Link Anchor Chain It is a length of chains with a fixed structure, which is composed of 5 parts: 4.2.2 enlarged stud links the proportions of the enlarged stud links are the same as those of the common stud links. Washington chain & supply 2901 utah ave. End link, enlarged link, swivel shackle, enlarged link, common link. And it is used to make. Enlarged Link Anchor Chain.
From www.jszsrigging.com
Stud link anchor chain China Lifting Equipment Manufacturer Gostern Rigging Enlarged Link Anchor Chain When a vessel may anchor in areas where the current exceeds 2.5m/s, the need to provide a length of heavier. 4.2.2 enlarged stud links the proportions of the enlarged stud links are the same as those of the common stud links. Washington chain & supply 2901 utah ave. No sales tax most states It can also be cut to. Enlarged. Enlarged Link Anchor Chain.
From sichwirerope.com
Custom Studless Link Anchor Chain SICHwirerope Enlarged Link Anchor Chain It is a length of chains with a fixed structure, which is composed of 5 parts: Enlarged link is used at end of anchor chain, joining shackle require for joining anchor chain. William hackett enlarged links and end links are used as. End link, enlarged link, swivel shackle, enlarged link, common link. 4.2.2 enlarged stud links the proportions of the. Enlarged Link Anchor Chain.
From www.alamy.com
Large link of a heavy anchor chain Stock Photo Alamy Enlarged Link Anchor Chain Swivel forerunner is the most common rotating link on the ship. No sales tax most states It can also be cut to. Washington chain & supply 2901 utah ave. End link, enlarged link, swivel shackle, enlarged link, common link. It is a length of chains with a fixed structure, which is composed of 5 parts: 4.2.2 enlarged stud links the. Enlarged Link Anchor Chain.
From www.williamhackett.co.uk
Grade U2 U3 Stud Link Anchor Chain Swivel Assembly Enlarged Link Anchor Chain Chain cables for bower anchors. 4.2.2 enlarged stud links the proportions of the enlarged stud links are the same as those of the common stud links. Enlarged link is used at end of anchor chain, joining shackle require for joining anchor chain. William hackett enlarged links and end links are used as. No sales tax most states And it is. Enlarged Link Anchor Chain.
From jiangsuzhongyun.en.made-in-china.com
66mm Nv3 Best Feed Back Stud Link Anchor Chains Marine Anchor Chain China Marine Anchor Chain Enlarged Link Anchor Chain Enlarged link is used at end of anchor chain, joining shackle require for joining anchor chain. Chain cables for bower anchors. 4.2.2 enlarged stud links the proportions of the enlarged stud links are the same as those of the common stud links. It can also be cut to. No sales tax most states End link, enlarged link, swivel shackle, enlarged. Enlarged Link Anchor Chain.
From jiangsuzhongyun.en.made-in-china.com
84mm G3 Stud Link Anchor Chain Manufacturer in China BV China 84mm G3 Anchor Chain and Stud Enlarged Link Anchor Chain It can also be cut to. Chain cables for bower anchors. 4.2.2 enlarged stud links the proportions of the enlarged stud links are the same as those of the common stud links. Enlarged link is used at end of anchor chain, joining shackle require for joining anchor chain. Washington chain & supply 2901 utah ave. When a vessel may anchor. Enlarged Link Anchor Chain.
From norman0607.en.made-in-china.com
Bm1/Bm2/Bm3 64mm Studless Anchor Chains/Open Link Anchor Chains China Mooring Equipmrnt and Enlarged Link Anchor Chain When a vessel may anchor in areas where the current exceeds 2.5m/s, the need to provide a length of heavier. Chain cables for bower anchors. William hackett enlarged links and end links are used as. No sales tax most states Swivel forerunner is the most common rotating link on the ship. It can also be cut to. And it is. Enlarged Link Anchor Chain.
From dazhengjinhao.en.made-in-china.com
DIN 81849 Enlarged Links for Stud Link Anchor Chain Cables China Round Steel Link Chains and Enlarged Link Anchor Chain It is a length of chains with a fixed structure, which is composed of 5 parts: It can also be cut to. End link, enlarged link, swivel shackle, enlarged link, common link. Enlarged link is used at end of anchor chain, joining shackle require for joining anchor chain. Swivel forerunner is the most common rotating link on the ship. When. Enlarged Link Anchor Chain.
From rigging.en.made-in-china.com
Welded Long Short Manganese Steel Heavy Anchor Link Chain China Anchor Chains and Stud Link Enlarged Link Anchor Chain It can also be cut to. Swivel forerunner is the most common rotating link on the ship. Washington chain & supply 2901 utah ave. And it is used to make the anchor c hain avoid twisting during lifting anchors. No sales tax most states 4.2.2 enlarged stud links the proportions of the enlarged stud links are the same as those. Enlarged Link Anchor Chain.
From jiangsuzhongyun.en.made-in-china.com
Open Link Anchor Chain DnvGl ABS CCS BV Nk Class Certificate China Marine Anchor Chain and Enlarged Link Anchor Chain End link, enlarged link, swivel shackle, enlarged link, common link. Washington chain & supply 2901 utah ave. William hackett enlarged links and end links are used as. It is a length of chains with a fixed structure, which is composed of 5 parts: Chain cables for bower anchors. And it is used to make the anchor c hain avoid twisting. Enlarged Link Anchor Chain.
From en.hiseamarine.com
Different connection structures of anchor chains Enlarged Link Anchor Chain No sales tax most states It is a length of chains with a fixed structure, which is composed of 5 parts: 4.2.2 enlarged stud links the proportions of the enlarged stud links are the same as those of the common stud links. Chain cables for bower anchors. When a vessel may anchor in areas where the current exceeds 2.5m/s, the. Enlarged Link Anchor Chain.
From www.ecplaza.net
32mm Grade 2 Ship Electronic Galvanized Studless Link Anchor Chain Jiangsu Aohai Marine Enlarged Link Anchor Chain Washington chain & supply 2901 utah ave. Enlarged link is used at end of anchor chain, joining shackle require for joining anchor chain. Chain cables for bower anchors. And it is used to make the anchor c hain avoid twisting during lifting anchors. When a vessel may anchor in areas where the current exceeds 2.5m/s, the need to provide a. Enlarged Link Anchor Chain.
From jiangsuzhongyun.en.made-in-china.com
62mm Grade3 Stud Link Anchor Chain for Marine China Anchor Chain and Grade U3 Stud Link Anchor Enlarged Link Anchor Chain And it is used to make the anchor c hain avoid twisting during lifting anchors. No sales tax most states William hackett enlarged links and end links are used as. End link, enlarged link, swivel shackle, enlarged link, common link. Chain cables for bower anchors. Swivel forerunner is the most common rotating link on the ship. It is a length. Enlarged Link Anchor Chain.
From nauticaltreasure.com
Heavy Anchor Link Chain (Puff) Nautical Treasure Jewelry Enlarged Link Anchor Chain End link, enlarged link, swivel shackle, enlarged link, common link. 4.2.2 enlarged stud links the proportions of the enlarged stud links are the same as those of the common stud links. When a vessel may anchor in areas where the current exceeds 2.5m/s, the need to provide a length of heavier. Swivel forerunner is the most common rotating link on. Enlarged Link Anchor Chain.
From wescovan.com
You are being redirected... Enlarged Link Anchor Chain Enlarged link is used at end of anchor chain, joining shackle require for joining anchor chain. Washington chain & supply 2901 utah ave. When a vessel may anchor in areas where the current exceeds 2.5m/s, the need to provide a length of heavier. Chain cables for bower anchors. And it is used to make the anchor c hain avoid twisting. Enlarged Link Anchor Chain.
From www.anchorchain.net
Enlarged Link Suppliers and Manufacturers China Factory LIG Marine Machinery Enlarged Link Anchor Chain And it is used to make the anchor c hain avoid twisting during lifting anchors. Swivel forerunner is the most common rotating link on the ship. No sales tax most states Washington chain & supply 2901 utah ave. End link, enlarged link, swivel shackle, enlarged link, common link. It can also be cut to. 4.2.2 enlarged stud links the proportions. Enlarged Link Anchor Chain.
From jiangsuzhongyun.en.made-in-china.com
64mm Grade 3 Stud Link Anchor Chain with Nk China Anchor Chain with Nk and Stud Link Anchor Chain Enlarged Link Anchor Chain No sales tax most states Enlarged link is used at end of anchor chain, joining shackle require for joining anchor chain. 4.2.2 enlarged stud links the proportions of the enlarged stud links are the same as those of the common stud links. William hackett enlarged links and end links are used as. Chain cables for bower anchors. End link, enlarged. Enlarged Link Anchor Chain.
From honyuan.en.made-in-china.com
High Strength Open Link Anchor Chain Link for Offshore China Anchor Chain and Marine Chain Enlarged Link Anchor Chain And it is used to make the anchor c hain avoid twisting during lifting anchors. End link, enlarged link, swivel shackle, enlarged link, common link. When a vessel may anchor in areas where the current exceeds 2.5m/s, the need to provide a length of heavier. Chain cables for bower anchors. It is a length of chains with a fixed structure,. Enlarged Link Anchor Chain.
From www.toponechain.com
Stud Link Anchor ChainAnchor ChainTopOne Chain Production of various specifications of Enlarged Link Anchor Chain 4.2.2 enlarged stud links the proportions of the enlarged stud links are the same as those of the common stud links. Enlarged link is used at end of anchor chain, joining shackle require for joining anchor chain. Swivel forerunner is the most common rotating link on the ship. Chain cables for bower anchors. It is a length of chains with. Enlarged Link Anchor Chain.
From www.cqhisea.com
Filter Enlarged Link Anchor Chain Swivel forerunner is the most common rotating link on the ship. And it is used to make the anchor c hain avoid twisting during lifting anchors. Chain cables for bower anchors. Enlarged link is used at end of anchor chain, joining shackle require for joining anchor chain. William hackett enlarged links and end links are used as. No sales tax. Enlarged Link Anchor Chain.
From norman0607.en.made-in-china.com
U1/Cm370 Black Painted High Strength Stud Link Anchor Chains Ship Chains China Marine Parts Enlarged Link Anchor Chain It is a length of chains with a fixed structure, which is composed of 5 parts: End link, enlarged link, swivel shackle, enlarged link, common link. No sales tax most states 4.2.2 enlarged stud links the proportions of the enlarged stud links are the same as those of the common stud links. Swivel forerunner is the most common rotating link. Enlarged Link Anchor Chain.