How To Change Fuel Filter Skoda Fabia . Unscrew the fuel filler cap. My car's just about to hit this. This video shows the replacement procedure of. 1 open the fuel door. Buy the auto parts you need for the operation : It is a sealed canister with 2 pipes on the top. I saw recently that it's recommended you change the fuel filter on a fabia every 50,000km. I have a skoda fabia 1.6 tdi cr and i wish to change the fuel filter. A video detailing the steps involved in performing a fuel filter change on a skoda fabia.
from workshop-manuals.com
A video detailing the steps involved in performing a fuel filter change on a skoda fabia. Unscrew the fuel filler cap. My car's just about to hit this. I saw recently that it's recommended you change the fuel filter on a fabia every 50,000km. This video shows the replacement procedure of. It is a sealed canister with 2 pipes on the top. Buy the auto parts you need for the operation : I have a skoda fabia 1.6 tdi cr and i wish to change the fuel filter. 1 open the fuel door.
Skoda Manuals > Fabia Mk2 > Drive unit > 1.2/47 kW; 1.2/51 kW
How To Change Fuel Filter Skoda Fabia Buy the auto parts you need for the operation : Buy the auto parts you need for the operation : This video shows the replacement procedure of. It is a sealed canister with 2 pipes on the top. My car's just about to hit this. 1 open the fuel door. I have a skoda fabia 1.6 tdi cr and i wish to change the fuel filter. Unscrew the fuel filler cap. I saw recently that it's recommended you change the fuel filter on a fabia every 50,000km. A video detailing the steps involved in performing a fuel filter change on a skoda fabia.
From workshop-manuals.com
Skoda Manuals > Fabia Mk2 > Drive unit > 1.2/47 kW; 1.2/51 kW How To Change Fuel Filter Skoda Fabia I have a skoda fabia 1.6 tdi cr and i wish to change the fuel filter. Unscrew the fuel filler cap. My car's just about to hit this. It is a sealed canister with 2 pipes on the top. This video shows the replacement procedure of. A video detailing the steps involved in performing a fuel filter change on a. How To Change Fuel Filter Skoda Fabia.
From www.youtube.com
How to change oil filter and engine oil on SKODA FABIA 1 (6Y5 How To Change Fuel Filter Skoda Fabia I saw recently that it's recommended you change the fuel filter on a fabia every 50,000km. 1 open the fuel door. A video detailing the steps involved in performing a fuel filter change on a skoda fabia. My car's just about to hit this. It is a sealed canister with 2 pipes on the top. This video shows the replacement. How To Change Fuel Filter Skoda Fabia.
From workshop-manuals.com
Skoda Manuals > Fabia Mk1 > Engine > 1.2/40; 1.2/47 Engine How To Change Fuel Filter Skoda Fabia I have a skoda fabia 1.6 tdi cr and i wish to change the fuel filter. My car's just about to hit this. 1 open the fuel door. Buy the auto parts you need for the operation : A video detailing the steps involved in performing a fuel filter change on a skoda fabia. It is a sealed canister with. How To Change Fuel Filter Skoda Fabia.
From www.youtube.com
How to change engine oil, oil filter and air filter Skoda Fabia 1.9 TDI How To Change Fuel Filter Skoda Fabia It is a sealed canister with 2 pipes on the top. 1 open the fuel door. Buy the auto parts you need for the operation : A video detailing the steps involved in performing a fuel filter change on a skoda fabia. My car's just about to hit this. I saw recently that it's recommended you change the fuel filter. How To Change Fuel Filter Skoda Fabia.
From www.youtube.com
SKODA FABIA Oil and Filters change 9907 (A beginners guide) YouTube How To Change Fuel Filter Skoda Fabia Unscrew the fuel filler cap. Buy the auto parts you need for the operation : I saw recently that it's recommended you change the fuel filter on a fabia every 50,000km. 1 open the fuel door. It is a sealed canister with 2 pipes on the top. My car's just about to hit this. This video shows the replacement procedure. How To Change Fuel Filter Skoda Fabia.
From www.ilcats.ru
fuel line. fuel filter SKODA FABIA How To Change Fuel Filter Skoda Fabia I saw recently that it's recommended you change the fuel filter on a fabia every 50,000km. A video detailing the steps involved in performing a fuel filter change on a skoda fabia. It is a sealed canister with 2 pipes on the top. This video shows the replacement procedure of. I have a skoda fabia 1.6 tdi cr and i. How To Change Fuel Filter Skoda Fabia.
From www.thedrive.com
How To Change Your Fuel Filter The Drive How To Change Fuel Filter Skoda Fabia I saw recently that it's recommended you change the fuel filter on a fabia every 50,000km. A video detailing the steps involved in performing a fuel filter change on a skoda fabia. 1 open the fuel door. It is a sealed canister with 2 pipes on the top. I have a skoda fabia 1.6 tdi cr and i wish to. How To Change Fuel Filter Skoda Fabia.
From www.youtube.com
How to change air filter on SKODA FABIA 1 (6Y5) [TUTORIAL AUTODOC How To Change Fuel Filter Skoda Fabia 1 open the fuel door. Buy the auto parts you need for the operation : A video detailing the steps involved in performing a fuel filter change on a skoda fabia. Unscrew the fuel filler cap. This video shows the replacement procedure of. I saw recently that it's recommended you change the fuel filter on a fabia every 50,000km. It. How To Change Fuel Filter Skoda Fabia.
From www.youtube.com
How to change your fuel filter on a Skoda Octavia TDI YouTube How To Change Fuel Filter Skoda Fabia 1 open the fuel door. I saw recently that it's recommended you change the fuel filter on a fabia every 50,000km. Unscrew the fuel filler cap. This video shows the replacement procedure of. I have a skoda fabia 1.6 tdi cr and i wish to change the fuel filter. A video detailing the steps involved in performing a fuel filter. How To Change Fuel Filter Skoda Fabia.
From www.yourmechanic.com
How to Change a Fuel Filter YourMechanic Advice How To Change Fuel Filter Skoda Fabia My car's just about to hit this. I saw recently that it's recommended you change the fuel filter on a fabia every 50,000km. I have a skoda fabia 1.6 tdi cr and i wish to change the fuel filter. Buy the auto parts you need for the operation : A video detailing the steps involved in performing a fuel filter. How To Change Fuel Filter Skoda Fabia.
From skoda.7zap.com
fuel filter Fabia (FAB) 2012 year Skoda EUROPA 127020 How To Change Fuel Filter Skoda Fabia A video detailing the steps involved in performing a fuel filter change on a skoda fabia. My car's just about to hit this. Unscrew the fuel filler cap. It is a sealed canister with 2 pipes on the top. I have a skoda fabia 1.6 tdi cr and i wish to change the fuel filter. I saw recently that it's. How To Change Fuel Filter Skoda Fabia.
From www.briskoda.net
Fabia 2 1.4mpi fuel filter replace Skoda Fabia Mk II (20072014 How To Change Fuel Filter Skoda Fabia 1 open the fuel door. A video detailing the steps involved in performing a fuel filter change on a skoda fabia. Buy the auto parts you need for the operation : This video shows the replacement procedure of. I saw recently that it's recommended you change the fuel filter on a fabia every 50,000km. I have a skoda fabia 1.6. How To Change Fuel Filter Skoda Fabia.
From www.briskoda.net
Fuel Filter Skoda Fabia Mk III (20142021) BRISKODA How To Change Fuel Filter Skoda Fabia My car's just about to hit this. Unscrew the fuel filler cap. This video shows the replacement procedure of. I have a skoda fabia 1.6 tdi cr and i wish to change the fuel filter. It is a sealed canister with 2 pipes on the top. Buy the auto parts you need for the operation : I saw recently that. How To Change Fuel Filter Skoda Fabia.
From www.youtube.com
TDI Polo, Vento, Rapid, Ameo, Fabia Fuel filter replacement Volkswagen How To Change Fuel Filter Skoda Fabia This video shows the replacement procedure of. 1 open the fuel door. My car's just about to hit this. Buy the auto parts you need for the operation : A video detailing the steps involved in performing a fuel filter change on a skoda fabia. I saw recently that it's recommended you change the fuel filter on a fabia every. How To Change Fuel Filter Skoda Fabia.
From www.youtube.com
How to replace the diesel fuel filter Fabia mk2 1.6 TDI ⛽ YouTube How To Change Fuel Filter Skoda Fabia 1 open the fuel door. Buy the auto parts you need for the operation : This video shows the replacement procedure of. I have a skoda fabia 1.6 tdi cr and i wish to change the fuel filter. It is a sealed canister with 2 pipes on the top. A video detailing the steps involved in performing a fuel filter. How To Change Fuel Filter Skoda Fabia.
From www.youtube.com
SKODA FABIA 1.4TDI HOW TO CHANGE OIL AND OIL FILTER YouTube How To Change Fuel Filter Skoda Fabia I saw recently that it's recommended you change the fuel filter on a fabia every 50,000km. Buy the auto parts you need for the operation : A video detailing the steps involved in performing a fuel filter change on a skoda fabia. It is a sealed canister with 2 pipes on the top. Unscrew the fuel filler cap. My car's. How To Change Fuel Filter Skoda Fabia.
From www.youtube.com
How to replace the fuel filter Fabia mk2 1.4 16V ⛽ YouTube How To Change Fuel Filter Skoda Fabia This video shows the replacement procedure of. I saw recently that it's recommended you change the fuel filter on a fabia every 50,000km. Buy the auto parts you need for the operation : 1 open the fuel door. Unscrew the fuel filler cap. I have a skoda fabia 1.6 tdi cr and i wish to change the fuel filter. It. How To Change Fuel Filter Skoda Fabia.
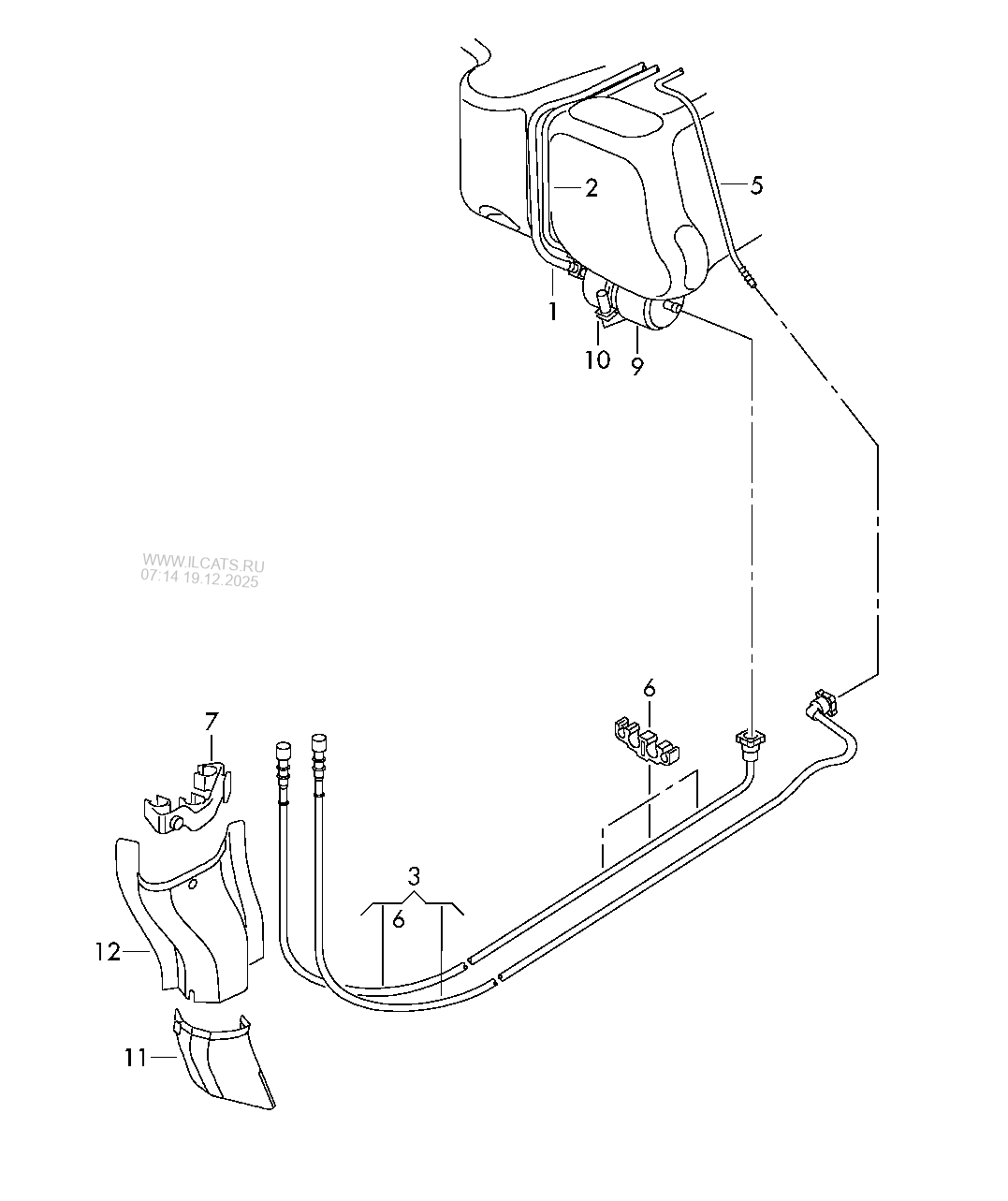
From www.ilcats.ru
fuel line. fuel filter SKODA FABIA How To Change Fuel Filter Skoda Fabia This video shows the replacement procedure of. A video detailing the steps involved in performing a fuel filter change on a skoda fabia. Unscrew the fuel filler cap. I have a skoda fabia 1.6 tdi cr and i wish to change the fuel filter. It is a sealed canister with 2 pipes on the top. 1 open the fuel door.. How To Change Fuel Filter Skoda Fabia.
From workshop-manuals.com
Skoda Manuals > Fabia Mk1 > Power unit > 1.9/47 kW SDI Engine How To Change Fuel Filter Skoda Fabia I have a skoda fabia 1.6 tdi cr and i wish to change the fuel filter. This video shows the replacement procedure of. It is a sealed canister with 2 pipes on the top. My car's just about to hit this. I saw recently that it's recommended you change the fuel filter on a fabia every 50,000km. A video detailing. How To Change Fuel Filter Skoda Fabia.
From wuling.id
Car Fuel Filter What It's For and How To Clean It Wuling How To Change Fuel Filter Skoda Fabia My car's just about to hit this. A video detailing the steps involved in performing a fuel filter change on a skoda fabia. I saw recently that it's recommended you change the fuel filter on a fabia every 50,000km. It is a sealed canister with 2 pipes on the top. This video shows the replacement procedure of. I have a. How To Change Fuel Filter Skoda Fabia.
From workshop-manuals.com
Skoda Manuals > Fabia Mk1 > Power unit > 2,0/85 kW MPI engine How To Change Fuel Filter Skoda Fabia I have a skoda fabia 1.6 tdi cr and i wish to change the fuel filter. My car's just about to hit this. I saw recently that it's recommended you change the fuel filter on a fabia every 50,000km. Buy the auto parts you need for the operation : This video shows the replacement procedure of. A video detailing the. How To Change Fuel Filter Skoda Fabia.
From fyoniotkk.blob.core.windows.net
Skoda Fabia Fuel Filter Change Interval at Marion Barr blog How To Change Fuel Filter Skoda Fabia Unscrew the fuel filler cap. I saw recently that it's recommended you change the fuel filter on a fabia every 50,000km. A video detailing the steps involved in performing a fuel filter change on a skoda fabia. Buy the auto parts you need for the operation : My car's just about to hit this. This video shows the replacement procedure. How To Change Fuel Filter Skoda Fabia.
From skoda-fabia-israel.blogspot.com
Skoda Fabia in Israel Fuel filter in place How To Change Fuel Filter Skoda Fabia I have a skoda fabia 1.6 tdi cr and i wish to change the fuel filter. This video shows the replacement procedure of. Unscrew the fuel filler cap. A video detailing the steps involved in performing a fuel filter change on a skoda fabia. My car's just about to hit this. Buy the auto parts you need for the operation. How To Change Fuel Filter Skoda Fabia.
From www.youtube.com
Skoda Fabia 1.9 PD FUEL FILTER (9907) YouTube How To Change Fuel Filter Skoda Fabia Unscrew the fuel filler cap. Buy the auto parts you need for the operation : 1 open the fuel door. I have a skoda fabia 1.6 tdi cr and i wish to change the fuel filter. I saw recently that it's recommended you change the fuel filter on a fabia every 50,000km. My car's just about to hit this. It. How To Change Fuel Filter Skoda Fabia.
From workshop-manuals.com
Skoda Manuals > Fabia Mk1 > Engine > 1.9/74 TDI Engine How To Change Fuel Filter Skoda Fabia I have a skoda fabia 1.6 tdi cr and i wish to change the fuel filter. A video detailing the steps involved in performing a fuel filter change on a skoda fabia. Buy the auto parts you need for the operation : It is a sealed canister with 2 pipes on the top. 1 open the fuel door. I saw. How To Change Fuel Filter Skoda Fabia.
From www.yourmechanic.com
How to Change a Fuel Filter YourMechanic Advice How To Change Fuel Filter Skoda Fabia A video detailing the steps involved in performing a fuel filter change on a skoda fabia. Buy the auto parts you need for the operation : I saw recently that it's recommended you change the fuel filter on a fabia every 50,000km. My car's just about to hit this. It is a sealed canister with 2 pipes on the top.. How To Change Fuel Filter Skoda Fabia.
From www.youtube.com
Fuel Filter Change Skoda Fabia Mk1 1.2 (2003) YouTube How To Change Fuel Filter Skoda Fabia I saw recently that it's recommended you change the fuel filter on a fabia every 50,000km. Buy the auto parts you need for the operation : 1 open the fuel door. Unscrew the fuel filler cap. A video detailing the steps involved in performing a fuel filter change on a skoda fabia. I have a skoda fabia 1.6 tdi cr. How To Change Fuel Filter Skoda Fabia.
From www.youtube.com
Škoda Fabia 1 Jak Vyměnit Olej a Filtr / How to Change the Oil and How To Change Fuel Filter Skoda Fabia Buy the auto parts you need for the operation : I saw recently that it's recommended you change the fuel filter on a fabia every 50,000km. 1 open the fuel door. This video shows the replacement procedure of. My car's just about to hit this. Unscrew the fuel filler cap. I have a skoda fabia 1.6 tdi cr and i. How To Change Fuel Filter Skoda Fabia.
From www.youtube.com
How to change Skoda Fabia Petrol filter YouTube How To Change Fuel Filter Skoda Fabia It is a sealed canister with 2 pipes on the top. My car's just about to hit this. I have a skoda fabia 1.6 tdi cr and i wish to change the fuel filter. I saw recently that it's recommended you change the fuel filter on a fabia every 50,000km. 1 open the fuel door. Buy the auto parts you. How To Change Fuel Filter Skoda Fabia.