Sheet Glass Process . sheet glass is made using a series of rollers that draws the molten glass vertically up out of the mixing tank (where the glass is still a liquid). the process creates a perfectly flat and smooth glass sheet, the basis for many glass applications today. The glass and interlayers can be supplied in a variety of colors and. laminated glass consists of glass sheets bonded together using a plastic interlayer. float makes glass of near optical quality. plate glass, flat glass or sheet glass is a type of glass, initially produced in plane form, commonly used for windows, glass doors,. the sheet glass process began with the mechanically drawing cylinder process, where large glass cylinders were made to be split and flattened into plates, and. Float glass, commonly known as flat glass, is made by floating molten glass on a bed of molten tin.
from www.dreamstime.com
The glass and interlayers can be supplied in a variety of colors and. sheet glass is made using a series of rollers that draws the molten glass vertically up out of the mixing tank (where the glass is still a liquid). the sheet glass process began with the mechanically drawing cylinder process, where large glass cylinders were made to be split and flattened into plates, and. plate glass, flat glass or sheet glass is a type of glass, initially produced in plane form, commonly used for windows, glass doors,. float makes glass of near optical quality. laminated glass consists of glass sheets bonded together using a plastic interlayer. the process creates a perfectly flat and smooth glass sheet, the basis for many glass applications today. Float glass, commonly known as flat glass, is made by floating molten glass on a bed of molten tin.
The Process of Glass Production. Vector Illustration Stock Vector
Sheet Glass Process plate glass, flat glass or sheet glass is a type of glass, initially produced in plane form, commonly used for windows, glass doors,. laminated glass consists of glass sheets bonded together using a plastic interlayer. Float glass, commonly known as flat glass, is made by floating molten glass on a bed of molten tin. The glass and interlayers can be supplied in a variety of colors and. the sheet glass process began with the mechanically drawing cylinder process, where large glass cylinders were made to be split and flattened into plates, and. sheet glass is made using a series of rollers that draws the molten glass vertically up out of the mixing tank (where the glass is still a liquid). the process creates a perfectly flat and smooth glass sheet, the basis for many glass applications today. float makes glass of near optical quality. plate glass, flat glass or sheet glass is a type of glass, initially produced in plane form, commonly used for windows, glass doors,.
From www.freepik.com
Premium Vector Glass line icon isometric vector raw sheet material Sheet Glass Process the sheet glass process began with the mechanically drawing cylinder process, where large glass cylinders were made to be split and flattened into plates, and. laminated glass consists of glass sheets bonded together using a plastic interlayer. float makes glass of near optical quality. sheet glass is made using a series of rollers that draws the. Sheet Glass Process.
From www.google.com
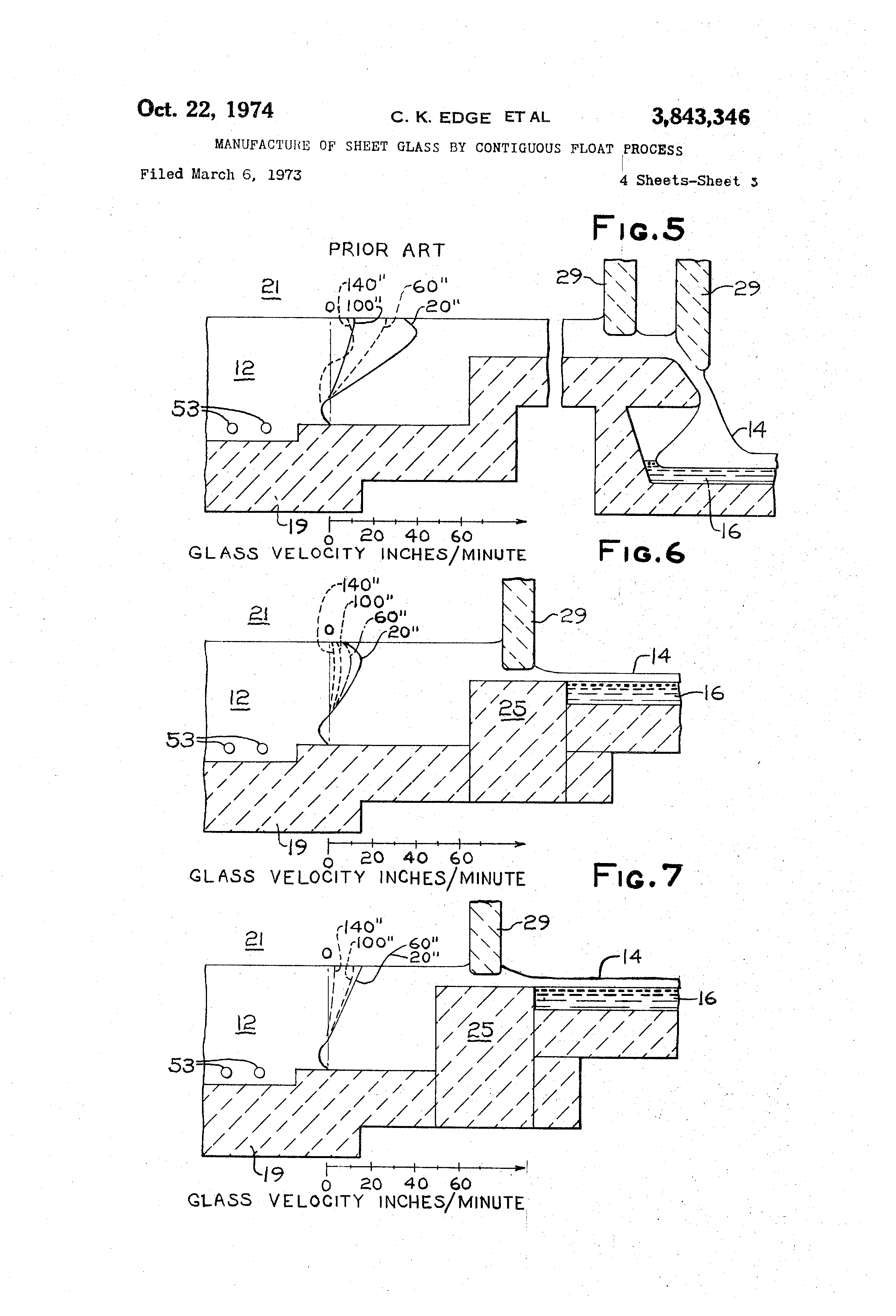
Patent US3843346 Manufacture of sheet glass by continuous float Sheet Glass Process float makes glass of near optical quality. laminated glass consists of glass sheets bonded together using a plastic interlayer. the sheet glass process began with the mechanically drawing cylinder process, where large glass cylinders were made to be split and flattened into plates, and. plate glass, flat glass or sheet glass is a type of glass,. Sheet Glass Process.
From stewartengineers.com
Glass Forming Stewart Engineers Sheet Glass Process float makes glass of near optical quality. Float glass, commonly known as flat glass, is made by floating molten glass on a bed of molten tin. sheet glass is made using a series of rollers that draws the molten glass vertically up out of the mixing tank (where the glass is still a liquid). The glass and interlayers. Sheet Glass Process.
From restorationwindowglass.com
Window Glass Production & Glass Making History Restoration Window Glass Sheet Glass Process plate glass, flat glass or sheet glass is a type of glass, initially produced in plane form, commonly used for windows, glass doors,. laminated glass consists of glass sheets bonded together using a plastic interlayer. sheet glass is made using a series of rollers that draws the molten glass vertically up out of the mixing tank (where. Sheet Glass Process.
From www.scribd.com
Glass Process Flow Chart Glasses Homogeneous Chemical Mixtures Sheet Glass Process plate glass, flat glass or sheet glass is a type of glass, initially produced in plane form, commonly used for windows, glass doors,. the sheet glass process began with the mechanically drawing cylinder process, where large glass cylinders were made to be split and flattened into plates, and. the process creates a perfectly flat and smooth glass. Sheet Glass Process.
From www.cmog.org
All About Glass Corning Museum of Glass Sheet Glass Process The glass and interlayers can be supplied in a variety of colors and. laminated glass consists of glass sheets bonded together using a plastic interlayer. float makes glass of near optical quality. sheet glass is made using a series of rollers that draws the molten glass vertically up out of the mixing tank (where the glass is. Sheet Glass Process.
From www.guardianglass.com
Glass manufacturing process production , coating, lamination Sheet Glass Process plate glass, flat glass or sheet glass is a type of glass, initially produced in plane form, commonly used for windows, glass doors,. sheet glass is made using a series of rollers that draws the molten glass vertically up out of the mixing tank (where the glass is still a liquid). the process creates a perfectly flat. Sheet Glass Process.
From www.partnerglass.cn
Sheet Glass Mirror_Qingdao Partner Import and Export Co., Ltd. Sheet Glass Process the process creates a perfectly flat and smooth glass sheet, the basis for many glass applications today. the sheet glass process began with the mechanically drawing cylinder process, where large glass cylinders were made to be split and flattened into plates, and. Float glass, commonly known as flat glass, is made by floating molten glass on a bed. Sheet Glass Process.
From www.vaglassdoorsandwindowrepair.com
Tempered Glass — Virginia Glass Doors and Window Repair (571) 3473471 Sheet Glass Process float makes glass of near optical quality. the process creates a perfectly flat and smooth glass sheet, the basis for many glass applications today. the sheet glass process began with the mechanically drawing cylinder process, where large glass cylinders were made to be split and flattened into plates, and. laminated glass consists of glass sheets bonded. Sheet Glass Process.
From jag-en-ligne.com
Spiritfarer glass sheet Sheet Glass Process The glass and interlayers can be supplied in a variety of colors and. Float glass, commonly known as flat glass, is made by floating molten glass on a bed of molten tin. sheet glass is made using a series of rollers that draws the molten glass vertically up out of the mixing tank (where the glass is still a. Sheet Glass Process.
From www.alamy.com
The Colburn Machine for making window Glass by the sheet Process Stock Sheet Glass Process the sheet glass process began with the mechanically drawing cylinder process, where large glass cylinders were made to be split and flattened into plates, and. the process creates a perfectly flat and smooth glass sheet, the basis for many glass applications today. float makes glass of near optical quality. Float glass, commonly known as flat glass, is. Sheet Glass Process.
From telegra.ph
Reinforced glass window Telegraph Sheet Glass Process float makes glass of near optical quality. the sheet glass process began with the mechanically drawing cylinder process, where large glass cylinders were made to be split and flattened into plates, and. sheet glass is made using a series of rollers that draws the molten glass vertically up out of the mixing tank (where the glass is. Sheet Glass Process.
From www.pinterest.com
plate glass manufacturing process handmade Google Search Glass Sheet Glass Process float makes glass of near optical quality. the sheet glass process began with the mechanically drawing cylinder process, where large glass cylinders were made to be split and flattened into plates, and. sheet glass is made using a series of rollers that draws the molten glass vertically up out of the mixing tank (where the glass is. Sheet Glass Process.
From www.youtube.com
Display the packaging process of large sheet glass YouTube Sheet Glass Process Float glass, commonly known as flat glass, is made by floating molten glass on a bed of molten tin. the sheet glass process began with the mechanically drawing cylinder process, where large glass cylinders were made to be split and flattened into plates, and. sheet glass is made using a series of rollers that draws the molten glass. Sheet Glass Process.
From www.slideserve.com
PPT Chapter 3 & 4 Glass Evidence PowerPoint Presentation ID2260390 Sheet Glass Process the process creates a perfectly flat and smooth glass sheet, the basis for many glass applications today. the sheet glass process began with the mechanically drawing cylinder process, where large glass cylinders were made to be split and flattened into plates, and. The glass and interlayers can be supplied in a variety of colors and. sheet glass. Sheet Glass Process.
From www.metroglasstech.co.nz
9.1 Composition, 9.2 Manufacture Glass Metro GlassTech Sheet Glass Process laminated glass consists of glass sheets bonded together using a plastic interlayer. the process creates a perfectly flat and smooth glass sheet, the basis for many glass applications today. sheet glass is made using a series of rollers that draws the molten glass vertically up out of the mixing tank (where the glass is still a liquid).. Sheet Glass Process.
From glassdirectors.com
Float Glass or Sheet Glass what’s the difference? Glass Directors Sheet Glass Process plate glass, flat glass or sheet glass is a type of glass, initially produced in plane form, commonly used for windows, glass doors,. float makes glass of near optical quality. The glass and interlayers can be supplied in a variety of colors and. Float glass, commonly known as flat glass, is made by floating molten glass on a. Sheet Glass Process.
From info.glass.com
What Is the Float Glass Process? How Float Glass is Made Sheet Glass Process sheet glass is made using a series of rollers that draws the molten glass vertically up out of the mixing tank (where the glass is still a liquid). the sheet glass process began with the mechanically drawing cylinder process, where large glass cylinders were made to be split and flattened into plates, and. plate glass, flat glass. Sheet Glass Process.
From www.alamy.com
THE FIRST MACHINE FOR THE COMMERCIAL PRO DUCTION OF WINDOW GLASS BY THE Sheet Glass Process the sheet glass process began with the mechanically drawing cylinder process, where large glass cylinders were made to be split and flattened into plates, and. The glass and interlayers can be supplied in a variety of colors and. float makes glass of near optical quality. the process creates a perfectly flat and smooth glass sheet, the basis. Sheet Glass Process.
From www.youtube.com
Pilkington Float Glass Process YouTube Sheet Glass Process the process creates a perfectly flat and smooth glass sheet, the basis for many glass applications today. float makes glass of near optical quality. sheet glass is made using a series of rollers that draws the molten glass vertically up out of the mixing tank (where the glass is still a liquid). Float glass, commonly known as. Sheet Glass Process.
From roadmapit.com
FullSuite ERP the Ultimate Fit for Glass Processing Workflow Sheet Glass Process the sheet glass process began with the mechanically drawing cylinder process, where large glass cylinders were made to be split and flattened into plates, and. The glass and interlayers can be supplied in a variety of colors and. Float glass, commonly known as flat glass, is made by floating molten glass on a bed of molten tin. laminated. Sheet Glass Process.
From gharpedia.com
Raw Materials Used in Glass Manufacturing Process Sheet Glass Process float makes glass of near optical quality. the process creates a perfectly flat and smooth glass sheet, the basis for many glass applications today. plate glass, flat glass or sheet glass is a type of glass, initially produced in plane form, commonly used for windows, glass doors,. Float glass, commonly known as flat glass, is made by. Sheet Glass Process.
From www.wimp.com
Watch the mesmerizingly dangerous process of making sheet glass. Sheet Glass Process sheet glass is made using a series of rollers that draws the molten glass vertically up out of the mixing tank (where the glass is still a liquid). plate glass, flat glass or sheet glass is a type of glass, initially produced in plane form, commonly used for windows, glass doors,. float makes glass of near optical. Sheet Glass Process.
From visiontir.com
Temperature control in float glass manufacturing VisionTIR Sheet Glass Process the process creates a perfectly flat and smooth glass sheet, the basis for many glass applications today. Float glass, commonly known as flat glass, is made by floating molten glass on a bed of molten tin. laminated glass consists of glass sheets bonded together using a plastic interlayer. float makes glass of near optical quality. the. Sheet Glass Process.
From www.glassgenius.com
Laminated Glass VS Tempered Glass The Difference Sheet Glass Process float makes glass of near optical quality. sheet glass is made using a series of rollers that draws the molten glass vertically up out of the mixing tank (where the glass is still a liquid). the process creates a perfectly flat and smooth glass sheet, the basis for many glass applications today. Float glass, commonly known as. Sheet Glass Process.
From www.youtube.com
Sheet glass manufacture the float process reading answers discussion Sheet Glass Process laminated glass consists of glass sheets bonded together using a plastic interlayer. The glass and interlayers can be supplied in a variety of colors and. the process creates a perfectly flat and smooth glass sheet, the basis for many glass applications today. the sheet glass process began with the mechanically drawing cylinder process, where large glass cylinders. Sheet Glass Process.
From www.researchgate.net
Flowchart for the glass manufacturing process line Download Sheet Glass Process plate glass, flat glass or sheet glass is a type of glass, initially produced in plane form, commonly used for windows, glass doors,. float makes glass of near optical quality. the process creates a perfectly flat and smooth glass sheet, the basis for many glass applications today. sheet glass is made using a series of rollers. Sheet Glass Process.
From www.youtube.com
Toughened Laminated glass process YouTube Sheet Glass Process float makes glass of near optical quality. The glass and interlayers can be supplied in a variety of colors and. Float glass, commonly known as flat glass, is made by floating molten glass on a bed of molten tin. sheet glass is made using a series of rollers that draws the molten glass vertically up out of the. Sheet Glass Process.
From visiontir.com
Temperature control in float glass manufacturing VisionTIR Sheet Glass Process the sheet glass process began with the mechanically drawing cylinder process, where large glass cylinders were made to be split and flattened into plates, and. plate glass, flat glass or sheet glass is a type of glass, initially produced in plane form, commonly used for windows, glass doors,. The glass and interlayers can be supplied in a variety. Sheet Glass Process.
From www.iqsdirectory.com
Glass Cutting What Is It? How Does It Work? Tools, Machines Sheet Glass Process the process creates a perfectly flat and smooth glass sheet, the basis for many glass applications today. sheet glass is made using a series of rollers that draws the molten glass vertically up out of the mixing tank (where the glass is still a liquid). plate glass, flat glass or sheet glass is a type of glass,. Sheet Glass Process.
From mansourglass.jo
Monolithic Glass Mansour Glass Sheet Glass Process laminated glass consists of glass sheets bonded together using a plastic interlayer. float makes glass of near optical quality. sheet glass is made using a series of rollers that draws the molten glass vertically up out of the mixing tank (where the glass is still a liquid). plate glass, flat glass or sheet glass is a. Sheet Glass Process.
From en.villumwindowcollection.com
VILLUM Window Collection Sheet Glass Process laminated glass consists of glass sheets bonded together using a plastic interlayer. Float glass, commonly known as flat glass, is made by floating molten glass on a bed of molten tin. plate glass, flat glass or sheet glass is a type of glass, initially produced in plane form, commonly used for windows, glass doors,. the sheet glass. Sheet Glass Process.
From www.dreamstime.com
The Process of Glass Production. Vector Illustration Stock Vector Sheet Glass Process laminated glass consists of glass sheets bonded together using a plastic interlayer. Float glass, commonly known as flat glass, is made by floating molten glass on a bed of molten tin. float makes glass of near optical quality. plate glass, flat glass or sheet glass is a type of glass, initially produced in plane form, commonly used. Sheet Glass Process.
From people.maths.ox.ac.uk
Ian Griffiths Sheet Glass Process the process creates a perfectly flat and smooth glass sheet, the basis for many glass applications today. The glass and interlayers can be supplied in a variety of colors and. laminated glass consists of glass sheets bonded together using a plastic interlayer. Float glass, commonly known as flat glass, is made by floating molten glass on a bed. Sheet Glass Process.
From www.youtube.com
Wysips® Glass Manufacturing process YouTube Sheet Glass Process Float glass, commonly known as flat glass, is made by floating molten glass on a bed of molten tin. laminated glass consists of glass sheets bonded together using a plastic interlayer. the process creates a perfectly flat and smooth glass sheet, the basis for many glass applications today. plate glass, flat glass or sheet glass is a. Sheet Glass Process.