Gas Burner Parts Adelaide . gas cooktop spare parts. find and compare stove & rangehood parts & service near adelaide, sa. Chef accessories gives you much more range in the kitchen. explore a wide range of bbq spare parts at the bbq store online. gas appliance spare parts. Simply enter your suburb or postcode to find an authorised westinghouse spare parts distributor near. Get reviews, location and contact details. at lismore appliance spares, we have replacement parts for electric and gas ovens and cooktops. at online appliance parts, you have access to a large range of gas oven and gas cooktop spare parts such as burners, burner caps, diffusers and igniters, to. Statewide specializes in supplying a wide range of gas cook top spare parts such as burners, drip. Find beefeater cast iron burner replacements and more in stock.
from webmotor.org
find and compare stove & rangehood parts & service near adelaide, sa. Find beefeater cast iron burner replacements and more in stock. explore a wide range of bbq spare parts at the bbq store online. at lismore appliance spares, we have replacement parts for electric and gas ovens and cooktops. Statewide specializes in supplying a wide range of gas cook top spare parts such as burners, drip. at online appliance parts, you have access to a large range of gas oven and gas cooktop spare parts such as burners, burner caps, diffusers and igniters, to. Get reviews, location and contact details. Simply enter your suburb or postcode to find an authorised westinghouse spare parts distributor near. Chef accessories gives you much more range in the kitchen. gas appliance spare parts.
What Are The Parts Of A Gas Burner
Gas Burner Parts Adelaide Get reviews, location and contact details. explore a wide range of bbq spare parts at the bbq store online. Simply enter your suburb or postcode to find an authorised westinghouse spare parts distributor near. at lismore appliance spares, we have replacement parts for electric and gas ovens and cooktops. gas appliance spare parts. Find beefeater cast iron burner replacements and more in stock. gas cooktop spare parts. find and compare stove & rangehood parts & service near adelaide, sa. Statewide specializes in supplying a wide range of gas cook top spare parts such as burners, drip. at online appliance parts, you have access to a large range of gas oven and gas cooktop spare parts such as burners, burner caps, diffusers and igniters, to. Chef accessories gives you much more range in the kitchen. Get reviews, location and contact details.
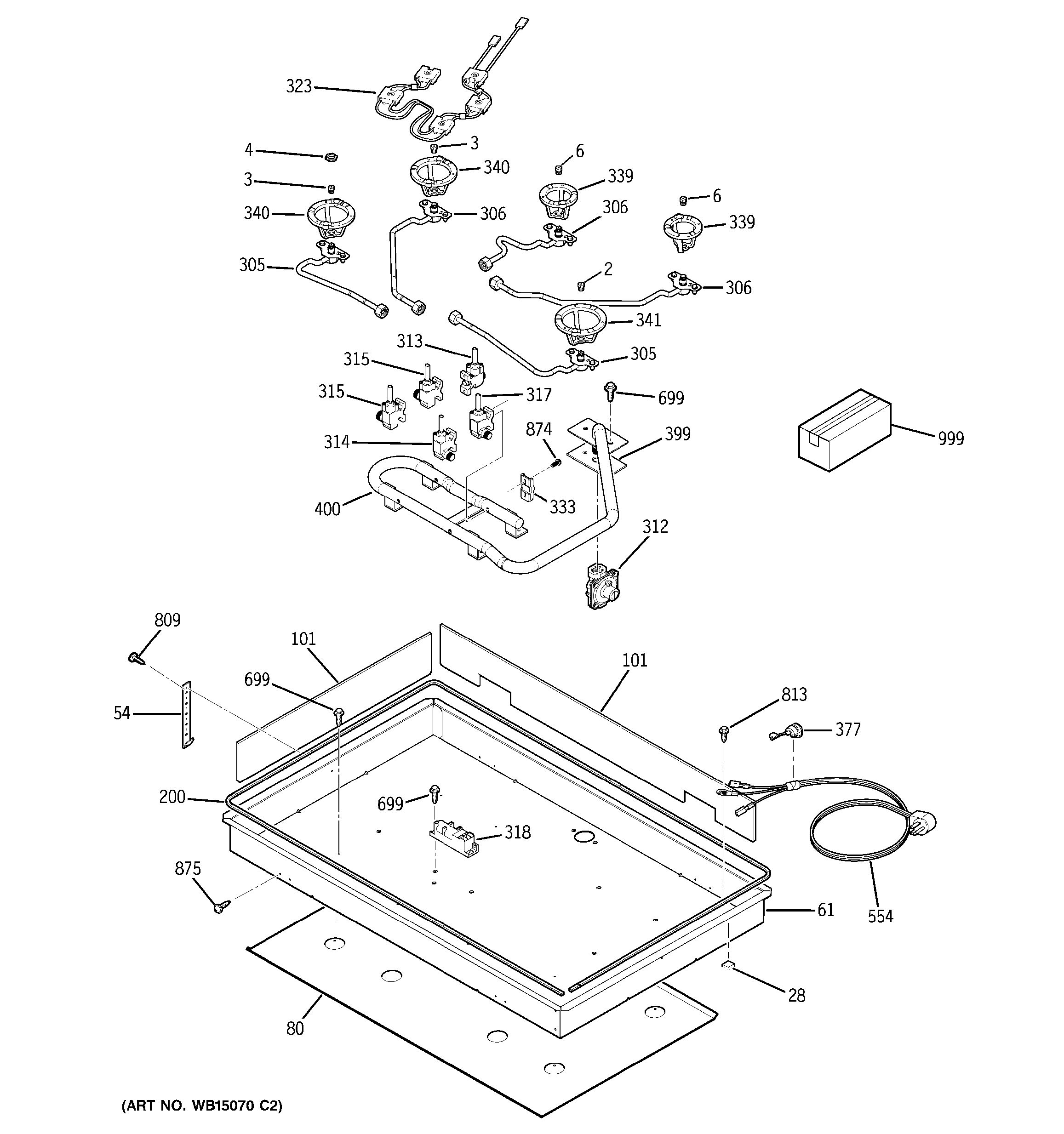
From www.geapplianceparts.com
Assembly View for GAS & BURNER PARTS JGP3036SL2SS Gas Burner Parts Adelaide gas cooktop spare parts. Find beefeater cast iron burner replacements and more in stock. find and compare stove & rangehood parts & service near adelaide, sa. Chef accessories gives you much more range in the kitchen. Get reviews, location and contact details. gas appliance spare parts. explore a wide range of bbq spare parts at the. Gas Burner Parts Adelaide.
From www.geapplianceparts.com
Assembly View for GAS & BURNER PARTS ZDP36N6H1SS Gas Burner Parts Adelaide Statewide specializes in supplying a wide range of gas cook top spare parts such as burners, drip. Simply enter your suburb or postcode to find an authorised westinghouse spare parts distributor near. gas appliance spare parts. Find beefeater cast iron burner replacements and more in stock. Get reviews, location and contact details. at online appliance parts, you have. Gas Burner Parts Adelaide.
From emcombustion.es
Gas Burner Components Industrial Burners Burner E&M Combustión Gas Burner Parts Adelaide at lismore appliance spares, we have replacement parts for electric and gas ovens and cooktops. gas appliance spare parts. Chef accessories gives you much more range in the kitchen. Find beefeater cast iron burner replacements and more in stock. at online appliance parts, you have access to a large range of gas oven and gas cooktop spare. Gas Burner Parts Adelaide.
From www.adelaidehillsgas.com.au
WEED BURNER SAK 800 KIT (EA) Adelaide Hills Gas Gas Burner Parts Adelaide Find beefeater cast iron burner replacements and more in stock. at online appliance parts, you have access to a large range of gas oven and gas cooktop spare parts such as burners, burner caps, diffusers and igniters, to. Statewide specializes in supplying a wide range of gas cook top spare parts such as burners, drip. Get reviews, location and. Gas Burner Parts Adelaide.
From engineeringsadvice.com
Gas Stove Burner Parts Names And Functions Engineering's Advice Gas Burner Parts Adelaide Simply enter your suburb or postcode to find an authorised westinghouse spare parts distributor near. explore a wide range of bbq spare parts at the bbq store online. Chef accessories gives you much more range in the kitchen. at lismore appliance spares, we have replacement parts for electric and gas ovens and cooktops. Get reviews, location and contact. Gas Burner Parts Adelaide.
From gasburnerkakisen.blogspot.com
Gas Burner Lp Gas Burner Parts Gas Burner Parts Adelaide gas appliance spare parts. Get reviews, location and contact details. Chef accessories gives you much more range in the kitchen. explore a wide range of bbq spare parts at the bbq store online. Find beefeater cast iron burner replacements and more in stock. find and compare stove & rangehood parts & service near adelaide, sa. Simply enter. Gas Burner Parts Adelaide.
From gasstovebutsuyama.blogspot.com
Gas Stove Gas Stove Burner Parts Gas Burner Parts Adelaide Statewide specializes in supplying a wide range of gas cook top spare parts such as burners, drip. Simply enter your suburb or postcode to find an authorised westinghouse spare parts distributor near. Find beefeater cast iron burner replacements and more in stock. Chef accessories gives you much more range in the kitchen. find and compare stove & rangehood parts. Gas Burner Parts Adelaide.
From www.alamy.com
Parts of gas burner Stock Photo Alamy Gas Burner Parts Adelaide gas appliance spare parts. Statewide specializes in supplying a wide range of gas cook top spare parts such as burners, drip. at online appliance parts, you have access to a large range of gas oven and gas cooktop spare parts such as burners, burner caps, diffusers and igniters, to. Chef accessories gives you much more range in the. Gas Burner Parts Adelaide.
From www.geapplianceparts.com
Assembly View for GAS & BURNER PARTS JGP633DET1BB Gas Burner Parts Adelaide explore a wide range of bbq spare parts at the bbq store online. gas cooktop spare parts. Find beefeater cast iron burner replacements and more in stock. gas appliance spare parts. Statewide specializes in supplying a wide range of gas cook top spare parts such as burners, drip. Simply enter your suburb or postcode to find an. Gas Burner Parts Adelaide.
From www.geapplianceparts.com
Assembly View for GAS & BURNER PARTS JGB920KEC1CC Gas Burner Parts Adelaide gas cooktop spare parts. Find beefeater cast iron burner replacements and more in stock. Get reviews, location and contact details. explore a wide range of bbq spare parts at the bbq store online. gas appliance spare parts. Simply enter your suburb or postcode to find an authorised westinghouse spare parts distributor near. find and compare stove. Gas Burner Parts Adelaide.
From www.geapplianceparts.com
Assembly View for GAS & BURNER PARTS RGB533CEH6CC Gas Burner Parts Adelaide find and compare stove & rangehood parts & service near adelaide, sa. gas cooktop spare parts. Find beefeater cast iron burner replacements and more in stock. at online appliance parts, you have access to a large range of gas oven and gas cooktop spare parts such as burners, burner caps, diffusers and igniters, to. Chef accessories gives. Gas Burner Parts Adelaide.
From www.geapplianceparts.com
Assembly View for GAS & BURNER PARTS JGRP17BEW3BB Gas Burner Parts Adelaide find and compare stove & rangehood parts & service near adelaide, sa. Find beefeater cast iron burner replacements and more in stock. gas appliance spare parts. Chef accessories gives you much more range in the kitchen. Get reviews, location and contact details. Statewide specializes in supplying a wide range of gas cook top spare parts such as burners,. Gas Burner Parts Adelaide.
From www.geapplianceparts.com
Assembly View for GAS & BURNER PARTS JGP3030SL2SS Gas Burner Parts Adelaide Chef accessories gives you much more range in the kitchen. Statewide specializes in supplying a wide range of gas cook top spare parts such as burners, drip. find and compare stove & rangehood parts & service near adelaide, sa. gas cooktop spare parts. Find beefeater cast iron burner replacements and more in stock. Get reviews, location and contact. Gas Burner Parts Adelaide.
From www.adelaidehillsgas.com.au
Special Offers Adelaide Hills Gas Gas Burner Parts Adelaide Simply enter your suburb or postcode to find an authorised westinghouse spare parts distributor near. find and compare stove & rangehood parts & service near adelaide, sa. Chef accessories gives you much more range in the kitchen. at lismore appliance spares, we have replacement parts for electric and gas ovens and cooktops. at online appliance parts, you. Gas Burner Parts Adelaide.
From www.geapplianceparts.com
Assembly View for GAS & BURNER PARTS PGP976SET2SS Gas Burner Parts Adelaide Get reviews, location and contact details. find and compare stove & rangehood parts & service near adelaide, sa. Statewide specializes in supplying a wide range of gas cook top spare parts such as burners, drip. explore a wide range of bbq spare parts at the bbq store online. gas appliance spare parts. gas cooktop spare parts.. Gas Burner Parts Adelaide.
From webmotor.org
What Are The Parts Of A Gas Burner Gas Burner Parts Adelaide at online appliance parts, you have access to a large range of gas oven and gas cooktop spare parts such as burners, burner caps, diffusers and igniters, to. find and compare stove & rangehood parts & service near adelaide, sa. gas cooktop spare parts. Find beefeater cast iron burner replacements and more in stock. explore a. Gas Burner Parts Adelaide.
From www.oemhardwareparts.com
Commercial Gas Burner Parts Gas Burner Parts Adelaide gas cooktop spare parts. Simply enter your suburb or postcode to find an authorised westinghouse spare parts distributor near. at online appliance parts, you have access to a large range of gas oven and gas cooktop spare parts such as burners, burner caps, diffusers and igniters, to. find and compare stove & rangehood parts & service near. Gas Burner Parts Adelaide.
From engineeringsadvice.com
Gas Stove Burner Parts Names And Functions Engineering's Advice Gas Burner Parts Adelaide explore a wide range of bbq spare parts at the bbq store online. at lismore appliance spares, we have replacement parts for electric and gas ovens and cooktops. Chef accessories gives you much more range in the kitchen. at online appliance parts, you have access to a large range of gas oven and gas cooktop spare parts. Gas Burner Parts Adelaide.
From gasburnerkakisen.blogspot.com
Gas Burner Lp Gas Burner Parts Gas Burner Parts Adelaide find and compare stove & rangehood parts & service near adelaide, sa. Simply enter your suburb or postcode to find an authorised westinghouse spare parts distributor near. Statewide specializes in supplying a wide range of gas cook top spare parts such as burners, drip. explore a wide range of bbq spare parts at the bbq store online. Get. Gas Burner Parts Adelaide.
From www.geapplianceparts.com
Assembly View for GAS & BURNER PARTS JGRP17BEW5BB Gas Burner Parts Adelaide Statewide specializes in supplying a wide range of gas cook top spare parts such as burners, drip. gas cooktop spare parts. find and compare stove & rangehood parts & service near adelaide, sa. Chef accessories gives you much more range in the kitchen. Get reviews, location and contact details. at online appliance parts, you have access to. Gas Burner Parts Adelaide.
From www.ebay.com
Gas Heater Fire Pit Replacement Parts ODS Pilot Burner Thermocouple Gas Burner Parts Adelaide Statewide specializes in supplying a wide range of gas cook top spare parts such as burners, drip. Find beefeater cast iron burner replacements and more in stock. gas appliance spare parts. at lismore appliance spares, we have replacement parts for electric and gas ovens and cooktops. find and compare stove & rangehood parts & service near adelaide,. Gas Burner Parts Adelaide.
From heatlightproduct.blogspot.com
Burners & Stove Parts & Gas Parts Gas Burner Parts Adelaide at online appliance parts, you have access to a large range of gas oven and gas cooktop spare parts such as burners, burner caps, diffusers and igniters, to. find and compare stove & rangehood parts & service near adelaide, sa. Simply enter your suburb or postcode to find an authorised westinghouse spare parts distributor near. Chef accessories gives. Gas Burner Parts Adelaide.
From reviewmotors.co
Campingaz Adelaide Spare Parts Reviewmotors.co Gas Burner Parts Adelaide Chef accessories gives you much more range in the kitchen. find and compare stove & rangehood parts & service near adelaide, sa. at lismore appliance spares, we have replacement parts for electric and gas ovens and cooktops. gas cooktop spare parts. explore a wide range of bbq spare parts at the bbq store online. Statewide specializes. Gas Burner Parts Adelaide.
From www.oemhardwareparts.com
Outdoor Propane Gas Burner Parts , Cast Iron 3 Burners Gas Hob Parts Gas Burner Parts Adelaide Get reviews, location and contact details. Simply enter your suburb or postcode to find an authorised westinghouse spare parts distributor near. gas cooktop spare parts. gas appliance spare parts. explore a wide range of bbq spare parts at the bbq store online. find and compare stove & rangehood parts & service near adelaide, sa. Chef accessories. Gas Burner Parts Adelaide.
From www.geapplianceparts.com
Assembly View for GAS & BURNER PARTS JGBP25BEC1WH Gas Burner Parts Adelaide Chef accessories gives you much more range in the kitchen. explore a wide range of bbq spare parts at the bbq store online. Get reviews, location and contact details. find and compare stove & rangehood parts & service near adelaide, sa. gas cooktop spare parts. at lismore appliance spares, we have replacement parts for electric and. Gas Burner Parts Adelaide.
From heatlightproduct.blogspot.com
Burners & Stove Parts & Gas Parts Gas Burner Parts Adelaide find and compare stove & rangehood parts & service near adelaide, sa. at lismore appliance spares, we have replacement parts for electric and gas ovens and cooktops. Get reviews, location and contact details. at online appliance parts, you have access to a large range of gas oven and gas cooktop spare parts such as burners, burner caps,. Gas Burner Parts Adelaide.
From www.adelaidehillsgas.com.au
Gas Weed Burners Adelaide Hills Gas Gas Burner Parts Adelaide at lismore appliance spares, we have replacement parts for electric and gas ovens and cooktops. gas appliance spare parts. Simply enter your suburb or postcode to find an authorised westinghouse spare parts distributor near. Get reviews, location and contact details. explore a wide range of bbq spare parts at the bbq store online. Statewide specializes in supplying. Gas Burner Parts Adelaide.
From www.geapplianceparts.com
Assembly View for GAS & BURNER PARTS JGP5536DL1BB Gas Burner Parts Adelaide gas cooktop spare parts. at lismore appliance spares, we have replacement parts for electric and gas ovens and cooktops. gas appliance spare parts. find and compare stove & rangehood parts & service near adelaide, sa. Statewide specializes in supplying a wide range of gas cook top spare parts such as burners, drip. Chef accessories gives you. Gas Burner Parts Adelaide.
From heatlightproduct.blogspot.com
Burners & Stove Parts & Gas Parts Gas Burner Parts Adelaide Get reviews, location and contact details. gas cooktop spare parts. Simply enter your suburb or postcode to find an authorised westinghouse spare parts distributor near. Statewide specializes in supplying a wide range of gas cook top spare parts such as burners, drip. explore a wide range of bbq spare parts at the bbq store online. gas appliance. Gas Burner Parts Adelaide.
From www.mikintl.jp
Home & Garden Yard, Garden & Outdoor Living Items High Pressure Gas Burner Parts Adelaide gas cooktop spare parts. Find beefeater cast iron burner replacements and more in stock. Simply enter your suburb or postcode to find an authorised westinghouse spare parts distributor near. gas appliance spare parts. Chef accessories gives you much more range in the kitchen. explore a wide range of bbq spare parts at the bbq store online. . Gas Burner Parts Adelaide.
From www.geapplianceparts.com
Assembly View for GAS & BURNER PARTS JGBS19DEN5WW Gas Burner Parts Adelaide at lismore appliance spares, we have replacement parts for electric and gas ovens and cooktops. Get reviews, location and contact details. Statewide specializes in supplying a wide range of gas cook top spare parts such as burners, drip. gas cooktop spare parts. gas appliance spare parts. Simply enter your suburb or postcode to find an authorised westinghouse. Gas Burner Parts Adelaide.
From www.geapplianceparts.com
Assembly View for GAS & BURNER PARTS JGBP33DEM7WW Gas Burner Parts Adelaide at lismore appliance spares, we have replacement parts for electric and gas ovens and cooktops. Statewide specializes in supplying a wide range of gas cook top spare parts such as burners, drip. gas cooktop spare parts. explore a wide range of bbq spare parts at the bbq store online. Simply enter your suburb or postcode to find. Gas Burner Parts Adelaide.
From www.geapplianceparts.com
Assembly View for GAS & BURNER PARTS JGP336BED1BB Gas Burner Parts Adelaide at online appliance parts, you have access to a large range of gas oven and gas cooktop spare parts such as burners, burner caps, diffusers and igniters, to. Chef accessories gives you much more range in the kitchen. at lismore appliance spares, we have replacement parts for electric and gas ovens and cooktops. find and compare stove. Gas Burner Parts Adelaide.
From www.geapplianceparts.com
Assembly View for GAS & BURNER PARTS PGS968SEP3SS Gas Burner Parts Adelaide Statewide specializes in supplying a wide range of gas cook top spare parts such as burners, drip. gas appliance spare parts. at lismore appliance spares, we have replacement parts for electric and gas ovens and cooktops. explore a wide range of bbq spare parts at the bbq store online. Get reviews, location and contact details. at. Gas Burner Parts Adelaide.
From hotncool.com.au
Bonaire Vulcan Pyrox Gas Heater Minisit 710 Gas Control Valve Gas Burner Parts Adelaide Find beefeater cast iron burner replacements and more in stock. gas appliance spare parts. Get reviews, location and contact details. at online appliance parts, you have access to a large range of gas oven and gas cooktop spare parts such as burners, burner caps, diffusers and igniters, to. at lismore appliance spares, we have replacement parts for. Gas Burner Parts Adelaide.