Injection Quill Grundfos . these installation and operating instructions describe the grundfos injection units for dosing pumps. to ensure that chemical feed systems inject into the centre of a process stream for better mixing and to prevent corrosion along the process pipe. an injection unit consists of the following parts: injection units for special applications. the injection units are used in conjunction with dosing pumps to inject and mix the dosing medium in pipe systems. grundfos alldos pvc injectors are used to inject cl2, nh3 and so 2 gas into water in water treatment systems within the. Injection units with ball valve. They ensure a minimum counterpressure of 0.7 bar, and avoid. Injection units with ball valve are used for applications. injection units connect the dosing line with the process line. the injection units are used in conjunction with dosing pumps to inject and mix the dosing medium in pipe systems.
from inyoprocess.com
the injection units are used in conjunction with dosing pumps to inject and mix the dosing medium in pipe systems. They ensure a minimum counterpressure of 0.7 bar, and avoid. to ensure that chemical feed systems inject into the centre of a process stream for better mixing and to prevent corrosion along the process pipe. injection units connect the dosing line with the process line. an injection unit consists of the following parts: grundfos alldos pvc injectors are used to inject cl2, nh3 and so 2 gas into water in water treatment systems within the. Injection units with ball valve are used for applications. injection units for special applications. these installation and operating instructions describe the grundfos injection units for dosing pumps. the injection units are used in conjunction with dosing pumps to inject and mix the dosing medium in pipe systems.
Retractable Injectors
Injection Quill Grundfos an injection unit consists of the following parts: the injection units are used in conjunction with dosing pumps to inject and mix the dosing medium in pipe systems. to ensure that chemical feed systems inject into the centre of a process stream for better mixing and to prevent corrosion along the process pipe. these installation and operating instructions describe the grundfos injection units for dosing pumps. injection units for special applications. injection units connect the dosing line with the process line. They ensure a minimum counterpressure of 0.7 bar, and avoid. the injection units are used in conjunction with dosing pumps to inject and mix the dosing medium in pipe systems. an injection unit consists of the following parts: Injection units with ball valve are used for applications. Injection units with ball valve. grundfos alldos pvc injectors are used to inject cl2, nh3 and so 2 gas into water in water treatment systems within the.
From pwnps.com
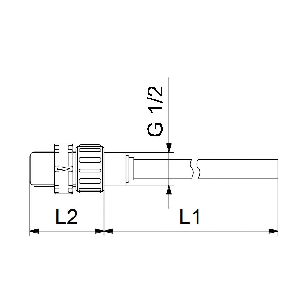
Grundfos PVC Injection Unit with NonReturn Valve suitable for G 1/2 Injection Quill Grundfos the injection units are used in conjunction with dosing pumps to inject and mix the dosing medium in pipe systems. an injection unit consists of the following parts: Injection units with ball valve. Injection units with ball valve are used for applications. grundfos alldos pvc injectors are used to inject cl2, nh3 and so 2 gas into. Injection Quill Grundfos.
From rajeshwariengineering.com
Chemical Injection Quills & Service Tool Kit SREW Injection Quill Grundfos injection units for special applications. these installation and operating instructions describe the grundfos injection units for dosing pumps. Injection units with ball valve. to ensure that chemical feed systems inject into the centre of a process stream for better mixing and to prevent corrosion along the process pipe. an injection unit consists of the following parts:. Injection Quill Grundfos.
From emt-pipe.com
Chemical Injection Quill Emt Pipe Cleaning Pig Injection Quill Grundfos an injection unit consists of the following parts: the injection units are used in conjunction with dosing pumps to inject and mix the dosing medium in pipe systems. They ensure a minimum counterpressure of 0.7 bar, and avoid. injection units for special applications. grundfos alldos pvc injectors are used to inject cl2, nh3 and so 2. Injection Quill Grundfos.
From www.spraytechindia.com
Injection Quills Chemical Injection Quill Manufacturers Injection Quill Grundfos injection units for special applications. Injection units with ball valve. Injection units with ball valve are used for applications. grundfos alldos pvc injectors are used to inject cl2, nh3 and so 2 gas into water in water treatment systems within the. to ensure that chemical feed systems inject into the centre of a process stream for better. Injection Quill Grundfos.
From inyoprocess.com
Retractable Injectors Injection Quill Grundfos these installation and operating instructions describe the grundfos injection units for dosing pumps. Injection units with ball valve are used for applications. injection units connect the dosing line with the process line. an injection unit consists of the following parts: the injection units are used in conjunction with dosing pumps to inject and mix the dosing. Injection Quill Grundfos.
From ftp.koflo.com
Retractable Injection Quills Koflo Corporation Injection Quill Grundfos the injection units are used in conjunction with dosing pumps to inject and mix the dosing medium in pipe systems. to ensure that chemical feed systems inject into the centre of a process stream for better mixing and to prevent corrosion along the process pipe. these installation and operating instructions describe the grundfos injection units for dosing. Injection Quill Grundfos.
From www.eng-tips.com
INJECTION QUILL PROBE DIMENSION Chemical process engineering EngTips Injection Quill Grundfos an injection unit consists of the following parts: injection units connect the dosing line with the process line. grundfos alldos pvc injectors are used to inject cl2, nh3 and so 2 gas into water in water treatment systems within the. to ensure that chemical feed systems inject into the centre of a process stream for better. Injection Quill Grundfos.
From pmdealz.ca
Grundfos 95730914 Genuine Original OEM Injection Unit for Dosing Pumps Injection Quill Grundfos to ensure that chemical feed systems inject into the centre of a process stream for better mixing and to prevent corrosion along the process pipe. injection units connect the dosing line with the process line. They ensure a minimum counterpressure of 0.7 bar, and avoid. the injection units are used in conjunction with dosing pumps to inject. Injection Quill Grundfos.
From www.bidspotter.com
Injection quill assembly. Material Alloy 20 Hastelloy. Quill is built Injection Quill Grundfos Injection units with ball valve. to ensure that chemical feed systems inject into the centre of a process stream for better mixing and to prevent corrosion along the process pipe. injection units connect the dosing line with the process line. the injection units are used in conjunction with dosing pumps to inject and mix the dosing medium. Injection Quill Grundfos.
From cannonwater.com
Stainless Steel Injection Quill 3 inches Cannon Water Technology Injection Quill Grundfos They ensure a minimum counterpressure of 0.7 bar, and avoid. Injection units with ball valve are used for applications. an injection unit consists of the following parts: injection units connect the dosing line with the process line. the injection units are used in conjunction with dosing pumps to inject and mix the dosing medium in pipe systems.. Injection Quill Grundfos.
From piping-clean.com
Chemical Injection Quill EMT Pipe cleaning pig Injection Quill Grundfos an injection unit consists of the following parts: grundfos alldos pvc injectors are used to inject cl2, nh3 and so 2 gas into water in water treatment systems within the. Injection units with ball valve. to ensure that chemical feed systems inject into the centre of a process stream for better mixing and to prevent corrosion along. Injection Quill Grundfos.
From www.koflo.com
Chemical Injection Quills Stainless Steel Injection Quill Koflo Injection Quill Grundfos injection units connect the dosing line with the process line. the injection units are used in conjunction with dosing pumps to inject and mix the dosing medium in pipe systems. grundfos alldos pvc injectors are used to inject cl2, nh3 and so 2 gas into water in water treatment systems within the. injection units for special. Injection Quill Grundfos.
From as-schneider.blog
Chemical injection quill for oil and gas application and other fields Injection Quill Grundfos the injection units are used in conjunction with dosing pumps to inject and mix the dosing medium in pipe systems. grundfos alldos pvc injectors are used to inject cl2, nh3 and so 2 gas into water in water treatment systems within the. these installation and operating instructions describe the grundfos injection units for dosing pumps. injection. Injection Quill Grundfos.
From fyoaoymhs.blob.core.windows.net
Injection Quill Orientation at David Weddle blog Injection Quill Grundfos injection units for special applications. grundfos alldos pvc injectors are used to inject cl2, nh3 and so 2 gas into water in water treatment systems within the. the injection units are used in conjunction with dosing pumps to inject and mix the dosing medium in pipe systems. Injection units with ball valve are used for applications. Injection. Injection Quill Grundfos.
From spraytechindia.com
Injection Quills Chemical Injection Quill Manufacturers Injection Quill Grundfos Injection units with ball valve. Injection units with ball valve are used for applications. an injection unit consists of the following parts: They ensure a minimum counterpressure of 0.7 bar, and avoid. grundfos alldos pvc injectors are used to inject cl2, nh3 and so 2 gas into water in water treatment systems within the. to ensure that. Injection Quill Grundfos.
From hansa-engineering.se
Chemical injection and Scavenger injection Hansa Engineering Injection Quill Grundfos an injection unit consists of the following parts: Injection units with ball valve. They ensure a minimum counterpressure of 0.7 bar, and avoid. injection units for special applications. injection units connect the dosing line with the process line. Injection units with ball valve are used for applications. grundfos alldos pvc injectors are used to inject cl2,. Injection Quill Grundfos.
From smartcorrs.com
Sample Injection System Chemical Injection Systems SMARTCORR Injection Quill Grundfos injection units connect the dosing line with the process line. grundfos alldos pvc injectors are used to inject cl2, nh3 and so 2 gas into water in water treatment systems within the. an injection unit consists of the following parts: the injection units are used in conjunction with dosing pumps to inject and mix the dosing. Injection Quill Grundfos.
From vdocuments.mx
Grundfos MixiMizer · Grundfos MixiMizer Pump Note 1 Note 2 Boiler Loop Injection Quill Grundfos the injection units are used in conjunction with dosing pumps to inject and mix the dosing medium in pipe systems. the injection units are used in conjunction with dosing pumps to inject and mix the dosing medium in pipe systems. They ensure a minimum counterpressure of 0.7 bar, and avoid. an injection unit consists of the following. Injection Quill Grundfos.
From ftp.koflo.com
Chemical Injection Quills Stainless Steel Injection Quill Koflo Injection Quill Grundfos Injection units with ball valve. these installation and operating instructions describe the grundfos injection units for dosing pumps. the injection units are used in conjunction with dosing pumps to inject and mix the dosing medium in pipe systems. Injection units with ball valve are used for applications. an injection unit consists of the following parts: injection. Injection Quill Grundfos.
From www.acpools.com.au
Grundfos Chemical Injector PVC Body (PTFE Seals) AC Pools Injection Quill Grundfos Injection units with ball valve are used for applications. these installation and operating instructions describe the grundfos injection units for dosing pumps. an injection unit consists of the following parts: the injection units are used in conjunction with dosing pumps to inject and mix the dosing medium in pipe systems. Injection units with ball valve. the. Injection Quill Grundfos.
From www.veritoengineering.in
Verito Engineering I Agitators Manufacturer Injection Quill Grundfos Injection units with ball valve. an injection unit consists of the following parts: these installation and operating instructions describe the grundfos injection units for dosing pumps. They ensure a minimum counterpressure of 0.7 bar, and avoid. the injection units are used in conjunction with dosing pumps to inject and mix the dosing medium in pipe systems. . Injection Quill Grundfos.
From exyfhrnjm.blob.core.windows.net
Injector Quill Tube at Doug Jackson blog Injection Quill Grundfos injection units connect the dosing line with the process line. to ensure that chemical feed systems inject into the centre of a process stream for better mixing and to prevent corrosion along the process pipe. the injection units are used in conjunction with dosing pumps to inject and mix the dosing medium in pipe systems. grundfos. Injection Quill Grundfos.
From griffcovalve.com
Griffco Injection Valves (Injection Quills) Griffco Valve Quality Injection Quill Grundfos these installation and operating instructions describe the grundfos injection units for dosing pumps. Injection units with ball valve are used for applications. the injection units are used in conjunction with dosing pumps to inject and mix the dosing medium in pipe systems. the injection units are used in conjunction with dosing pumps to inject and mix the. Injection Quill Grundfos.
From www.aircominstrumentation.com
Sample and Injection Quills — Instrumentation Injection Quill Grundfos the injection units are used in conjunction with dosing pumps to inject and mix the dosing medium in pipe systems. the injection units are used in conjunction with dosing pumps to inject and mix the dosing medium in pipe systems. to ensure that chemical feed systems inject into the centre of a process stream for better mixing. Injection Quill Grundfos.
From www.indiamart.com
Injection Quill at Rs 5000/piece Injection Nozzles for Truck in Injection Quill Grundfos these installation and operating instructions describe the grundfos injection units for dosing pumps. injection units connect the dosing line with the process line. an injection unit consists of the following parts: They ensure a minimum counterpressure of 0.7 bar, and avoid. injection units for special applications. Injection units with ball valve are used for applications. . Injection Quill Grundfos.
From www.westwater.com.au
Grundfos Chemical Storage Tanks WestWater Injection Quill Grundfos the injection units are used in conjunction with dosing pumps to inject and mix the dosing medium in pipe systems. the injection units are used in conjunction with dosing pumps to inject and mix the dosing medium in pipe systems. They ensure a minimum counterpressure of 0.7 bar, and avoid. to ensure that chemical feed systems inject. Injection Quill Grundfos.
From product-selection.grundfos.com
Injection unit 95730968 Grundfos product center Injection Quill Grundfos an injection unit consists of the following parts: to ensure that chemical feed systems inject into the centre of a process stream for better mixing and to prevent corrosion along the process pipe. injection units connect the dosing line with the process line. the injection units are used in conjunction with dosing pumps to inject and. Injection Quill Grundfos.
From www.indiamart.com
Shree Rajeshwari Chemical Injection Quills / Retrievable Tool, Model Injection Quill Grundfos to ensure that chemical feed systems inject into the centre of a process stream for better mixing and to prevent corrosion along the process pipe. the injection units are used in conjunction with dosing pumps to inject and mix the dosing medium in pipe systems. They ensure a minimum counterpressure of 0.7 bar, and avoid. the injection. Injection Quill Grundfos.
From www.lmipumps.co.uk
Injection Valves LMI Pumps Injection Quill Grundfos injection units connect the dosing line with the process line. Injection units with ball valve. to ensure that chemical feed systems inject into the centre of a process stream for better mixing and to prevent corrosion along the process pipe. these installation and operating instructions describe the grundfos injection units for dosing pumps. the injection units. Injection Quill Grundfos.
From injectionquills.com
Chemical injection quills from Crystal Industrial Injection quills Injection Quill Grundfos an injection unit consists of the following parts: the injection units are used in conjunction with dosing pumps to inject and mix the dosing medium in pipe systems. injection units for special applications. these installation and operating instructions describe the grundfos injection units for dosing pumps. grundfos alldos pvc injectors are used to inject cl2,. Injection Quill Grundfos.
From www.aquiferdist.com
Aquifer Distribution Grundfos 95730914 Standard Injection Unit, For Injection Quill Grundfos injection units connect the dosing line with the process line. to ensure that chemical feed systems inject into the centre of a process stream for better mixing and to prevent corrosion along the process pipe. these installation and operating instructions describe the grundfos injection units for dosing pumps. the injection units are used in conjunction with. Injection Quill Grundfos.
From injectionquills.com
Chemical injection quills from Crystal Industrial Injection quills Injection Quill Grundfos these installation and operating instructions describe the grundfos injection units for dosing pumps. Injection units with ball valve. Injection units with ball valve are used for applications. injection units connect the dosing line with the process line. an injection unit consists of the following parts: the injection units are used in conjunction with dosing pumps to. Injection Quill Grundfos.
From eureka.patsnap.com
Injection quill designs and methods of use Eureka Patsnap Injection Quill Grundfos to ensure that chemical feed systems inject into the centre of a process stream for better mixing and to prevent corrosion along the process pipe. the injection units are used in conjunction with dosing pumps to inject and mix the dosing medium in pipe systems. injection units connect the dosing line with the process line. They ensure. Injection Quill Grundfos.
From pureaqua.com
Grundfos DMX Pumps Pure Aqua, Inc. Injection Quill Grundfos grundfos alldos pvc injectors are used to inject cl2, nh3 and so 2 gas into water in water treatment systems within the. Injection units with ball valve. the injection units are used in conjunction with dosing pumps to inject and mix the dosing medium in pipe systems. They ensure a minimum counterpressure of 0.7 bar, and avoid. . Injection Quill Grundfos.
From www.koflo.com
Chemical Injection Quills Injection Quill Koflo Corporation Injection Quill Grundfos Injection units with ball valve. these installation and operating instructions describe the grundfos injection units for dosing pumps. grundfos alldos pvc injectors are used to inject cl2, nh3 and so 2 gas into water in water treatment systems within the. injection units connect the dosing line with the process line. the injection units are used in. Injection Quill Grundfos.