Blood Bag Measurements . Terumo penpol blood bags are sold. The blood bag system is composed of several components including a blood donor bag, a donor tube which consists of a needle with a needle cover, a puncturable and. Single blood bags are used for collection, preservation and transfusion of whole human blood. Tamper evident needle protection cap 2. How much blood is in a blood bag? Table 26.1 blood bag base label dimensions (width × depth) * the layout of base labels applied to smaller packs must be controlled within the purchasing specification. Figures 1 to 4 and their accompanying tables of dimensions illustrate the four blood collection systems, namely: Donation and optimizing blood component processing. A blood bag typically contains a specific volume of blood that is suitable for transfusion.
from macs.yilimart.com
A blood bag typically contains a specific volume of blood that is suitable for transfusion. How much blood is in a blood bag? The blood bag system is composed of several components including a blood donor bag, a donor tube which consists of a needle with a needle cover, a puncturable and. Tamper evident needle protection cap 2. Single blood bags are used for collection, preservation and transfusion of whole human blood. Figures 1 to 4 and their accompanying tables of dimensions illustrate the four blood collection systems, namely: Table 26.1 blood bag base label dimensions (width × depth) * the layout of base labels applied to smaller packs must be controlled within the purchasing specification. Terumo penpol blood bags are sold. Donation and optimizing blood component processing.
YILIMART CryoMACS Freezing Bag 50
Blood Bag Measurements The blood bag system is composed of several components including a blood donor bag, a donor tube which consists of a needle with a needle cover, a puncturable and. A blood bag typically contains a specific volume of blood that is suitable for transfusion. Single blood bags are used for collection, preservation and transfusion of whole human blood. The blood bag system is composed of several components including a blood donor bag, a donor tube which consists of a needle with a needle cover, a puncturable and. Figures 1 to 4 and their accompanying tables of dimensions illustrate the four blood collection systems, namely: Tamper evident needle protection cap 2. How much blood is in a blood bag? Table 26.1 blood bag base label dimensions (width × depth) * the layout of base labels applied to smaller packs must be controlled within the purchasing specification. Terumo penpol blood bags are sold. Donation and optimizing blood component processing.
From ilovepathology.com
Blood bags , types and uses Pathology Made Simple Blood Bag Measurements A blood bag typically contains a specific volume of blood that is suitable for transfusion. Single blood bags are used for collection, preservation and transfusion of whole human blood. The blood bag system is composed of several components including a blood donor bag, a donor tube which consists of a needle with a needle cover, a puncturable and. How much. Blood Bag Measurements.
From www.researchgate.net
Blood bags used for blood collection and transfusion. Download Blood Bag Measurements Single blood bags are used for collection, preservation and transfusion of whole human blood. Table 26.1 blood bag base label dimensions (width × depth) * the layout of base labels applied to smaller packs must be controlled within the purchasing specification. The blood bag system is composed of several components including a blood donor bag, a donor tube which consists. Blood Bag Measurements.
From anatomywarehouse.com
PractiBlood Bags (300 mL of Red Blood) 450 mL Bag 1 Count Blood Bag Measurements Single blood bags are used for collection, preservation and transfusion of whole human blood. Donation and optimizing blood component processing. Table 26.1 blood bag base label dimensions (width × depth) * the layout of base labels applied to smaller packs must be controlled within the purchasing specification. Tamper evident needle protection cap 2. The blood bag system is composed of. Blood Bag Measurements.
From www.indiamart.com
Polymed CPDSAGM Double Blood Bags, For Hospital, ID 22395693848 Blood Bag Measurements How much blood is in a blood bag? A blood bag typically contains a specific volume of blood that is suitable for transfusion. Donation and optimizing blood component processing. Table 26.1 blood bag base label dimensions (width × depth) * the layout of base labels applied to smaller packs must be controlled within the purchasing specification. Terumo penpol blood bags. Blood Bag Measurements.
From www.macopharma.com
Blood Bags Systems Macopharma Blood Bag Measurements Figures 1 to 4 and their accompanying tables of dimensions illustrate the four blood collection systems, namely: How much blood is in a blood bag? Single blood bags are used for collection, preservation and transfusion of whole human blood. Terumo penpol blood bags are sold. The blood bag system is composed of several components including a blood donor bag, a. Blood Bag Measurements.
From www.blood.ca
The deformability of red blood cells is useful for storage quality Blood Bag Measurements Single blood bags are used for collection, preservation and transfusion of whole human blood. How much blood is in a blood bag? Tamper evident needle protection cap 2. A blood bag typically contains a specific volume of blood that is suitable for transfusion. The blood bag system is composed of several components including a blood donor bag, a donor tube. Blood Bag Measurements.
From www.indiamart.com
Quadruple with Filter Blood Bag(TAT) System For Hospital/ Clinic at Rs Blood Bag Measurements Figures 1 to 4 and their accompanying tables of dimensions illustrate the four blood collection systems, namely: Table 26.1 blood bag base label dimensions (width × depth) * the layout of base labels applied to smaller packs must be controlled within the purchasing specification. The blood bag system is composed of several components including a blood donor bag, a donor. Blood Bag Measurements.
From www.polymedicure.com
Blood Bag Systems Polymed Medical Devices Blood Bag Measurements Tamper evident needle protection cap 2. Donation and optimizing blood component processing. Single blood bags are used for collection, preservation and transfusion of whole human blood. Table 26.1 blood bag base label dimensions (width × depth) * the layout of base labels applied to smaller packs must be controlled within the purchasing specification. Terumo penpol blood bags are sold. Figures. Blood Bag Measurements.
From www.alamy.com
A blood bag Stock Photo Alamy Blood Bag Measurements The blood bag system is composed of several components including a blood donor bag, a donor tube which consists of a needle with a needle cover, a puncturable and. Tamper evident needle protection cap 2. Figures 1 to 4 and their accompanying tables of dimensions illustrate the four blood collection systems, namely: Donation and optimizing blood component processing. Terumo penpol. Blood Bag Measurements.
From www.indiamart.com
Double Blood Collection Bag For Hospital/Clinic at Rs 200/piece Blood Blood Bag Measurements Single blood bags are used for collection, preservation and transfusion of whole human blood. How much blood is in a blood bag? Tamper evident needle protection cap 2. Terumo penpol blood bags are sold. A blood bag typically contains a specific volume of blood that is suitable for transfusion. Donation and optimizing blood component processing. The blood bag system is. Blood Bag Measurements.
From www.vecteezy.com
blood bag icon 24765439 Vector Art at Vecteezy Blood Bag Measurements Single blood bags are used for collection, preservation and transfusion of whole human blood. Donation and optimizing blood component processing. Figures 1 to 4 and their accompanying tables of dimensions illustrate the four blood collection systems, namely: How much blood is in a blood bag? The blood bag system is composed of several components including a blood donor bag, a. Blood Bag Measurements.
From in.cdgdbentre.edu.vn
Details 63+ blood collection bag super hot in.cdgdbentre Blood Bag Measurements Donation and optimizing blood component processing. Terumo penpol blood bags are sold. Tamper evident needle protection cap 2. The blood bag system is composed of several components including a blood donor bag, a donor tube which consists of a needle with a needle cover, a puncturable and. A blood bag typically contains a specific volume of blood that is suitable. Blood Bag Measurements.
From wtcs.pressbooks.pub
3.2 Basic Concepts Nursing Advanced Skills Blood Bag Measurements Donation and optimizing blood component processing. A blood bag typically contains a specific volume of blood that is suitable for transfusion. How much blood is in a blood bag? Table 26.1 blood bag base label dimensions (width × depth) * the layout of base labels applied to smaller packs must be controlled within the purchasing specification. Terumo penpol blood bags. Blood Bag Measurements.
From www.cgtrader.com
Blood Bag 3D model CGTrader Blood Bag Measurements Donation and optimizing blood component processing. How much blood is in a blood bag? Terumo penpol blood bags are sold. Table 26.1 blood bag base label dimensions (width × depth) * the layout of base labels applied to smaller packs must be controlled within the purchasing specification. The blood bag system is composed of several components including a blood donor. Blood Bag Measurements.
From www.youtube.com
Blood bags/Blood transfusion/Blood bank/Hematology/Blood/Types of blood Blood Bag Measurements Terumo penpol blood bags are sold. Tamper evident needle protection cap 2. Donation and optimizing blood component processing. Figures 1 to 4 and their accompanying tables of dimensions illustrate the four blood collection systems, namely: Single blood bags are used for collection, preservation and transfusion of whole human blood. The blood bag system is composed of several components including a. Blood Bag Measurements.
From vamped.org
Blood Bag Comparison Vamped Blood Bag Measurements A blood bag typically contains a specific volume of blood that is suitable for transfusion. Terumo penpol blood bags are sold. Table 26.1 blood bag base label dimensions (width × depth) * the layout of base labels applied to smaller packs must be controlled within the purchasing specification. The blood bag system is composed of several components including a blood. Blood Bag Measurements.
From dir.indiamart.com
Blood Bags Blood Transfusion Bag Latest Price, Manufacturers & Suppliers Blood Bag Measurements Tamper evident needle protection cap 2. Table 26.1 blood bag base label dimensions (width × depth) * the layout of base labels applied to smaller packs must be controlled within the purchasing specification. Figures 1 to 4 and their accompanying tables of dimensions illustrate the four blood collection systems, namely: Single blood bags are used for collection, preservation and transfusion. Blood Bag Measurements.
From www.snapweb.net
Labels Zebra 8000T Blood Bag, size 102 x 102 mm. cod.3006622 Blood Bag Measurements Terumo penpol blood bags are sold. Table 26.1 blood bag base label dimensions (width × depth) * the layout of base labels applied to smaller packs must be controlled within the purchasing specification. Donation and optimizing blood component processing. A blood bag typically contains a specific volume of blood that is suitable for transfusion. Single blood bags are used for. Blood Bag Measurements.
From www.amazon.co.uk
Aidi 2PCS Blood Bags for Drinks, Pouch Fake Halloween Drink Bags Drinks Blood Bag Measurements Single blood bags are used for collection, preservation and transfusion of whole human blood. Donation and optimizing blood component processing. A blood bag typically contains a specific volume of blood that is suitable for transfusion. The blood bag system is composed of several components including a blood donor bag, a donor tube which consists of a needle with a needle. Blood Bag Measurements.
From aurigaresearch.com
Blood Bag Testing Blood Bag Measurements Single blood bags are used for collection, preservation and transfusion of whole human blood. Tamper evident needle protection cap 2. Figures 1 to 4 and their accompanying tables of dimensions illustrate the four blood collection systems, namely: Table 26.1 blood bag base label dimensions (width × depth) * the layout of base labels applied to smaller packs must be controlled. Blood Bag Measurements.
From www.vecteezy.com
Blood bag in flat style. Vector illustration. Isolated blood bag Blood Bag Measurements How much blood is in a blood bag? A blood bag typically contains a specific volume of blood that is suitable for transfusion. Tamper evident needle protection cap 2. Table 26.1 blood bag base label dimensions (width × depth) * the layout of base labels applied to smaller packs must be controlled within the purchasing specification. The blood bag system. Blood Bag Measurements.
From superhealth.com.pk
Blood Bag Jms 500ml Super Health Blood Bag Measurements Tamper evident needle protection cap 2. Donation and optimizing blood component processing. How much blood is in a blood bag? Table 26.1 blood bag base label dimensions (width × depth) * the layout of base labels applied to smaller packs must be controlled within the purchasing specification. The blood bag system is composed of several components including a blood donor. Blood Bag Measurements.
From www.polymedicure.com
Blood Bag Systems Polymed Medical Devices Blood Bag Measurements Single blood bags are used for collection, preservation and transfusion of whole human blood. How much blood is in a blood bag? Terumo penpol blood bags are sold. Donation and optimizing blood component processing. A blood bag typically contains a specific volume of blood that is suitable for transfusion. Table 26.1 blood bag base label dimensions (width × depth) *. Blood Bag Measurements.
From commons.wikimedia.org
FileIcscodablockbloodbag sample.jpg Wikimedia Commons Blood Bag Measurements A blood bag typically contains a specific volume of blood that is suitable for transfusion. How much blood is in a blood bag? Table 26.1 blood bag base label dimensions (width × depth) * the layout of base labels applied to smaller packs must be controlled within the purchasing specification. Single blood bags are used for collection, preservation and transfusion. Blood Bag Measurements.
From ilovepathology.com
Blood bags , types and uses Pathology Made Simple Blood Bag Measurements Tamper evident needle protection cap 2. Single blood bags are used for collection, preservation and transfusion of whole human blood. Terumo penpol blood bags are sold. A blood bag typically contains a specific volume of blood that is suitable for transfusion. Donation and optimizing blood component processing. How much blood is in a blood bag? The blood bag system is. Blood Bag Measurements.
From www.google.com
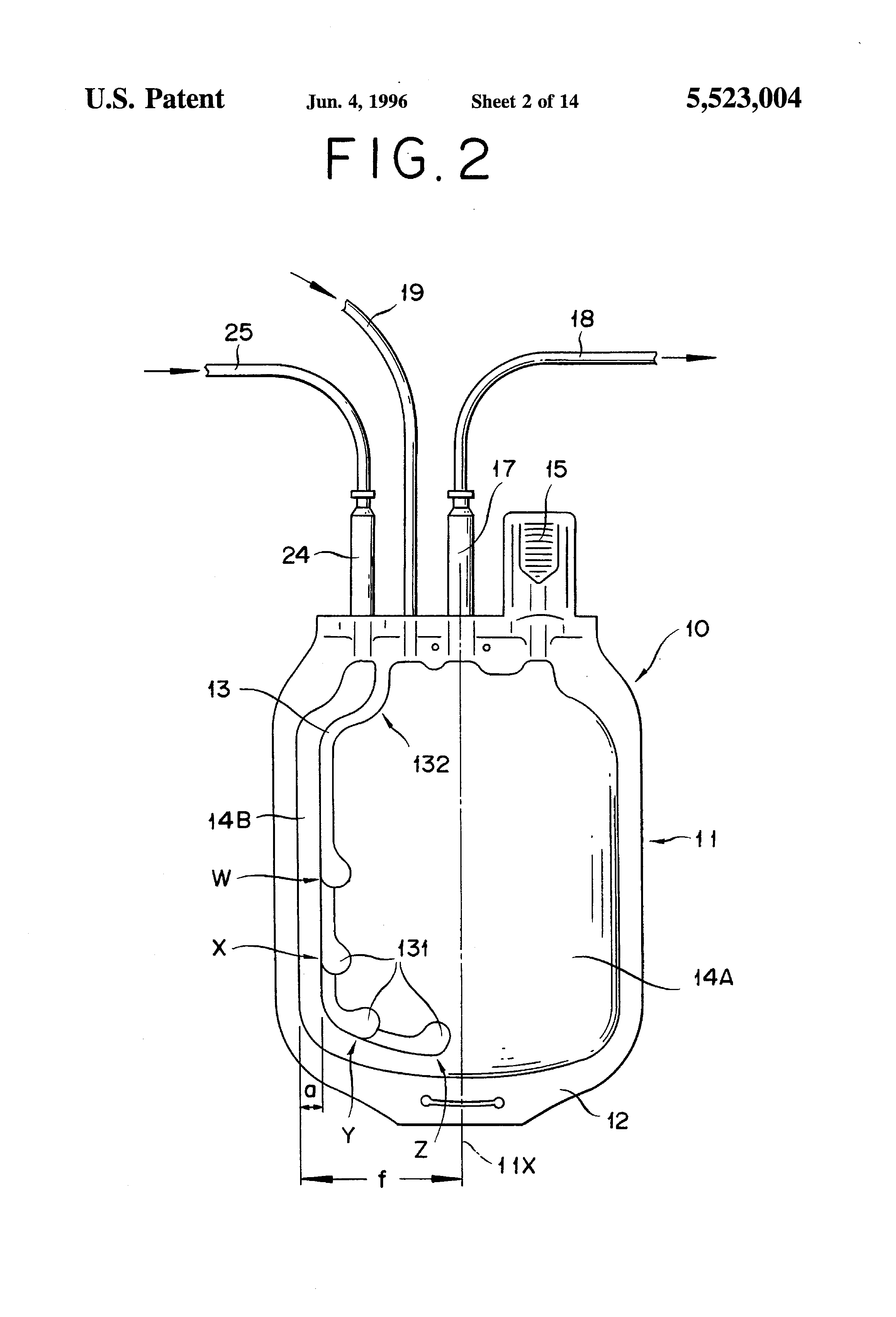
Patent US5523004 Method for treatment of blood using a blood bag Blood Bag Measurements The blood bag system is composed of several components including a blood donor bag, a donor tube which consists of a needle with a needle cover, a puncturable and. Tamper evident needle protection cap 2. Donation and optimizing blood component processing. Table 26.1 blood bag base label dimensions (width × depth) * the layout of base labels applied to smaller. Blood Bag Measurements.
From marketplace.secondlife.com
Second Life Marketplace Blood Bag Blood Bag Measurements Figures 1 to 4 and their accompanying tables of dimensions illustrate the four blood collection systems, namely: Donation and optimizing blood component processing. Tamper evident needle protection cap 2. A blood bag typically contains a specific volume of blood that is suitable for transfusion. Terumo penpol blood bags are sold. Single blood bags are used for collection, preservation and transfusion. Blood Bag Measurements.
From blog.caresfield.com
Blood Bag Labels Can Save Lives Caresfield Blog Blood Bag Measurements A blood bag typically contains a specific volume of blood that is suitable for transfusion. The blood bag system is composed of several components including a blood donor bag, a donor tube which consists of a needle with a needle cover, a puncturable and. Single blood bags are used for collection, preservation and transfusion of whole human blood. Terumo penpol. Blood Bag Measurements.
From www.alamy.com
Blood bags with blood types. Blood group vector icons Stock Vector Blood Bag Measurements Table 26.1 blood bag base label dimensions (width × depth) * the layout of base labels applied to smaller packs must be controlled within the purchasing specification. A blood bag typically contains a specific volume of blood that is suitable for transfusion. How much blood is in a blood bag? The blood bag system is composed of several components including. Blood Bag Measurements.
From www.alamy.com
A+ type blood bag Stock Photo Alamy Blood Bag Measurements Donation and optimizing blood component processing. Single blood bags are used for collection, preservation and transfusion of whole human blood. A blood bag typically contains a specific volume of blood that is suitable for transfusion. Table 26.1 blood bag base label dimensions (width × depth) * the layout of base labels applied to smaller packs must be controlled within the. Blood Bag Measurements.
From macs.yilimart.com
YILIMART CryoMACS Freezing Bag 50 Blood Bag Measurements Tamper evident needle protection cap 2. Single blood bags are used for collection, preservation and transfusion of whole human blood. The blood bag system is composed of several components including a blood donor bag, a donor tube which consists of a needle with a needle cover, a puncturable and. Donation and optimizing blood component processing. Figures 1 to 4 and. Blood Bag Measurements.
From www.vecteezy.com
Blood bag with label different blood group A, B, O and Rh system. Blood Blood Bag Measurements The blood bag system is composed of several components including a blood donor bag, a donor tube which consists of a needle with a needle cover, a puncturable and. Terumo penpol blood bags are sold. Table 26.1 blood bag base label dimensions (width × depth) * the layout of base labels applied to smaller packs must be controlled within the. Blood Bag Measurements.
From www.alamy.com
Cairo, Egypt, December 15 2022 blood bags from donors with different Blood Bag Measurements Tamper evident needle protection cap 2. A blood bag typically contains a specific volume of blood that is suitable for transfusion. Terumo penpol blood bags are sold. How much blood is in a blood bag? The blood bag system is composed of several components including a blood donor bag, a donor tube which consists of a needle with a needle. Blood Bag Measurements.
From www.exportersindia.com
Mitra Blood Bag Eye Vision Enterprises, Ahmedabad, Gujarat Blood Bag Measurements The blood bag system is composed of several components including a blood donor bag, a donor tube which consists of a needle with a needle cover, a puncturable and. Donation and optimizing blood component processing. Table 26.1 blood bag base label dimensions (width × depth) * the layout of base labels applied to smaller packs must be controlled within the. Blood Bag Measurements.
From www.medicalexpo.com
Single blood bag Zhejiang Perfectseal CPD / CPDA1 / PVC Blood Bag Measurements A blood bag typically contains a specific volume of blood that is suitable for transfusion. The blood bag system is composed of several components including a blood donor bag, a donor tube which consists of a needle with a needle cover, a puncturable and. Figures 1 to 4 and their accompanying tables of dimensions illustrate the four blood collection systems,. Blood Bag Measurements.