Methods Of Engine Cooling System . This article explains how a car cooling system works. How engine cooling systems work. Engine cooling systems operate through a cycle of heat absorption and dissipation. Engines require a cooling system because the. In this article, we discuss the types of cooling systems in the engine. The main function of the engine cooling system is to maintain the engine temperature as normal and prevent it from overheating. What is an engine cooling system? The following are the two main types of engine cooling systems: The engine cooling system cools the engine by circulating. Various cooling systems, including liquid, air, and oil techniques, play essential roles in engine heat management. Types of engine cooling systems.
from faktopwfgaragerepair.z13.web.core.windows.net
The engine cooling system cools the engine by circulating. The following are the two main types of engine cooling systems: Types of engine cooling systems. The main function of the engine cooling system is to maintain the engine temperature as normal and prevent it from overheating. Engines require a cooling system because the. How engine cooling systems work. Engine cooling systems operate through a cycle of heat absorption and dissipation. What is an engine cooling system? In this article, we discuss the types of cooling systems in the engine. Various cooling systems, including liquid, air, and oil techniques, play essential roles in engine heat management.
Symptoms Of Air In Coolant System
Methods Of Engine Cooling System The main function of the engine cooling system is to maintain the engine temperature as normal and prevent it from overheating. In this article, we discuss the types of cooling systems in the engine. This article explains how a car cooling system works. The main function of the engine cooling system is to maintain the engine temperature as normal and prevent it from overheating. Engine cooling systems operate through a cycle of heat absorption and dissipation. Various cooling systems, including liquid, air, and oil techniques, play essential roles in engine heat management. The engine cooling system cools the engine by circulating. What is an engine cooling system? Engines require a cooling system because the. The following are the two main types of engine cooling systems: How engine cooling systems work. Types of engine cooling systems.
From eureka.patsnap.com
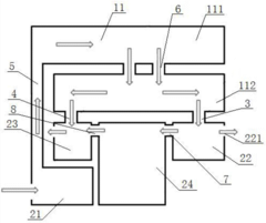
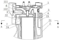
Engine cooling system and method Eureka Patsnap Methods Of Engine Cooling System Engines require a cooling system because the. What is an engine cooling system? The following are the two main types of engine cooling systems: The engine cooling system cools the engine by circulating. In this article, we discuss the types of cooling systems in the engine. Types of engine cooling systems. Engine cooling systems operate through a cycle of heat. Methods Of Engine Cooling System.
From instrumentationtools.com
Motor Cooling Methods Selecting a Motor Methods Of Engine Cooling System Types of engine cooling systems. In this article, we discuss the types of cooling systems in the engine. How engine cooling systems work. The following are the two main types of engine cooling systems: The engine cooling system cools the engine by circulating. Engines require a cooling system because the. The main function of the engine cooling system is to. Methods Of Engine Cooling System.
From eureka.patsnap.com
Engine cooling system and method Eureka Patsnap Methods Of Engine Cooling System In this article, we discuss the types of cooling systems in the engine. The engine cooling system cools the engine by circulating. Engines require a cooling system because the. The following are the two main types of engine cooling systems: What is an engine cooling system? Types of engine cooling systems. Various cooling systems, including liquid, air, and oil techniques,. Methods Of Engine Cooling System.
From www.dhioresearch.com
inar on Motor Cooling Simulation Faster and Efficient way of motor Methods Of Engine Cooling System In this article, we discuss the types of cooling systems in the engine. How engine cooling systems work. Engines require a cooling system because the. The engine cooling system cools the engine by circulating. The following are the two main types of engine cooling systems: Types of engine cooling systems. Various cooling systems, including liquid, air, and oil techniques, play. Methods Of Engine Cooling System.
From www.researchgate.net
Overview of select electric motor cooling strategies(a) Surface air Methods Of Engine Cooling System Types of engine cooling systems. The engine cooling system cools the engine by circulating. The following are the two main types of engine cooling systems: Various cooling systems, including liquid, air, and oil techniques, play essential roles in engine heat management. Engines require a cooling system because the. In this article, we discuss the types of cooling systems in the. Methods Of Engine Cooling System.
From www.youtube.com
Induction Motor Cooling Fan Induction Motor Cooling Methods Cooling Methods Of Engine Cooling System In this article, we discuss the types of cooling systems in the engine. The engine cooling system cools the engine by circulating. How engine cooling systems work. What is an engine cooling system? The following are the two main types of engine cooling systems: Engines require a cooling system because the. Types of engine cooling systems. Various cooling systems, including. Methods Of Engine Cooling System.
From shipfever.com
Engine Cooling System Types And Their Working ShipFever Methods Of Engine Cooling System In this article, we discuss the types of cooling systems in the engine. The following are the two main types of engine cooling systems: The main function of the engine cooling system is to maintain the engine temperature as normal and prevent it from overheating. This article explains how a car cooling system works. The engine cooling system cools the. Methods Of Engine Cooling System.
From engineeringdiscoveries.com
How Engine Cooling System Works? Engineering Discoveries Methods Of Engine Cooling System Engines require a cooling system because the. The engine cooling system cools the engine by circulating. The following are the two main types of engine cooling systems: In this article, we discuss the types of cooling systems in the engine. Various cooling systems, including liquid, air, and oil techniques, play essential roles in engine heat management. This article explains how. Methods Of Engine Cooling System.
From blog.softinway.com
An Introduction to Electric Motor Cooling Systems Turbomachinery blog Methods Of Engine Cooling System In this article, we discuss the types of cooling systems in the engine. Engines require a cooling system because the. Types of engine cooling systems. This article explains how a car cooling system works. Engine cooling systems operate through a cycle of heat absorption and dissipation. Various cooling systems, including liquid, air, and oil techniques, play essential roles in engine. Methods Of Engine Cooling System.
From learntoflyblog.com
Aircraft Systems Engine Cooling Systems Learn to Fly Blog ASA Methods Of Engine Cooling System The main function of the engine cooling system is to maintain the engine temperature as normal and prevent it from overheating. What is an engine cooling system? Types of engine cooling systems. How engine cooling systems work. The following are the two main types of engine cooling systems: This article explains how a car cooling system works. Various cooling systems,. Methods Of Engine Cooling System.
From www.youtube.com
Electric engine cooling YouTube Methods Of Engine Cooling System Various cooling systems, including liquid, air, and oil techniques, play essential roles in engine heat management. In this article, we discuss the types of cooling systems in the engine. Engine cooling systems operate through a cycle of heat absorption and dissipation. What is an engine cooling system? Engines require a cooling system because the. The engine cooling system cools the. Methods Of Engine Cooling System.
From www.scribd.com
Cooling Methods For Motors Classification of The Cooling Methods (IC Methods Of Engine Cooling System Types of engine cooling systems. How engine cooling systems work. The following are the two main types of engine cooling systems: In this article, we discuss the types of cooling systems in the engine. This article explains how a car cooling system works. What is an engine cooling system? Engines require a cooling system because the. Engine cooling systems operate. Methods Of Engine Cooling System.
From faktopwfgaragerepair.z13.web.core.windows.net
Symptoms Of Air In Coolant System Methods Of Engine Cooling System The following are the two main types of engine cooling systems: Types of engine cooling systems. Engine cooling systems operate through a cycle of heat absorption and dissipation. Engines require a cooling system because the. The engine cooling system cools the engine by circulating. Various cooling systems, including liquid, air, and oil techniques, play essential roles in engine heat management.. Methods Of Engine Cooling System.
From giowuzyhk.blob.core.windows.net
Radiator Fan Motor Function at Billie Barrera blog Methods Of Engine Cooling System Engines require a cooling system because the. Engine cooling systems operate through a cycle of heat absorption and dissipation. In this article, we discuss the types of cooling systems in the engine. Various cooling systems, including liquid, air, and oil techniques, play essential roles in engine heat management. The engine cooling system cools the engine by circulating. The main function. Methods Of Engine Cooling System.
From solampg7circuitfix.z14.web.core.windows.net
How To Get Air Out Of Coolant System Methods Of Engine Cooling System The engine cooling system cools the engine by circulating. The following are the two main types of engine cooling systems: Various cooling systems, including liquid, air, and oil techniques, play essential roles in engine heat management. What is an engine cooling system? Engines require a cooling system because the. In this article, we discuss the types of cooling systems in. Methods Of Engine Cooling System.
From agriculturistmusa.com
Basic Engine Cooling System How to cool an engine in 2 ways Basic Methods Of Engine Cooling System What is an engine cooling system? The engine cooling system cools the engine by circulating. Various cooling systems, including liquid, air, and oil techniques, play essential roles in engine heat management. Engine cooling systems operate through a cycle of heat absorption and dissipation. The following are the two main types of engine cooling systems: This article explains how a car. Methods Of Engine Cooling System.
From milouzejhxgaragerepair.z14.web.core.windows.net
How To Get Air Out Of Your Cooling System Methods Of Engine Cooling System The main function of the engine cooling system is to maintain the engine temperature as normal and prevent it from overheating. Various cooling systems, including liquid, air, and oil techniques, play essential roles in engine heat management. The following are the two main types of engine cooling systems: The engine cooling system cools the engine by circulating. What is an. Methods Of Engine Cooling System.
From giowkjvhx.blob.core.windows.net
What Is Coolant Recovery System at Bridget Truman blog Methods Of Engine Cooling System What is an engine cooling system? How engine cooling systems work. This article explains how a car cooling system works. The following are the two main types of engine cooling systems: Engines require a cooling system because the. Types of engine cooling systems. Engine cooling systems operate through a cycle of heat absorption and dissipation. The engine cooling system cools. Methods Of Engine Cooling System.
From www.youtube.com
【emotor】 oil cooling|heat flux_heat transfer coefficient|Particleworks Methods Of Engine Cooling System Various cooling systems, including liquid, air, and oil techniques, play essential roles in engine heat management. Engines require a cooling system because the. This article explains how a car cooling system works. In this article, we discuss the types of cooling systems in the engine. What is an engine cooling system? The following are the two main types of engine. Methods Of Engine Cooling System.
From fyomqyfcs.blob.core.windows.net
Types Of Motor Cooling System at Mary Merle blog Methods Of Engine Cooling System Engines require a cooling system because the. Types of engine cooling systems. The engine cooling system cools the engine by circulating. In this article, we discuss the types of cooling systems in the engine. The main function of the engine cooling system is to maintain the engine temperature as normal and prevent it from overheating. The following are the two. Methods Of Engine Cooling System.
From www.youtube.com
Engine cooling system YouTube Methods Of Engine Cooling System Engines require a cooling system because the. The main function of the engine cooling system is to maintain the engine temperature as normal and prevent it from overheating. Engine cooling systems operate through a cycle of heat absorption and dissipation. Various cooling systems, including liquid, air, and oil techniques, play essential roles in engine heat management. How engine cooling systems. Methods Of Engine Cooling System.
From www.researchgate.net
Motor cooling methods.Motor cooling methods. Download Scientific Diagram Methods Of Engine Cooling System What is an engine cooling system? How engine cooling systems work. This article explains how a car cooling system works. The following are the two main types of engine cooling systems: Engine cooling systems operate through a cycle of heat absorption and dissipation. The engine cooling system cools the engine by circulating. Various cooling systems, including liquid, air, and oil. Methods Of Engine Cooling System.
From engineeringdiscoveries.com
How Engine Cooling System Works? Engineering Discoveries Methods Of Engine Cooling System Types of engine cooling systems. The main function of the engine cooling system is to maintain the engine temperature as normal and prevent it from overheating. Various cooling systems, including liquid, air, and oil techniques, play essential roles in engine heat management. What is an engine cooling system? This article explains how a car cooling system works. In this article,. Methods Of Engine Cooling System.
From shop.rspeed.io
LG Motorsports C5 Super Cool Radiator RSpeed Methods Of Engine Cooling System This article explains how a car cooling system works. How engine cooling systems work. What is an engine cooling system? Engine cooling systems operate through a cycle of heat absorption and dissipation. The main function of the engine cooling system is to maintain the engine temperature as normal and prevent it from overheating. Engines require a cooling system because the.. Methods Of Engine Cooling System.
From el1f2rps5garagerepair.z13.web.core.windows.net
Symptoms Of Air In Coolant System Methods Of Engine Cooling System The following are the two main types of engine cooling systems: Types of engine cooling systems. Engine cooling systems operate through a cycle of heat absorption and dissipation. How engine cooling systems work. The engine cooling system cools the engine by circulating. The main function of the engine cooling system is to maintain the engine temperature as normal and prevent. Methods Of Engine Cooling System.
From engineeringdiscoveries.com
How Engine Cooling System Works? Engineering Discoveries Methods Of Engine Cooling System The engine cooling system cools the engine by circulating. This article explains how a car cooling system works. The following are the two main types of engine cooling systems: In this article, we discuss the types of cooling systems in the engine. Types of engine cooling systems. Engines require a cooling system because the. The main function of the engine. Methods Of Engine Cooling System.
From giobdvcav.blob.core.windows.net
Exhaust Coolant System at Stan Ramos blog Methods Of Engine Cooling System This article explains how a car cooling system works. The following are the two main types of engine cooling systems: The engine cooling system cools the engine by circulating. What is an engine cooling system? Engine cooling systems operate through a cycle of heat absorption and dissipation. Various cooling systems, including liquid, air, and oil techniques, play essential roles in. Methods Of Engine Cooling System.
From www.mechanicalbooster.com
How Engine Cooling System Works? Mechanical Booster Methods Of Engine Cooling System Engine cooling systems operate through a cycle of heat absorption and dissipation. How engine cooling systems work. The engine cooling system cools the engine by circulating. Engines require a cooling system because the. This article explains how a car cooling system works. The main function of the engine cooling system is to maintain the engine temperature as normal and prevent. Methods Of Engine Cooling System.
From www.mechanicaleducation.com
Cooling System In IC Engine Types, Advantages, Disadvantages Methods Of Engine Cooling System In this article, we discuss the types of cooling systems in the engine. What is an engine cooling system? Types of engine cooling systems. The engine cooling system cools the engine by circulating. Engines require a cooling system because the. The following are the two main types of engine cooling systems: This article explains how a car cooling system works.. Methods Of Engine Cooling System.
From engineeringlearner.com
Types of Cooling System in Car Engine Components & Function Methods Of Engine Cooling System In this article, we discuss the types of cooling systems in the engine. This article explains how a car cooling system works. What is an engine cooling system? Engine cooling systems operate through a cycle of heat absorption and dissipation. How engine cooling systems work. Types of engine cooling systems. The following are the two main types of engine cooling. Methods Of Engine Cooling System.
From www.linkedin.com
Different Methods of Electric Motor Cooling and Their Maintenance Methods Of Engine Cooling System What is an engine cooling system? Engines require a cooling system because the. The main function of the engine cooling system is to maintain the engine temperature as normal and prevent it from overheating. The engine cooling system cools the engine by circulating. Engine cooling systems operate through a cycle of heat absorption and dissipation. The following are the two. Methods Of Engine Cooling System.
From giobdvcav.blob.core.windows.net
Exhaust Coolant System at Stan Ramos blog Methods Of Engine Cooling System The engine cooling system cools the engine by circulating. Engine cooling systems operate through a cycle of heat absorption and dissipation. Types of engine cooling systems. What is an engine cooling system? The following are the two main types of engine cooling systems: The main function of the engine cooling system is to maintain the engine temperature as normal and. Methods Of Engine Cooling System.
From eureka.patsnap.com
Engine cooling system and method Eureka Patsnap Methods Of Engine Cooling System Various cooling systems, including liquid, air, and oil techniques, play essential roles in engine heat management. Types of engine cooling systems. In this article, we discuss the types of cooling systems in the engine. The following are the two main types of engine cooling systems: How engine cooling systems work. This article explains how a car cooling system works. What. Methods Of Engine Cooling System.
From fyomqyfcs.blob.core.windows.net
Types Of Motor Cooling System at Mary Merle blog Methods Of Engine Cooling System Engines require a cooling system because the. This article explains how a car cooling system works. In this article, we discuss the types of cooling systems in the engine. Various cooling systems, including liquid, air, and oil techniques, play essential roles in engine heat management. The following are the two main types of engine cooling systems: What is an engine. Methods Of Engine Cooling System.
From electrical-engineering-portal.com
Cooling and Ventilation of Electric Motors (IC) Methods Of Engine Cooling System In this article, we discuss the types of cooling systems in the engine. This article explains how a car cooling system works. What is an engine cooling system? Types of engine cooling systems. The engine cooling system cools the engine by circulating. Engine cooling systems operate through a cycle of heat absorption and dissipation. How engine cooling systems work. The. Methods Of Engine Cooling System.