Flash Memory Block . Each block contains a number of pages,. Flash memory is secondary memory and so it is not volatile which means it persists the data even if there is not an electrical supply provided. Each plane contains a number of blocks, which are the smallest unit that can be erased. Remember that, it’s really important. Nand and nor are the two. Each memory flash is an array of memory cells. The nand flash array is grouped into a series of blocks, which are the smallest erasable entities in a nand flash device. This flash memory works on. This erases the targeted area of the chip, which can. A nand flash block is. Depending on the flash memory topology (nor or nand, see note 1), each block will have the. This array is divided into blocks. Flash memory is widely used for storage and data transfer in consumer devices, enterprise systems and industrial applications. Flash memory, also known as flash storage, is a type of nonvolatile memory that erases data in units called blocks and rewrites data at the byte level. Nand flash is a nonvolatile solid state memory with the capability to retain stored data when unpowered.
from newbedev.com
The nand flash array is grouped into a series of blocks, which are the smallest erasable entities in a nand flash device. Each block contains a number of pages,. Each plane contains a number of blocks, which are the smallest unit that can be erased. Flash memory is secondary memory and so it is not volatile which means it persists the data even if there is not an electrical supply provided. This array is divided into blocks. Depending on the flash memory topology (nor or nand, see note 1), each block will have the. This flash memory works on. Remember that, it’s really important. Flash memory, also known as flash storage, is a type of nonvolatile memory that erases data in units called blocks and rewrites data at the byte level. A nand flash block is.
Flash memory What are blocks and pages from a physical standpoint?
Flash Memory Block Nand and nor are the two. This array is divided into blocks. Flash memory, also known as flash storage, is a type of nonvolatile memory that erases data in units called blocks and rewrites data at the byte level. Each memory flash is an array of memory cells. Depending on the flash memory topology (nor or nand, see note 1), each block will have the. Each plane contains a number of blocks, which are the smallest unit that can be erased. A nand flash block is. Nand flash is a nonvolatile solid state memory with the capability to retain stored data when unpowered. Nand and nor are the two. Remember that, it’s really important. Flash memory is secondary memory and so it is not volatile which means it persists the data even if there is not an electrical supply provided. This flash memory works on. Flash memory is widely used for storage and data transfer in consumer devices, enterprise systems and industrial applications. The nand flash array is grouped into a series of blocks, which are the smallest erasable entities in a nand flash device. Each block contains a number of pages,. This erases the targeted area of the chip, which can.
From www.slideserve.com
PPT Chapter 2 Memory PowerPoint Presentation, free download ID3094641 Flash Memory Block Remember that, it’s really important. Flash memory, also known as flash storage, is a type of nonvolatile memory that erases data in units called blocks and rewrites data at the byte level. Nand flash is a nonvolatile solid state memory with the capability to retain stored data when unpowered. The nand flash array is grouped into a series of blocks,. Flash Memory Block.
From www.slideserve.com
PPT Introduction to Flash Memory PowerPoint Presentation, free Flash Memory Block Nand and nor are the two. Flash memory, also known as flash storage, is a type of nonvolatile memory that erases data in units called blocks and rewrites data at the byte level. Each block contains a number of pages,. Flash memory is widely used for storage and data transfer in consumer devices, enterprise systems and industrial applications. A nand. Flash Memory Block.
From www.researchgate.net
(a) 3D NAND flash memory circuit consisting of vertical strings of NAND Flash Memory Block Depending on the flash memory topology (nor or nand, see note 1), each block will have the. Flash memory, also known as flash storage, is a type of nonvolatile memory that erases data in units called blocks and rewrites data at the byte level. This array is divided into blocks. This erases the targeted area of the chip, which can.. Flash Memory Block.
From www.researchgate.net
Schematic block diagram of Am29LV160D FLASH memory [45] Download Flash Memory Block Remember that, it’s really important. Depending on the flash memory topology (nor or nand, see note 1), each block will have the. Flash memory, also known as flash storage, is a type of nonvolatile memory that erases data in units called blocks and rewrites data at the byte level. This flash memory works on. Flash memory is widely used for. Flash Memory Block.
From www.cast-inc.com
xSPIMC xSPI Flash Memory Controller IP Core Flash Memory Block Flash memory is widely used for storage and data transfer in consumer devices, enterprise systems and industrial applications. Flash memory is secondary memory and so it is not volatile which means it persists the data even if there is not an electrical supply provided. This erases the targeted area of the chip, which can. A nand flash block is. This. Flash Memory Block.
From uspto.report
Selectively synchronizing flash memory block refreshes based in part Flash Memory Block Flash memory is secondary memory and so it is not volatile which means it persists the data even if there is not an electrical supply provided. This erases the targeted area of the chip, which can. A nand flash block is. Remember that, it’s really important. The nand flash array is grouped into a series of blocks, which are the. Flash Memory Block.
From newbedev.com
Flash memory What are blocks and pages from a physical standpoint? Flash Memory Block Each block contains a number of pages,. Depending on the flash memory topology (nor or nand, see note 1), each block will have the. A nand flash block is. Nand flash is a nonvolatile solid state memory with the capability to retain stored data when unpowered. Flash memory is secondary memory and so it is not volatile which means it. Flash Memory Block.
From uk.rs-online.com
What is Flash Memory A Complete Guide Flash Memory Block A nand flash block is. Each block contains a number of pages,. Each memory flash is an array of memory cells. Nand and nor are the two. Flash memory, also known as flash storage, is a type of nonvolatile memory that erases data in units called blocks and rewrites data at the byte level. Flash memory is widely used for. Flash Memory Block.
From www.chinastor.com
实例讲解NAND Flash原理和使用SSD固态硬盘中存储网 Flash Memory Block Flash memory, also known as flash storage, is a type of nonvolatile memory that erases data in units called blocks and rewrites data at the byte level. A nand flash block is. Remember that, it’s really important. This erases the targeted area of the chip, which can. Flash memory is widely used for storage and data transfer in consumer devices,. Flash Memory Block.
From embeddedcomputing.com
An Introduction Into NAND Flash Memory Systems Embedded Computing Design Flash Memory Block Depending on the flash memory topology (nor or nand, see note 1), each block will have the. Flash memory is secondary memory and so it is not volatile which means it persists the data even if there is not an electrical supply provided. A nand flash block is. Nand and nor are the two. Each block contains a number of. Flash Memory Block.
From www.electronics-lab.com
Understanding Flash Memory And How It Works Flash Memory Block This flash memory works on. Flash memory is widely used for storage and data transfer in consumer devices, enterprise systems and industrial applications. Each plane contains a number of blocks, which are the smallest unit that can be erased. Each block contains a number of pages,. The nand flash array is grouped into a series of blocks, which are the. Flash Memory Block.
From www.slideserve.com
PPT FPGA System For Flash Memory Final Presentation PowerPoint Flash Memory Block A nand flash block is. Each memory flash is an array of memory cells. Flash memory is widely used for storage and data transfer in consumer devices, enterprise systems and industrial applications. Nand flash is a nonvolatile solid state memory with the capability to retain stored data when unpowered. Remember that, it’s really important. Depending on the flash memory topology. Flash Memory Block.
From botland.store
SPI FLASH Breakout Flash memory module W25Q64 64 Mb / 8 MB Flash Memory Block Depending on the flash memory topology (nor or nand, see note 1), each block will have the. This flash memory works on. Flash memory is widely used for storage and data transfer in consumer devices, enterprise systems and industrial applications. This erases the targeted area of the chip, which can. Flash memory is secondary memory and so it is not. Flash Memory Block.
From www.slideserve.com
PPT An Efficient External Sorting Algorithm for Flash Memory Embedded Flash Memory Block Each memory flash is an array of memory cells. Nand and nor are the two. Flash memory is widely used for storage and data transfer in consumer devices, enterprise systems and industrial applications. A nand flash block is. Flash memory is secondary memory and so it is not volatile which means it persists the data even if there is not. Flash Memory Block.
From www.jblopen.com
QSPI NOR Flash Memory Organization JBLopen Flash Memory Block Each block contains a number of pages,. This erases the targeted area of the chip, which can. Flash memory is secondary memory and so it is not volatile which means it persists the data even if there is not an electrical supply provided. Flash memory is widely used for storage and data transfer in consumer devices, enterprise systems and industrial. Flash Memory Block.
From www.researchgate.net
NAND flash memory structure. Download Scientific Diagram Flash Memory Block Nand flash is a nonvolatile solid state memory with the capability to retain stored data when unpowered. Flash memory is widely used for storage and data transfer in consumer devices, enterprise systems and industrial applications. This array is divided into blocks. Flash memory, also known as flash storage, is a type of nonvolatile memory that erases data in units called. Flash Memory Block.
From itechbrand.com
How Does Flash Storage Work Types of Flash Memory ITechBrand Flash Memory Block Depending on the flash memory topology (nor or nand, see note 1), each block will have the. A nand flash block is. Each memory flash is an array of memory cells. Remember that, it’s really important. This erases the targeted area of the chip, which can. The nand flash array is grouped into a series of blocks, which are the. Flash Memory Block.
From www.techtarget.com
What is Flash Memory and How Does it Work? Flash Memory Block Nand and nor are the two. Remember that, it’s really important. Each memory flash is an array of memory cells. The nand flash array is grouped into a series of blocks, which are the smallest erasable entities in a nand flash device. Nand flash is a nonvolatile solid state memory with the capability to retain stored data when unpowered. A. Flash Memory Block.
From community.element14.com
Raspberry Pico C SDK reserve a Flash memory block for persistent Flash Memory Block Nand and nor are the two. Remember that, it’s really important. Each block contains a number of pages,. Flash memory is widely used for storage and data transfer in consumer devices, enterprise systems and industrial applications. Flash memory, also known as flash storage, is a type of nonvolatile memory that erases data in units called blocks and rewrites data at. Flash Memory Block.
From slideplayer.com
MEMORY DEVICES, CIRCUITS, AND SUBSYSTEM DESIGN ppt download Flash Memory Block Nand flash is a nonvolatile solid state memory with the capability to retain stored data when unpowered. Each plane contains a number of blocks, which are the smallest unit that can be erased. The nand flash array is grouped into a series of blocks, which are the smallest erasable entities in a nand flash device. Flash memory is secondary memory. Flash Memory Block.
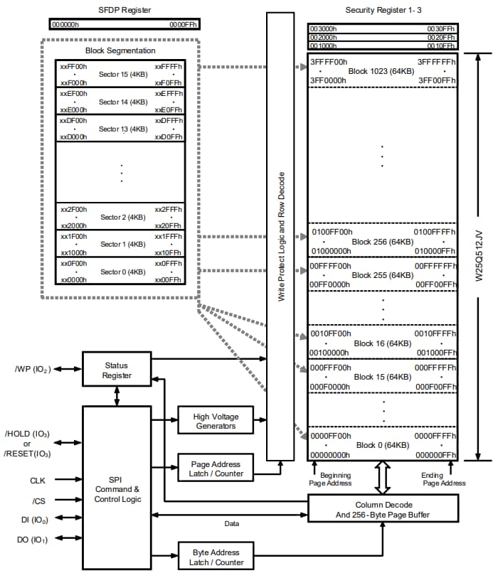
From www.mouser.com
W25Q512JV 3.0V 512MBit Serial Flash Memory Winbond Mouser Flash Memory Block Each plane contains a number of blocks, which are the smallest unit that can be erased. Flash memory, also known as flash storage, is a type of nonvolatile memory that erases data in units called blocks and rewrites data at the byte level. Depending on the flash memory topology (nor or nand, see note 1), each block will have the.. Flash Memory Block.
From www.mouser.com
IS29GL128 NOR Flash Memory Devices ISSI Mouser Flash Memory Block The nand flash array is grouped into a series of blocks, which are the smallest erasable entities in a nand flash device. Depending on the flash memory topology (nor or nand, see note 1), each block will have the. A nand flash block is. Remember that, it’s really important. Flash memory, also known as flash storage, is a type of. Flash Memory Block.
From www.intechopen.com
Block Cleaning Process in Flash Memory IntechOpen Flash Memory Block This erases the targeted area of the chip, which can. Flash memory is widely used for storage and data transfer in consumer devices, enterprise systems and industrial applications. Remember that, it’s really important. Each memory flash is an array of memory cells. Depending on the flash memory topology (nor or nand, see note 1), each block will have the. Each. Flash Memory Block.
From www.researchgate.net
Logical structure of flash memory blocks. Download Scientific Diagram Flash Memory Block This array is divided into blocks. This flash memory works on. Remember that, it’s really important. Nand flash is a nonvolatile solid state memory with the capability to retain stored data when unpowered. A nand flash block is. Flash memory is secondary memory and so it is not volatile which means it persists the data even if there is not. Flash Memory Block.
From www.researchgate.net
Flash memory attributes and specifications. (block and page) to be Flash Memory Block A nand flash block is. Each memory flash is an array of memory cells. Flash memory is secondary memory and so it is not volatile which means it persists the data even if there is not an electrical supply provided. Flash memory, also known as flash storage, is a type of nonvolatile memory that erases data in units called blocks. Flash Memory Block.
From www.nanowerk.com
NAND Flash A Comprehensive Overview of NonVolatile Memory Technology Flash Memory Block A nand flash block is. This erases the targeted area of the chip, which can. Flash memory is widely used for storage and data transfer in consumer devices, enterprise systems and industrial applications. The nand flash array is grouped into a series of blocks, which are the smallest erasable entities in a nand flash device. Nand flash is a nonvolatile. Flash Memory Block.
From uspto.report
Selectively synchronizing flash memory block refreshes based in part Flash Memory Block Flash memory, also known as flash storage, is a type of nonvolatile memory that erases data in units called blocks and rewrites data at the byte level. Nand flash is a nonvolatile solid state memory with the capability to retain stored data when unpowered. Each block contains a number of pages,. This erases the targeted area of the chip, which. Flash Memory Block.
From electronics.stackexchange.com
Flash memory What are blocks and pages from a physical standpoint Flash Memory Block Flash memory is widely used for storage and data transfer in consumer devices, enterprise systems and industrial applications. Each block contains a number of pages,. Each plane contains a number of blocks, which are the smallest unit that can be erased. Nand and nor are the two. The nand flash array is grouped into a series of blocks, which are. Flash Memory Block.
From www.researchgate.net
A flash memory block. Download Scientific Diagram Flash Memory Block Flash memory is widely used for storage and data transfer in consumer devices, enterprise systems and industrial applications. This erases the targeted area of the chip, which can. Depending on the flash memory topology (nor or nand, see note 1), each block will have the. Each memory flash is an array of memory cells. Flash memory is secondary memory and. Flash Memory Block.
From www.slideserve.com
PPT Introduction to Flash Memory PowerPoint Presentation, free Flash Memory Block Nand flash is a nonvolatile solid state memory with the capability to retain stored data when unpowered. Each block contains a number of pages,. This array is divided into blocks. Flash memory, also known as flash storage, is a type of nonvolatile memory that erases data in units called blocks and rewrites data at the byte level. This erases the. Flash Memory Block.
From www.researchgate.net
Simplified core architecture of the 128Mb NAND flash memory Flash Memory Block Flash memory is widely used for storage and data transfer in consumer devices, enterprise systems and industrial applications. Remember that, it’s really important. Each block contains a number of pages,. Each memory flash is an array of memory cells. This flash memory works on. The nand flash array is grouped into a series of blocks, which are the smallest erasable. Flash Memory Block.
From slideplayer.com
MEMORY DEVICES, CIRCUITS, AND SUBSYSTEM DESIGN ppt download Flash Memory Block Flash memory, also known as flash storage, is a type of nonvolatile memory that erases data in units called blocks and rewrites data at the byte level. This array is divided into blocks. Each memory flash is an array of memory cells. Each plane contains a number of blocks, which are the smallest unit that can be erased. This erases. Flash Memory Block.
From www.researchgate.net
Coding and signal processing block diagram for NAND flash memory Flash Memory Block Flash memory, also known as flash storage, is a type of nonvolatile memory that erases data in units called blocks and rewrites data at the byte level. Flash memory is secondary memory and so it is not volatile which means it persists the data even if there is not an electrical supply provided. This array is divided into blocks. Each. Flash Memory Block.
From www.mdpi.com
Electronics Free FullText EXPRESS Exploiting EnergyAccuracy Flash Memory Block Each block contains a number of pages,. Each memory flash is an array of memory cells. Nand and nor are the two. Flash memory, also known as flash storage, is a type of nonvolatile memory that erases data in units called blocks and rewrites data at the byte level. Each plane contains a number of blocks, which are the smallest. Flash Memory Block.
From www.mdpi.com
Computers Free FullText Architectural and Integration Options for Flash Memory Block This array is divided into blocks. Depending on the flash memory topology (nor or nand, see note 1), each block will have the. This flash memory works on. Flash memory is secondary memory and so it is not volatile which means it persists the data even if there is not an electrical supply provided. Flash memory is widely used for. Flash Memory Block.