Press Brake Clutch Assembly . The utility model discloses a brake clutch assembly for punch press, including the bent axle, brake mechanism and clutching mechanism,. Wichita clutch/brake combination (ccb) units provide fast, smooth cycling for stamping presses and metal forming equipment by combining a high performance clutch and spring set brake in a compact assembly. Clutch engineering offers wichita low inertia clutches and brakes, for applications that include presses, shears, and other industrial equipment. This is what starts and stops the press. Make sure everything is properly adjusted. Check the brake and clutch. Are the gibs that guide the ram loose or worn out? Low inertia clutches and brakes. Explore our comprehensive guide on press brakes, their structure, components, types, and applications, with an emphasis on hydraulic. It is the heartbeat of the press, so to.
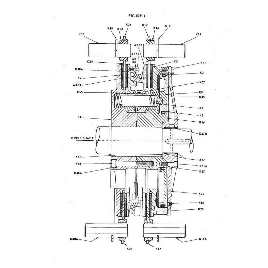
from www.ortlinghaus.com
Wichita clutch/brake combination (ccb) units provide fast, smooth cycling for stamping presses and metal forming equipment by combining a high performance clutch and spring set brake in a compact assembly. Explore our comprehensive guide on press brakes, their structure, components, types, and applications, with an emphasis on hydraulic. Are the gibs that guide the ram loose or worn out? Low inertia clutches and brakes. Check the brake and clutch. The utility model discloses a brake clutch assembly for punch press, including the bent axle, brake mechanism and clutching mechanism,. Clutch engineering offers wichita low inertia clutches and brakes, for applications that include presses, shears, and other industrial equipment. It is the heartbeat of the press, so to. Make sure everything is properly adjusted. This is what starts and stops the press.
Ortlinghaus. Clutchbrake units
Press Brake Clutch Assembly Wichita clutch/brake combination (ccb) units provide fast, smooth cycling for stamping presses and metal forming equipment by combining a high performance clutch and spring set brake in a compact assembly. Are the gibs that guide the ram loose or worn out? The utility model discloses a brake clutch assembly for punch press, including the bent axle, brake mechanism and clutching mechanism,. Wichita clutch/brake combination (ccb) units provide fast, smooth cycling for stamping presses and metal forming equipment by combining a high performance clutch and spring set brake in a compact assembly. Clutch engineering offers wichita low inertia clutches and brakes, for applications that include presses, shears, and other industrial equipment. Check the brake and clutch. Make sure everything is properly adjusted. It is the heartbeat of the press, so to. Explore our comprehensive guide on press brakes, their structure, components, types, and applications, with an emphasis on hydraulic. This is what starts and stops the press. Low inertia clutches and brakes.
From shop.broncograveyard.com
199296 Ford Bronco and Truck Brake Clutch Pedal Assembly Press Brake Clutch Assembly Wichita clutch/brake combination (ccb) units provide fast, smooth cycling for stamping presses and metal forming equipment by combining a high performance clutch and spring set brake in a compact assembly. This is what starts and stops the press. Make sure everything is properly adjusted. Are the gibs that guide the ram loose or worn out? It is the heartbeat of. Press Brake Clutch Assembly.
From aeliyamarine.net
Binder 86 61107h00 Brake & Clutch Assembly Aeliya Marine Press Brake Clutch Assembly The utility model discloses a brake clutch assembly for punch press, including the bent axle, brake mechanism and clutching mechanism,. It is the heartbeat of the press, so to. Check the brake and clutch. Clutch engineering offers wichita low inertia clutches and brakes, for applications that include presses, shears, and other industrial equipment. Wichita clutch/brake combination (ccb) units provide fast,. Press Brake Clutch Assembly.
From www.corvetteforum.com
Brake/clutch pedal assembly removal help CorvetteForum Chevrolet Press Brake Clutch Assembly This is what starts and stops the press. Make sure everything is properly adjusted. Are the gibs that guide the ram loose or worn out? Clutch engineering offers wichita low inertia clutches and brakes, for applications that include presses, shears, and other industrial equipment. It is the heartbeat of the press, so to. Explore our comprehensive guide on press brakes,. Press Brake Clutch Assembly.
From vociferouswriters.medium.com
SHOULD I PRESS THE CLUTCH FIRST THEN BRAKE OR BRAKE FIRST THEN CLUTCH Press Brake Clutch Assembly The utility model discloses a brake clutch assembly for punch press, including the bent axle, brake mechanism and clutching mechanism,. This is what starts and stops the press. Explore our comprehensive guide on press brakes, their structure, components, types, and applications, with an emphasis on hydraulic. Make sure everything is properly adjusted. It is the heartbeat of the press, so. Press Brake Clutch Assembly.
From www.printfp.com
Brakeclutch assembly Print Finishing Partners Press Brake Clutch Assembly Clutch engineering offers wichita low inertia clutches and brakes, for applications that include presses, shears, and other industrial equipment. The utility model discloses a brake clutch assembly for punch press, including the bent axle, brake mechanism and clutching mechanism,. Check the brake and clutch. Make sure everything is properly adjusted. Explore our comprehensive guide on press brakes, their structure, components,. Press Brake Clutch Assembly.
From www.printfp.com
Brakeclutch assembly Print Finishing Partners Press Brake Clutch Assembly Wichita clutch/brake combination (ccb) units provide fast, smooth cycling for stamping presses and metal forming equipment by combining a high performance clutch and spring set brake in a compact assembly. Clutch engineering offers wichita low inertia clutches and brakes, for applications that include presses, shears, and other industrial equipment. Are the gibs that guide the ram loose or worn out?. Press Brake Clutch Assembly.
From www.ortlinghaus.com
Ortlinghaus. Clutchbrake units Press Brake Clutch Assembly Clutch engineering offers wichita low inertia clutches and brakes, for applications that include presses, shears, and other industrial equipment. Are the gibs that guide the ram loose or worn out? Explore our comprehensive guide on press brakes, their structure, components, types, and applications, with an emphasis on hydraulic. Make sure everything is properly adjusted. Check the brake and clutch. The. Press Brake Clutch Assembly.
From www.indiamart.com
PRESSMASTER DUAL SAFETY VALVE DUAL SENSING VALVE for PRESS BRAKE Press Brake Clutch Assembly Are the gibs that guide the ram loose or worn out? Explore our comprehensive guide on press brakes, their structure, components, types, and applications, with an emphasis on hydraulic. Low inertia clutches and brakes. Clutch engineering offers wichita low inertia clutches and brakes, for applications that include presses, shears, and other industrial equipment. This is what starts and stops the. Press Brake Clutch Assembly.
From shop.broncograveyard.com
199296 Ford Bronco and Truck Brake Clutch Pedal Assembly Press Brake Clutch Assembly Low inertia clutches and brakes. Explore our comprehensive guide on press brakes, their structure, components, types, and applications, with an emphasis on hydraulic. Wichita clutch/brake combination (ccb) units provide fast, smooth cycling for stamping presses and metal forming equipment by combining a high performance clutch and spring set brake in a compact assembly. Clutch engineering offers wichita low inertia clutches. Press Brake Clutch Assembly.
From www.clutchengineering.com
Press Clutches & Brakes Clutch Engineering Press Brake Clutch Assembly Make sure everything is properly adjusted. This is what starts and stops the press. Are the gibs that guide the ram loose or worn out? Check the brake and clutch. The utility model discloses a brake clutch assembly for punch press, including the bent axle, brake mechanism and clutching mechanism,. Clutch engineering offers wichita low inertia clutches and brakes, for. Press Brake Clutch Assembly.
From newsite.imrinc.net
Stamping Press Clutch and Brake conversions IMR Inc. Press Brake Clutch Assembly Make sure everything is properly adjusted. It is the heartbeat of the press, so to. The utility model discloses a brake clutch assembly for punch press, including the bent axle, brake mechanism and clutching mechanism,. Check the brake and clutch. Explore our comprehensive guide on press brakes, their structure, components, types, and applications, with an emphasis on hydraulic. Are the. Press Brake Clutch Assembly.
From kisetsu.jp
プレスブレーキ Press Brake Clutch Assembly Wichita clutch/brake combination (ccb) units provide fast, smooth cycling for stamping presses and metal forming equipment by combining a high performance clutch and spring set brake in a compact assembly. Are the gibs that guide the ram loose or worn out? Clutch engineering offers wichita low inertia clutches and brakes, for applications that include presses, shears, and other industrial equipment.. Press Brake Clutch Assembly.
From www.machiii.com
How It Works Air Engaged Friction Clutch Mach III Press Brake Clutch Assembly Are the gibs that guide the ram loose or worn out? It is the heartbeat of the press, so to. Check the brake and clutch. Explore our comprehensive guide on press brakes, their structure, components, types, and applications, with an emphasis on hydraulic. Make sure everything is properly adjusted. Low inertia clutches and brakes. This is what starts and stops. Press Brake Clutch Assembly.
From classicoldsmobile.com
69 70 71 72 Cutlass 442 Clutch /Brake Pedal Assembly Nice GM Press Brake Clutch Assembly The utility model discloses a brake clutch assembly for punch press, including the bent axle, brake mechanism and clutching mechanism,. Are the gibs that guide the ram loose or worn out? This is what starts and stops the press. Low inertia clutches and brakes. Make sure everything is properly adjusted. Wichita clutch/brake combination (ccb) units provide fast, smooth cycling for. Press Brake Clutch Assembly.
From www.ortlinghaus.com
Ortlinghaus. Clutchbrake units Press Brake Clutch Assembly Check the brake and clutch. Explore our comprehensive guide on press brakes, their structure, components, types, and applications, with an emphasis on hydraulic. This is what starts and stops the press. Make sure everything is properly adjusted. Low inertia clutches and brakes. The utility model discloses a brake clutch assembly for punch press, including the bent axle, brake mechanism and. Press Brake Clutch Assembly.
From www.aida-global.com
Stamping Press Technology AIDA Wet Clutch and Brake Press Brake Clutch Assembly Explore our comprehensive guide on press brakes, their structure, components, types, and applications, with an emphasis on hydraulic. Are the gibs that guide the ram loose or worn out? The utility model discloses a brake clutch assembly for punch press, including the bent axle, brake mechanism and clutching mechanism,. Low inertia clutches and brakes. This is what starts and stops. Press Brake Clutch Assembly.
From rakoinc.com
FlywheelClutch/Brake Repair RAKO INC Press Brake Clutch Assembly The utility model discloses a brake clutch assembly for punch press, including the bent axle, brake mechanism and clutching mechanism,. Clutch engineering offers wichita low inertia clutches and brakes, for applications that include presses, shears, and other industrial equipment. This is what starts and stops the press. Are the gibs that guide the ram loose or worn out? Explore our. Press Brake Clutch Assembly.
From www.printfp.com
Brakeclutch assembly Print Finishing Partners Press Brake Clutch Assembly Low inertia clutches and brakes. Explore our comprehensive guide on press brakes, their structure, components, types, and applications, with an emphasis on hydraulic. Make sure everything is properly adjusted. Wichita clutch/brake combination (ccb) units provide fast, smooth cycling for stamping presses and metal forming equipment by combining a high performance clutch and spring set brake in a compact assembly. The. Press Brake Clutch Assembly.
From www.clutchengineering.com
Press Clutches & Brakes Clutch Engineering Press Brake Clutch Assembly This is what starts and stops the press. Make sure everything is properly adjusted. It is the heartbeat of the press, so to. Wichita clutch/brake combination (ccb) units provide fast, smooth cycling for stamping presses and metal forming equipment by combining a high performance clutch and spring set brake in a compact assembly. Check the brake and clutch. The utility. Press Brake Clutch Assembly.
From www.printfp.com
Brakeclutch assembly Print Finishing Partners Press Brake Clutch Assembly It is the heartbeat of the press, so to. Low inertia clutches and brakes. Are the gibs that guide the ram loose or worn out? Wichita clutch/brake combination (ccb) units provide fast, smooth cycling for stamping presses and metal forming equipment by combining a high performance clutch and spring set brake in a compact assembly. Make sure everything is properly. Press Brake Clutch Assembly.
From www.clutchengineering.com
Press Clutches & Brakes Clutch Engineering Press Brake Clutch Assembly Wichita clutch/brake combination (ccb) units provide fast, smooth cycling for stamping presses and metal forming equipment by combining a high performance clutch and spring set brake in a compact assembly. It is the heartbeat of the press, so to. Check the brake and clutch. Explore our comprehensive guide on press brakes, their structure, components, types, and applications, with an emphasis. Press Brake Clutch Assembly.
From www.ortlinghaus.com
Ortlinghaus. Clutchbrake units Press Brake Clutch Assembly Low inertia clutches and brakes. This is what starts and stops the press. Are the gibs that guide the ram loose or worn out? Check the brake and clutch. Clutch engineering offers wichita low inertia clutches and brakes, for applications that include presses, shears, and other industrial equipment. Wichita clutch/brake combination (ccb) units provide fast, smooth cycling for stamping presses. Press Brake Clutch Assembly.
From bcntechserv.com
Type "AK" Adjustable Disc AirFriction Clutch & Brake Manual A151D Press Brake Clutch Assembly Low inertia clutches and brakes. Are the gibs that guide the ram loose or worn out? This is what starts and stops the press. The utility model discloses a brake clutch assembly for punch press, including the bent axle, brake mechanism and clutching mechanism,. Clutch engineering offers wichita low inertia clutches and brakes, for applications that include presses, shears, and. Press Brake Clutch Assembly.
From klaxtmqoy.blob.core.windows.net
Clutch Car How It Works at Teresa Almeida blog Press Brake Clutch Assembly Clutch engineering offers wichita low inertia clutches and brakes, for applications that include presses, shears, and other industrial equipment. Explore our comprehensive guide on press brakes, their structure, components, types, and applications, with an emphasis on hydraulic. Check the brake and clutch. The utility model discloses a brake clutch assembly for punch press, including the bent axle, brake mechanism and. Press Brake Clutch Assembly.
From www.fieldservicemechanical.com
Bliss C110 Stamping Press Assembly Pictures Press Brake Clutch Assembly This is what starts and stops the press. Clutch engineering offers wichita low inertia clutches and brakes, for applications that include presses, shears, and other industrial equipment. Check the brake and clutch. Low inertia clutches and brakes. Are the gibs that guide the ram loose or worn out? Wichita clutch/brake combination (ccb) units provide fast, smooth cycling for stamping presses. Press Brake Clutch Assembly.
From www.primalasercut.com
JH21 pneumatic press with wet clutch and hydraulic overload protector Press Brake Clutch Assembly It is the heartbeat of the press, so to. Clutch engineering offers wichita low inertia clutches and brakes, for applications that include presses, shears, and other industrial equipment. The utility model discloses a brake clutch assembly for punch press, including the bent axle, brake mechanism and clutching mechanism,. This is what starts and stops the press. Are the gibs that. Press Brake Clutch Assembly.
From www.clutchengineering.com
Press Clutches & Brakes Clutch Engineering Press Brake Clutch Assembly Wichita clutch/brake combination (ccb) units provide fast, smooth cycling for stamping presses and metal forming equipment by combining a high performance clutch and spring set brake in a compact assembly. The utility model discloses a brake clutch assembly for punch press, including the bent axle, brake mechanism and clutching mechanism,. It is the heartbeat of the press, so to. Are. Press Brake Clutch Assembly.
From bcntechserv.com
Air Clutch BCN Technical Services Press Brake Clutch Assembly Explore our comprehensive guide on press brakes, their structure, components, types, and applications, with an emphasis on hydraulic. Make sure everything is properly adjusted. Low inertia clutches and brakes. Clutch engineering offers wichita low inertia clutches and brakes, for applications that include presses, shears, and other industrial equipment. Are the gibs that guide the ram loose or worn out? Check. Press Brake Clutch Assembly.
From www.thefabricator.com
How stampers can perform a clutchbrake retrofit Press Brake Clutch Assembly Wichita clutch/brake combination (ccb) units provide fast, smooth cycling for stamping presses and metal forming equipment by combining a high performance clutch and spring set brake in a compact assembly. Low inertia clutches and brakes. Make sure everything is properly adjusted. Explore our comprehensive guide on press brakes, their structure, components, types, and applications, with an emphasis on hydraulic. Clutch. Press Brake Clutch Assembly.
From tattoobloq.com
Firewall Mount Brake Clutch Pedal Assembly For Wilwood Master Cylinder Press Brake Clutch Assembly Clutch engineering offers wichita low inertia clutches and brakes, for applications that include presses, shears, and other industrial equipment. Low inertia clutches and brakes. Wichita clutch/brake combination (ccb) units provide fast, smooth cycling for stamping presses and metal forming equipment by combining a high performance clutch and spring set brake in a compact assembly. This is what starts and stops. Press Brake Clutch Assembly.
From dir.indiamart.com
Clutch Brake Combination Unit Clutch Brake Latest Price Press Brake Clutch Assembly Are the gibs that guide the ram loose or worn out? Wichita clutch/brake combination (ccb) units provide fast, smooth cycling for stamping presses and metal forming equipment by combining a high performance clutch and spring set brake in a compact assembly. Make sure everything is properly adjusted. This is what starts and stops the press. Clutch engineering offers wichita low. Press Brake Clutch Assembly.
From www.youtube.com
pneumatic press machinePneumatic clutch assembly YouTube Press Brake Clutch Assembly Check the brake and clutch. Are the gibs that guide the ram loose or worn out? Explore our comprehensive guide on press brakes, their structure, components, types, and applications, with an emphasis on hydraulic. Make sure everything is properly adjusted. Wichita clutch/brake combination (ccb) units provide fast, smooth cycling for stamping presses and metal forming equipment by combining a high. Press Brake Clutch Assembly.
From www.google.com
Patent US2584190 Aircooled press brake and clutch assembly Google Press Brake Clutch Assembly Are the gibs that guide the ram loose or worn out? It is the heartbeat of the press, so to. Clutch engineering offers wichita low inertia clutches and brakes, for applications that include presses, shears, and other industrial equipment. Check the brake and clutch. This is what starts and stops the press. Explore our comprehensive guide on press brakes, their. Press Brake Clutch Assembly.
From www.repco.com.au
Know How Selecting your clutch Repco Australia Press Brake Clutch Assembly Wichita clutch/brake combination (ccb) units provide fast, smooth cycling for stamping presses and metal forming equipment by combining a high performance clutch and spring set brake in a compact assembly. Make sure everything is properly adjusted. Explore our comprehensive guide on press brakes, their structure, components, types, and applications, with an emphasis on hydraulic. Clutch engineering offers wichita low inertia. Press Brake Clutch Assembly.
From shopee.ph
PLATE CLUTCH ASSEMBLY GENUINE BAJAJ RE Shopee Philippines Press Brake Clutch Assembly Check the brake and clutch. It is the heartbeat of the press, so to. Make sure everything is properly adjusted. This is what starts and stops the press. Are the gibs that guide the ram loose or worn out? Low inertia clutches and brakes. Wichita clutch/brake combination (ccb) units provide fast, smooth cycling for stamping presses and metal forming equipment. Press Brake Clutch Assembly.