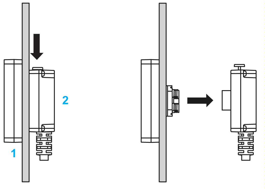
How To Remove From Din Rail . Follow along using the transcript. In this video, i show how to mount and remove a din rail contactor.for more videos on how to do things, please what this playlist. This video shows how to remove a terminal block from a din rail with a small screwdriver. Demounting power supply unit from din rail //in this. This section describes how to remove the rear module from a din rail and the display module from the panel. Read this complete buyer’s guide on din rail terminal blocks, explaining what they are, their uses, the different types, how to use them, and much more! To prevent the modules from sliding sideways on the din rail, fix an end clamp for din 35 (part number sxwdinend10001) tightly against the rightmost device on the rail. Just insert the tip of the.
from www.hanrro.com
To prevent the modules from sliding sideways on the din rail, fix an end clamp for din 35 (part number sxwdinend10001) tightly against the rightmost device on the rail. This section describes how to remove the rear module from a din rail and the display module from the panel. Read this complete buyer’s guide on din rail terminal blocks, explaining what they are, their uses, the different types, how to use them, and much more! Just insert the tip of the. In this video, i show how to mount and remove a din rail contactor.for more videos on how to do things, please what this playlist. This video shows how to remove a terminal block from a din rail with a small screwdriver. Demounting power supply unit from din rail //in this. Follow along using the transcript.
DIN Rail Brackets With Zinc Coated For Heavy Duty Application
How To Remove From Din Rail This section describes how to remove the rear module from a din rail and the display module from the panel. Follow along using the transcript. Read this complete buyer’s guide on din rail terminal blocks, explaining what they are, their uses, the different types, how to use them, and much more! This section describes how to remove the rear module from a din rail and the display module from the panel. In this video, i show how to mount and remove a din rail contactor.for more videos on how to do things, please what this playlist. Demounting power supply unit from din rail //in this. To prevent the modules from sliding sideways on the din rail, fix an end clamp for din 35 (part number sxwdinend10001) tightly against the rightmost device on the rail. This video shows how to remove a terminal block from a din rail with a small screwdriver. Just insert the tip of the.
From www.youtube.com
Fitlet DIN Rail Mounting Tutorial YouTube How To Remove From Din Rail To prevent the modules from sliding sideways on the din rail, fix an end clamp for din 35 (part number sxwdinend10001) tightly against the rightmost device on the rail. In this video, i show how to mount and remove a din rail contactor.for more videos on how to do things, please what this playlist. Demounting power supply unit from din. How To Remove From Din Rail.
From www.gridconnect.com
Single 1U DIN Rail Rack Mount Kit Grid Connect How To Remove From Din Rail Follow along using the transcript. This video shows how to remove a terminal block from a din rail with a small screwdriver. In this video, i show how to mount and remove a din rail contactor.for more videos on how to do things, please what this playlist. To prevent the modules from sliding sideways on the din rail, fix an. How To Remove From Din Rail.
From www.polycase.com
What Is a DIN Rail? Basics and Different Types Polycase How To Remove From Din Rail Demounting power supply unit from din rail //in this. Just insert the tip of the. This video shows how to remove a terminal block from a din rail with a small screwdriver. Follow along using the transcript. Read this complete buyer’s guide on din rail terminal blocks, explaining what they are, their uses, the different types, how to use them,. How To Remove From Din Rail.
From www.rowse.co.uk
DIN Rails Everything You Need to Know Electrical Rowse How To Remove From Din Rail This video shows how to remove a terminal block from a din rail with a small screwdriver. Follow along using the transcript. To prevent the modules from sliding sideways on the din rail, fix an end clamp for din 35 (part number sxwdinend10001) tightly against the rightmost device on the rail. In this video, i show how to mount and. How To Remove From Din Rail.
From techna.co.uk
DINRails Din 15, Din 32 and Din 35 Techna UK How To Remove From Din Rail Demounting power supply unit from din rail //in this. Just insert the tip of the. To prevent the modules from sliding sideways on the din rail, fix an end clamp for din 35 (part number sxwdinend10001) tightly against the rightmost device on the rail. This section describes how to remove the rear module from a din rail and the display. How To Remove From Din Rail.
From www.youtube.com
DINrail mounted devices YouTube How To Remove From Din Rail Demounting power supply unit from din rail //in this. Just insert the tip of the. This video shows how to remove a terminal block from a din rail with a small screwdriver. To prevent the modules from sliding sideways on the din rail, fix an end clamp for din 35 (part number sxwdinend10001) tightly against the rightmost device on the. How To Remove From Din Rail.
From www.facebook.com
How to remove the contactor from DINrail? How to remove the How To Remove From Din Rail This video shows how to remove a terminal block from a din rail with a small screwdriver. Follow along using the transcript. In this video, i show how to mount and remove a din rail contactor.for more videos on how to do things, please what this playlist. Demounting power supply unit from din rail //in this. To prevent the modules. How To Remove From Din Rail.
From docs.crestron.com
DINAP4R Installation 4Series™ Control Systems Manual How To Remove From Din Rail Follow along using the transcript. This video shows how to remove a terminal block from a din rail with a small screwdriver. Just insert the tip of the. Demounting power supply unit from din rail //in this. This section describes how to remove the rear module from a din rail and the display module from the panel. In this video,. How To Remove From Din Rail.
From mavink.com
Din Rail Mounting How To Remove From Din Rail To prevent the modules from sliding sideways on the din rail, fix an end clamp for din 35 (part number sxwdinend10001) tightly against the rightmost device on the rail. Read this complete buyer’s guide on din rail terminal blocks, explaining what they are, their uses, the different types, how to use them, and much more! This section describes how to. How To Remove From Din Rail.
From cults3d.com
Free STL file Din rail mount 🔧 ・3D printable model to download・Cults How To Remove From Din Rail Demounting power supply unit from din rail //in this. Follow along using the transcript. To prevent the modules from sliding sideways on the din rail, fix an end clamp for din 35 (part number sxwdinend10001) tightly against the rightmost device on the rail. Read this complete buyer’s guide on din rail terminal blocks, explaining what they are, their uses, the. How To Remove From Din Rail.
From connectorsupplier.com
What are DIN Rail Terminal Blocks? How To Remove From Din Rail Read this complete buyer’s guide on din rail terminal blocks, explaining what they are, their uses, the different types, how to use them, and much more! This video shows how to remove a terminal block from a din rail with a small screwdriver. To prevent the modules from sliding sideways on the din rail, fix an end clamp for din. How To Remove From Din Rail.
From molexces.moveodev.com
DIN Rail Mountable Enclosure, Unloaded » Molex How To Remove From Din Rail In this video, i show how to mount and remove a din rail contactor.for more videos on how to do things, please what this playlist. To prevent the modules from sliding sideways on the din rail, fix an end clamp for din 35 (part number sxwdinend10001) tightly against the rightmost device on the rail. Read this complete buyer’s guide on. How To Remove From Din Rail.
From www.winford.com
DIN Rail Extender Right Angle DIN Rail Mounting Plate 6.0" x 3.5 How To Remove From Din Rail This video shows how to remove a terminal block from a din rail with a small screwdriver. Just insert the tip of the. Follow along using the transcript. In this video, i show how to mount and remove a din rail contactor.for more videos on how to do things, please what this playlist. Read this complete buyer’s guide on din. How To Remove From Din Rail.
From instrumentationtools.com
What is DIN rail ? Control System Enclosure Instrumentation Tools How To Remove From Din Rail This section describes how to remove the rear module from a din rail and the display module from the panel. Read this complete buyer’s guide on din rail terminal blocks, explaining what they are, their uses, the different types, how to use them, and much more! Just insert the tip of the. Demounting power supply unit from din rail //in. How To Remove From Din Rail.
From www.polycase.com
DIN Rail Enclosure Installation Guide Polycase How To Remove From Din Rail Read this complete buyer’s guide on din rail terminal blocks, explaining what they are, their uses, the different types, how to use them, and much more! To prevent the modules from sliding sideways on the din rail, fix an end clamp for din 35 (part number sxwdinend10001) tightly against the rightmost device on the rail. This section describes how to. How To Remove From Din Rail.
From elkay.co.uk
DIN rail Terminal blocks Everything You Need To Know about it • Elmex How To Remove From Din Rail Demounting power supply unit from din rail //in this. Read this complete buyer’s guide on din rail terminal blocks, explaining what they are, their uses, the different types, how to use them, and much more! To prevent the modules from sliding sideways on the din rail, fix an end clamp for din 35 (part number sxwdinend10001) tightly against the rightmost. How To Remove From Din Rail.
From ict-power.com
DIN Rail Adapter Kit Innovative Circuit Technology How To Remove From Din Rail Demounting power supply unit from din rail //in this. Follow along using the transcript. Just insert the tip of the. To prevent the modules from sliding sideways on the din rail, fix an end clamp for din 35 (part number sxwdinend10001) tightly against the rightmost device on the rail. This section describes how to remove the rear module from a. How To Remove From Din Rail.
From product-help.schneider-electric.com
Installing and Removing the Rear Module on a DIN Rail How To Remove From Din Rail Demounting power supply unit from din rail //in this. This section describes how to remove the rear module from a din rail and the display module from the panel. In this video, i show how to mount and remove a din rail contactor.for more videos on how to do things, please what this playlist. Just insert the tip of the.. How To Remove From Din Rail.
From www.amazon.in
2 Pieces DIN Rail Slotted Aluminum RoHS 12" Inches Long 35mm Wide 7.5mm How To Remove From Din Rail In this video, i show how to mount and remove a din rail contactor.for more videos on how to do things, please what this playlist. This video shows how to remove a terminal block from a din rail with a small screwdriver. To prevent the modules from sliding sideways on the din rail, fix an end clamp for din 35. How To Remove From Din Rail.
From synectic.co.uk
VoltageCurrent Converter SY018VI 24Vdc Din Rail How To Remove From Din Rail This section describes how to remove the rear module from a din rail and the display module from the panel. Read this complete buyer’s guide on din rail terminal blocks, explaining what they are, their uses, the different types, how to use them, and much more! This video shows how to remove a terminal block from a din rail with. How To Remove From Din Rail.
From www.hdcabling.co.za
Din Rail To Samite Rail Breaker Adapter For DB Board Breaker Installation How To Remove From Din Rail In this video, i show how to mount and remove a din rail contactor.for more videos on how to do things, please what this playlist. Demounting power supply unit from din rail //in this. Read this complete buyer’s guide on din rail terminal blocks, explaining what they are, their uses, the different types, how to use them, and much more!. How To Remove From Din Rail.
From www.onetwo3d.co.uk
SSR DIN Rail Mounting Bracket How To Remove From Din Rail This video shows how to remove a terminal block from a din rail with a small screwdriver. In this video, i show how to mount and remove a din rail contactor.for more videos on how to do things, please what this playlist. Demounting power supply unit from din rail //in this. Read this complete buyer’s guide on din rail terminal. How To Remove From Din Rail.
From www.hanrro.com
DIN Rail Brackets With Zinc Coated For Heavy Duty Application How To Remove From Din Rail In this video, i show how to mount and remove a din rail contactor.for more videos on how to do things, please what this playlist. Follow along using the transcript. Read this complete buyer’s guide on din rail terminal blocks, explaining what they are, their uses, the different types, how to use them, and much more! Demounting power supply unit. How To Remove From Din Rail.
From hackaday.com
DIN Rails For… Everything Hackaday How To Remove From Din Rail To prevent the modules from sliding sideways on the din rail, fix an end clamp for din 35 (part number sxwdinend10001) tightly against the rightmost device on the rail. This video shows how to remove a terminal block from a din rail with a small screwdriver. Read this complete buyer’s guide on din rail terminal blocks, explaining what they are,. How To Remove From Din Rail.
From www.printables.com
DIN Rail Clip for WAGO 2212411 Inline Connector by Jack Ormston How To Remove From Din Rail This video shows how to remove a terminal block from a din rail with a small screwdriver. In this video, i show how to mount and remove a din rail contactor.for more videos on how to do things, please what this playlist. Follow along using the transcript. Read this complete buyer’s guide on din rail terminal blocks, explaining what they. How To Remove From Din Rail.
From iaeus.com
4U DIN Rail Enclosures for standard 19" Rack How To Remove From Din Rail In this video, i show how to mount and remove a din rail contactor.for more videos on how to do things, please what this playlist. Just insert the tip of the. Follow along using the transcript. Read this complete buyer’s guide on din rail terminal blocks, explaining what they are, their uses, the different types, how to use them, and. How To Remove From Din Rail.
From hvacrschool.com
What is a DIN Rail? HVAC School How To Remove From Din Rail This video shows how to remove a terminal block from a din rail with a small screwdriver. In this video, i show how to mount and remove a din rail contactor.for more videos on how to do things, please what this playlist. Just insert the tip of the. To prevent the modules from sliding sideways on the din rail, fix. How To Remove From Din Rail.
From www.langir.com
DIN Rails The Ultimate Guide of All the Essential Information How To Remove From Din Rail Demounting power supply unit from din rail //in this. This section describes how to remove the rear module from a din rail and the display module from the panel. Just insert the tip of the. To prevent the modules from sliding sideways on the din rail, fix an end clamp for din 35 (part number sxwdinend10001) tightly against the rightmost. How To Remove From Din Rail.
From www.youtube.com
Terminal Blocks & DIN Rail Bundle My First PLC Project 4 YouTube How To Remove From Din Rail Follow along using the transcript. To prevent the modules from sliding sideways on the din rail, fix an end clamp for din 35 (part number sxwdinend10001) tightly against the rightmost device on the rail. This section describes how to remove the rear module from a din rail and the display module from the panel. Demounting power supply unit from din. How To Remove From Din Rail.
From www.youtube.com
fitlet DIN Rail mounting YouTube How To Remove From Din Rail Read this complete buyer’s guide on din rail terminal blocks, explaining what they are, their uses, the different types, how to use them, and much more! In this video, i show how to mount and remove a din rail contactor.for more videos on how to do things, please what this playlist. Demounting power supply unit from din rail //in this.. How To Remove From Din Rail.
From www.printables.com
Din Rail Mount for Raspberry Pi by vorby Download free STL model How To Remove From Din Rail Follow along using the transcript. This section describes how to remove the rear module from a din rail and the display module from the panel. In this video, i show how to mount and remove a din rail contactor.for more videos on how to do things, please what this playlist. Demounting power supply unit from din rail //in this. Just. How To Remove From Din Rail.
From www.winford.com
DIN Rail Extender Right Angle DIN Rail Mounting Plate 6.0" x 3.5 How To Remove From Din Rail Just insert the tip of the. To prevent the modules from sliding sideways on the din rail, fix an end clamp for din 35 (part number sxwdinend10001) tightly against the rightmost device on the rail. In this video, i show how to mount and remove a din rail contactor.for more videos on how to do things, please what this playlist.. How To Remove From Din Rail.
From www.langir.com
DIN Rails The Ultimate Guide of All the Essential Information How To Remove From Din Rail This section describes how to remove the rear module from a din rail and the display module from the panel. Demounting power supply unit from din rail //in this. Just insert the tip of the. Read this complete buyer’s guide on din rail terminal blocks, explaining what they are, their uses, the different types, how to use them, and much. How To Remove From Din Rail.
From rsvautomotive.co.uk
Junction Box Enclosure Electrical Wires Din Rail Terminal Block High How To Remove From Din Rail Read this complete buyer’s guide on din rail terminal blocks, explaining what they are, their uses, the different types, how to use them, and much more! This section describes how to remove the rear module from a din rail and the display module from the panel. In this video, i show how to mount and remove a din rail contactor.for. How To Remove From Din Rail.
From en.usr.cn
DIN Rail mounting How To Remove From Din Rail Read this complete buyer’s guide on din rail terminal blocks, explaining what they are, their uses, the different types, how to use them, and much more! Follow along using the transcript. Demounting power supply unit from din rail //in this. In this video, i show how to mount and remove a din rail contactor.for more videos on how to do. How To Remove From Din Rail.