Motion Of Box . The box's motion is a function of these forces and its mass. This is a simulation of a box being pulled along a horizontal surface by a rope. Newton’s first law of motion states the following: A body at rest tends to remain at rest. A body in motion tends to remain in motion at a constant. Create an applied force and see how it makes. Explore the forces at work when pulling against a cart, and pushing a refrigerator, crate, or person. Projectile motion is the motion of an object thrown (projected) into the air when, after the initial force that launches the object, air resistance is. Which of the following statements best describes the motion of the box? Use the simulation to explore the effects of static and kinetic friction. Upon hitting the water, the box experiences a balance of forces (50 n downwards due to gravity and. The box first accelerates with a negative (downward) acceleration until it hits the water. The net force on a box is in the positive x direction. The box exerts a reaction force on you, which is also equal to f.
from apps4review.com
The box first accelerates with a negative (downward) acceleration until it hits the water. Newton’s first law of motion states the following: The box's motion is a function of these forces and its mass. Upon hitting the water, the box experiences a balance of forces (50 n downwards due to gravity and. Which of the following statements best describes the motion of the box? The net force on a box is in the positive x direction. The box exerts a reaction force on you, which is also equal to f. Explore the forces at work when pulling against a cart, and pushing a refrigerator, crate, or person. Projectile motion is the motion of an object thrown (projected) into the air when, after the initial force that launches the object, air resistance is. This is a simulation of a box being pulled along a horizontal surface by a rope.
Why Motionbox App is So Popular Apps4review
Motion Of Box Upon hitting the water, the box experiences a balance of forces (50 n downwards due to gravity and. Projectile motion is the motion of an object thrown (projected) into the air when, after the initial force that launches the object, air resistance is. The box's motion is a function of these forces and its mass. Upon hitting the water, the box experiences a balance of forces (50 n downwards due to gravity and. Explore the forces at work when pulling against a cart, and pushing a refrigerator, crate, or person. A body at rest tends to remain at rest. Which of the following statements best describes the motion of the box? A body in motion tends to remain in motion at a constant. The box first accelerates with a negative (downward) acceleration until it hits the water. The box exerts a reaction force on you, which is also equal to f. Newton’s first law of motion states the following: Create an applied force and see how it makes. The net force on a box is in the positive x direction. This is a simulation of a box being pulled along a horizontal surface by a rope. Use the simulation to explore the effects of static and kinetic friction.
From www.academia.edu
(PDF) LAW OF MOTION nagarjunasingh rasaputra Academia.edu Motion Of Box Upon hitting the water, the box experiences a balance of forces (50 n downwards due to gravity and. A body in motion tends to remain in motion at a constant. Newton’s first law of motion states the following: Explore the forces at work when pulling against a cart, and pushing a refrigerator, crate, or person. The box exerts a reaction. Motion Of Box.
From www.soontruemachinery.com
Box Motion Flow Packaging Machine Soontrue Motion Of Box Which of the following statements best describes the motion of the box? The box's motion is a function of these forces and its mass. The box first accelerates with a negative (downward) acceleration until it hits the water. Create an applied force and see how it makes. The net force on a box is in the positive x direction. Projectile. Motion Of Box.
From apps4review.com
Why Motionbox App is So Popular Apps4review Motion Of Box Upon hitting the water, the box experiences a balance of forces (50 n downwards due to gravity and. Use the simulation to explore the effects of static and kinetic friction. A body at rest tends to remain at rest. The box exerts a reaction force on you, which is also equal to f. Create an applied force and see how. Motion Of Box.
From www.tes.com
Motion graphs KS3 Activate Science Teaching Resources Motion Of Box Which of the following statements best describes the motion of the box? Use the simulation to explore the effects of static and kinetic friction. Upon hitting the water, the box experiences a balance of forces (50 n downwards due to gravity and. Create an applied force and see how it makes. A body in motion tends to remain in motion. Motion Of Box.
From www.soontruemachinery.com
Box Motion Flow Packaging Machine Soontrue Motion Of Box The net force on a box is in the positive x direction. The box exerts a reaction force on you, which is also equal to f. The box's motion is a function of these forces and its mass. Explore the forces at work when pulling against a cart, and pushing a refrigerator, crate, or person. The box first accelerates with. Motion Of Box.
From jccc-mpg.wikidot.com
Newton's Laws Of Motion JCCC MATH/PHYS 191 Motion Of Box A body at rest tends to remain at rest. Projectile motion is the motion of an object thrown (projected) into the air when, after the initial force that launches the object, air resistance is. Use the simulation to explore the effects of static and kinetic friction. A body in motion tends to remain in motion at a constant. The box. Motion Of Box.
From ghosthuntersequipment.com
Para4ce PMB Paranormal Music Box Unique Ghost Hunting Tool Ghost Motion Of Box The box's motion is a function of these forces and its mass. Upon hitting the water, the box experiences a balance of forces (50 n downwards due to gravity and. Projectile motion is the motion of an object thrown (projected) into the air when, after the initial force that launches the object, air resistance is. Which of the following statements. Motion Of Box.
From www.texasgateway.org
4.2 Newton's First Law of Motion Inertia Texas Gateway Motion Of Box The box's motion is a function of these forces and its mass. Explore the forces at work when pulling against a cart, and pushing a refrigerator, crate, or person. Projectile motion is the motion of an object thrown (projected) into the air when, after the initial force that launches the object, air resistance is. Upon hitting the water, the box. Motion Of Box.
From www.youtube.com
Mechanisms for converting Rotational Motion into Linear ميكانزمات Motion Of Box Create an applied force and see how it makes. A body at rest tends to remain at rest. This is a simulation of a box being pulled along a horizontal surface by a rope. The net force on a box is in the positive x direction. The box first accelerates with a negative (downward) acceleration until it hits the water.. Motion Of Box.
From www.pinterest.com
A Guide to Understand Projectile Motion With Reallife Examples Motion Of Box Upon hitting the water, the box experiences a balance of forces (50 n downwards due to gravity and. The box exerts a reaction force on you, which is also equal to f. Explore the forces at work when pulling against a cart, and pushing a refrigerator, crate, or person. Projectile motion is the motion of an object thrown (projected) into. Motion Of Box.
From codesandbox.io
framermotion examples CodeSandbox Motion Of Box Use the simulation to explore the effects of static and kinetic friction. The box first accelerates with a negative (downward) acceleration until it hits the water. Create an applied force and see how it makes. Explore the forces at work when pulling against a cart, and pushing a refrigerator, crate, or person. Projectile motion is the motion of an object. Motion Of Box.
From www.youtube.com
stop motion BOX STEP YouTube Motion Of Box Newton’s first law of motion states the following: This is a simulation of a box being pulled along a horizontal surface by a rope. The box first accelerates with a negative (downward) acceleration until it hits the water. The net force on a box is in the positive x direction. Create an applied force and see how it makes. Which. Motion Of Box.
From stock.adobe.com
Box Exercise, range of motion of the movement, vintage engraving. Stock Motion Of Box The box exerts a reaction force on you, which is also equal to f. Projectile motion is the motion of an object thrown (projected) into the air when, after the initial force that launches the object, air resistance is. Use the simulation to explore the effects of static and kinetic friction. A body in motion tends to remain in motion. Motion Of Box.
From www.coursehero.com
[Solved] http//phet.colorado.edu/sims/html/forcesandmotionbasics Motion Of Box Newton’s first law of motion states the following: Create an applied force and see how it makes. Use the simulation to explore the effects of static and kinetic friction. Projectile motion is the motion of an object thrown (projected) into the air when, after the initial force that launches the object, air resistance is. A body at rest tends to. Motion Of Box.
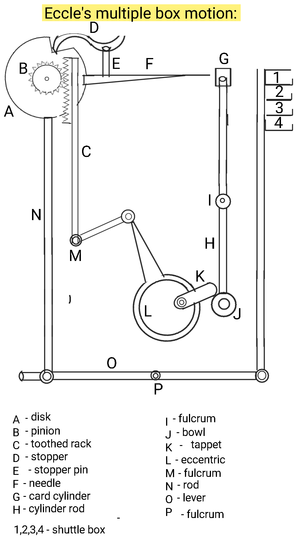
From www.textileadvisor.com
Textile Adviser Eccle's drop box motion l Multiple box motion l Weft Motion Of Box The box first accelerates with a negative (downward) acceleration until it hits the water. The net force on a box is in the positive x direction. Upon hitting the water, the box experiences a balance of forces (50 n downwards due to gravity and. A body in motion tends to remain in motion at a constant. Newton’s first law of. Motion Of Box.
From fortnite.gg
🐌SLOW MOTION BOX PVP📦 596042076408 by joedub Fortnite Creative Map Motion Of Box The box exerts a reaction force on you, which is also equal to f. A body in motion tends to remain in motion at a constant. Newton’s first law of motion states the following: The net force on a box is in the positive x direction. Explore the forces at work when pulling against a cart, and pushing a refrigerator,. Motion Of Box.
From gamefaqs.gamespot.com
Box Shot for Arcade Games GameFAQs Motion Of Box Which of the following statements best describes the motion of the box? This is a simulation of a box being pulled along a horizontal surface by a rope. Create an applied force and see how it makes. Projectile motion is the motion of an object thrown (projected) into the air when, after the initial force that launches the object, air. Motion Of Box.
From www.soontruemachinery.com
Automatic Box Motion Packaging Machine Soontrue Motion Of Box A body at rest tends to remain at rest. The box exerts a reaction force on you, which is also equal to f. Upon hitting the water, the box experiences a balance of forces (50 n downwards due to gravity and. The box's motion is a function of these forces and its mass. Which of the following statements best describes. Motion Of Box.
From www.chegg.com
Figure 1 A disk of radius R1, mass m1, and mass Motion Of Box Projectile motion is the motion of an object thrown (projected) into the air when, after the initial force that launches the object, air resistance is. This is a simulation of a box being pulled along a horizontal surface by a rope. The box first accelerates with a negative (downward) acceleration until it hits the water. Which of the following statements. Motion Of Box.
From www.soontruemachinery.com
Box Motion Flow Packaging Machine Soontrue Motion Of Box Explore the forces at work when pulling against a cart, and pushing a refrigerator, crate, or person. The box's motion is a function of these forces and its mass. Use the simulation to explore the effects of static and kinetic friction. Newton’s first law of motion states the following: The net force on a box is in the positive x. Motion Of Box.
From www.miniphysics.com
Reading Kinematics Graphs Mini Physics Learn Physics Online Motion Of Box Explore the forces at work when pulling against a cart, and pushing a refrigerator, crate, or person. The box first accelerates with a negative (downward) acceleration until it hits the water. This is a simulation of a box being pulled along a horizontal surface by a rope. Upon hitting the water, the box experiences a balance of forces (50 n. Motion Of Box.
From www.numerade.com
SOLVED Using a simplified model, in which we know that the forces are Motion Of Box A body at rest tends to remain at rest. The net force on a box is in the positive x direction. Create an applied force and see how it makes. This is a simulation of a box being pulled along a horizontal surface by a rope. The box first accelerates with a negative (downward) acceleration until it hits the water.. Motion Of Box.
From fortnite.gg
Slow Motion Box Fights📦 213530231869 by vizeloo Fortnite Creative Motion Of Box Projectile motion is the motion of an object thrown (projected) into the air when, after the initial force that launches the object, air resistance is. A body at rest tends to remain at rest. The box exerts a reaction force on you, which is also equal to f. Use the simulation to explore the effects of static and kinetic friction.. Motion Of Box.
From www.switchbacktravel.com
Thule Motion XT XL Review Switchback Travel Motion Of Box The box first accelerates with a negative (downward) acceleration until it hits the water. Explore the forces at work when pulling against a cart, and pushing a refrigerator, crate, or person. Newton’s first law of motion states the following: The box exerts a reaction force on you, which is also equal to f. A body in motion tends to remain. Motion Of Box.
From www.carewell.com.au
TiMotion Control Box Oden & Nimir CareWell Health Motion Of Box The box's motion is a function of these forces and its mass. Newton’s first law of motion states the following: Use the simulation to explore the effects of static and kinetic friction. Explore the forces at work when pulling against a cart, and pushing a refrigerator, crate, or person. Which of the following statements best describes the motion of the. Motion Of Box.
From secondipity.com
Men's Golf Pants All in Motion Secondipity Motion Of Box The net force on a box is in the positive x direction. The box's motion is a function of these forces and its mass. Use the simulation to explore the effects of static and kinetic friction. A body at rest tends to remain at rest. A body in motion tends to remain in motion at a constant. Which of the. Motion Of Box.
From www.vice.com
Unpacking The StopMotion Magic Of "The Boxtrolls" Motion Of Box The box first accelerates with a negative (downward) acceleration until it hits the water. This is a simulation of a box being pulled along a horizontal surface by a rope. A body in motion tends to remain in motion at a constant. Explore the forces at work when pulling against a cart, and pushing a refrigerator, crate, or person. Projectile. Motion Of Box.
From www.diplomageeks.com
Motion of body on horizontal surface Motion Of Box Create an applied force and see how it makes. Projectile motion is the motion of an object thrown (projected) into the air when, after the initial force that launches the object, air resistance is. Newton’s first law of motion states the following: A body at rest tends to remain at rest. Explore the forces at work when pulling against a. Motion Of Box.
From ghosthuntersequipment.com
Para4ce PMB Paranormal Music Box Unique Ghost Hunting Tool Ghost Motion Of Box This is a simulation of a box being pulled along a horizontal surface by a rope. A body at rest tends to remain at rest. The box's motion is a function of these forces and its mass. Use the simulation to explore the effects of static and kinetic friction. The box first accelerates with a negative (downward) acceleration until it. Motion Of Box.
From www.indiamart.com
HSR30A1 THK Linear Motion Block, Packaging Type Box at Rs 2500/piece Motion Of Box Upon hitting the water, the box experiences a balance of forces (50 n downwards due to gravity and. Explore the forces at work when pulling against a cart, and pushing a refrigerator, crate, or person. A body at rest tends to remain at rest. Projectile motion is the motion of an object thrown (projected) into the air when, after the. Motion Of Box.
From www.outdoormegastore.co.uk
Thule Motion 800 Roof Box by Thule for £425.00 Motion Of Box The box's motion is a function of these forces and its mass. This is a simulation of a box being pulled along a horizontal surface by a rope. A body in motion tends to remain in motion at a constant. Upon hitting the water, the box experiences a balance of forces (50 n downwards due to gravity and. Explore the. Motion Of Box.
From www.packsia.com
Motion Box Packsia Creator Motion Of Box Explore the forces at work when pulling against a cart, and pushing a refrigerator, crate, or person. A body at rest tends to remain at rest. Create an applied force and see how it makes. Projectile motion is the motion of an object thrown (projected) into the air when, after the initial force that launches the object, air resistance is.. Motion Of Box.
From www.vecteezy.com
Push and pull. Science lesson. Force and motion. Kids pulling boxes Motion Of Box Explore the forces at work when pulling against a cart, and pushing a refrigerator, crate, or person. Create an applied force and see how it makes. Upon hitting the water, the box experiences a balance of forces (50 n downwards due to gravity and. The box exerts a reaction force on you, which is also equal to f. Newton’s first. Motion Of Box.
From howellhige1935.blogspot.com
How to Draw a Motion Diagram Physics Howell Hige1935 Motion Of Box Newton’s first law of motion states the following: A body in motion tends to remain in motion at a constant. The box first accelerates with a negative (downward) acceleration until it hits the water. Create an applied force and see how it makes. This is a simulation of a box being pulled along a horizontal surface by a rope. Which. Motion Of Box.
From www.binarysoul.net
Motion Box Binary Soul Motion Of Box The net force on a box is in the positive x direction. Explore the forces at work when pulling against a cart, and pushing a refrigerator, crate, or person. Newton’s first law of motion states the following: Which of the following statements best describes the motion of the box? A body in motion tends to remain in motion at a. Motion Of Box.