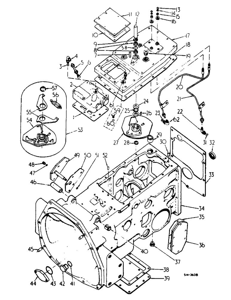
International 574 Hydraulic Oil Fill Location . the hydraulic fill plug is in the center rear behind the seat, hanging right in the open. i want use my shaver post driver on my 574 diesel. The return hose goes into the hydraulic fill hole. Many people screw a 1.5 to 1.25. Is the fill hole the big. i just added 15 gallons of new fluid (10 for tractor and i have read its about another 5 for the loader, and it doesn't hurt. It is a 1 and 1/4 pipe plug. Skip the cable setup & start. Hydraulic is 9 gals, you can. It could have a filter/screen issue, the filters can be. the fill plug is just a pipe plug behind the fuel tank above the top link. The filter is on the multiple control valve. the 574 fills from the rear with the dip stick by the platform. 574 international oil & filter change.
from www.redpowermagazine.com
Is the fill hole the big. It could have a filter/screen issue, the filters can be. The return hose goes into the hydraulic fill hole. the fill plug is just a pipe plug behind the fuel tank above the top link. i just added 15 gallons of new fluid (10 for tractor and i have read its about another 5 for the loader, and it doesn't hurt. It is a 1 and 1/4 pipe plug. the hydraulic fill plug is in the center rear behind the seat, hanging right in the open. the 574 fills from the rear with the dip stick by the platform. The filter is on the multiple control valve. Skip the cable setup & start.
Where are the relief valves located? 574 hydro Technical IH Talk Red Power Magazine Community
International 574 Hydraulic Oil Fill Location The filter is on the multiple control valve. the fill plug is just a pipe plug behind the fuel tank above the top link. the 574 fills from the rear with the dip stick by the platform. The filter is on the multiple control valve. Many people screw a 1.5 to 1.25. It could have a filter/screen issue, the filters can be. Skip the cable setup & start. i want use my shaver post driver on my 574 diesel. 574 international oil & filter change. i just added 15 gallons of new fluid (10 for tractor and i have read its about another 5 for the loader, and it doesn't hurt. the hydraulic fill plug is in the center rear behind the seat, hanging right in the open. Is the fill hole the big. Hydraulic is 9 gals, you can. It is a 1 and 1/4 pipe plug. The return hose goes into the hydraulic fill hole.
From www.redpowermagazine.com
574 Hydraulics Technical IH Talk Red Power Magazine Community International 574 Hydraulic Oil Fill Location i want use my shaver post driver on my 574 diesel. Is the fill hole the big. the 574 fills from the rear with the dip stick by the platform. i just added 15 gallons of new fluid (10 for tractor and i have read its about another 5 for the loader, and it doesn't hurt. Skip. International 574 Hydraulic Oil Fill Location.
From forums.yesterdaystractors.com
Int. 424 Hydraulic problem s. Yesterday's Tractors Forums International 574 Hydraulic Oil Fill Location the fill plug is just a pipe plug behind the fuel tank above the top link. the 574 fills from the rear with the dip stick by the platform. Hydraulic is 9 gals, you can. Skip the cable setup & start. The return hose goes into the hydraulic fill hole. The filter is on the multiple control valve.. International 574 Hydraulic Oil Fill Location.
From exowkbzud.blob.core.windows.net
International 574 Hydraulic Filter Location at Tammi Tarkington blog International 574 Hydraulic Oil Fill Location 574 international oil & filter change. It is a 1 and 1/4 pipe plug. the 574 fills from the rear with the dip stick by the platform. Skip the cable setup & start. It could have a filter/screen issue, the filters can be. The return hose goes into the hydraulic fill hole. Is the fill hole the big.. International 574 Hydraulic Oil Fill Location.
From www.youtube.com
Kubota Hydraulic Fluid Fill Point YouTube International 574 Hydraulic Oil Fill Location i just added 15 gallons of new fluid (10 for tractor and i have read its about another 5 for the loader, and it doesn't hurt. Skip the cable setup & start. the fill plug is just a pipe plug behind the fuel tank above the top link. Is the fill hole the big. Hydraulic is 9 gals,. International 574 Hydraulic Oil Fill Location.
From www.youtube.com
IH 574 hydraulic problems YouTube International 574 Hydraulic Oil Fill Location 574 international oil & filter change. i just added 15 gallons of new fluid (10 for tractor and i have read its about another 5 for the loader, and it doesn't hurt. the hydraulic fill plug is in the center rear behind the seat, hanging right in the open. Is the fill hole the big. The return. International 574 Hydraulic Oil Fill Location.
From www.justanswer.com
Q&A International 574 Tractor Parts, Problems, Loader & Hydraulic Pump JustAnswer International 574 Hydraulic Oil Fill Location the fill plug is just a pipe plug behind the fuel tank above the top link. Many people screw a 1.5 to 1.25. i just added 15 gallons of new fluid (10 for tractor and i have read its about another 5 for the loader, and it doesn't hurt. i want use my shaver post driver on. International 574 Hydraulic Oil Fill Location.
From www.redpowermagazine.com
400 Farmall hydraulics Technical IH Talk Red Power Magazine Community International 574 Hydraulic Oil Fill Location Many people screw a 1.5 to 1.25. i just added 15 gallons of new fluid (10 for tractor and i have read its about another 5 for the loader, and it doesn't hurt. It is a 1 and 1/4 pipe plug. 574 international oil & filter change. Is the fill hole the big. It could have a filter/screen. International 574 Hydraulic Oil Fill Location.
From exoglvibf.blob.core.windows.net
How To Change Hydraulic Oil Filter at David Abbott blog International 574 Hydraulic Oil Fill Location Many people screw a 1.5 to 1.25. The filter is on the multiple control valve. the fill plug is just a pipe plug behind the fuel tank above the top link. Hydraulic is 9 gals, you can. The return hose goes into the hydraulic fill hole. the hydraulic fill plug is in the center rear behind the seat,. International 574 Hydraulic Oil Fill Location.
From www.tractorforum.com
IH 574 Hydraulic leak Tractor Forum International 574 Hydraulic Oil Fill Location The filter is on the multiple control valve. the 574 fills from the rear with the dip stick by the platform. Skip the cable setup & start. the fill plug is just a pipe plug behind the fuel tank above the top link. It is a 1 and 1/4 pipe plug. Hydraulic is 9 gals, you can. . International 574 Hydraulic Oil Fill Location.
From www.justanswer.com
Q&A International 574 Tractor Parts, Problems, Loader & Hydraulic Pump JustAnswer International 574 Hydraulic Oil Fill Location Hydraulic is 9 gals, you can. The filter is on the multiple control valve. Many people screw a 1.5 to 1.25. the fill plug is just a pipe plug behind the fuel tank above the top link. It could have a filter/screen issue, the filters can be. Skip the cable setup & start. Is the fill hole the big.. International 574 Hydraulic Oil Fill Location.
From www.redpowermagazine.com
Where are the relief valves located? 574 hydro Technical IH Talk Red Power Magazine Community International 574 Hydraulic Oil Fill Location the fill plug is just a pipe plug behind the fuel tank above the top link. the hydraulic fill plug is in the center rear behind the seat, hanging right in the open. i want use my shaver post driver on my 574 diesel. The return hose goes into the hydraulic fill hole. Many people screw a. International 574 Hydraulic Oil Fill Location.
From www.youtube.com
IH 986 Hydraulic Filter Change YouTube International 574 Hydraulic Oil Fill Location The filter is on the multiple control valve. It could have a filter/screen issue, the filters can be. the fill plug is just a pipe plug behind the fuel tank above the top link. Many people screw a 1.5 to 1.25. Hydraulic is 9 gals, you can. the 574 fills from the rear with the dip stick by. International 574 Hydraulic Oil Fill Location.
From www.tractorforum.com
IH 424 with double auxiliary valves Tractor Forum International 574 Hydraulic Oil Fill Location the fill plug is just a pipe plug behind the fuel tank above the top link. Skip the cable setup & start. The return hose goes into the hydraulic fill hole. i want use my shaver post driver on my 574 diesel. 574 international oil & filter change. Many people screw a 1.5 to 1.25. Is the. International 574 Hydraulic Oil Fill Location.
From www.tractorforum.com
international 574 hyd problems Tractor Forum International 574 Hydraulic Oil Fill Location i want use my shaver post driver on my 574 diesel. the 574 fills from the rear with the dip stick by the platform. the hydraulic fill plug is in the center rear behind the seat, hanging right in the open. Is the fill hole the big. 574 international oil & filter change. The filter is. International 574 Hydraulic Oil Fill Location.
From www.redpowermagazine.com
574 Hydraulic Question Technical IH Talk Red Power Magazine Community International 574 Hydraulic Oil Fill Location The filter is on the multiple control valve. i want use my shaver post driver on my 574 diesel. 574 international oil & filter change. Hydraulic is 9 gals, you can. Skip the cable setup & start. the fill plug is just a pipe plug behind the fuel tank above the top link. the hydraulic fill. International 574 Hydraulic Oil Fill Location.
From www.tractorforum.com
B250 hydraulic oil level Tractor Forum International 574 Hydraulic Oil Fill Location It could have a filter/screen issue, the filters can be. the hydraulic fill plug is in the center rear behind the seat, hanging right in the open. i just added 15 gallons of new fluid (10 for tractor and i have read its about another 5 for the loader, and it doesn't hurt. The filter is on the. International 574 Hydraulic Oil Fill Location.
From www.tractorforum.com
International 574 hydraulic leak Tractor Forum International 574 Hydraulic Oil Fill Location Is the fill hole the big. i just added 15 gallons of new fluid (10 for tractor and i have read its about another 5 for the loader, and it doesn't hurt. the 574 fills from the rear with the dip stick by the platform. the hydraulic fill plug is in the center rear behind the seat,. International 574 Hydraulic Oil Fill Location.
From wiringdiagramjan.z13.web.core.windows.net
International 574 Hydraulic Schematic International 574 Hydraulic Oil Fill Location i want use my shaver post driver on my 574 diesel. It could have a filter/screen issue, the filters can be. The return hose goes into the hydraulic fill hole. Many people screw a 1.5 to 1.25. The filter is on the multiple control valve. Skip the cable setup & start. the 574 fills from the rear with. International 574 Hydraulic Oil Fill Location.
From www.redpowermagazine.com
574 hydraulic return Technical IH Talk Red Power Magazine Community International 574 Hydraulic Oil Fill Location Is the fill hole the big. i want use my shaver post driver on my 574 diesel. Many people screw a 1.5 to 1.25. Skip the cable setup & start. It is a 1 and 1/4 pipe plug. the hydraulic fill plug is in the center rear behind the seat, hanging right in the open. It could have. International 574 Hydraulic Oil Fill Location.
From www.jensales.com
Farmall International 574 Tractor Pump, Hydraulic Gear International 574 Hydraulic Oil Fill Location Is the fill hole the big. It is a 1 and 1/4 pipe plug. It could have a filter/screen issue, the filters can be. The return hose goes into the hydraulic fill hole. the fill plug is just a pipe plug behind the fuel tank above the top link. the hydraulic fill plug is in the center rear. International 574 Hydraulic Oil Fill Location.
From wiringfixfuchs.z19.web.core.windows.net
International Tractor Parts Diagram International 574 Hydraulic Oil Fill Location Many people screw a 1.5 to 1.25. i want use my shaver post driver on my 574 diesel. The return hose goes into the hydraulic fill hole. Is the fill hole the big. Hydraulic is 9 gals, you can. Skip the cable setup & start. the 574 fills from the rear with the dip stick by the platform.. International 574 Hydraulic Oil Fill Location.
From schematicwiringjuliane.z13.web.core.windows.net
International 574 Hydraulic Schematic International 574 Hydraulic Oil Fill Location i just added 15 gallons of new fluid (10 for tractor and i have read its about another 5 for the loader, and it doesn't hurt. The return hose goes into the hydraulic fill hole. Skip the cable setup & start. Many people screw a 1.5 to 1.25. the 574 fills from the rear with the dip stick. International 574 Hydraulic Oil Fill Location.
From www.redpowermagazine.com
Where are the relief valves located? 574 hydro Technical IH Talk Red Power Magazine Community International 574 Hydraulic Oil Fill Location It is a 1 and 1/4 pipe plug. The return hose goes into the hydraulic fill hole. Is the fill hole the big. Skip the cable setup & start. It could have a filter/screen issue, the filters can be. the 574 fills from the rear with the dip stick by the platform. The filter is on the multiple control. International 574 Hydraulic Oil Fill Location.
From www.redpowermagazine.com
Hydraulic drain plug location help needed Technical IH Talk Red Power Magazine Community International 574 Hydraulic Oil Fill Location Skip the cable setup & start. Hydraulic is 9 gals, you can. The filter is on the multiple control valve. the fill plug is just a pipe plug behind the fuel tank above the top link. i just added 15 gallons of new fluid (10 for tractor and i have read its about another 5 for the loader,. International 574 Hydraulic Oil Fill Location.
From www.youtube.com
International 574 Diesel, 1 Hydraulic, 3pt, 540 PTO, Shows 4,988 Hours, SN 2310079U111139 YouTube International 574 Hydraulic Oil Fill Location The filter is on the multiple control valve. the fill plug is just a pipe plug behind the fuel tank above the top link. the hydraulic fill plug is in the center rear behind the seat, hanging right in the open. Hydraulic is 9 gals, you can. i just added 15 gallons of new fluid (10 for. International 574 Hydraulic Oil Fill Location.
From no.pinterest.com
International 454, 464, 484, 574, 584, 674, 684, 784, 884, 84 Hydro and 385 Tractor Service International 574 Hydraulic Oil Fill Location Many people screw a 1.5 to 1.25. i just added 15 gallons of new fluid (10 for tractor and i have read its about another 5 for the loader, and it doesn't hurt. the hydraulic fill plug is in the center rear behind the seat, hanging right in the open. 574 international oil & filter change. The. International 574 Hydraulic Oil Fill Location.
From www.tractorforum.com
international 574 hyd problems Tractor Forum International 574 Hydraulic Oil Fill Location Many people screw a 1.5 to 1.25. the fill plug is just a pipe plug behind the fuel tank above the top link. It could have a filter/screen issue, the filters can be. i just added 15 gallons of new fluid (10 for tractor and i have read its about another 5 for the loader, and it doesn't. International 574 Hydraulic Oil Fill Location.
From www.youtube.com
International 574 Tractor Parts YouTube International 574 Hydraulic Oil Fill Location Many people screw a 1.5 to 1.25. Hydraulic is 9 gals, you can. the fill plug is just a pipe plug behind the fuel tank above the top link. the 574 fills from the rear with the dip stick by the platform. It is a 1 and 1/4 pipe plug. i just added 15 gallons of new. International 574 Hydraulic Oil Fill Location.
From exowkbzud.blob.core.windows.net
International 574 Hydraulic Filter Location at Tammi Tarkington blog International 574 Hydraulic Oil Fill Location It could have a filter/screen issue, the filters can be. The filter is on the multiple control valve. Many people screw a 1.5 to 1.25. 574 international oil & filter change. the hydraulic fill plug is in the center rear behind the seat, hanging right in the open. Hydraulic is 9 gals, you can. Is the fill hole. International 574 Hydraulic Oil Fill Location.
From www.emanualonline.com
IH International Harvester 574 Repair Service Manual International 574 Hydraulic Oil Fill Location Hydraulic is 9 gals, you can. the fill plug is just a pipe plug behind the fuel tank above the top link. The filter is on the multiple control valve. i want use my shaver post driver on my 574 diesel. The return hose goes into the hydraulic fill hole. Many people screw a 1.5 to 1.25. . International 574 Hydraulic Oil Fill Location.
From www.youtube.com
IH 574 hydraulic problems YouTube International 574 Hydraulic Oil Fill Location the hydraulic fill plug is in the center rear behind the seat, hanging right in the open. It is a 1 and 1/4 pipe plug. The return hose goes into the hydraulic fill hole. Many people screw a 1.5 to 1.25. Hydraulic is 9 gals, you can. the fill plug is just a pipe plug behind the fuel. International 574 Hydraulic Oil Fill Location.
From www.redpowermagazine.com
1086 hydraulic help Page 3 Technical IH Talk Red Power Magazine Community International 574 Hydraulic Oil Fill Location 574 international oil & filter change. Many people screw a 1.5 to 1.25. the fill plug is just a pipe plug behind the fuel tank above the top link. the hydraulic fill plug is in the center rear behind the seat, hanging right in the open. the 574 fills from the rear with the dip stick. International 574 Hydraulic Oil Fill Location.
From exowkbzud.blob.core.windows.net
International 574 Hydraulic Filter Location at Tammi Tarkington blog International 574 Hydraulic Oil Fill Location It could have a filter/screen issue, the filters can be. Is the fill hole the big. the hydraulic fill plug is in the center rear behind the seat, hanging right in the open. the 574 fills from the rear with the dip stick by the platform. The return hose goes into the hydraulic fill hole. Skip the cable. International 574 Hydraulic Oil Fill Location.
From exowkbzud.blob.core.windows.net
International 574 Hydraulic Filter Location at Tammi Tarkington blog International 574 Hydraulic Oil Fill Location i just added 15 gallons of new fluid (10 for tractor and i have read its about another 5 for the loader, and it doesn't hurt. Hydraulic is 9 gals, you can. the 574 fills from the rear with the dip stick by the platform. Is the fill hole the big. the fill plug is just a. International 574 Hydraulic Oil Fill Location.
From exowkbzud.blob.core.windows.net
International 574 Hydraulic Filter Location at Tammi Tarkington blog International 574 Hydraulic Oil Fill Location Many people screw a 1.5 to 1.25. Is the fill hole the big. It is a 1 and 1/4 pipe plug. The return hose goes into the hydraulic fill hole. It could have a filter/screen issue, the filters can be. the fill plug is just a pipe plug behind the fuel tank above the top link. i just. International 574 Hydraulic Oil Fill Location.