Patent For Toilet Paper Dispenser . A dispenser for toilet paper rolls each having a hollow tube core section on which paper is rolled, comprises an upstanding elongated container. The inventive toilet paper dispenser can receive any size roll of toilet paper, and loads by sliding the roll over the open end of the dispenser. The 1891 patent from seth wheeler shows that the toilet paper should go up and over. A holder for retaining the free or loose end of a roll of bathroom tissue or toilet paper in accessible position spaced away from the periphery of the. A toilet paper dispenser that has the ability to store and subsequently dispense a plurality of toilet paper rolls and simultaneously conceal. I have invented a toilet paper dispenser mechanism and roll holder that allows the user to remove and replace a roll of toilet. I have invented a toilet paper dispenser mechanism and roll holder that allows the user to remove and replace a roll of toilet paper quickly. A system for a toilet paper holder and dispenser including a dispensing assembly, a storage assembly and a shelf assembly is.
from www.google.com.co
I have invented a toilet paper dispenser mechanism and roll holder that allows the user to remove and replace a roll of toilet paper quickly. A toilet paper dispenser that has the ability to store and subsequently dispense a plurality of toilet paper rolls and simultaneously conceal. A holder for retaining the free or loose end of a roll of bathroom tissue or toilet paper in accessible position spaced away from the periphery of the. A dispenser for toilet paper rolls each having a hollow tube core section on which paper is rolled, comprises an upstanding elongated container. I have invented a toilet paper dispenser mechanism and roll holder that allows the user to remove and replace a roll of toilet. A system for a toilet paper holder and dispenser including a dispensing assembly, a storage assembly and a shelf assembly is. The inventive toilet paper dispenser can receive any size roll of toilet paper, and loads by sliding the roll over the open end of the dispenser. The 1891 patent from seth wheeler shows that the toilet paper should go up and over.
Patent US4422584 Toilet paper dispenser with swinging mandrels Google Patents
Patent For Toilet Paper Dispenser A dispenser for toilet paper rolls each having a hollow tube core section on which paper is rolled, comprises an upstanding elongated container. A toilet paper dispenser that has the ability to store and subsequently dispense a plurality of toilet paper rolls and simultaneously conceal. The 1891 patent from seth wheeler shows that the toilet paper should go up and over. I have invented a toilet paper dispenser mechanism and roll holder that allows the user to remove and replace a roll of toilet. A dispenser for toilet paper rolls each having a hollow tube core section on which paper is rolled, comprises an upstanding elongated container. I have invented a toilet paper dispenser mechanism and roll holder that allows the user to remove and replace a roll of toilet paper quickly. A system for a toilet paper holder and dispenser including a dispensing assembly, a storage assembly and a shelf assembly is. A holder for retaining the free or loose end of a roll of bathroom tissue or toilet paper in accessible position spaced away from the periphery of the. The inventive toilet paper dispenser can receive any size roll of toilet paper, and loads by sliding the roll over the open end of the dispenser.
From www.google.com
Patent US2440974 Combined humidifier and toilet paper dispenser Google Patents Patent For Toilet Paper Dispenser I have invented a toilet paper dispenser mechanism and roll holder that allows the user to remove and replace a roll of toilet. A dispenser for toilet paper rolls each having a hollow tube core section on which paper is rolled, comprises an upstanding elongated container. The 1891 patent from seth wheeler shows that the toilet paper should go up. Patent For Toilet Paper Dispenser.
From www.google.nl
Patent US4407459 Toilet paper storage dispenser Google Patenten Patent For Toilet Paper Dispenser I have invented a toilet paper dispenser mechanism and roll holder that allows the user to remove and replace a roll of toilet. A toilet paper dispenser that has the ability to store and subsequently dispense a plurality of toilet paper rolls and simultaneously conceal. A dispenser for toilet paper rolls each having a hollow tube core section on which. Patent For Toilet Paper Dispenser.
From www.google.com
Patent US4684075 Toilet paper dispenser Google Patents Patent For Toilet Paper Dispenser A system for a toilet paper holder and dispenser including a dispensing assembly, a storage assembly and a shelf assembly is. A dispenser for toilet paper rolls each having a hollow tube core section on which paper is rolled, comprises an upstanding elongated container. I have invented a toilet paper dispenser mechanism and roll holder that allows the user to. Patent For Toilet Paper Dispenser.
From www.google.com
Patent US6476365 Toilet paper dispenser Google Patents Patent For Toilet Paper Dispenser I have invented a toilet paper dispenser mechanism and roll holder that allows the user to remove and replace a roll of toilet paper quickly. A toilet paper dispenser that has the ability to store and subsequently dispense a plurality of toilet paper rolls and simultaneously conceal. I have invented a toilet paper dispenser mechanism and roll holder that allows. Patent For Toilet Paper Dispenser.
From www.google.com
Patent US6405972 Toilet paper roll storage and dispenser Google Patents Patent For Toilet Paper Dispenser I have invented a toilet paper dispenser mechanism and roll holder that allows the user to remove and replace a roll of toilet paper quickly. The 1891 patent from seth wheeler shows that the toilet paper should go up and over. The inventive toilet paper dispenser can receive any size roll of toilet paper, and loads by sliding the roll. Patent For Toilet Paper Dispenser.
From www.google.ca
Patent US469301 Toiletpaper fixture Google Patents Patent For Toilet Paper Dispenser A dispenser for toilet paper rolls each having a hollow tube core section on which paper is rolled, comprises an upstanding elongated container. A holder for retaining the free or loose end of a roll of bathroom tissue or toilet paper in accessible position spaced away from the periphery of the. I have invented a toilet paper dispenser mechanism and. Patent For Toilet Paper Dispenser.
From www.etsy.com
Toilet Paper Roll Holder Patent Blueprint Bathroom Wall Art Print Decor Size and Frame Options Patent For Toilet Paper Dispenser I have invented a toilet paper dispenser mechanism and roll holder that allows the user to remove and replace a roll of toilet. A system for a toilet paper holder and dispenser including a dispensing assembly, a storage assembly and a shelf assembly is. A dispenser for toilet paper rolls each having a hollow tube core section on which paper. Patent For Toilet Paper Dispenser.
From www.google.com
Patent US1651867 Toiletpaper holder Google Patents Patent For Toilet Paper Dispenser A dispenser for toilet paper rolls each having a hollow tube core section on which paper is rolled, comprises an upstanding elongated container. I have invented a toilet paper dispenser mechanism and roll holder that allows the user to remove and replace a roll of toilet paper quickly. A holder for retaining the free or loose end of a roll. Patent For Toilet Paper Dispenser.
From www.google.com
Patent US3865271 Dispenser and liquid applicator for toilet paper, paper towels, and the like Patent For Toilet Paper Dispenser A dispenser for toilet paper rolls each having a hollow tube core section on which paper is rolled, comprises an upstanding elongated container. I have invented a toilet paper dispenser mechanism and roll holder that allows the user to remove and replace a roll of toilet. A toilet paper dispenser that has the ability to store and subsequently dispense a. Patent For Toilet Paper Dispenser.
From www.google.ca
Patent US4422584 Toilet paper dispenser with swinging mandrels Google Patents Patent For Toilet Paper Dispenser I have invented a toilet paper dispenser mechanism and roll holder that allows the user to remove and replace a roll of toilet. A holder for retaining the free or loose end of a roll of bathroom tissue or toilet paper in accessible position spaced away from the periphery of the. The 1891 patent from seth wheeler shows that the. Patent For Toilet Paper Dispenser.
From www.google.com
Patent US6305035 Toilet paper holder for bedside commode Google Patents Patent For Toilet Paper Dispenser The 1891 patent from seth wheeler shows that the toilet paper should go up and over. A dispenser for toilet paper rolls each having a hollow tube core section on which paper is rolled, comprises an upstanding elongated container. A holder for retaining the free or loose end of a roll of bathroom tissue or toilet paper in accessible position. Patent For Toilet Paper Dispenser.
From www.google.com
Patent US6000658 Toilet paper dispenser Google Patents Patent For Toilet Paper Dispenser The 1891 patent from seth wheeler shows that the toilet paper should go up and over. A holder for retaining the free or loose end of a roll of bathroom tissue or toilet paper in accessible position spaced away from the periphery of the. I have invented a toilet paper dispenser mechanism and roll holder that allows the user to. Patent For Toilet Paper Dispenser.
From www.google.ca
Patent US3467330 Easyloading toilet paper holder Google Patents Patent For Toilet Paper Dispenser The inventive toilet paper dispenser can receive any size roll of toilet paper, and loads by sliding the roll over the open end of the dispenser. A dispenser for toilet paper rolls each having a hollow tube core section on which paper is rolled, comprises an upstanding elongated container. A system for a toilet paper holder and dispenser including a. Patent For Toilet Paper Dispenser.
From www.google.com.co
Patent US4422584 Toilet paper dispenser with swinging mandrels Google Patents Patent For Toilet Paper Dispenser A dispenser for toilet paper rolls each having a hollow tube core section on which paper is rolled, comprises an upstanding elongated container. I have invented a toilet paper dispenser mechanism and roll holder that allows the user to remove and replace a roll of toilet. The inventive toilet paper dispenser can receive any size roll of toilet paper, and. Patent For Toilet Paper Dispenser.
From www.google.com
Patent US4684075 Toilet paper dispenser Google Patents Patent For Toilet Paper Dispenser A dispenser for toilet paper rolls each having a hollow tube core section on which paper is rolled, comprises an upstanding elongated container. I have invented a toilet paper dispenser mechanism and roll holder that allows the user to remove and replace a roll of toilet. A toilet paper dispenser that has the ability to store and subsequently dispense a. Patent For Toilet Paper Dispenser.
From www.google.co.uk
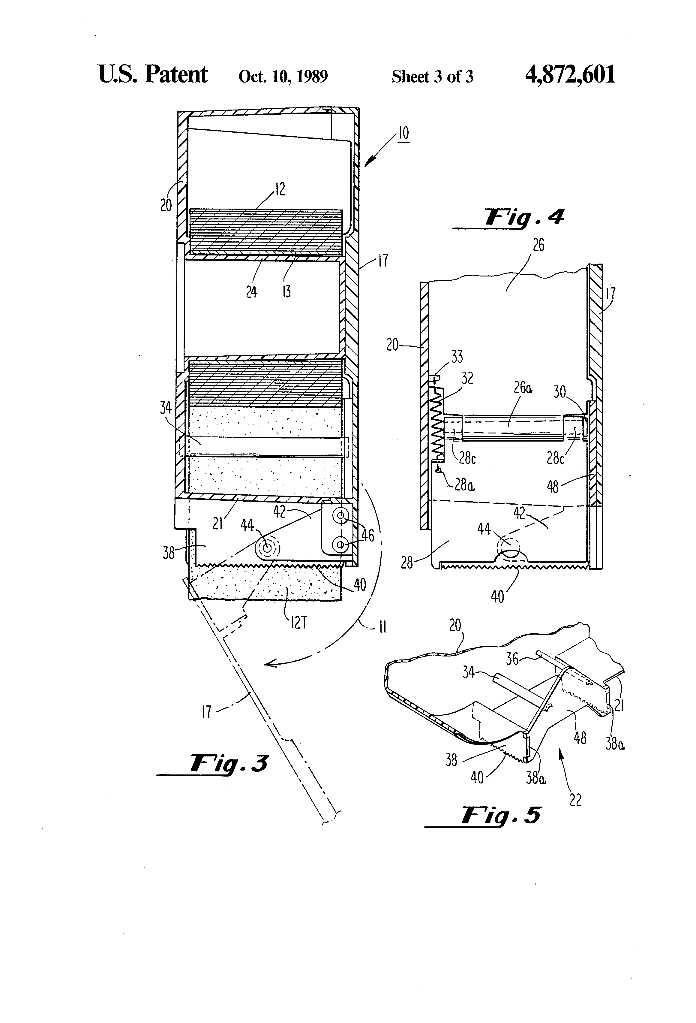
Patent US4872601 Two large roll toilet tissue dispenser Google Patents Patent For Toilet Paper Dispenser I have invented a toilet paper dispenser mechanism and roll holder that allows the user to remove and replace a roll of toilet paper quickly. A dispenser for toilet paper rolls each having a hollow tube core section on which paper is rolled, comprises an upstanding elongated container. A holder for retaining the free or loose end of a roll. Patent For Toilet Paper Dispenser.
From www.google.com
Patent US20120234963 Multiple roll toilet paper holder and dispenser Google Patents Patent For Toilet Paper Dispenser A dispenser for toilet paper rolls each having a hollow tube core section on which paper is rolled, comprises an upstanding elongated container. The inventive toilet paper dispenser can receive any size roll of toilet paper, and loads by sliding the roll over the open end of the dispenser. I have invented a toilet paper dispenser mechanism and roll holder. Patent For Toilet Paper Dispenser.
From www.google.com
Patent US4607809 Toilet paper holder and dispenser Google Patents Patent For Toilet Paper Dispenser A system for a toilet paper holder and dispenser including a dispensing assembly, a storage assembly and a shelf assembly is. A toilet paper dispenser that has the ability to store and subsequently dispense a plurality of toilet paper rolls and simultaneously conceal. A holder for retaining the free or loose end of a roll of bathroom tissue or toilet. Patent For Toilet Paper Dispenser.
From www.pinterest.com
Pin by Frame a Patent on Bathroom Patent Prints Bathroom patent print, Patent prints, Toilet Patent For Toilet Paper Dispenser I have invented a toilet paper dispenser mechanism and roll holder that allows the user to remove and replace a roll of toilet. The 1891 patent from seth wheeler shows that the toilet paper should go up and over. A system for a toilet paper holder and dispenser including a dispensing assembly, a storage assembly and a shelf assembly is.. Patent For Toilet Paper Dispenser.
From www.google.com
Patent US4684075 Toilet paper dispenser Google Patents Patent For Toilet Paper Dispenser I have invented a toilet paper dispenser mechanism and roll holder that allows the user to remove and replace a roll of toilet. The 1891 patent from seth wheeler shows that the toilet paper should go up and over. A toilet paper dispenser that has the ability to store and subsequently dispense a plurality of toilet paper rolls and simultaneously. Patent For Toilet Paper Dispenser.
From www.google.com
Patent US4607809 Toilet paper holder and dispenser Google Patents Patent For Toilet Paper Dispenser I have invented a toilet paper dispenser mechanism and roll holder that allows the user to remove and replace a roll of toilet paper quickly. The 1891 patent from seth wheeler shows that the toilet paper should go up and over. I have invented a toilet paper dispenser mechanism and roll holder that allows the user to remove and replace. Patent For Toilet Paper Dispenser.
From www.etsy.com
1894 Toilet Paper Holder Patent Print Printable Home Wall Etsy Patent For Toilet Paper Dispenser A dispenser for toilet paper rolls each having a hollow tube core section on which paper is rolled, comprises an upstanding elongated container. The 1891 patent from seth wheeler shows that the toilet paper should go up and over. A toilet paper dispenser that has the ability to store and subsequently dispense a plurality of toilet paper rolls and simultaneously. Patent For Toilet Paper Dispenser.
From www.google.com
Patent US4124259 Toilet paper holder Google Patents Patent For Toilet Paper Dispenser A dispenser for toilet paper rolls each having a hollow tube core section on which paper is rolled, comprises an upstanding elongated container. I have invented a toilet paper dispenser mechanism and roll holder that allows the user to remove and replace a roll of toilet paper quickly. The 1891 patent from seth wheeler shows that the toilet paper should. Patent For Toilet Paper Dispenser.
From www.google.com
Patent US20040188297 Popup toilet paper dispenser Google Patents Patent For Toilet Paper Dispenser A holder for retaining the free or loose end of a roll of bathroom tissue or toilet paper in accessible position spaced away from the periphery of the. A system for a toilet paper holder and dispenser including a dispensing assembly, a storage assembly and a shelf assembly is. A dispenser for toilet paper rolls each having a hollow tube. Patent For Toilet Paper Dispenser.
From www.google.com
Patent US20120234963 Multiple roll toilet paper holder and dispenser Google Patents Patent For Toilet Paper Dispenser A system for a toilet paper holder and dispenser including a dispensing assembly, a storage assembly and a shelf assembly is. I have invented a toilet paper dispenser mechanism and roll holder that allows the user to remove and replace a roll of toilet. A holder for retaining the free or loose end of a roll of bathroom tissue or. Patent For Toilet Paper Dispenser.
From www.google.com
Patent US6000658 Toilet paper dispenser Google Patents Patent For Toilet Paper Dispenser I have invented a toilet paper dispenser mechanism and roll holder that allows the user to remove and replace a roll of toilet paper quickly. The 1891 patent from seth wheeler shows that the toilet paper should go up and over. A holder for retaining the free or loose end of a roll of bathroom tissue or toilet paper in. Patent For Toilet Paper Dispenser.
From www.businessinsider.com
Patent shows right way to hang toilet paper Business Insider Patent For Toilet Paper Dispenser I have invented a toilet paper dispenser mechanism and roll holder that allows the user to remove and replace a roll of toilet. A system for a toilet paper holder and dispenser including a dispensing assembly, a storage assembly and a shelf assembly is. The inventive toilet paper dispenser can receive any size roll of toilet paper, and loads by. Patent For Toilet Paper Dispenser.
From www.google.com
Patent US6405972 Toilet paper roll storage and dispenser Google Patents Patent For Toilet Paper Dispenser A holder for retaining the free or loose end of a roll of bathroom tissue or toilet paper in accessible position spaced away from the periphery of the. A system for a toilet paper holder and dispenser including a dispensing assembly, a storage assembly and a shelf assembly is. I have invented a toilet paper dispenser mechanism and roll holder. Patent For Toilet Paper Dispenser.
From www.google.com
Patent US3467330 Easyloading toilet paper holder Google Patents Patent For Toilet Paper Dispenser A toilet paper dispenser that has the ability to store and subsequently dispense a plurality of toilet paper rolls and simultaneously conceal. I have invented a toilet paper dispenser mechanism and roll holder that allows the user to remove and replace a roll of toilet. The 1891 patent from seth wheeler shows that the toilet paper should go up and. Patent For Toilet Paper Dispenser.
From www.google.com
Patent US1808044 Toiletpaper holder Google Patents Patent For Toilet Paper Dispenser The 1891 patent from seth wheeler shows that the toilet paper should go up and over. A holder for retaining the free or loose end of a roll of bathroom tissue or toilet paper in accessible position spaced away from the periphery of the. I have invented a toilet paper dispenser mechanism and roll holder that allows the user to. Patent For Toilet Paper Dispenser.
From www.google.com
Patent US20080245922 Automatic multiroll touchless toilet paper dispenser Google Patents Patent For Toilet Paper Dispenser A dispenser for toilet paper rolls each having a hollow tube core section on which paper is rolled, comprises an upstanding elongated container. A holder for retaining the free or loose end of a roll of bathroom tissue or toilet paper in accessible position spaced away from the periphery of the. The inventive toilet paper dispenser can receive any size. Patent For Toilet Paper Dispenser.
From www.google.com
Patent US5660313 Premoistened toilet paper and dispenser Google Patents Patent For Toilet Paper Dispenser I have invented a toilet paper dispenser mechanism and roll holder that allows the user to remove and replace a roll of toilet. The inventive toilet paper dispenser can receive any size roll of toilet paper, and loads by sliding the roll over the open end of the dispenser. A holder for retaining the free or loose end of a. Patent For Toilet Paper Dispenser.
From fineartamerica.com
Toilet Paper Roll Patent 1891 White Photograph by Bill Cannon Fine Art America Patent For Toilet Paper Dispenser I have invented a toilet paper dispenser mechanism and roll holder that allows the user to remove and replace a roll of toilet. A holder for retaining the free or loose end of a roll of bathroom tissue or toilet paper in accessible position spaced away from the periphery of the. A toilet paper dispenser that has the ability to. Patent For Toilet Paper Dispenser.
From www.etsy.com
Toilet Paper Dispenser Patent Laser Etched in Wood FREE Etsy Patent For Toilet Paper Dispenser I have invented a toilet paper dispenser mechanism and roll holder that allows the user to remove and replace a roll of toilet. A system for a toilet paper holder and dispenser including a dispensing assembly, a storage assembly and a shelf assembly is. A holder for retaining the free or loose end of a roll of bathroom tissue or. Patent For Toilet Paper Dispenser.
From www.google.com
Patent US20040188297 Popup toilet paper dispenser Google Patents Patent For Toilet Paper Dispenser I have invented a toilet paper dispenser mechanism and roll holder that allows the user to remove and replace a roll of toilet paper quickly. I have invented a toilet paper dispenser mechanism and roll holder that allows the user to remove and replace a roll of toilet. A dispenser for toilet paper rolls each having a hollow tube core. Patent For Toilet Paper Dispenser.