What Can Cause A Brake Line To Break . some of the cause of brakes dragging on one or more wheels can be: One of the most common brake line problems is corrosion. While brake lines are usually made of steel and durable. (click on a link below to jump to a specific section) what is a brake line? Worn brake pads or a seized. a vacuum line can develop a hole or a leak and cause the booster to stop working. Factors such as corrosion, wear. Brake lines breaking is a common occurrence while driving. Leaking brake lines are the most common symptom of a failing brake system. a soft or spongy brake pedal, an illuminated brake warning light, fluid leakage, and uneven brake pad wear are all indicators of a. Several factors can cause your brake line to corrode. What happens if your brake lines.
from www.roverparts.com
some of the cause of brakes dragging on one or more wheels can be: Factors such as corrosion, wear. (click on a link below to jump to a specific section) what is a brake line? a vacuum line can develop a hole or a leak and cause the booster to stop working. What happens if your brake lines. One of the most common brake line problems is corrosion. Several factors can cause your brake line to corrode. Leaking brake lines are the most common symptom of a failing brake system. Worn brake pads or a seized. Brake lines breaking is a common occurrence while driving.
Brake Line Kit For Land Rover Series 109, Single Hydraulic Brakes
What Can Cause A Brake Line To Break One of the most common brake line problems is corrosion. Brake lines breaking is a common occurrence while driving. Factors such as corrosion, wear. Worn brake pads or a seized. a vacuum line can develop a hole or a leak and cause the booster to stop working. some of the cause of brakes dragging on one or more wheels can be: Several factors can cause your brake line to corrode. What happens if your brake lines. (click on a link below to jump to a specific section) what is a brake line? Leaking brake lines are the most common symptom of a failing brake system. One of the most common brake line problems is corrosion. While brake lines are usually made of steel and durable. a soft or spongy brake pedal, an illuminated brake warning light, fluid leakage, and uneven brake pad wear are all indicators of a.
From www.youtube.com
30 Cheap and easy way to bleed brakes by yourself YouTube What Can Cause A Brake Line To Break Leaking brake lines are the most common symptom of a failing brake system. a soft or spongy brake pedal, an illuminated brake warning light, fluid leakage, and uneven brake pad wear are all indicators of a. One of the most common brake line problems is corrosion. a vacuum line can develop a hole or a leak and cause. What Can Cause A Brake Line To Break.
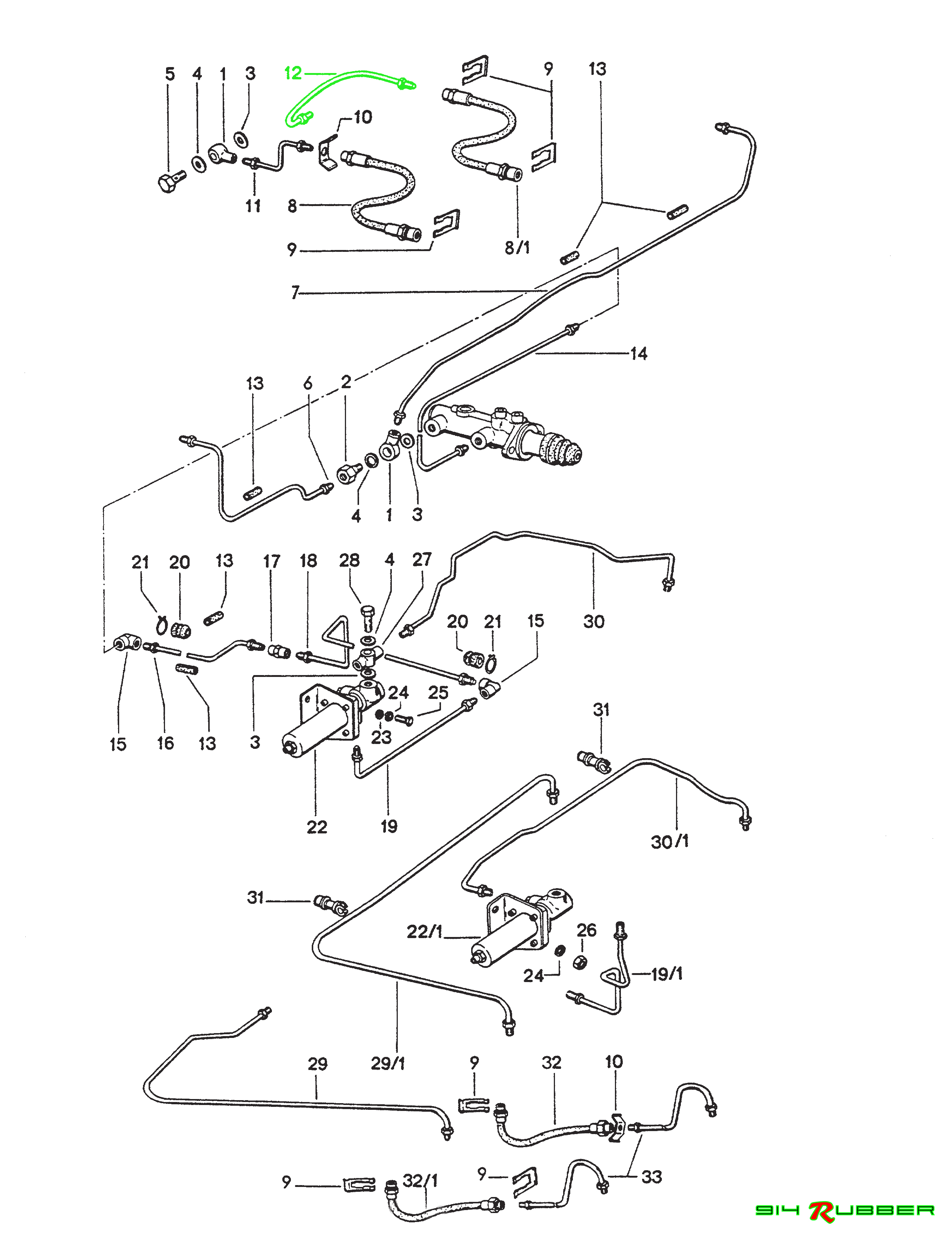
From diagramfixklug.z19.web.core.windows.net
Brake Chamber Air Line Diagram What Can Cause A Brake Line To Break One of the most common brake line problems is corrosion. What happens if your brake lines. Factors such as corrosion, wear. (click on a link below to jump to a specific section) what is a brake line? a soft or spongy brake pedal, an illuminated brake warning light, fluid leakage, and uneven brake pad wear are all indicators of. What Can Cause A Brake Line To Break.
From www.jeeppartsoverstock.com
52128965AD Jeep Block. Brake line union Jeep Parts Overstock What Can Cause A Brake Line To Break What happens if your brake lines. a vacuum line can develop a hole or a leak and cause the booster to stop working. (click on a link below to jump to a specific section) what is a brake line? One of the most common brake line problems is corrosion. Leaking brake lines are the most common symptom of a. What Can Cause A Brake Line To Break.
From www.carid.com
Clayton Off Road® Brake Lines What Can Cause A Brake Line To Break Leaking brake lines are the most common symptom of a failing brake system. (click on a link below to jump to a specific section) what is a brake line? Several factors can cause your brake line to corrode. While brake lines are usually made of steel and durable. What happens if your brake lines. some of the cause of. What Can Cause A Brake Line To Break.
From www.myrideisme.com
Sudden Brake Failure from Master Cylinder Failure What Can Cause A Brake Line To Break Several factors can cause your brake line to corrode. some of the cause of brakes dragging on one or more wheels can be: While brake lines are usually made of steel and durable. a soft or spongy brake pedal, an illuminated brake warning light, fluid leakage, and uneven brake pad wear are all indicators of a. Factors such. What Can Cause A Brake Line To Break.
From www.revzilla.com
Video and tips How to bleed your motorcycle brakes RevZilla What Can Cause A Brake Line To Break Worn brake pads or a seized. What happens if your brake lines. While brake lines are usually made of steel and durable. (click on a link below to jump to a specific section) what is a brake line? Brake lines breaking is a common occurrence while driving. Leaking brake lines are the most common symptom of a failing brake system.. What Can Cause A Brake Line To Break.
From www.autozone.com
Repair Guides Brake Operating System Bleeding The Brake System What Can Cause A Brake Line To Break What happens if your brake lines. some of the cause of brakes dragging on one or more wheels can be: Factors such as corrosion, wear. a soft or spongy brake pedal, an illuminated brake warning light, fluid leakage, and uneven brake pad wear are all indicators of a. Worn brake pads or a seized. (click on a link. What Can Cause A Brake Line To Break.
From www.gtopartsshop.com
Brake Lines System Classic Ferrari Parts Schematics What Can Cause A Brake Line To Break Worn brake pads or a seized. (click on a link below to jump to a specific section) what is a brake line? Leaking brake lines are the most common symptom of a failing brake system. a vacuum line can develop a hole or a leak and cause the booster to stop working. Brake lines breaking is a common occurrence. What Can Cause A Brake Line To Break.
From www.youtube.com
Fixing Leaking Brake Wheel Cylinders YouTube What Can Cause A Brake Line To Break What happens if your brake lines. a vacuum line can develop a hole or a leak and cause the booster to stop working. a soft or spongy brake pedal, an illuminated brake warning light, fluid leakage, and uneven brake pad wear are all indicators of a. One of the most common brake line problems is corrosion. some. What Can Cause A Brake Line To Break.
From www.youtube.com
How to connect brake lines with new fittings & a union YouTube What Can Cause A Brake Line To Break Several factors can cause your brake line to corrode. a soft or spongy brake pedal, an illuminated brake warning light, fluid leakage, and uneven brake pad wear are all indicators of a. Leaking brake lines are the most common symptom of a failing brake system. Factors such as corrosion, wear. What happens if your brake lines. some of. What Can Cause A Brake Line To Break.
From performance-direct.co.uk
Brake Lines for VW Up 1.0 GTI Performance Direct What Can Cause A Brake Line To Break Leaking brake lines are the most common symptom of a failing brake system. a vacuum line can develop a hole or a leak and cause the booster to stop working. Factors such as corrosion, wear. While brake lines are usually made of steel and durable. Brake lines breaking is a common occurrence while driving. One of the most common. What Can Cause A Brake Line To Break.
From receivinghelpdesk.com
How Many Brake Shoes Does A Car Have What Can Cause A Brake Line To Break some of the cause of brakes dragging on one or more wheels can be: What happens if your brake lines. One of the most common brake line problems is corrosion. While brake lines are usually made of steel and durable. Worn brake pads or a seized. Brake lines breaking is a common occurrence while driving. Factors such as corrosion,. What Can Cause A Brake Line To Break.
From mechanics.stackexchange.com
hyundai How do brake lines connect to their respective fittings What Can Cause A Brake Line To Break Worn brake pads or a seized. (click on a link below to jump to a specific section) what is a brake line? Leaking brake lines are the most common symptom of a failing brake system. Several factors can cause your brake line to corrode. What happens if your brake lines. a vacuum line can develop a hole or a. What Can Cause A Brake Line To Break.
From www.autozone.com
Repair Guides Brake Operating System Brake Hoses And Lines What Can Cause A Brake Line To Break Several factors can cause your brake line to corrode. (click on a link below to jump to a specific section) what is a brake line? Brake lines breaking is a common occurrence while driving. Worn brake pads or a seized. While brake lines are usually made of steel and durable. What happens if your brake lines. some of the. What Can Cause A Brake Line To Break.
From mechanics.stackexchange.com
hyundai How do brake lines connect to their respective fittings What Can Cause A Brake Line To Break (click on a link below to jump to a specific section) what is a brake line? a soft or spongy brake pedal, an illuminated brake warning light, fluid leakage, and uneven brake pad wear are all indicators of a. Worn brake pads or a seized. While brake lines are usually made of steel and durable. What happens if your. What Can Cause A Brake Line To Break.
From adventure4x4.com.au
Road Safe Extended Brake Lines Adventure 4x4 What Can Cause A Brake Line To Break Factors such as corrosion, wear. One of the most common brake line problems is corrosion. What happens if your brake lines. Several factors can cause your brake line to corrode. While brake lines are usually made of steel and durable. a soft or spongy brake pedal, an illuminated brake warning light, fluid leakage, and uneven brake pad wear are. What Can Cause A Brake Line To Break.
From www.hdforums.com
Rear brake line problem and fix Harley Davidson Forums What Can Cause A Brake Line To Break Factors such as corrosion, wear. some of the cause of brakes dragging on one or more wheels can be: What happens if your brake lines. One of the most common brake line problems is corrosion. a soft or spongy brake pedal, an illuminated brake warning light, fluid leakage, and uneven brake pad wear are all indicators of a.. What Can Cause A Brake Line To Break.
From brakesline.com
Troubleshooting Brake Line Breaks Causes and Solutions What Can Cause A Brake Line To Break Worn brake pads or a seized. Factors such as corrosion, wear. What happens if your brake lines. Several factors can cause your brake line to corrode. Leaking brake lines are the most common symptom of a failing brake system. some of the cause of brakes dragging on one or more wheels can be: One of the most common brake. What Can Cause A Brake Line To Break.
From www.roverparts.com
Brake Line Kit For Land Rover Series 109, Single Hydraulic Brakes What Can Cause A Brake Line To Break Factors such as corrosion, wear. a soft or spongy brake pedal, an illuminated brake warning light, fluid leakage, and uneven brake pad wear are all indicators of a. While brake lines are usually made of steel and durable. Leaking brake lines are the most common symptom of a failing brake system. (click on a link below to jump to. What Can Cause A Brake Line To Break.
From www.carid.com
Goodridge™ Automotive Brake & Clutch Lines — What Can Cause A Brake Line To Break Factors such as corrosion, wear. a vacuum line can develop a hole or a leak and cause the booster to stop working. (click on a link below to jump to a specific section) what is a brake line? some of the cause of brakes dragging on one or more wheels can be: While brake lines are usually made. What Can Cause A Brake Line To Break.
From helpfuladviceandtips.com
How To Tell If There'S Air In Brake Lines Helpful Advice & Tips What Can Cause A Brake Line To Break While brake lines are usually made of steel and durable. a vacuum line can develop a hole or a leak and cause the booster to stop working. Factors such as corrosion, wear. some of the cause of brakes dragging on one or more wheels can be: Leaking brake lines are the most common symptom of a failing brake. What Can Cause A Brake Line To Break.
From www.carcarehacks.com
Can Air In Brake Lines Cause Pulsating? (Answered!) What Can Cause A Brake Line To Break Worn brake pads or a seized. What happens if your brake lines. a soft or spongy brake pedal, an illuminated brake warning light, fluid leakage, and uneven brake pad wear are all indicators of a. While brake lines are usually made of steel and durable. Several factors can cause your brake line to corrode. a vacuum line can. What Can Cause A Brake Line To Break.
From stmtuned.com
StopTech Stainless Brake Lines for Evo X What Can Cause A Brake Line To Break a soft or spongy brake pedal, an illuminated brake warning light, fluid leakage, and uneven brake pad wear are all indicators of a. What happens if your brake lines. a vacuum line can develop a hole or a leak and cause the booster to stop working. Several factors can cause your brake line to corrode. One of the. What Can Cause A Brake Line To Break.
From www.youtube.com
How To Flare Brake Lines on the Car! YouTube What Can Cause A Brake Line To Break Several factors can cause your brake line to corrode. (click on a link below to jump to a specific section) what is a brake line? What happens if your brake lines. a vacuum line can develop a hole or a leak and cause the booster to stop working. Worn brake pads or a seized. some of the cause. What Can Cause A Brake Line To Break.
From www.pinterest.com
I how brakes work. What Can Cause A Brake Line To Break (click on a link below to jump to a specific section) what is a brake line? Several factors can cause your brake line to corrode. Brake lines breaking is a common occurrence while driving. Leaking brake lines are the most common symptom of a failing brake system. While brake lines are usually made of steel and durable. What happens if. What Can Cause A Brake Line To Break.
From www.alpharacing.com
Rear brake line 3432B030A00 What Can Cause A Brake Line To Break some of the cause of brakes dragging on one or more wheels can be: Leaking brake lines are the most common symptom of a failing brake system. While brake lines are usually made of steel and durable. a vacuum line can develop a hole or a leak and cause the booster to stop working. Brake lines breaking is. What Can Cause A Brake Line To Break.
From blog.demon-tweeks.com
Brake lines 2 Demon Tweeks Blog What Can Cause A Brake Line To Break Brake lines breaking is a common occurrence while driving. Leaking brake lines are the most common symptom of a failing brake system. some of the cause of brakes dragging on one or more wheels can be: One of the most common brake line problems is corrosion. While brake lines are usually made of steel and durable. Worn brake pads. What Can Cause A Brake Line To Break.
From forum.ih8mud.com
Diagnosing brake line leak IH8MUD Forum What Can Cause A Brake Line To Break Leaking brake lines are the most common symptom of a failing brake system. Brake lines breaking is a common occurrence while driving. a vacuum line can develop a hole or a leak and cause the booster to stop working. Factors such as corrosion, wear. some of the cause of brakes dragging on one or more wheels can be:. What Can Cause A Brake Line To Break.
From elecdiags.com
The Complete Guide to Understanding the 04 Tahoe Brake Line Diagram What Can Cause A Brake Line To Break some of the cause of brakes dragging on one or more wheels can be: While brake lines are usually made of steel and durable. Brake lines breaking is a common occurrence while driving. One of the most common brake line problems is corrosion. Factors such as corrosion, wear. Leaking brake lines are the most common symptom of a failing. What Can Cause A Brake Line To Break.
From tomsoffroad.com
Brake Line Kit Dana 44 Stainless Steel Front Power Disc Brake Conversion What Can Cause A Brake Line To Break Factors such as corrosion, wear. What happens if your brake lines. Several factors can cause your brake line to corrode. a soft or spongy brake pedal, an illuminated brake warning light, fluid leakage, and uneven brake pad wear are all indicators of a. some of the cause of brakes dragging on one or more wheels can be: Worn. What Can Cause A Brake Line To Break.
From www.motortrend.com
Stainless Brake Lines Tuner News What Can Cause A Brake Line To Break some of the cause of brakes dragging on one or more wheels can be: What happens if your brake lines. Leaking brake lines are the most common symptom of a failing brake system. (click on a link below to jump to a specific section) what is a brake line? Factors such as corrosion, wear. Worn brake pads or a. What Can Cause A Brake Line To Break.
From mechanics.stackexchange.com
dodge Does a '99 Dakota brake lines use a bubble flare or a double What Can Cause A Brake Line To Break Worn brake pads or a seized. Factors such as corrosion, wear. some of the cause of brakes dragging on one or more wheels can be: Leaking brake lines are the most common symptom of a failing brake system. a vacuum line can develop a hole or a leak and cause the booster to stop working. What happens if. What Can Cause A Brake Line To Break.
From www.brakes-shop.com
How To Bleed Brakes The Right Way What Can Cause A Brake Line To Break Several factors can cause your brake line to corrode. some of the cause of brakes dragging on one or more wheels can be: Factors such as corrosion, wear. a soft or spongy brake pedal, an illuminated brake warning light, fluid leakage, and uneven brake pad wear are all indicators of a. Leaking brake lines are the most common. What Can Cause A Brake Line To Break.
From 900designs-container.zoeysite.com
Brake Lines What Can Cause A Brake Line To Break Several factors can cause your brake line to corrode. What happens if your brake lines. Leaking brake lines are the most common symptom of a failing brake system. a vacuum line can develop a hole or a leak and cause the booster to stop working. While brake lines are usually made of steel and durable. Worn brake pads or. What Can Cause A Brake Line To Break.
From www.jeeppartsoverstock.com
jeep Patriot Module. Antilock brake system. [[electronic stability What Can Cause A Brake Line To Break Leaking brake lines are the most common symptom of a failing brake system. Several factors can cause your brake line to corrode. (click on a link below to jump to a specific section) what is a brake line? a vacuum line can develop a hole or a leak and cause the booster to stop working. One of the most. What Can Cause A Brake Line To Break.