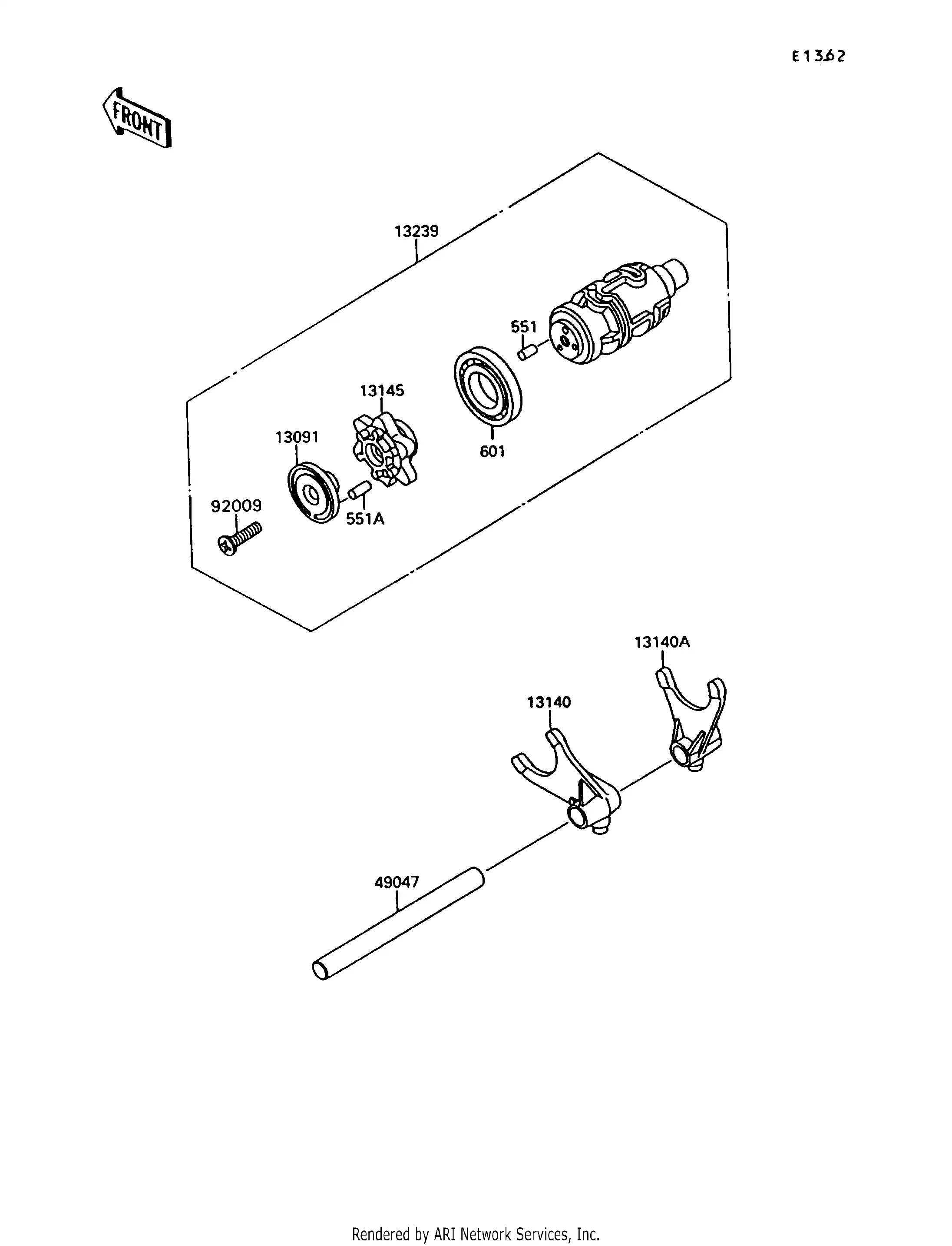
Shift Fork Kawasaki Vulcan 1500 . Gear changes are accomplished by sliding one gear sideways to the gear next to it. 2001 vulcan 1500 classic gear change drum/shift fork(s) parts diagram author: These older 1500s are notorious for 2nd gear issues. You may have a bent shifter fork, which would need to be sorted or any. A clunky shift is normal,. If it's grinding, there is a problem with the shift fork or the rider is not making a good shift. Buy oem parts for kawasaki motorcycle 1998 gear change drum/shift fork(s) diagram This movement is provided by the shift fork. The vn1500 and vn1600 both have a shifter shaft that pivots through a bore in the crankcase, and the shaft is held in through the seal is with a snap clip inside the crankcase.
from www.powersportskawasaki.com
This movement is provided by the shift fork. These older 1500s are notorious for 2nd gear issues. A clunky shift is normal,. Gear changes are accomplished by sliding one gear sideways to the gear next to it. You may have a bent shifter fork, which would need to be sorted or any. The vn1500 and vn1600 both have a shifter shaft that pivots through a bore in the crankcase, and the shaft is held in through the seal is with a snap clip inside the crankcase. Buy oem parts for kawasaki motorcycle 1998 gear change drum/shift fork(s) diagram If it's grinding, there is a problem with the shift fork or the rider is not making a good shift. 2001 vulcan 1500 classic gear change drum/shift fork(s) parts diagram author:
Powersports Kawasaki VN1500 (VULCAN 1500 CLASSIC) 1996 Gear Change
Shift Fork Kawasaki Vulcan 1500 Gear changes are accomplished by sliding one gear sideways to the gear next to it. 2001 vulcan 1500 classic gear change drum/shift fork(s) parts diagram author: Buy oem parts for kawasaki motorcycle 1998 gear change drum/shift fork(s) diagram If it's grinding, there is a problem with the shift fork or the rider is not making a good shift. This movement is provided by the shift fork. You may have a bent shifter fork, which would need to be sorted or any. Gear changes are accomplished by sliding one gear sideways to the gear next to it. These older 1500s are notorious for 2nd gear issues. The vn1500 and vn1600 both have a shifter shaft that pivots through a bore in the crankcase, and the shaft is held in through the seal is with a snap clip inside the crankcase. A clunky shift is normal,.
From www.cmsnl.com
131401036 Shift Fork Kawasaki buy the 131401036 at CMSNL Shift Fork Kawasaki Vulcan 1500 These older 1500s are notorious for 2nd gear issues. You may have a bent shifter fork, which would need to be sorted or any. A clunky shift is normal,. If it's grinding, there is a problem with the shift fork or the rider is not making a good shift. This movement is provided by the shift fork. The vn1500 and. Shift Fork Kawasaki Vulcan 1500.
From www.2040-parts.com
Sell Kawasaki VN1500 VN 1500 Vulcan Engine Shift Forks 1996 in Salem Shift Fork Kawasaki Vulcan 1500 Buy oem parts for kawasaki motorcycle 1998 gear change drum/shift fork(s) diagram These older 1500s are notorious for 2nd gear issues. You may have a bent shifter fork, which would need to be sorted or any. The vn1500 and vn1600 both have a shifter shaft that pivots through a bore in the crankcase, and the shaft is held in through. Shift Fork Kawasaki Vulcan 1500.
From www.cmsnl.com
131401011 Shift Fork Kawasaki buy the 131401011 at CMSNL Shift Fork Kawasaki Vulcan 1500 You may have a bent shifter fork, which would need to be sorted or any. 2001 vulcan 1500 classic gear change drum/shift fork(s) parts diagram author: The vn1500 and vn1600 both have a shifter shaft that pivots through a bore in the crankcase, and the shaft is held in through the seal is with a snap clip inside the crankcase.. Shift Fork Kawasaki Vulcan 1500.
From yoshiparts.com
131401258 ForkShift,Output,3Rd Kawasaki YoshiParts Shift Fork Kawasaki Vulcan 1500 A clunky shift is normal,. Buy oem parts for kawasaki motorcycle 1998 gear change drum/shift fork(s) diagram 2001 vulcan 1500 classic gear change drum/shift fork(s) parts diagram author: Gear changes are accomplished by sliding one gear sideways to the gear next to it. This movement is provided by the shift fork. These older 1500s are notorious for 2nd gear issues.. Shift Fork Kawasaki Vulcan 1500.
From www.ebay.com
03 KAWASAKI VULCAN 1500 Right Front Fork Suspension Straight Inverted Shift Fork Kawasaki Vulcan 1500 These older 1500s are notorious for 2nd gear issues. Buy oem parts for kawasaki motorcycle 1998 gear change drum/shift fork(s) diagram This movement is provided by the shift fork. A clunky shift is normal,. You may have a bent shifter fork, which would need to be sorted or any. Gear changes are accomplished by sliding one gear sideways to the. Shift Fork Kawasaki Vulcan 1500.
From www.aliexpress.com
Motorcycle Gear Shift + Rear Brake Pedals Covers For Kawasaki Vulcan VN Shift Fork Kawasaki Vulcan 1500 Buy oem parts for kawasaki motorcycle 1998 gear change drum/shift fork(s) diagram A clunky shift is normal,. Gear changes are accomplished by sliding one gear sideways to the gear next to it. You may have a bent shifter fork, which would need to be sorted or any. This movement is provided by the shift fork. 2001 vulcan 1500 classic gear. Shift Fork Kawasaki Vulcan 1500.
From www.2040-parts.com
Find Kawasaki VN1500 VN 1500 Vulcan Engine Shift Drum 1996 in Salem Shift Fork Kawasaki Vulcan 1500 2001 vulcan 1500 classic gear change drum/shift fork(s) parts diagram author: These older 1500s are notorious for 2nd gear issues. If it's grinding, there is a problem with the shift fork or the rider is not making a good shift. A clunky shift is normal,. This movement is provided by the shift fork. Gear changes are accomplished by sliding one. Shift Fork Kawasaki Vulcan 1500.
From www.cmsnl.com
Kawasaki VN1500P1 VULCAN 1500 MEANSTREAK 2002 USA CALIFORNIA CANADA Shift Fork Kawasaki Vulcan 1500 These older 1500s are notorious for 2nd gear issues. If it's grinding, there is a problem with the shift fork or the rider is not making a good shift. Gear changes are accomplished by sliding one gear sideways to the gear next to it. A clunky shift is normal,. The vn1500 and vn1600 both have a shifter shaft that pivots. Shift Fork Kawasaki Vulcan 1500.
From www.cmsnl.com
131401046 Forkshift Kawasaki buy the 131401046 at CMSNL Shift Fork Kawasaki Vulcan 1500 The vn1500 and vn1600 both have a shifter shaft that pivots through a bore in the crankcase, and the shaft is held in through the seal is with a snap clip inside the crankcase. Buy oem parts for kawasaki motorcycle 1998 gear change drum/shift fork(s) diagram This movement is provided by the shift fork. These older 1500s are notorious for. Shift Fork Kawasaki Vulcan 1500.
From www.cmsnl.com
Kawasaki VN1500R1 VULCAN 1500 DRIFTER 2001 USA CALIFORNIA CANADA FRONT Shift Fork Kawasaki Vulcan 1500 The vn1500 and vn1600 both have a shifter shaft that pivots through a bore in the crankcase, and the shaft is held in through the seal is with a snap clip inside the crankcase. Gear changes are accomplished by sliding one gear sideways to the gear next to it. These older 1500s are notorious for 2nd gear issues. Buy oem. Shift Fork Kawasaki Vulcan 1500.
From www.2040-parts.com
Sell 2000 Kawasaki 1500 Vulcan Nomad OEM driver gear shift pedal toe Shift Fork Kawasaki Vulcan 1500 A clunky shift is normal,. You may have a bent shifter fork, which would need to be sorted or any. This movement is provided by the shift fork. If it's grinding, there is a problem with the shift fork or the rider is not making a good shift. Gear changes are accomplished by sliding one gear sideways to the gear. Shift Fork Kawasaki Vulcan 1500.
From www.kawasakionlineparts.com.au
Coastal Motorcycle Centre VN1500 (VULCAN 1500 NOMAD) 1999 Front Fork Shift Fork Kawasaki Vulcan 1500 This movement is provided by the shift fork. Buy oem parts for kawasaki motorcycle 1998 gear change drum/shift fork(s) diagram You may have a bent shifter fork, which would need to be sorted or any. The vn1500 and vn1600 both have a shifter shaft that pivots through a bore in the crankcase, and the shaft is held in through the. Shift Fork Kawasaki Vulcan 1500.
From www.cmsnl.com
Kawasaki VN1500P1 VULCAN 1500 MEANSTREAK 2002 USA CALIFORNIA CANADA Shift Fork Kawasaki Vulcan 1500 Gear changes are accomplished by sliding one gear sideways to the gear next to it. 2001 vulcan 1500 classic gear change drum/shift fork(s) parts diagram author: A clunky shift is normal,. If it's grinding, there is a problem with the shift fork or the rider is not making a good shift. You may have a bent shifter fork, which would. Shift Fork Kawasaki Vulcan 1500.
From www.youtube.com
Kawasaki Vulcan S mods (shift link and reduce reach handlebars install Shift Fork Kawasaki Vulcan 1500 Gear changes are accomplished by sliding one gear sideways to the gear next to it. These older 1500s are notorious for 2nd gear issues. Buy oem parts for kawasaki motorcycle 1998 gear change drum/shift fork(s) diagram 2001 vulcan 1500 classic gear change drum/shift fork(s) parts diagram author: The vn1500 and vn1600 both have a shifter shaft that pivots through a. Shift Fork Kawasaki Vulcan 1500.
From www.youtube.com
Kawasaki Eliminator shift shaft replacement YouTube Shift Fork Kawasaki Vulcan 1500 Gear changes are accomplished by sliding one gear sideways to the gear next to it. These older 1500s are notorious for 2nd gear issues. The vn1500 and vn1600 both have a shifter shaft that pivots through a bore in the crankcase, and the shaft is held in through the seal is with a snap clip inside the crankcase. Buy oem. Shift Fork Kawasaki Vulcan 1500.
From www.ricepaddy.com
Kawasaki VN1500 Vulcan Front Forks 87 99 Shift Fork Kawasaki Vulcan 1500 A clunky shift is normal,. This movement is provided by the shift fork. The vn1500 and vn1600 both have a shifter shaft that pivots through a bore in the crankcase, and the shaft is held in through the seal is with a snap clip inside the crankcase. 2001 vulcan 1500 classic gear change drum/shift fork(s) parts diagram author: Gear changes. Shift Fork Kawasaki Vulcan 1500.
From www.cmsnl.com
Kawasaki VN1500D1 VULCAN 1500 CLASSIC 1996 USA CALIFORNIA CANADA GEAR Shift Fork Kawasaki Vulcan 1500 These older 1500s are notorious for 2nd gear issues. This movement is provided by the shift fork. Buy oem parts for kawasaki motorcycle 1998 gear change drum/shift fork(s) diagram A clunky shift is normal,. Gear changes are accomplished by sliding one gear sideways to the gear next to it. 2001 vulcan 1500 classic gear change drum/shift fork(s) parts diagram author:. Shift Fork Kawasaki Vulcan 1500.
From www.vulcanforums.com
131401258 Forkshift, Output, 3rd. Kawasaki Vulcan 1500 ‘96 Shift Fork Kawasaki Vulcan 1500 If it's grinding, there is a problem with the shift fork or the rider is not making a good shift. This movement is provided by the shift fork. You may have a bent shifter fork, which would need to be sorted or any. Gear changes are accomplished by sliding one gear sideways to the gear next to it. 2001 vulcan. Shift Fork Kawasaki Vulcan 1500.
From www.cmsnl.com
131401036 Shift Fork Kawasaki buy the 131401036 at CMSNL Shift Fork Kawasaki Vulcan 1500 You may have a bent shifter fork, which would need to be sorted or any. This movement is provided by the shift fork. These older 1500s are notorious for 2nd gear issues. A clunky shift is normal,. 2001 vulcan 1500 classic gear change drum/shift fork(s) parts diagram author: Gear changes are accomplished by sliding one gear sideways to the gear. Shift Fork Kawasaki Vulcan 1500.
From www.2040-parts.com
Sell 2000 Kawasaki 1500 Vulcan Nomad OEM driver gear shift pedal toe Shift Fork Kawasaki Vulcan 1500 You may have a bent shifter fork, which would need to be sorted or any. A clunky shift is normal,. If it's grinding, there is a problem with the shift fork or the rider is not making a good shift. Gear changes are accomplished by sliding one gear sideways to the gear next to it. This movement is provided by. Shift Fork Kawasaki Vulcan 1500.
From yoshiparts.com
131401258 ForkShift,Output,3Rd Kawasaki YoshiParts Shift Fork Kawasaki Vulcan 1500 A clunky shift is normal,. Buy oem parts for kawasaki motorcycle 1998 gear change drum/shift fork(s) diagram These older 1500s are notorious for 2nd gear issues. Gear changes are accomplished by sliding one gear sideways to the gear next to it. You may have a bent shifter fork, which would need to be sorted or any. 2001 vulcan 1500 classic. Shift Fork Kawasaki Vulcan 1500.
From www.powersportskawasaki.com
Powersports Kawasaki VN1500 (VULCAN 1500 CLASSIC FI) 2002 Front Shift Fork Kawasaki Vulcan 1500 Buy oem parts for kawasaki motorcycle 1998 gear change drum/shift fork(s) diagram A clunky shift is normal,. This movement is provided by the shift fork. The vn1500 and vn1600 both have a shifter shaft that pivots through a bore in the crankcase, and the shaft is held in through the seal is with a snap clip inside the crankcase. 2001. Shift Fork Kawasaki Vulcan 1500.
From yoshiparts.com
131401126 ForkShift Kawasaki YoshiParts Shift Fork Kawasaki Vulcan 1500 The vn1500 and vn1600 both have a shifter shaft that pivots through a bore in the crankcase, and the shaft is held in through the seal is with a snap clip inside the crankcase. You may have a bent shifter fork, which would need to be sorted or any. This movement is provided by the shift fork. Gear changes are. Shift Fork Kawasaki Vulcan 1500.
From www.cmsnl.com
131401045 Forkshift Kawasaki buy the 131401045 at CMSNL Shift Fork Kawasaki Vulcan 1500 Buy oem parts for kawasaki motorcycle 1998 gear change drum/shift fork(s) diagram If it's grinding, there is a problem with the shift fork or the rider is not making a good shift. This movement is provided by the shift fork. You may have a bent shifter fork, which would need to be sorted or any. These older 1500s are notorious. Shift Fork Kawasaki Vulcan 1500.
From www.cmsnl.com
131401198 Forkshift Kawasaki buy the 131401198 at CMSNL Shift Fork Kawasaki Vulcan 1500 The vn1500 and vn1600 both have a shifter shaft that pivots through a bore in the crankcase, and the shaft is held in through the seal is with a snap clip inside the crankcase. If it's grinding, there is a problem with the shift fork or the rider is not making a good shift. A clunky shift is normal,. This. Shift Fork Kawasaki Vulcan 1500.
From iapetwind.com
Warranty and FREE shipping 100 Days Free Returns Gear Shift Rear Brake Shift Fork Kawasaki Vulcan 1500 A clunky shift is normal,. These older 1500s are notorious for 2nd gear issues. If it's grinding, there is a problem with the shift fork or the rider is not making a good shift. Gear changes are accomplished by sliding one gear sideways to the gear next to it. This movement is provided by the shift fork. Buy oem parts. Shift Fork Kawasaki Vulcan 1500.
From www.youtube.com
1996 Kawasaki Vulcan 1500C bent shift forks YouTube Shift Fork Kawasaki Vulcan 1500 Buy oem parts for kawasaki motorcycle 1998 gear change drum/shift fork(s) diagram This movement is provided by the shift fork. Gear changes are accomplished by sliding one gear sideways to the gear next to it. A clunky shift is normal,. These older 1500s are notorious for 2nd gear issues. If it's grinding, there is a problem with the shift fork. Shift Fork Kawasaki Vulcan 1500.
From www.2040-parts.com
Sell Kawasaki VN1500 VN 1500 Vulcan Engine Shift Forks 1996 in Salem Shift Fork Kawasaki Vulcan 1500 2001 vulcan 1500 classic gear change drum/shift fork(s) parts diagram author: You may have a bent shifter fork, which would need to be sorted or any. This movement is provided by the shift fork. Gear changes are accomplished by sliding one gear sideways to the gear next to it. A clunky shift is normal,. These older 1500s are notorious for. Shift Fork Kawasaki Vulcan 1500.
From www.2040-parts.com
Find Kawasaki VN1500 VN 1500 Vulcan Engine Shift Shaft Set 1996 in Shift Fork Kawasaki Vulcan 1500 You may have a bent shifter fork, which would need to be sorted or any. If it's grinding, there is a problem with the shift fork or the rider is not making a good shift. A clunky shift is normal,. These older 1500s are notorious for 2nd gear issues. Buy oem parts for kawasaki motorcycle 1998 gear change drum/shift fork(s). Shift Fork Kawasaki Vulcan 1500.
From www.cmsnl.com
Kawasaki VN1500G1A VULCAN 1500 NOMAD 1999 USA CALIFORNIA CANADA GEAR Shift Fork Kawasaki Vulcan 1500 You may have a bent shifter fork, which would need to be sorted or any. Gear changes are accomplished by sliding one gear sideways to the gear next to it. Buy oem parts for kawasaki motorcycle 1998 gear change drum/shift fork(s) diagram 2001 vulcan 1500 classic gear change drum/shift fork(s) parts diagram author: The vn1500 and vn1600 both have a. Shift Fork Kawasaki Vulcan 1500.
From www.powersportskawasaki.com
Powersports Kawasaki VN1500 (VULCAN 1500 CLASSIC) 1996 Gear Change Shift Fork Kawasaki Vulcan 1500 A clunky shift is normal,. Buy oem parts for kawasaki motorcycle 1998 gear change drum/shift fork(s) diagram These older 1500s are notorious for 2nd gear issues. Gear changes are accomplished by sliding one gear sideways to the gear next to it. 2001 vulcan 1500 classic gear change drum/shift fork(s) parts diagram author: If it's grinding, there is a problem with. Shift Fork Kawasaki Vulcan 1500.
From www.2040-parts.com
Find Kawasaki VN1500 VN 1500 Vulcan Engine Shift Shaft Set 1996 in Shift Fork Kawasaki Vulcan 1500 Gear changes are accomplished by sliding one gear sideways to the gear next to it. The vn1500 and vn1600 both have a shifter shaft that pivots through a bore in the crankcase, and the shaft is held in through the seal is with a snap clip inside the crankcase. A clunky shift is normal,. 2001 vulcan 1500 classic gear change. Shift Fork Kawasaki Vulcan 1500.
From www.2040-parts.com
Sell Kawasaki VN1500 VN 1500 Vulcan Engine Shift Forks 1996 in Salem Shift Fork Kawasaki Vulcan 1500 2001 vulcan 1500 classic gear change drum/shift fork(s) parts diagram author: This movement is provided by the shift fork. You may have a bent shifter fork, which would need to be sorted or any. Buy oem parts for kawasaki motorcycle 1998 gear change drum/shift fork(s) diagram The vn1500 and vn1600 both have a shifter shaft that pivots through a bore. Shift Fork Kawasaki Vulcan 1500.
From www.powersportskawasaki.com
Powersports Kawasaki VN1500 (VULCAN 1500) 1994 Front Fork Shift Fork Kawasaki Vulcan 1500 These older 1500s are notorious for 2nd gear issues. Gear changes are accomplished by sliding one gear sideways to the gear next to it. Buy oem parts for kawasaki motorcycle 1998 gear change drum/shift fork(s) diagram 2001 vulcan 1500 classic gear change drum/shift fork(s) parts diagram author: You may have a bent shifter fork, which would need to be sorted. Shift Fork Kawasaki Vulcan 1500.
From yoshiparts.com
131401258 ForkShift,Output,3Rd Kawasaki YoshiParts Shift Fork Kawasaki Vulcan 1500 If it's grinding, there is a problem with the shift fork or the rider is not making a good shift. 2001 vulcan 1500 classic gear change drum/shift fork(s) parts diagram author: Gear changes are accomplished by sliding one gear sideways to the gear next to it. The vn1500 and vn1600 both have a shifter shaft that pivots through a bore. Shift Fork Kawasaki Vulcan 1500.