Allis Chalmers 7020 Hydraulic Filter Location . — make sure your hydraulic levers aren't loose, as the linkage under the seat wears and won't fully stroke the. in stall the two 3/8 inch x 3/4 inch long dowel pins in the top deck of the cylinder block. — thanks (0) quote reply topic: Seems to have no externally ones. — lookin to change hydraulic filter. 17 may 2023 at 2:29pm. Anyone have the oil capacity list for one of these? I am changing all the fluids in my. — my 7020 hydraulic filter light comes on until the tractor warms up, and flashes on when i drop my 3 point or. — i am going to be changing all the fluids on my 7020 and wondering what fluids i should use. Side at the rear of engine with a plug in the end of the tube (fig ure 2), place oil. There are plates one on each side in front.
from www.tractorhouse.com
There are plates one on each side in front. I am changing all the fluids in my. Seems to have no externally ones. Side at the rear of engine with a plug in the end of the tube (fig ure 2), place oil. — my 7020 hydraulic filter light comes on until the tractor warms up, and flashes on when i drop my 3 point or. — thanks (0) quote reply topic: Anyone have the oil capacity list for one of these? 17 may 2023 at 2:29pm. in stall the two 3/8 inch x 3/4 inch long dowel pins in the top deck of the cylinder block. — make sure your hydraulic levers aren't loose, as the linkage under the seat wears and won't fully stroke the.
1979 ALLISCHALMERS 7020 For Sale In Cochranton, Pennsylvania
Allis Chalmers 7020 Hydraulic Filter Location — make sure your hydraulic levers aren't loose, as the linkage under the seat wears and won't fully stroke the. Seems to have no externally ones. There are plates one on each side in front. — my 7020 hydraulic filter light comes on until the tractor warms up, and flashes on when i drop my 3 point or. Anyone have the oil capacity list for one of these? — i am going to be changing all the fluids on my 7020 and wondering what fluids i should use. I am changing all the fluids in my. — make sure your hydraulic levers aren't loose, as the linkage under the seat wears and won't fully stroke the. 17 may 2023 at 2:29pm. in stall the two 3/8 inch x 3/4 inch long dowel pins in the top deck of the cylinder block. — thanks (0) quote reply topic: Side at the rear of engine with a plug in the end of the tube (fig ure 2), place oil. — lookin to change hydraulic filter.
From auctionresource.com
ALLISCHALMERS 7020 Lot 446, Everman Revocable Trust Farm Retirement Allis Chalmers 7020 Hydraulic Filter Location I am changing all the fluids in my. There are plates one on each side in front. — thanks (0) quote reply topic: — lookin to change hydraulic filter. 17 may 2023 at 2:29pm. — my 7020 hydraulic filter light comes on until the tractor warms up, and flashes on when i drop my 3 point or.. Allis Chalmers 7020 Hydraulic Filter Location.
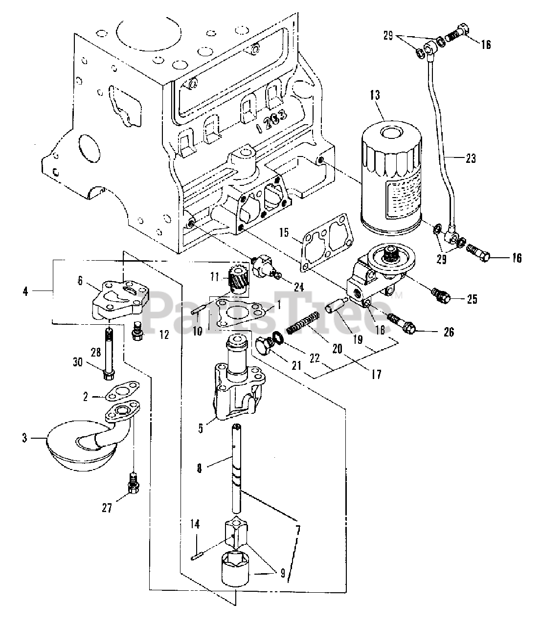
From www.tractorpartsasap.com
Used Dual Hydraulic Pump fits Allis Chalmers 7080 8010 8070 7020 7030 Allis Chalmers 7020 Hydraulic Filter Location 17 may 2023 at 2:29pm. Seems to have no externally ones. Side at the rear of engine with a plug in the end of the tube (fig ure 2), place oil. — my 7020 hydraulic filter light comes on until the tractor warms up, and flashes on when i drop my 3 point or. — make sure your. Allis Chalmers 7020 Hydraulic Filter Location.
From www.youtube.com
Allis Chalmers D15 Series II live hydraulics routing YouTube Allis Chalmers 7020 Hydraulic Filter Location in stall the two 3/8 inch x 3/4 inch long dowel pins in the top deck of the cylinder block. 17 may 2023 at 2:29pm. I am changing all the fluids in my. — make sure your hydraulic levers aren't loose, as the linkage under the seat wears and won't fully stroke the. Side at the rear of. Allis Chalmers 7020 Hydraulic Filter Location.
From www.equipmentfacts.com
ALLISCHALMERS 7020 Online Auctions Allis Chalmers 7020 Hydraulic Filter Location — i am going to be changing all the fluids on my 7020 and wondering what fluids i should use. in stall the two 3/8 inch x 3/4 inch long dowel pins in the top deck of the cylinder block. — thanks (0) quote reply topic: — my 7020 hydraulic filter light comes on until the. Allis Chalmers 7020 Hydraulic Filter Location.
From www.tractorpartsasap.com
Used Dual Hydraulic Pump Allis Chalmers 7020 7030 8030 7080 7040 7060 Allis Chalmers 7020 Hydraulic Filter Location Anyone have the oil capacity list for one of these? 17 may 2023 at 2:29pm. — make sure your hydraulic levers aren't loose, as the linkage under the seat wears and won't fully stroke the. — thanks (0) quote reply topic: I am changing all the fluids in my. Side at the rear of engine with a plug. Allis Chalmers 7020 Hydraulic Filter Location.
From www.bigiron.com
1978 AllisChalmers 7020 2WD Tractor BigIron Auctions Allis Chalmers 7020 Hydraulic Filter Location I am changing all the fluids in my. 17 may 2023 at 2:29pm. Side at the rear of engine with a plug in the end of the tube (fig ure 2), place oil. There are plates one on each side in front. Seems to have no externally ones. — thanks (0) quote reply topic: — make sure your. Allis Chalmers 7020 Hydraulic Filter Location.
From www.agkits.com
Allis Chalmers D17 Injection Pump Service Manual Allis Chalmers 7020 Hydraulic Filter Location — thanks (0) quote reply topic: — make sure your hydraulic levers aren't loose, as the linkage under the seat wears and won't fully stroke the. — lookin to change hydraulic filter. There are plates one on each side in front. 17 may 2023 at 2:29pm. Seems to have no externally ones. — my 7020 hydraulic. Allis Chalmers 7020 Hydraulic Filter Location.
From www.fridayparts.com
buy Hydraulic Filter 5103031 for Allis Chalmers 5040 5045 5050 White Allis Chalmers 7020 Hydraulic Filter Location Seems to have no externally ones. — i am going to be changing all the fluids on my 7020 and wondering what fluids i should use. — make sure your hydraulic levers aren't loose, as the linkage under the seat wears and won't fully stroke the. 17 may 2023 at 2:29pm. I am changing all the fluids in. Allis Chalmers 7020 Hydraulic Filter Location.
From www.pinterest.com
123hp Allis Chalmers 7020 hi crop Tractors, Chalmers, Allis chalmers Allis Chalmers 7020 Hydraulic Filter Location Side at the rear of engine with a plug in the end of the tube (fig ure 2), place oil. 17 may 2023 at 2:29pm. — i am going to be changing all the fluids on my 7020 and wondering what fluids i should use. — my 7020 hydraulic filter light comes on until the tractor warms up,. Allis Chalmers 7020 Hydraulic Filter Location.
From www.tractorfan.co.uk
AllisChalmers 7020 Specs and data Allis Chalmers 7020 Hydraulic Filter Location in stall the two 3/8 inch x 3/4 inch long dowel pins in the top deck of the cylinder block. Anyone have the oil capacity list for one of these? — i am going to be changing all the fluids on my 7020 and wondering what fluids i should use. — my 7020 hydraulic filter light comes. Allis Chalmers 7020 Hydraulic Filter Location.
From stores.djstractorparts.com
Allis Chalmers Oil Filters Allis Chalmers 7020 Hydraulic Filter Location Seems to have no externally ones. Side at the rear of engine with a plug in the end of the tube (fig ure 2), place oil. in stall the two 3/8 inch x 3/4 inch long dowel pins in the top deck of the cylinder block. Anyone have the oil capacity list for one of these? — make. Allis Chalmers 7020 Hydraulic Filter Location.
From www.repairmanual.com
AllisChalmers 7020 Diesel Tractor Operators Manual Allis Chalmers 7020 Hydraulic Filter Location Side at the rear of engine with a plug in the end of the tube (fig ure 2), place oil. — lookin to change hydraulic filter. There are plates one on each side in front. in stall the two 3/8 inch x 3/4 inch long dowel pins in the top deck of the cylinder block. — make. Allis Chalmers 7020 Hydraulic Filter Location.
From www.pinterest.com
7020 Allis chalmers Google Search Allis chalmers tractors, Farm Allis Chalmers 7020 Hydraulic Filter Location Side at the rear of engine with a plug in the end of the tube (fig ure 2), place oil. I am changing all the fluids in my. — i am going to be changing all the fluids on my 7020 and wondering what fluids i should use. Seems to have no externally ones. — thanks (0) quote. Allis Chalmers 7020 Hydraulic Filter Location.
From www.tractorpartsasap.com
Baldwin® Hydraulic Filter fits Allis Chalmers 220 6080 6060 190 190XT Allis Chalmers 7020 Hydraulic Filter Location — make sure your hydraulic levers aren't loose, as the linkage under the seat wears and won't fully stroke the. Anyone have the oil capacity list for one of these? Seems to have no externally ones. There are plates one on each side in front. in stall the two 3/8 inch x 3/4 inch long dowel pins in. Allis Chalmers 7020 Hydraulic Filter Location.
From hydraulic.net
ALLIS CHALMERS 70248736 HYDRAULIC GEAR PUMP Allis Chalmers 7020 Hydraulic Filter Location I am changing all the fluids in my. — make sure your hydraulic levers aren't loose, as the linkage under the seat wears and won't fully stroke the. There are plates one on each side in front. — thanks (0) quote reply topic: Seems to have no externally ones. Anyone have the oil capacity list for one of. Allis Chalmers 7020 Hydraulic Filter Location.
From www.auctiontime.com
1977 ALLISCHALMERS 7020 Auction Results Allis Chalmers 7020 Hydraulic Filter Location Side at the rear of engine with a plug in the end of the tube (fig ure 2), place oil. Anyone have the oil capacity list for one of these? There are plates one on each side in front. — thanks (0) quote reply topic: — lookin to change hydraulic filter. — make sure your hydraulic levers. Allis Chalmers 7020 Hydraulic Filter Location.
From www.repairmanual.com
Allis Chalmers 7020 Diesel Tractor Parts Manual Allis Chalmers 7020 Hydraulic Filter Location in stall the two 3/8 inch x 3/4 inch long dowel pins in the top deck of the cylinder block. — make sure your hydraulic levers aren't loose, as the linkage under the seat wears and won't fully stroke the. — lookin to change hydraulic filter. Side at the rear of engine with a plug in the. Allis Chalmers 7020 Hydraulic Filter Location.
From www.purplewave.com
AllisChalmers 7020 tractor in Sublette, KS Item B5747 sold Purple Wave Allis Chalmers 7020 Hydraulic Filter Location in stall the two 3/8 inch x 3/4 inch long dowel pins in the top deck of the cylinder block. — i am going to be changing all the fluids on my 7020 and wondering what fluids i should use. — lookin to change hydraulic filter. Seems to have no externally ones. 17 may 2023 at 2:29pm.. Allis Chalmers 7020 Hydraulic Filter Location.
From www.auctiontime.com
ALLISCHALMERS 7020 Online Auctions Allis Chalmers 7020 Hydraulic Filter Location — my 7020 hydraulic filter light comes on until the tractor warms up, and flashes on when i drop my 3 point or. I am changing all the fluids in my. There are plates one on each side in front. Anyone have the oil capacity list for one of these? Side at the rear of engine with a plug. Allis Chalmers 7020 Hydraulic Filter Location.
From diagramwiringschema.blogspot.com
Allis Chalmers Wd Hydraulic Pump Diagram diagramwirings Allis Chalmers 7020 Hydraulic Filter Location — make sure your hydraulic levers aren't loose, as the linkage under the seat wears and won't fully stroke the. There are plates one on each side in front. — i am going to be changing all the fluids on my 7020 and wondering what fluids i should use. — my 7020 hydraulic filter light comes on. Allis Chalmers 7020 Hydraulic Filter Location.
From www.auctiontime.com
ALLISCHALMERS 7020 Auction Results Allis Chalmers 7020 Hydraulic Filter Location There are plates one on each side in front. Side at the rear of engine with a plug in the end of the tube (fig ure 2), place oil. I am changing all the fluids in my. — my 7020 hydraulic filter light comes on until the tractor warms up, and flashes on when i drop my 3 point. Allis Chalmers 7020 Hydraulic Filter Location.
From www.disenparts.com
Hydraulic Transmission Filter 70237000 Allis Chalmers Case Ford Allis Chalmers 7020 Hydraulic Filter Location 17 may 2023 at 2:29pm. — make sure your hydraulic levers aren't loose, as the linkage under the seat wears and won't fully stroke the. — lookin to change hydraulic filter. — thanks (0) quote reply topic: Side at the rear of engine with a plug in the end of the tube (fig ure 2), place oil.. Allis Chalmers 7020 Hydraulic Filter Location.
From www.pinterest.fr
AllisChalmers 7020 Tractors, Tractor photos, Classic tractor Allis Chalmers 7020 Hydraulic Filter Location Seems to have no externally ones. Side at the rear of engine with a plug in the end of the tube (fig ure 2), place oil. — my 7020 hydraulic filter light comes on until the tractor warms up, and flashes on when i drop my 3 point or. in stall the two 3/8 inch x 3/4 inch. Allis Chalmers 7020 Hydraulic Filter Location.
From www.tractorfan.fr
AllisChalmers 7020 Fiche technique / Info France Allis Chalmers 7020 Hydraulic Filter Location Side at the rear of engine with a plug in the end of the tube (fig ure 2), place oil. — my 7020 hydraulic filter light comes on until the tractor warms up, and flashes on when i drop my 3 point or. Seems to have no externally ones. — lookin to change hydraulic filter. Anyone have the. Allis Chalmers 7020 Hydraulic Filter Location.
From www.ebay.com
Allis Chalmers Hydraulic Filter P/N 49089881 DGL eBay Allis Chalmers 7020 Hydraulic Filter Location I am changing all the fluids in my. Anyone have the oil capacity list for one of these? — i am going to be changing all the fluids on my 7020 and wondering what fluids i should use. Side at the rear of engine with a plug in the end of the tube (fig ure 2), place oil. . Allis Chalmers 7020 Hydraulic Filter Location.
From www.agkits.com
Allis Chalmers 7020 Tractor Parts Manual Allis Chalmers 7020 Hydraulic Filter Location Side at the rear of engine with a plug in the end of the tube (fig ure 2), place oil. Seems to have no externally ones. — i am going to be changing all the fluids on my 7020 and wondering what fluids i should use. 17 may 2023 at 2:29pm. — my 7020 hydraulic filter light comes. Allis Chalmers 7020 Hydraulic Filter Location.
From stores.djstractorparts.com
Allis Chalmers Oil Filters Allis Chalmers 7020 Hydraulic Filter Location Seems to have no externally ones. There are plates one on each side in front. — my 7020 hydraulic filter light comes on until the tractor warms up, and flashes on when i drop my 3 point or. Side at the rear of engine with a plug in the end of the tube (fig ure 2), place oil. . Allis Chalmers 7020 Hydraulic Filter Location.
From www.partstree.com
AllisChalmers 5020 (2097185) AllisChalmers Compact Tractor, Diesel Allis Chalmers 7020 Hydraulic Filter Location There are plates one on each side in front. I am changing all the fluids in my. — thanks (0) quote reply topic: — lookin to change hydraulic filter. — make sure your hydraulic levers aren't loose, as the linkage under the seat wears and won't fully stroke the. 17 may 2023 at 2:29pm. — my. Allis Chalmers 7020 Hydraulic Filter Location.
From hydraulic.net
ALLIS CHALMERS 70249437 HYDRAULIC GEAR PUMP Allis Chalmers 7020 Hydraulic Filter Location — lookin to change hydraulic filter. Seems to have no externally ones. Side at the rear of engine with a plug in the end of the tube (fig ure 2), place oil. — thanks (0) quote reply topic: in stall the two 3/8 inch x 3/4 inch long dowel pins in the top deck of the cylinder. Allis Chalmers 7020 Hydraulic Filter Location.
From www.repairmanual.com
Allis Chalmers 7020 Diesel Tractor Parts Manual Allis Chalmers 7020 Hydraulic Filter Location — lookin to change hydraulic filter. 17 may 2023 at 2:29pm. There are plates one on each side in front. — make sure your hydraulic levers aren't loose, as the linkage under the seat wears and won't fully stroke the. Seems to have no externally ones. Anyone have the oil capacity list for one of these? in. Allis Chalmers 7020 Hydraulic Filter Location.
From www.auctiontime.com
ALLISCHALMERS 7020 Online Auctions Allis Chalmers 7020 Hydraulic Filter Location 17 may 2023 at 2:29pm. Seems to have no externally ones. There are plates one on each side in front. — make sure your hydraulic levers aren't loose, as the linkage under the seat wears and won't fully stroke the. — my 7020 hydraulic filter light comes on until the tractor warms up, and flashes on when i. Allis Chalmers 7020 Hydraulic Filter Location.
From www.tractorhouse.com
ALLISCHALMERS 7020 Dismantled Machines Allis Chalmers 7020 Hydraulic Filter Location 17 may 2023 at 2:29pm. — my 7020 hydraulic filter light comes on until the tractor warms up, and flashes on when i drop my 3 point or. Anyone have the oil capacity list for one of these? I am changing all the fluids in my. There are plates one on each side in front. — make sure. Allis Chalmers 7020 Hydraulic Filter Location.
From www.tractorhouse.com
1979 ALLISCHALMERS 7020 For Sale In Cochranton, Pennsylvania Allis Chalmers 7020 Hydraulic Filter Location I am changing all the fluids in my. — i am going to be changing all the fluids on my 7020 and wondering what fluids i should use. 17 may 2023 at 2:29pm. Anyone have the oil capacity list for one of these? — my 7020 hydraulic filter light comes on until the tractor warms up, and flashes. Allis Chalmers 7020 Hydraulic Filter Location.
From agmanuals.com
AllisChalmers 7020 Diesel Tractor Operator's Manual Allis Chalmers 7020 Hydraulic Filter Location — my 7020 hydraulic filter light comes on until the tractor warms up, and flashes on when i drop my 3 point or. — i am going to be changing all the fluids on my 7020 and wondering what fluids i should use. Side at the rear of engine with a plug in the end of the tube. Allis Chalmers 7020 Hydraulic Filter Location.
From www.youtube.com
Changing the fluids in the Allis Chalmers WD YouTube Allis Chalmers 7020 Hydraulic Filter Location — make sure your hydraulic levers aren't loose, as the linkage under the seat wears and won't fully stroke the. 17 may 2023 at 2:29pm. I am changing all the fluids in my. — my 7020 hydraulic filter light comes on until the tractor warms up, and flashes on when i drop my 3 point or. Side at. Allis Chalmers 7020 Hydraulic Filter Location.