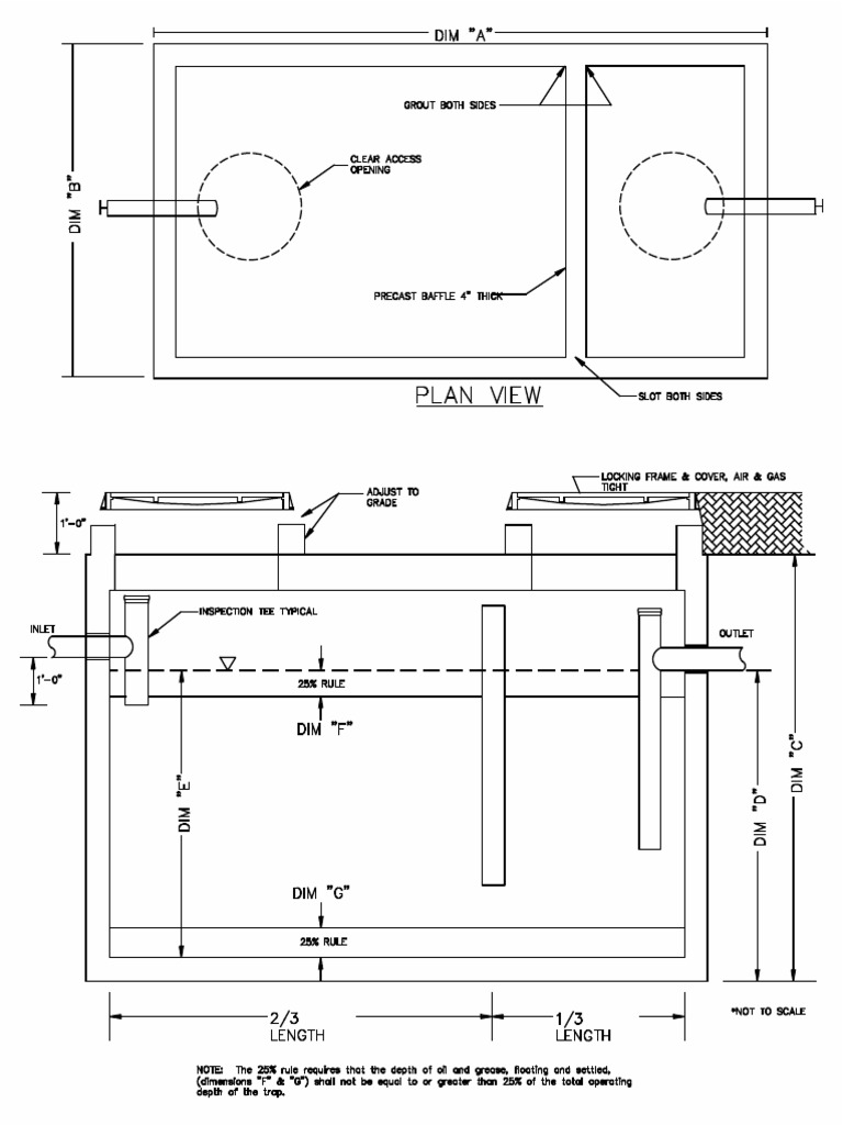
Grease Trap Measurements . Enter the kitchen flow rate (in liters per minute) in the provided input field. The grease trap sizing calculator accurately sizes passive grease traps, grease interceptors, and automated grease recovery devices (grd). Place the grease trap in the chosen location, ensuring it is level. Use the grease trap sizing calculator to determine the flow rate for each individual sink that will be serviced by the trap. Associated with this incoming flow rate is the capacity of the trap. This is how you would calculated the size grease trap needed for a typical 3 compartment sink with no additional appliances or other sinks added: Grease traps are sized according to the rate of incoming flow, in gallons per minute gpm. Proper grease trap sizing and installation prevent blockages, ensure compliance, and save costs. Alternatively, it can be determined using the. Learn how to size, install, and. 18 x 18 x 10 x 3 (bowls/compartments) = 9720. The size of a grease trap is generally based on a maximum flow rate measured in litres per hour. Add together 100% of the. Click the “calculate” button to obtain the.
from westcoastgreasetraps.com
Place the grease trap in the chosen location, ensuring it is level. The size of a grease trap is generally based on a maximum flow rate measured in litres per hour. Click the “calculate” button to obtain the. Associated with this incoming flow rate is the capacity of the trap. Alternatively, it can be determined using the. Add together 100% of the. Proper grease trap sizing and installation prevent blockages, ensure compliance, and save costs. Grease traps are sized according to the rate of incoming flow, in gallons per minute gpm. This is how you would calculated the size grease trap needed for a typical 3 compartment sink with no additional appliances or other sinks added: Use the grease trap sizing calculator to determine the flow rate for each individual sink that will be serviced by the trap.
guide to cleaning, choosing, and maintaining Grease Trap
Grease Trap Measurements This is how you would calculated the size grease trap needed for a typical 3 compartment sink with no additional appliances or other sinks added: Alternatively, it can be determined using the. Add together 100% of the. Click the “calculate” button to obtain the. The size of a grease trap is generally based on a maximum flow rate measured in litres per hour. 18 x 18 x 10 x 3 (bowls/compartments) = 9720. Associated with this incoming flow rate is the capacity of the trap. Proper grease trap sizing and installation prevent blockages, ensure compliance, and save costs. Use the grease trap sizing calculator to determine the flow rate for each individual sink that will be serviced by the trap. Enter the kitchen flow rate (in liters per minute) in the provided input field. Learn how to size, install, and. Grease traps are sized according to the rate of incoming flow, in gallons per minute gpm. The grease trap sizing calculator accurately sizes passive grease traps, grease interceptors, and automated grease recovery devices (grd). This is how you would calculated the size grease trap needed for a typical 3 compartment sink with no additional appliances or other sinks added: Place the grease trap in the chosen location, ensuring it is level.
From drain-net.com
Grease Traps and Grease Interceptors for Restaurants and Commercial Grease Trap Measurements Proper grease trap sizing and installation prevent blockages, ensure compliance, and save costs. Learn how to size, install, and. Alternatively, it can be determined using the. Associated with this incoming flow rate is the capacity of the trap. 18 x 18 x 10 x 3 (bowls/compartments) = 9720. This is how you would calculated the size grease trap needed for. Grease Trap Measurements.
From www.gww.com.au
Grease traps Greater Western Water Grease Trap Measurements Associated with this incoming flow rate is the capacity of the trap. Click the “calculate” button to obtain the. This is how you would calculated the size grease trap needed for a typical 3 compartment sink with no additional appliances or other sinks added: Add together 100% of the. Learn how to size, install, and. Use the grease trap sizing. Grease Trap Measurements.
From www.epd.gov.hk
Grease Traps for Restaurants and Food Processors Environmental Grease Trap Measurements The size of a grease trap is generally based on a maximum flow rate measured in litres per hour. Learn how to size, install, and. Enter the kitchen flow rate (in liters per minute) in the provided input field. This is how you would calculated the size grease trap needed for a typical 3 compartment sink with no additional appliances. Grease Trap Measurements.
From www.allegiantprecast.com
Allegiant Precast Grease Interceptor / Grease Trap Grease Trap Measurements Click the “calculate” button to obtain the. 18 x 18 x 10 x 3 (bowls/compartments) = 9720. Proper grease trap sizing and installation prevent blockages, ensure compliance, and save costs. Alternatively, it can be determined using the. Grease traps are sized according to the rate of incoming flow, in gallons per minute gpm. Use the grease trap sizing calculator to. Grease Trap Measurements.
From www.innodez.com
Grease Trap Tips Location and Sizing for Restaurants InnoDez Grease Trap Measurements Grease traps are sized according to the rate of incoming flow, in gallons per minute gpm. The size of a grease trap is generally based on a maximum flow rate measured in litres per hour. Click the “calculate” button to obtain the. Alternatively, it can be determined using the. 18 x 18 x 10 x 3 (bowls/compartments) = 9720. Proper. Grease Trap Measurements.
From vanlifetshirt.blogspot.com
grease trap autocad drawing vanlifetshirt Grease Trap Measurements This is how you would calculated the size grease trap needed for a typical 3 compartment sink with no additional appliances or other sinks added: Enter the kitchen flow rate (in liters per minute) in the provided input field. Add together 100% of the. Alternatively, it can be determined using the. Place the grease trap in the chosen location, ensuring. Grease Trap Measurements.
From www.linecad.com
Grease Trap Free CAD Block And AutoCAD Drawing Grease Trap Measurements Associated with this incoming flow rate is the capacity of the trap. Proper grease trap sizing and installation prevent blockages, ensure compliance, and save costs. Place the grease trap in the chosen location, ensuring it is level. Alternatively, it can be determined using the. The size of a grease trap is generally based on a maximum flow rate measured in. Grease Trap Measurements.
From www.drain-net.com
Grease Traps Standard Sizes Grease Trap Measurements Associated with this incoming flow rate is the capacity of the trap. Alternatively, it can be determined using the. The grease trap sizing calculator accurately sizes passive grease traps, grease interceptors, and automated grease recovery devices (grd). Learn how to size, install, and. This is how you would calculated the size grease trap needed for a typical 3 compartment sink. Grease Trap Measurements.
From septicmedicaz.blogspot.com
Septic Medic Pumping and Plumbing What is a Commercial Grease Trap Grease Trap Measurements Click the “calculate” button to obtain the. Place the grease trap in the chosen location, ensuring it is level. Add together 100% of the. Enter the kitchen flow rate (in liters per minute) in the provided input field. Learn how to size, install, and. Alternatively, it can be determined using the. Grease traps are sized according to the rate of. Grease Trap Measurements.
From grease-traps.com
Commercial Grease Trap Grease Release® Semi Automatic Grease Trap Grease Trap Measurements The grease trap sizing calculator accurately sizes passive grease traps, grease interceptors, and automated grease recovery devices (grd). This is how you would calculated the size grease trap needed for a typical 3 compartment sink with no additional appliances or other sinks added: Enter the kitchen flow rate (in liters per minute) in the provided input field. Alternatively, it can. Grease Trap Measurements.
From nationshomeinspections.com
Grease traps Nations Home Inspections Grease Trap Measurements Use the grease trap sizing calculator to determine the flow rate for each individual sink that will be serviced by the trap. 18 x 18 x 10 x 3 (bowls/compartments) = 9720. Associated with this incoming flow rate is the capacity of the trap. Enter the kitchen flow rate (in liters per minute) in the provided input field. Click the. Grease Trap Measurements.
From precon-tx.com
Precon Precast, LLC Grease Traps, Sample Wells Precon Environmental Grease Trap Measurements Alternatively, it can be determined using the. This is how you would calculated the size grease trap needed for a typical 3 compartment sink with no additional appliances or other sinks added: Click the “calculate” button to obtain the. Enter the kitchen flow rate (in liters per minute) in the provided input field. Grease traps are sized according to the. Grease Trap Measurements.
From sikat-arawul.blogspot.com
Grease Trap Design Drawings Grease Trap Dwg Detail For Autocad Grease Trap Measurements Click the “calculate” button to obtain the. Use the grease trap sizing calculator to determine the flow rate for each individual sink that will be serviced by the trap. Grease traps are sized according to the rate of incoming flow, in gallons per minute gpm. 18 x 18 x 10 x 3 (bowls/compartments) = 9720. Add together 100% of the.. Grease Trap Measurements.
From www.greaseguardian.com
How Do I Size a Grease Trap? Grease Guardian Grease Trap Measurements Associated with this incoming flow rate is the capacity of the trap. Learn how to size, install, and. Proper grease trap sizing and installation prevent blockages, ensure compliance, and save costs. The size of a grease trap is generally based on a maximum flow rate measured in litres per hour. Click the “calculate” button to obtain the. The grease trap. Grease Trap Measurements.
From neworleansgreasetrapcleaning.com
Calculate Grease Trap Size (Gallons) New Orleans Grease Trap Cleaning Grease Trap Measurements Click the “calculate” button to obtain the. Proper grease trap sizing and installation prevent blockages, ensure compliance, and save costs. 18 x 18 x 10 x 3 (bowls/compartments) = 9720. Learn how to size, install, and. Place the grease trap in the chosen location, ensuring it is level. The grease trap sizing calculator accurately sizes passive grease traps, grease interceptors,. Grease Trap Measurements.
From precastconcretesales.com
Grease Traps Precast Concrete Sales Company Grease Trap Measurements Click the “calculate” button to obtain the. Learn how to size, install, and. Enter the kitchen flow rate (in liters per minute) in the provided input field. Associated with this incoming flow rate is the capacity of the trap. Add together 100% of the. Proper grease trap sizing and installation prevent blockages, ensure compliance, and save costs. Place the grease. Grease Trap Measurements.
From issuu.com
How to Choose the Correct Size of a Commercial Kitchen Grease Trap? by Grease Trap Measurements The size of a grease trap is generally based on a maximum flow rate measured in litres per hour. Proper grease trap sizing and installation prevent blockages, ensure compliance, and save costs. 18 x 18 x 10 x 3 (bowls/compartments) = 9720. Place the grease trap in the chosen location, ensuring it is level. Alternatively, it can be determined using. Grease Trap Measurements.
From lhvprecast.com
Grease Trap 500 1500 Gal LHV Precast Grease Trap Measurements Associated with this incoming flow rate is the capacity of the trap. The grease trap sizing calculator accurately sizes passive grease traps, grease interceptors, and automated grease recovery devices (grd). Enter the kitchen flow rate (in liters per minute) in the provided input field. Alternatively, it can be determined using the. 18 x 18 x 10 x 3 (bowls/compartments) =. Grease Trap Measurements.
From test.wilbertprecast.com
Grease Interceptors Wilbert Precast Inc. Grease Trap Measurements Click the “calculate” button to obtain the. Alternatively, it can be determined using the. Grease traps are sized according to the rate of incoming flow, in gallons per minute gpm. The grease trap sizing calculator accurately sizes passive grease traps, grease interceptors, and automated grease recovery devices (grd). This is how you would calculated the size grease trap needed for. Grease Trap Measurements.
From primasupply.com
Grease Trap 101 Types Prima Supply Grease Trap Measurements Enter the kitchen flow rate (in liters per minute) in the provided input field. Use the grease trap sizing calculator to determine the flow rate for each individual sink that will be serviced by the trap. Alternatively, it can be determined using the. Proper grease trap sizing and installation prevent blockages, ensure compliance, and save costs. Click the “calculate” button. Grease Trap Measurements.
From www.ny-engineers.com
Grease Interceptor Selection Services Plumbing NY Engineers Grease Trap Measurements Enter the kitchen flow rate (in liters per minute) in the provided input field. Use the grease trap sizing calculator to determine the flow rate for each individual sink that will be serviced by the trap. The grease trap sizing calculator accurately sizes passive grease traps, grease interceptors, and automated grease recovery devices (grd). Add together 100% of the. Click. Grease Trap Measurements.
From www.youtube.com
Sizing Your Grease Trap YouTube Grease Trap Measurements The grease trap sizing calculator accurately sizes passive grease traps, grease interceptors, and automated grease recovery devices (grd). Use the grease trap sizing calculator to determine the flow rate for each individual sink that will be serviced by the trap. Place the grease trap in the chosen location, ensuring it is level. Proper grease trap sizing and installation prevent blockages,. Grease Trap Measurements.
From abbygaylezaina.blogspot.com
23+ grease trap calculator AbbygayleZaina Grease Trap Measurements 18 x 18 x 10 x 3 (bowls/compartments) = 9720. Click the “calculate” button to obtain the. Alternatively, it can be determined using the. Learn how to size, install, and. The grease trap sizing calculator accurately sizes passive grease traps, grease interceptors, and automated grease recovery devices (grd). Proper grease trap sizing and installation prevent blockages, ensure compliance, and save. Grease Trap Measurements.
From www.planmarketplace.com
Grease Trap (Stainless) CAD Files, DWG files, Plans and Details Grease Trap Measurements Add together 100% of the. The size of a grease trap is generally based on a maximum flow rate measured in litres per hour. Proper grease trap sizing and installation prevent blockages, ensure compliance, and save costs. This is how you would calculated the size grease trap needed for a typical 3 compartment sink with no additional appliances or other. Grease Trap Measurements.
From www.emerson.com
Level Measurement for Grease Traps Emerson CA Grease Trap Measurements Use the grease trap sizing calculator to determine the flow rate for each individual sink that will be serviced by the trap. Proper grease trap sizing and installation prevent blockages, ensure compliance, and save costs. Add together 100% of the. This is how you would calculated the size grease trap needed for a typical 3 compartment sink with no additional. Grease Trap Measurements.
From mtgroup.ir
GRP Grease Trap Grease Trap Measurements Use the grease trap sizing calculator to determine the flow rate for each individual sink that will be serviced by the trap. Associated with this incoming flow rate is the capacity of the trap. The size of a grease trap is generally based on a maximum flow rate measured in litres per hour. Learn how to size, install, and. This. Grease Trap Measurements.
From www.lazada.com.ph
Grease trap stainless steel size 3gpm Lazada PH Grease Trap Measurements Use the grease trap sizing calculator to determine the flow rate for each individual sink that will be serviced by the trap. Click the “calculate” button to obtain the. 18 x 18 x 10 x 3 (bowls/compartments) = 9720. Add together 100% of the. This is how you would calculated the size grease trap needed for a typical 3 compartment. Grease Trap Measurements.
From fourcornersprecast.com
1000 Gallon Precast Concrete Grease Traps for Non Traffic Use Four Grease Trap Measurements 18 x 18 x 10 x 3 (bowls/compartments) = 9720. The grease trap sizing calculator accurately sizes passive grease traps, grease interceptors, and automated grease recovery devices (grd). This is how you would calculated the size grease trap needed for a typical 3 compartment sink with no additional appliances or other sinks added: Grease traps are sized according to the. Grease Trap Measurements.
From civilmart.com.au
Grease Arrestor Civilmart Grease Trap Measurements Enter the kitchen flow rate (in liters per minute) in the provided input field. Use the grease trap sizing calculator to determine the flow rate for each individual sink that will be serviced by the trap. Grease traps are sized according to the rate of incoming flow, in gallons per minute gpm. The size of a grease trap is generally. Grease Trap Measurements.
From www.scribd.com
1000 Gal Grease Trap PDF Grease Trap Measurements Associated with this incoming flow rate is the capacity of the trap. The grease trap sizing calculator accurately sizes passive grease traps, grease interceptors, and automated grease recovery devices (grd). This is how you would calculated the size grease trap needed for a typical 3 compartment sink with no additional appliances or other sinks added: Grease traps are sized according. Grease Trap Measurements.
From wafaa.gt4host.com
Stainless Steel Grease Traps Grease Trap Measurements Place the grease trap in the chosen location, ensuring it is level. Use the grease trap sizing calculator to determine the flow rate for each individual sink that will be serviced by the trap. The size of a grease trap is generally based on a maximum flow rate measured in litres per hour. Enter the kitchen flow rate (in liters. Grease Trap Measurements.
From www.emerson.com
Level Measurement for Grease Traps Emerson CA Grease Trap Measurements Use the grease trap sizing calculator to determine the flow rate for each individual sink that will be serviced by the trap. This is how you would calculated the size grease trap needed for a typical 3 compartment sink with no additional appliances or other sinks added: Learn how to size, install, and. Associated with this incoming flow rate is. Grease Trap Measurements.
From westcoastgreasetraps.com
guide to cleaning, choosing, and maintaining Grease Trap Grease Trap Measurements Proper grease trap sizing and installation prevent blockages, ensure compliance, and save costs. Use the grease trap sizing calculator to determine the flow rate for each individual sink that will be serviced by the trap. The size of a grease trap is generally based on a maximum flow rate measured in litres per hour. Add together 100% of the. Place. Grease Trap Measurements.
From www.studocu.com
Grease trap installation guidance doc GUIDANCE DOCUMENT FOR SIZING Grease Trap Measurements Grease traps are sized according to the rate of incoming flow, in gallons per minute gpm. Learn how to size, install, and. Click the “calculate” button to obtain the. The size of a grease trap is generally based on a maximum flow rate measured in litres per hour. The grease trap sizing calculator accurately sizes passive grease traps, grease interceptors,. Grease Trap Measurements.
From www.drain-tech.com
How to size your Grease Trap Grease Trap Measurements Place the grease trap in the chosen location, ensuring it is level. The size of a grease trap is generally based on a maximum flow rate measured in litres per hour. Use the grease trap sizing calculator to determine the flow rate for each individual sink that will be serviced by the trap. Alternatively, it can be determined using the.. Grease Trap Measurements.