Twist Drill Procedure . This procedure is considered as the. Twist drill craniostomy performed at the bedside is just as effective in treating chronic subdural hematomas as bur holes or craniotomy in the. Twist drill craniostomy is a more effective method for csdh evacuation compared to sc and bhc.
from www.pinterest.com
Twist drill craniostomy is a more effective method for csdh evacuation compared to sc and bhc. Twist drill craniostomy performed at the bedside is just as effective in treating chronic subdural hematomas as bur holes or craniotomy in the. This procedure is considered as the.
drill for burr hole procedure Google Search Drill, Male sketch, Cove
Twist Drill Procedure Twist drill craniostomy performed at the bedside is just as effective in treating chronic subdural hematomas as bur holes or craniotomy in the. Twist drill craniostomy performed at the bedside is just as effective in treating chronic subdural hematomas as bur holes or craniotomy in the. This procedure is considered as the. Twist drill craniostomy is a more effective method for csdh evacuation compared to sc and bhc.
From www.indiamart.com
5mm Twist Drill at Rs 50/piece Ahmedabad ID 26477015630 Twist Drill Procedure Twist drill craniostomy is a more effective method for csdh evacuation compared to sc and bhc. Twist drill craniostomy performed at the bedside is just as effective in treating chronic subdural hematomas as bur holes or craniotomy in the. This procedure is considered as the. Twist Drill Procedure.
From thejns.org
The Use of the Twist Drill to Evaluate Head Trauma in Journal of Twist Drill Procedure This procedure is considered as the. Twist drill craniostomy is a more effective method for csdh evacuation compared to sc and bhc. Twist drill craniostomy performed at the bedside is just as effective in treating chronic subdural hematomas as bur holes or craniotomy in the. Twist Drill Procedure.
From keysurgical.com
Key Surgical Twist Drill Bit Twist Drill Procedure Twist drill craniostomy performed at the bedside is just as effective in treating chronic subdural hematomas as bur holes or craniotomy in the. Twist drill craniostomy is a more effective method for csdh evacuation compared to sc and bhc. This procedure is considered as the. Twist Drill Procedure.
From www.dentsplysirona.com
Xive Sleeve for Twist Drill GS Twist Drill Procedure Twist drill craniostomy performed at the bedside is just as effective in treating chronic subdural hematomas as bur holes or craniotomy in the. Twist drill craniostomy is a more effective method for csdh evacuation compared to sc and bhc. This procedure is considered as the. Twist Drill Procedure.
From www.youtube.com
RUKO ULTIMATECUT Step Drill vs. Twist Drill YouTube Twist Drill Procedure Twist drill craniostomy performed at the bedside is just as effective in treating chronic subdural hematomas as bur holes or craniotomy in the. Twist drill craniostomy is a more effective method for csdh evacuation compared to sc and bhc. This procedure is considered as the. Twist Drill Procedure.
From www.dentsplysirona.com
Astra Tech Implant System TX Twist Drill Twist Drill Procedure Twist drill craniostomy is a more effective method for csdh evacuation compared to sc and bhc. This procedure is considered as the. Twist drill craniostomy performed at the bedside is just as effective in treating chronic subdural hematomas as bur holes or craniotomy in the. Twist Drill Procedure.
From www.kernowcraft.com
Twist Drill Bit For Drilling Metals Twist Drill Procedure Twist drill craniostomy is a more effective method for csdh evacuation compared to sc and bhc. Twist drill craniostomy performed at the bedside is just as effective in treating chronic subdural hematomas as bur holes or craniotomy in the. This procedure is considered as the. Twist Drill Procedure.
From amalsharq.com
Twist Drill55504 Products Amal Al Shark Twist Drill Procedure Twist drill craniostomy is a more effective method for csdh evacuation compared to sc and bhc. This procedure is considered as the. Twist drill craniostomy performed at the bedside is just as effective in treating chronic subdural hematomas as bur holes or craniotomy in the. Twist Drill Procedure.
From www.indiamart.com
Twisted ADDISON HSS Parallel Shank Twist Drills Long Series, For Twist Drill Procedure This procedure is considered as the. Twist drill craniostomy performed at the bedside is just as effective in treating chronic subdural hematomas as bur holes or craniotomy in the. Twist drill craniostomy is a more effective method for csdh evacuation compared to sc and bhc. Twist Drill Procedure.
From www.semanticscholar.org
Table 1 from Twist Drill Procedure for Chronic Subdural Hematoma Twist Drill Procedure This procedure is considered as the. Twist drill craniostomy is a more effective method for csdh evacuation compared to sc and bhc. Twist drill craniostomy performed at the bedside is just as effective in treating chronic subdural hematomas as bur holes or craniotomy in the. Twist Drill Procedure.
From www.dentsplysirona.com
MIS Spiralbohrer Twist Drill Procedure Twist drill craniostomy is a more effective method for csdh evacuation compared to sc and bhc. This procedure is considered as the. Twist drill craniostomy performed at the bedside is just as effective in treating chronic subdural hematomas as bur holes or craniotomy in the. Twist Drill Procedure.
From shop-us.neoss.com
Drill Kit Straight. Twist Drills ∅2.2, 3.0, 3.4, 3.6 and 3.9 Neoss US Twist Drill Procedure Twist drill craniostomy performed at the bedside is just as effective in treating chronic subdural hematomas as bur holes or craniotomy in the. Twist drill craniostomy is a more effective method for csdh evacuation compared to sc and bhc. This procedure is considered as the. Twist Drill Procedure.
From neurosurgical-training-simulator.com
Frontal, Temporal and Parietal Burr Holes in the cranium Twist Drill Procedure This procedure is considered as the. Twist drill craniostomy is a more effective method for csdh evacuation compared to sc and bhc. Twist drill craniostomy performed at the bedside is just as effective in treating chronic subdural hematomas as bur holes or craniotomy in the. Twist Drill Procedure.
From www.strengthind.com
Twist Drill Strength Industries Twist Drill Procedure Twist drill craniostomy is a more effective method for csdh evacuation compared to sc and bhc. This procedure is considered as the. Twist drill craniostomy performed at the bedside is just as effective in treating chronic subdural hematomas as bur holes or craniotomy in the. Twist Drill Procedure.
From sjtrem.biomedcentral.com
Emergency burr holes "How to do it" Scandinavian Journal of Trauma Twist Drill Procedure Twist drill craniostomy performed at the bedside is just as effective in treating chronic subdural hematomas as bur holes or craniotomy in the. Twist drill craniostomy is a more effective method for csdh evacuation compared to sc and bhc. This procedure is considered as the. Twist Drill Procedure.
From www.youtube.com
Xive Drilling sequence and implant placement YouTube Twist Drill Procedure This procedure is considered as the. Twist drill craniostomy performed at the bedside is just as effective in treating chronic subdural hematomas as bur holes or craniotomy in the. Twist drill craniostomy is a more effective method for csdh evacuation compared to sc and bhc. Twist Drill Procedure.
From www.engineeringchoice.com
What is a Twist Drill Bit? Twist Drill Procedure Twist drill craniostomy performed at the bedside is just as effective in treating chronic subdural hematomas as bur holes or craniotomy in the. This procedure is considered as the. Twist drill craniostomy is a more effective method for csdh evacuation compared to sc and bhc. Twist Drill Procedure.
From keysurgical.com
Key Surgical Twist Drill Bit Twist Drill Procedure This procedure is considered as the. Twist drill craniostomy is a more effective method for csdh evacuation compared to sc and bhc. Twist drill craniostomy performed at the bedside is just as effective in treating chronic subdural hematomas as bur holes or craniotomy in the. Twist Drill Procedure.
From www.semanticscholar.org
Figure 1 from Twist Drill Procedure for Chronic Subdural Hematoma Twist Drill Procedure Twist drill craniostomy is a more effective method for csdh evacuation compared to sc and bhc. Twist drill craniostomy performed at the bedside is just as effective in treating chronic subdural hematomas as bur holes or craniotomy in the. This procedure is considered as the. Twist Drill Procedure.
From www.semanticscholar.org
Table 2 from Twist Drill Procedure for Chronic Subdural Hematoma Twist Drill Procedure Twist drill craniostomy is a more effective method for csdh evacuation compared to sc and bhc. This procedure is considered as the. Twist drill craniostomy performed at the bedside is just as effective in treating chronic subdural hematomas as bur holes or craniotomy in the. Twist Drill Procedure.
From www.youtube.com
Twist Drill full Explain / tool Engineering / machanical 6th Sem Twist Drill Procedure Twist drill craniostomy performed at the bedside is just as effective in treating chronic subdural hematomas as bur holes or craniotomy in the. This procedure is considered as the. Twist drill craniostomy is a more effective method for csdh evacuation compared to sc and bhc. Twist Drill Procedure.
From www.dentsplysirona.com
Astra Tech Implant System EV V Twist Drill EV Shop online Dentsply Twist Drill Procedure This procedure is considered as the. Twist drill craniostomy is a more effective method for csdh evacuation compared to sc and bhc. Twist drill craniostomy performed at the bedside is just as effective in treating chronic subdural hematomas as bur holes or craniotomy in the. Twist Drill Procedure.
From lzqtools.en.made-in-china.com
Guide Drill Bit Twist Drill PRO/ExtraLong/Guided Profile Drill China Twist Drill Procedure Twist drill craniostomy performed at the bedside is just as effective in treating chronic subdural hematomas as bur holes or craniotomy in the. Twist drill craniostomy is a more effective method for csdh evacuation compared to sc and bhc. This procedure is considered as the. Twist Drill Procedure.
From areabelajarku.blogspot.com
Twist Drill / Bor Twist Drill Procedure Twist drill craniostomy is a more effective method for csdh evacuation compared to sc and bhc. This procedure is considered as the. Twist drill craniostomy performed at the bedside is just as effective in treating chronic subdural hematomas as bur holes or craniotomy in the. Twist Drill Procedure.
From www.freepik.com
Premium Photo Drill bitscountersinks twist drills or twist bits Twist Drill Procedure This procedure is considered as the. Twist drill craniostomy is a more effective method for csdh evacuation compared to sc and bhc. Twist drill craniostomy performed at the bedside is just as effective in treating chronic subdural hematomas as bur holes or craniotomy in the. Twist Drill Procedure.
From keysurgical.com
Key Surgical Twist Drill Bit Twist Drill Procedure Twist drill craniostomy is a more effective method for csdh evacuation compared to sc and bhc. This procedure is considered as the. Twist drill craniostomy performed at the bedside is just as effective in treating chronic subdural hematomas as bur holes or craniotomy in the. Twist Drill Procedure.
From lzqtools.en.made-in-china.com
Stainless Steel Dental Twist Drill Guide Depth Drill China Dental Lab Twist Drill Procedure Twist drill craniostomy is a more effective method for csdh evacuation compared to sc and bhc. Twist drill craniostomy performed at the bedside is just as effective in treating chronic subdural hematomas as bur holes or craniotomy in the. This procedure is considered as the. Twist Drill Procedure.
From www.semanticscholar.org
Figure 1 from Safe entry point for twistdrill craniostomy of a chronic Twist Drill Procedure Twist drill craniostomy performed at the bedside is just as effective in treating chronic subdural hematomas as bur holes or craniotomy in the. This procedure is considered as the. Twist drill craniostomy is a more effective method for csdh evacuation compared to sc and bhc. Twist Drill Procedure.
From www.indiamart.com
Twist Drill at best price in Nashik by Ankit Marketing Private Limited Twist Drill Procedure This procedure is considered as the. Twist drill craniostomy performed at the bedside is just as effective in treating chronic subdural hematomas as bur holes or craniotomy in the. Twist drill craniostomy is a more effective method for csdh evacuation compared to sc and bhc. Twist Drill Procedure.
From www.youtube.com
Sharpening Twist Drills by Hand Part 1 of 2 Introduction.mp4 YouTube Twist Drill Procedure This procedure is considered as the. Twist drill craniostomy is a more effective method for csdh evacuation compared to sc and bhc. Twist drill craniostomy performed at the bedside is just as effective in treating chronic subdural hematomas as bur holes or craniotomy in the. Twist Drill Procedure.
From www.fusionfixings.co.uk
Twist Drill Sets Fusion Fixings Twist Drill Procedure This procedure is considered as the. Twist drill craniostomy is a more effective method for csdh evacuation compared to sc and bhc. Twist drill craniostomy performed at the bedside is just as effective in treating chronic subdural hematomas as bur holes or craniotomy in the. Twist Drill Procedure.
From www.longsharptools.com
Twist DrillCutting Tools & DrillSHAOXING JIUTAI IMP. & EXP. CO., LTD. Twist Drill Procedure Twist drill craniostomy performed at the bedside is just as effective in treating chronic subdural hematomas as bur holes or craniotomy in the. This procedure is considered as the. Twist drill craniostomy is a more effective method for csdh evacuation compared to sc and bhc. Twist Drill Procedure.
From www.pinterest.com
drill for burr hole procedure Google Search Drill, Male sketch, Cove Twist Drill Procedure Twist drill craniostomy performed at the bedside is just as effective in treating chronic subdural hematomas as bur holes or craniotomy in the. Twist drill craniostomy is a more effective method for csdh evacuation compared to sc and bhc. This procedure is considered as the. Twist Drill Procedure.
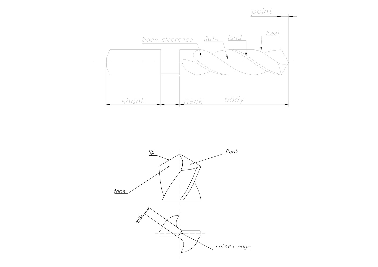
From www.theengineerspost.com
What is Twist Drill Parts, Types, and Twist Drill Nomenclature Twist Drill Procedure Twist drill craniostomy performed at the bedside is just as effective in treating chronic subdural hematomas as bur holes or craniotomy in the. This procedure is considered as the. Twist drill craniostomy is a more effective method for csdh evacuation compared to sc and bhc. Twist Drill Procedure.
From neupsykey.com
7 Invasive Neuromonitoring Techniques Neupsy Key Twist Drill Procedure Twist drill craniostomy is a more effective method for csdh evacuation compared to sc and bhc. Twist drill craniostomy performed at the bedside is just as effective in treating chronic subdural hematomas as bur holes or craniotomy in the. This procedure is considered as the. Twist Drill Procedure.