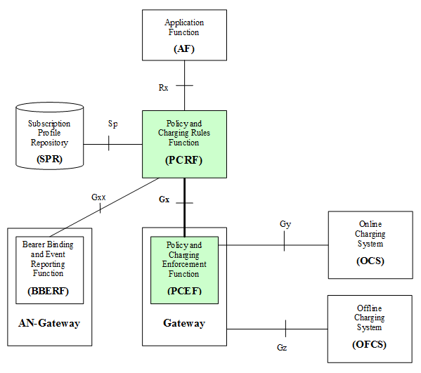
Interface Between Hss And Pcrf . After familiarising with main network elements, time has come to better know interfaces between those elements. This interface allows the pcrf to. Hss provides the information related to authentication and the user profile. All the user profiles are being stored there. 12 rows it lies between spr and pcrf. Interfaces allow the lte mme, sgw and pgw to cooperate with other network elements (e.g. 11 rows the epc is composed of several key network elements, such as the mobility management entity (mme), serving gateway (sgw), packet data network gateway (pgw), and the home. Each one of them is built in. Hss works as main data base or centre. Spr stands for subscription profile registry.
from www.netmanias.com
Hss provides the information related to authentication and the user profile. Each one of them is built in. After familiarising with main network elements, time has come to better know interfaces between those elements. Hss works as main data base or centre. 12 rows it lies between spr and pcrf. Interfaces allow the lte mme, sgw and pgw to cooperate with other network elements (e.g. Spr stands for subscription profile registry. 11 rows the epc is composed of several key network elements, such as the mobility management entity (mme), serving gateway (sgw), packet data network gateway (pgw), and the home. This interface allows the pcrf to. All the user profiles are being stored there.
Policy and Charging Rules Function (PCRF) in LTE EPC Core Network Technology NETMANIAS
Interface Between Hss And Pcrf 11 rows the epc is composed of several key network elements, such as the mobility management entity (mme), serving gateway (sgw), packet data network gateway (pgw), and the home. Interfaces allow the lte mme, sgw and pgw to cooperate with other network elements (e.g. Spr stands for subscription profile registry. 12 rows it lies between spr and pcrf. Hss provides the information related to authentication and the user profile. This interface allows the pcrf to. Each one of them is built in. After familiarising with main network elements, time has come to better know interfaces between those elements. Hss works as main data base or centre. 11 rows the epc is composed of several key network elements, such as the mobility management entity (mme), serving gateway (sgw), packet data network gateway (pgw), and the home. All the user profiles are being stored there.
From emblasoft.com
Exploring the 3GPP PCF Policy Control Function Emblasoft Interface Between Hss And Pcrf 12 rows it lies between spr and pcrf. 11 rows the epc is composed of several key network elements, such as the mobility management entity (mme), serving gateway (sgw), packet data network gateway (pgw), and the home. Hss provides the information related to authentication and the user profile. Hss works as main data base or centre. After familiarising with main. Interface Between Hss And Pcrf.
From www.slideshare.net
What is PCRF? Detailed PCRF architecture and functioning Interface Between Hss And Pcrf Each one of them is built in. Interfaces allow the lte mme, sgw and pgw to cooperate with other network elements (e.g. All the user profiles are being stored there. After familiarising with main network elements, time has come to better know interfaces between those elements. Spr stands for subscription profile registry. 11 rows the epc is composed of several. Interface Between Hss And Pcrf.
From www.slideserve.com
PPT Home Subscriber Server (HSS) PowerPoint Presentation, free download ID6673347 Interface Between Hss And Pcrf All the user profiles are being stored there. 12 rows it lies between spr and pcrf. Interfaces allow the lte mme, sgw and pgw to cooperate with other network elements (e.g. This interface allows the pcrf to. After familiarising with main network elements, time has come to better know interfaces between those elements. Hss provides the information related to authentication. Interface Between Hss And Pcrf.
From www.iplook.com
Policy and Charging Rules Function (PCRF), LTE core networkIPLOOK Interface Between Hss And Pcrf Hss provides the information related to authentication and the user profile. 12 rows it lies between spr and pcrf. Interfaces allow the lte mme, sgw and pgw to cooperate with other network elements (e.g. All the user profiles are being stored there. This interface allows the pcrf to. After familiarising with main network elements, time has come to better know. Interface Between Hss And Pcrf.
From diametriq.com
HSS and PCRF Load Balancing and Binding InterPLMN (Roaming) Diametriq Interface Between Hss And Pcrf Each one of them is built in. Hss provides the information related to authentication and the user profile. After familiarising with main network elements, time has come to better know interfaces between those elements. Hss works as main data base or centre. 12 rows it lies between spr and pcrf. All the user profiles are being stored there. This interface. Interface Between Hss And Pcrf.
From nippytest.blogspot.com
NippyTest PCRF AF Interface Between Hss And Pcrf This interface allows the pcrf to. Spr stands for subscription profile registry. Hss provides the information related to authentication and the user profile. 11 rows the epc is composed of several key network elements, such as the mobility management entity (mme), serving gateway (sgw), packet data network gateway (pgw), and the home. Each one of them is built in. After. Interface Between Hss And Pcrf.
From www.netmanias.com
Policy and Charging Rules Function (PCRF) in LTE EPC Core Network Technology NETMANIAS Interface Between Hss And Pcrf After familiarising with main network elements, time has come to better know interfaces between those elements. This interface allows the pcrf to. Interfaces allow the lte mme, sgw and pgw to cooperate with other network elements (e.g. Hss provides the information related to authentication and the user profile. All the user profiles are being stored there. Spr stands for subscription. Interface Between Hss And Pcrf.
From www.iplook.com
Policy and Charging Rules Function (PCRF), LTE core networkIPLOOK Interface Between Hss And Pcrf Hss provides the information related to authentication and the user profile. This interface allows the pcrf to. All the user profiles are being stored there. 11 rows the epc is composed of several key network elements, such as the mobility management entity (mme), serving gateway (sgw), packet data network gateway (pgw), and the home. Hss works as main data base. Interface Between Hss And Pcrf.
From www.cisco.com
Ultra Cloud Core 5G Policy Control Function, Release 2020.05 Configuration and Administration Interface Between Hss And Pcrf Hss provides the information related to authentication and the user profile. 12 rows it lies between spr and pcrf. Each one of them is built in. 11 rows the epc is composed of several key network elements, such as the mobility management entity (mme), serving gateway (sgw), packet data network gateway (pgw), and the home. Spr stands for subscription profile. Interface Between Hss And Pcrf.
From diametriq.com
3gpp Diameter, HSS and PCRF Load Balancing and Binding for Non3GPP Access Applications Interface Between Hss And Pcrf This interface allows the pcrf to. After familiarising with main network elements, time has come to better know interfaces between those elements. Hss provides the information related to authentication and the user profile. Spr stands for subscription profile registry. Interfaces allow the lte mme, sgw and pgw to cooperate with other network elements (e.g. All the user profiles are being. Interface Between Hss And Pcrf.
From www.scribd.com
The Sy Interface Between PCRF and OCS LTE and BEYOND TechBlog On 4G LTE and Beyond. PDF Interface Between Hss And Pcrf Spr stands for subscription profile registry. 12 rows it lies between spr and pcrf. This interface allows the pcrf to. Interfaces allow the lte mme, sgw and pgw to cooperate with other network elements (e.g. After familiarising with main network elements, time has come to better know interfaces between those elements. Hss works as main data base or centre. Hss. Interface Between Hss And Pcrf.
From www.researchgate.net
Architectural proposal, visualizing the 4G and 5G mobile control... Download Scientific Diagram Interface Between Hss And Pcrf 11 rows the epc is composed of several key network elements, such as the mobility management entity (mme), serving gateway (sgw), packet data network gateway (pgw), and the home. Interfaces allow the lte mme, sgw and pgw to cooperate with other network elements (e.g. Hss works as main data base or centre. Spr stands for subscription profile registry. Each one. Interface Between Hss And Pcrf.
From www.cisco.com
MME Administration Guide, StarOS Release 20 HSSbased PCSCF Restoration [Cisco ASR 5000 Interface Between Hss And Pcrf After familiarising with main network elements, time has come to better know interfaces between those elements. This interface allows the pcrf to. Spr stands for subscription profile registry. Hss works as main data base or centre. 12 rows it lies between spr and pcrf. Hss provides the information related to authentication and the user profile. Each one of them is. Interface Between Hss And Pcrf.
From www.iplook.com
Policy and Charging Rules Function (PCRF), LTE core networkIPLOOK Interface Between Hss And Pcrf All the user profiles are being stored there. Spr stands for subscription profile registry. Hss provides the information related to authentication and the user profile. Each one of them is built in. 11 rows the epc is composed of several key network elements, such as the mobility management entity (mme), serving gateway (sgw), packet data network gateway (pgw), and the. Interface Between Hss And Pcrf.
From www.cisco.com
ePDG Administration Guide, StarOS Release 20 Evolved Packet Data Gateway Overview [Cisco ePDG Interface Between Hss And Pcrf 11 rows the epc is composed of several key network elements, such as the mobility management entity (mme), serving gateway (sgw), packet data network gateway (pgw), and the home. 12 rows it lies between spr and pcrf. All the user profiles are being stored there. Spr stands for subscription profile registry. Hss works as main data base or centre. This. Interface Between Hss And Pcrf.
From www.netmanias.com
Policy and Charging Rules Function (PCRF) in LTE EPC Core Network Technology NETMANIAS Interface Between Hss And Pcrf Each one of them is built in. After familiarising with main network elements, time has come to better know interfaces between those elements. This interface allows the pcrf to. Hss works as main data base or centre. All the user profiles are being stored there. Interfaces allow the lte mme, sgw and pgw to cooperate with other network elements (e.g.. Interface Between Hss And Pcrf.
From www.queryhome.com
Binding Mechanisms used in Policy and Charging Control (PCC). Interface Between Hss And Pcrf Spr stands for subscription profile registry. Each one of them is built in. 12 rows it lies between spr and pcrf. After familiarising with main network elements, time has come to better know interfaces between those elements. Hss provides the information related to authentication and the user profile. This interface allows the pcrf to. Interfaces allow the lte mme, sgw. Interface Between Hss And Pcrf.
From www.telecomtutorial.info
03 VoWifi ePDG AAA and Architecture (New) Interface Between Hss And Pcrf Hss provides the information related to authentication and the user profile. Hss works as main data base or centre. This interface allows the pcrf to. Spr stands for subscription profile registry. Interfaces allow the lte mme, sgw and pgw to cooperate with other network elements (e.g. 11 rows the epc is composed of several key network elements, such as the. Interface Between Hss And Pcrf.
From www.modulo.co.il
PCRF Functional Tester Modulo C.S. Interface Between Hss And Pcrf After familiarising with main network elements, time has come to better know interfaces between those elements. 11 rows the epc is composed of several key network elements, such as the mobility management entity (mme), serving gateway (sgw), packet data network gateway (pgw), and the home. Interfaces allow the lte mme, sgw and pgw to cooperate with other network elements (e.g.. Interface Between Hss And Pcrf.
From www.comviva.com
What is PCRF in (Policy and Charging Rules Function) Architecture & Benefits Comviva Interface Between Hss And Pcrf Hss provides the information related to authentication and the user profile. Hss works as main data base or centre. 11 rows the epc is composed of several key network elements, such as the mobility management entity (mme), serving gateway (sgw), packet data network gateway (pgw), and the home. After familiarising with main network elements, time has come to better know. Interface Between Hss And Pcrf.
From www.telecomtutorial.info
06. VoLTE Interfaces , Protocols & IMS Stack Interface Between Hss And Pcrf Hss works as main data base or centre. All the user profiles are being stored there. Spr stands for subscription profile registry. Each one of them is built in. This interface allows the pcrf to. 12 rows it lies between spr and pcrf. After familiarising with main network elements, time has come to better know interfaces between those elements. 11. Interface Between Hss And Pcrf.
From diameter-protocol.blogspot.com
Diameter Protocol Explained Zh Interface (BSF HSS) Interface Between Hss And Pcrf Hss provides the information related to authentication and the user profile. 11 rows the epc is composed of several key network elements, such as the mobility management entity (mme), serving gateway (sgw), packet data network gateway (pgw), and the home. 12 rows it lies between spr and pcrf. This interface allows the pcrf to. Each one of them is built. Interface Between Hss And Pcrf.
From broabandtrafficmanagement.blogspot.com
Broadband Traffic Management August 2011 Interface Between Hss And Pcrf 12 rows it lies between spr and pcrf. Spr stands for subscription profile registry. Each one of them is built in. Hss provides the information related to authentication and the user profile. All the user profiles are being stored there. This interface allows the pcrf to. 11 rows the epc is composed of several key network elements, such as the. Interface Between Hss And Pcrf.
From www.openairinterface.org
OAI 5G CORE NETWORK PROJECT OpenAirInterface Interface Between Hss And Pcrf Hss works as main data base or centre. All the user profiles are being stored there. This interface allows the pcrf to. Hss provides the information related to authentication and the user profile. Spr stands for subscription profile registry. Each one of them is built in. 11 rows the epc is composed of several key network elements, such as the. Interface Between Hss And Pcrf.
From www.youtube.com
LTE PCRF Interface YouTube Interface Between Hss And Pcrf All the user profiles are being stored there. 11 rows the epc is composed of several key network elements, such as the mobility management entity (mme), serving gateway (sgw), packet data network gateway (pgw), and the home. Hss works as main data base or centre. 12 rows it lies between spr and pcrf. Each one of them is built in.. Interface Between Hss And Pcrf.
From www.scribd.com
PCRF and PCEF (Gx Interface) Ip Address Computer Networking Interface Between Hss And Pcrf 11 rows the epc is composed of several key network elements, such as the mobility management entity (mme), serving gateway (sgw), packet data network gateway (pgw), and the home. Interfaces allow the lte mme, sgw and pgw to cooperate with other network elements (e.g. Hss works as main data base or centre. Hss provides the information related to authentication and. Interface Between Hss And Pcrf.
From www.lteandbeyond.com
The Sy interface between PCRF and OCS LTE AND BEYOND Techblog on 4G/LTE and beyond.. Interface Between Hss And Pcrf Interfaces allow the lte mme, sgw and pgw to cooperate with other network elements (e.g. Each one of them is built in. All the user profiles are being stored there. 11 rows the epc is composed of several key network elements, such as the mobility management entity (mme), serving gateway (sgw), packet data network gateway (pgw), and the home. Hss. Interface Between Hss And Pcrf.
From www.scribd.com
The Sy Interface Between PCRF and OCS LTE AND BEYOND TechBlog On 4G LTE and Beyond Interface Between Hss And Pcrf Interfaces allow the lte mme, sgw and pgw to cooperate with other network elements (e.g. 12 rows it lies between spr and pcrf. Each one of them is built in. Hss works as main data base or centre. All the user profiles are being stored there. This interface allows the pcrf to. Spr stands for subscription profile registry. 11 rows. Interface Between Hss And Pcrf.
From www.cisco.com
PGW Administration Guide, StarOS Release 21.1 HSS and PCRF Based PCSCF Restoration Support Interface Between Hss And Pcrf Hss works as main data base or centre. Each one of them is built in. Interfaces allow the lte mme, sgw and pgw to cooperate with other network elements (e.g. 12 rows it lies between spr and pcrf. Spr stands for subscription profile registry. Hss provides the information related to authentication and the user profile. This interface allows the pcrf. Interface Between Hss And Pcrf.
From www.cisco.com
SAEGW Administration Guide, StarOS Release 21.27 HSS and PCRF Based PCSCF Restoration Support Interface Between Hss And Pcrf 12 rows it lies between spr and pcrf. Hss provides the information related to authentication and the user profile. Spr stands for subscription profile registry. Hss works as main data base or centre. 11 rows the epc is composed of several key network elements, such as the mobility management entity (mme), serving gateway (sgw), packet data network gateway (pgw), and. Interface Between Hss And Pcrf.
From www.netmanias.com
Policy and Charging Rules Function (PCRF) in LTE EPC Core Network Technology NETMANIAS Interface Between Hss And Pcrf Hss works as main data base or centre. This interface allows the pcrf to. After familiarising with main network elements, time has come to better know interfaces between those elements. All the user profiles are being stored there. Spr stands for subscription profile registry. 11 rows the epc is composed of several key network elements, such as the mobility management. Interface Between Hss And Pcrf.
From www.lteandbeyond.com
Gx interface sitting between PCRF and PCEF LTE AND BEYOND Techblog on 4G/LTE and beyond.. Interface Between Hss And Pcrf Each one of them is built in. Spr stands for subscription profile registry. 12 rows it lies between spr and pcrf. After familiarising with main network elements, time has come to better know interfaces between those elements. Interfaces allow the lte mme, sgw and pgw to cooperate with other network elements (e.g. All the user profiles are being stored there.. Interface Between Hss And Pcrf.
From www.parallelwireless.com
Virtualized Evolved Packet Core (vEPC) • Parallel Wireless Interface Between Hss And Pcrf Interfaces allow the lte mme, sgw and pgw to cooperate with other network elements (e.g. Each one of them is built in. Hss works as main data base or centre. After familiarising with main network elements, time has come to better know interfaces between those elements. Hss provides the information related to authentication and the user profile. 11 rows the. Interface Between Hss And Pcrf.
From www.cisco.com
SAEGW Administration Guide, StarOS Release 21 HSS and PCRF Based PCSCF Restoration Support Interface Between Hss And Pcrf Spr stands for subscription profile registry. All the user profiles are being stored there. 11 rows the epc is composed of several key network elements, such as the mobility management entity (mme), serving gateway (sgw), packet data network gateway (pgw), and the home. Hss works as main data base or centre. Each one of them is built in. 12 rows. Interface Between Hss And Pcrf.
From diametriq.com
HSS, PCRF and OCS/OFCS Load Balancing in IMS Diametriq Interface Between Hss And Pcrf After familiarising with main network elements, time has come to better know interfaces between those elements. 11 rows the epc is composed of several key network elements, such as the mobility management entity (mme), serving gateway (sgw), packet data network gateway (pgw), and the home. Spr stands for subscription profile registry. 12 rows it lies between spr and pcrf. Each. Interface Between Hss And Pcrf.