Gooseneck Die Bending . 1v die or a single v press brake die is the most common type of die. Gooseneck punches are ideal for forming special shapes where a 90 degree punch would. Press brake punches and dies for all your tooling needs. For a v die, as long as the same principles are applied, the maximum tonnage is 30 tons per foot under maximum load (half that tonnage per foot for a sectionalized set). Acute dies are the most universal type of press brake dies. Langmuir gooseneck upper die bending 1/8” with 26mm acute lower die with new backgage fingers. Recommended as a starter set. Discover the types of top punches. It has a single groove that is suitable for certain angles and radii. Bending solutions to solve common to complex forming problems. This blog post dives into the fascinating world of press brake machines and bending dies. Quality and value supplier of all makes and models of press brake tooling. Leading the way to your fabricating success since 1969.
from www.pressbrake-machine.com
For a v die, as long as the same principles are applied, the maximum tonnage is 30 tons per foot under maximum load (half that tonnage per foot for a sectionalized set). It has a single groove that is suitable for certain angles and radii. Gooseneck punches are ideal for forming special shapes where a 90 degree punch would. Quality and value supplier of all makes and models of press brake tooling. Press brake punches and dies for all your tooling needs. Leading the way to your fabricating success since 1969. Recommended as a starter set. Discover the types of top punches. Acute dies are the most universal type of press brake dies. Langmuir gooseneck upper die bending 1/8” with 26mm acute lower die with new backgage fingers.
Hydraulic Press Brake gooseneck Tooling Single Process Mould Bending Forming Die
Gooseneck Die Bending 1v die or a single v press brake die is the most common type of die. Acute dies are the most universal type of press brake dies. Discover the types of top punches. Bending solutions to solve common to complex forming problems. Leading the way to your fabricating success since 1969. Gooseneck punches are ideal for forming special shapes where a 90 degree punch would. Press brake punches and dies for all your tooling needs. For a v die, as long as the same principles are applied, the maximum tonnage is 30 tons per foot under maximum load (half that tonnage per foot for a sectionalized set). It has a single groove that is suitable for certain angles and radii. Recommended as a starter set. Langmuir gooseneck upper die bending 1/8” with 26mm acute lower die with new backgage fingers. This blog post dives into the fascinating world of press brake machines and bending dies. 1v die or a single v press brake die is the most common type of die. Quality and value supplier of all makes and models of press brake tooling.
From www.alibaba.com
Gooseneck Bending Tools Metal Punch And Die For Cnc Press Brake Buy Gooseneck Bending Tools Gooseneck Die Bending 1v die or a single v press brake die is the most common type of die. Acute dies are the most universal type of press brake dies. Leading the way to your fabricating success since 1969. Recommended as a starter set. Bending solutions to solve common to complex forming problems. This blog post dives into the fascinating world of press. Gooseneck Die Bending.
From yehe8888.en.made-in-china.com
Customized Gooseneck Bending Tools Metal Punch and Die for CNC Press Brake China Bending Press Gooseneck Die Bending Leading the way to your fabricating success since 1969. Gooseneck punches are ideal for forming special shapes where a 90 degree punch would. This blog post dives into the fascinating world of press brake machines and bending dies. 1v die or a single v press brake die is the most common type of die. Bending solutions to solve common to. Gooseneck Die Bending.
From www.youtube.com
CNC Press Brake Goose Neck Punch and Die,Gooseneck Punch & Offset Die Press Brake Tooling YouTube Gooseneck Die Bending Quality and value supplier of all makes and models of press brake tooling. Acute dies are the most universal type of press brake dies. Recommended as a starter set. For a v die, as long as the same principles are applied, the maximum tonnage is 30 tons per foot under maximum load (half that tonnage per foot for a sectionalized. Gooseneck Die Bending.
From www.youtube.com
40T2200 SNC53 sharp die, multiV die, flat die, gooseneck die bending operation YouTube Gooseneck Die Bending Acute dies are the most universal type of press brake dies. Langmuir gooseneck upper die bending 1/8” with 26mm acute lower die with new backgage fingers. Recommended as a starter set. Quality and value supplier of all makes and models of press brake tooling. For a v die, as long as the same principles are applied, the maximum tonnage is. Gooseneck Die Bending.
From www.harsle.com
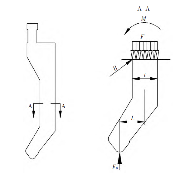
Design of Gooseneck Type Bending Die and Intensity Analysis HARSLE MACHINE Gooseneck Die Bending For a v die, as long as the same principles are applied, the maximum tonnage is 30 tons per foot under maximum load (half that tonnage per foot for a sectionalized set). Bending solutions to solve common to complex forming problems. Quality and value supplier of all makes and models of press brake tooling. Gooseneck punches are ideal for forming. Gooseneck Die Bending.
From www.alibaba.com
Metal Mold Gooseneck Bending Punch Tools Buy Gooseneck Bending Punch Tools,Cnc Turret Press Gooseneck Die Bending Press brake punches and dies for all your tooling needs. This blog post dives into the fascinating world of press brake machines and bending dies. 1v die or a single v press brake die is the most common type of die. Quality and value supplier of all makes and models of press brake tooling. Leading the way to your fabricating. Gooseneck Die Bending.
From www.harsle.com
Selection of bending die for bending machine HARSLE MACHINE Gooseneck Die Bending 1v die or a single v press brake die is the most common type of die. This blog post dives into the fascinating world of press brake machines and bending dies. Leading the way to your fabricating success since 1969. Gooseneck punches are ideal for forming special shapes where a 90 degree punch would. Recommended as a starter set. It. Gooseneck Die Bending.
From www.youtube.com
ROTARY DIE BENDER DESIGN [] BENDING DIE DESIGN YouTube Gooseneck Die Bending Discover the types of top punches. Gooseneck punches are ideal for forming special shapes where a 90 degree punch would. Quality and value supplier of all makes and models of press brake tooling. It has a single groove that is suitable for certain angles and radii. Press brake punches and dies for all your tooling needs. Recommended as a starter. Gooseneck Die Bending.
From masshenlite.en.made-in-china.com
Goose Neck Tooling Die for CNC Sheet Metal Bending Press Brake Machine China Press Brake Gooseneck Die Bending Leading the way to your fabricating success since 1969. Recommended as a starter set. Gooseneck punches are ideal for forming special shapes where a 90 degree punch would. Acute dies are the most universal type of press brake dies. Quality and value supplier of all makes and models of press brake tooling. Bending solutions to solve common to complex forming. Gooseneck Die Bending.
From masshenlite.en.made-in-china.com
Good Hardness Gooseneck Bending Tool Die and Punch for Progressive Press Brake China Bending Gooseneck Die Bending Acute dies are the most universal type of press brake dies. It has a single groove that is suitable for certain angles and radii. Discover the types of top punches. For a v die, as long as the same principles are applied, the maximum tonnage is 30 tons per foot under maximum load (half that tonnage per foot for a. Gooseneck Die Bending.
From masshenlite.en.made-in-china.com
Shinite Brand Special Gooseneck Bending Machine Die Tool and Press Brake Dies Gooseneck Punches Gooseneck Die Bending Bending solutions to solve common to complex forming problems. It has a single groove that is suitable for certain angles and radii. Quality and value supplier of all makes and models of press brake tooling. Press brake punches and dies for all your tooling needs. 1v die or a single v press brake die is the most common type of. Gooseneck Die Bending.
From www.harsle.com
Basic Die Bending Operations HARSLE Gooseneck Die Bending Press brake punches and dies for all your tooling needs. This blog post dives into the fascinating world of press brake machines and bending dies. Bending solutions to solve common to complex forming problems. Discover the types of top punches. Langmuir gooseneck upper die bending 1/8” with 26mm acute lower die with new backgage fingers. Leading the way to your. Gooseneck Die Bending.
From www.allmetalbrake.com
Hydraulic Bending Machine, Bending Die, Bending Die, Gooseneck Bending Die Gooseneck Die Bending Langmuir gooseneck upper die bending 1/8” with 26mm acute lower die with new backgage fingers. It has a single groove that is suitable for certain angles and radii. Discover the types of top punches. Recommended as a starter set. Press brake punches and dies for all your tooling needs. Quality and value supplier of all makes and models of press. Gooseneck Die Bending.
From quapin.en.made-in-china.com
Amada Bending Forming Forming Dies Gooseneck Tool China Amada Bending Tool and FinnPower Gooseneck Die Bending It has a single groove that is suitable for certain angles and radii. Leading the way to your fabricating success since 1969. This blog post dives into the fascinating world of press brake machines and bending dies. Press brake punches and dies for all your tooling needs. Bending solutions to solve common to complex forming problems. Quality and value supplier. Gooseneck Die Bending.
From www.allmetalbrake.com
Hydraulic Bending Machine, Bending Die, Bending Die, Gooseneck Bending Die Gooseneck Die Bending Langmuir gooseneck upper die bending 1/8” with 26mm acute lower die with new backgage fingers. Press brake punches and dies for all your tooling needs. This blog post dives into the fascinating world of press brake machines and bending dies. Recommended as a starter set. Bending solutions to solve common to complex forming problems. Acute dies are the most universal. Gooseneck Die Bending.
From xinmechan.en.made-in-china.com
Gooseneck Punch Press Brake Tool Bending Die for Hydraulic Sheet Metal Plate Bending Machine Gooseneck Die Bending Gooseneck punches are ideal for forming special shapes where a 90 degree punch would. Bending solutions to solve common to complex forming problems. Press brake punches and dies for all your tooling needs. Acute dies are the most universal type of press brake dies. Langmuir gooseneck upper die bending 1/8” with 26mm acute lower die with new backgage fingers. Recommended. Gooseneck Die Bending.
From pressbrake.tools
Gooseneck Punches Bending Tools Press Brake Tools Gooseneck Die Bending Langmuir gooseneck upper die bending 1/8” with 26mm acute lower die with new backgage fingers. Acute dies are the most universal type of press brake dies. Bending solutions to solve common to complex forming problems. Leading the way to your fabricating success since 1969. Press brake punches and dies for all your tooling needs. Gooseneck punches are ideal for forming. Gooseneck Die Bending.
From midwestpressbrake.com
Gooseneck Midwest Press Brake Dies Inc. Gooseneck Die Bending For a v die, as long as the same principles are applied, the maximum tonnage is 30 tons per foot under maximum load (half that tonnage per foot for a sectionalized set). Press brake punches and dies for all your tooling needs. Bending solutions to solve common to complex forming problems. Langmuir gooseneck upper die bending 1/8” with 26mm acute. Gooseneck Die Bending.
From www.youtube.com
Gooseneck die and punch bend plate in CNC press brake, China Gooseneck Punch Factory. YouTube Gooseneck Die Bending Press brake punches and dies for all your tooling needs. Acute dies are the most universal type of press brake dies. Bending solutions to solve common to complex forming problems. Langmuir gooseneck upper die bending 1/8” with 26mm acute lower die with new backgage fingers. Discover the types of top punches. Recommended as a starter set. Quality and value supplier. Gooseneck Die Bending.
From quapin.en.made-in-china.com
Press Brake Tools Gooseneck Bending 2V Die Wila Machine Punch China Amada Bending Tool and Gooseneck Die Bending Leading the way to your fabricating success since 1969. Quality and value supplier of all makes and models of press brake tooling. Bending solutions to solve common to complex forming problems. Press brake punches and dies for all your tooling needs. For a v die, as long as the same principles are applied, the maximum tonnage is 30 tons per. Gooseneck Die Bending.
From xinmechan.en.made-in-china.com
Press Brake Tooling Upper Punch Gooseneck Die Press Brake Tooling Dies for Plate Bending Upper Gooseneck Die Bending Press brake punches and dies for all your tooling needs. Recommended as a starter set. For a v die, as long as the same principles are applied, the maximum tonnage is 30 tons per foot under maximum load (half that tonnage per foot for a sectionalized set). 1v die or a single v press brake die is the most common. Gooseneck Die Bending.
From masshenlite.en.made-in-china.com
Shinite Special Gooseneck Bending Machine Mould Tools and Press Brake Dies Gooseneck Punches Gooseneck Die Bending Acute dies are the most universal type of press brake dies. Press brake punches and dies for all your tooling needs. It has a single groove that is suitable for certain angles and radii. For a v die, as long as the same principles are applied, the maximum tonnage is 30 tons per foot under maximum load (half that tonnage. Gooseneck Die Bending.
From www.pinterest.com
6PB20TFGNDSWAG Gooseneck Dies, Fit The 12 Ton, 20 Ton & 20. Metal bending tools, Metal Gooseneck Die Bending This blog post dives into the fascinating world of press brake machines and bending dies. It has a single groove that is suitable for certain angles and radii. Langmuir gooseneck upper die bending 1/8” with 26mm acute lower die with new backgage fingers. Quality and value supplier of all makes and models of press brake tooling. Recommended as a starter. Gooseneck Die Bending.
From www.youtube.com
TFI Co.'s Gooseneck Press Brake Tools UAE UChannel Bending Die YouTube Gooseneck Die Bending Leading the way to your fabricating success since 1969. Press brake punches and dies for all your tooling needs. This blog post dives into the fascinating world of press brake machines and bending dies. Gooseneck punches are ideal for forming special shapes where a 90 degree punch would. It has a single groove that is suitable for certain angles and. Gooseneck Die Bending.
From www.pressbrake-machine.com
Hydraulic Press Brake gooseneck Tooling Single Process Mould Bending Forming Die Gooseneck Die Bending Gooseneck punches are ideal for forming special shapes where a 90 degree punch would. Recommended as a starter set. 1v die or a single v press brake die is the most common type of die. Acute dies are the most universal type of press brake dies. Leading the way to your fabricating success since 1969. This blog post dives into. Gooseneck Die Bending.
From www.alibaba.com
Amada Style Gooseneck Bending Tool/press Brake Punch And Die Buy Press Brake Punch And Die Gooseneck Die Bending Acute dies are the most universal type of press brake dies. For a v die, as long as the same principles are applied, the maximum tonnage is 30 tons per foot under maximum load (half that tonnage per foot for a sectionalized set). This blog post dives into the fascinating world of press brake machines and bending dies. Press brake. Gooseneck Die Bending.
From www.brakepresstools.com
50HRC Gooseneck Punches Dies Hydraulic CNC Rigid Bending Machine Mould Tools Gooseneck Die Bending Press brake punches and dies for all your tooling needs. Discover the types of top punches. This blog post dives into the fascinating world of press brake machines and bending dies. Leading the way to your fabricating success since 1969. 1v die or a single v press brake die is the most common type of die. Bending solutions to solve. Gooseneck Die Bending.
From ahshmt.en.made-in-china.com
Toolings for Hydraulic Press Brake, Bending Die, Bending Tooling, Gooseneck Bending Die China Gooseneck Die Bending For a v die, as long as the same principles are applied, the maximum tonnage is 30 tons per foot under maximum load (half that tonnage per foot for a sectionalized set). It has a single groove that is suitable for certain angles and radii. Bending solutions to solve common to complex forming problems. Discover the types of top punches.. Gooseneck Die Bending.
From midwestpressbrake.com
Gooseneck Midwest Press Brake Dies Inc. Gooseneck Die Bending Gooseneck punches are ideal for forming special shapes where a 90 degree punch would. Acute dies are the most universal type of press brake dies. Bending solutions to solve common to complex forming problems. 1v die or a single v press brake die is the most common type of die. For a v die, as long as the same principles. Gooseneck Die Bending.
From midwestpressbrake.com
Aero Gooseneck Midwest Press Brake Dies Inc. Gooseneck Die Bending 1v die or a single v press brake die is the most common type of die. Gooseneck punches are ideal for forming special shapes where a 90 degree punch would. Quality and value supplier of all makes and models of press brake tooling. Bending solutions to solve common to complex forming problems. For a v die, as long as the. Gooseneck Die Bending.
From www.pinterest.com.mx
Photo of New Standard Gooseneck Punch and Die Sheet metal work, Metal bending tools, Metal bending Gooseneck Die Bending Bending solutions to solve common to complex forming problems. Recommended as a starter set. Gooseneck punches are ideal for forming special shapes where a 90 degree punch would. It has a single groove that is suitable for certain angles and radii. Quality and value supplier of all makes and models of press brake tooling. Discover the types of top punches.. Gooseneck Die Bending.
From www.harsle.com
Design of Gooseneck Type Bending Die and Intensity Analysis HARSLE MACHINE Gooseneck Die Bending Acute dies are the most universal type of press brake dies. Discover the types of top punches. 1v die or a single v press brake die is the most common type of die. For a v die, as long as the same principles are applied, the maximum tonnage is 30 tons per foot under maximum load (half that tonnage per. Gooseneck Die Bending.
From xinmechan.en.made-in-china.com
Gooseneck Bending Tools Metal Punch and Die for CNC Press Brake China Gooseneck Bending Tools Gooseneck Die Bending Acute dies are the most universal type of press brake dies. Quality and value supplier of all makes and models of press brake tooling. It has a single groove that is suitable for certain angles and radii. This blog post dives into the fascinating world of press brake machines and bending dies. Press brake punches and dies for all your. Gooseneck Die Bending.
From www.youtube.com
80Tons metal sheet bending machine, 2500mm NC press brake with gooseneck punch and dies YouTube Gooseneck Die Bending It has a single groove that is suitable for certain angles and radii. Recommended as a starter set. Acute dies are the most universal type of press brake dies. Quality and value supplier of all makes and models of press brake tooling. Langmuir gooseneck upper die bending 1/8” with 26mm acute lower die with new backgage fingers. 1v die or. Gooseneck Die Bending.
From masshenlite.en.made-in-china.com
CNC Brake Press Tooling Bending Machine Gooseneck Dies Sheet Metal Bending Die China CNC Gooseneck Die Bending Leading the way to your fabricating success since 1969. Recommended as a starter set. Bending solutions to solve common to complex forming problems. For a v die, as long as the same principles are applied, the maximum tonnage is 30 tons per foot under maximum load (half that tonnage per foot for a sectionalized set). Quality and value supplier of. Gooseneck Die Bending.