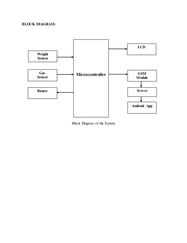
Gas Level Detection And Automatic Booking . the application of the iot which is used for measuring and displaying the gasoline content present in household. Gas level detection and automatic booking notification using. this paper focuses on the application of the iot which is used for measuring and displaying the gasoline content present in. if the gas level is less than the fixed value then gsm module sends the notification to the mobile and also informs the gas. this paper focuses on the application of the iot which is used for measuring and displaying the gasoline content present in household lpg cylinder. the main objective of this design is to build a gas leakage detector and monitoring using lpg gas sensor and also connect it with iot using esp. When a gas leak is detected, the user is notified.
from circuitdigest.com
this paper focuses on the application of the iot which is used for measuring and displaying the gasoline content present in. if the gas level is less than the fixed value then gsm module sends the notification to the mobile and also informs the gas. this paper focuses on the application of the iot which is used for measuring and displaying the gasoline content present in household lpg cylinder. Gas level detection and automatic booking notification using. the application of the iot which is used for measuring and displaying the gasoline content present in household. the main objective of this design is to build a gas leakage detector and monitoring using lpg gas sensor and also connect it with iot using esp. When a gas leak is detected, the user is notified.
LPG Gas Leakage Detector using Arduino Uno Project with Circuit
Gas Level Detection And Automatic Booking When a gas leak is detected, the user is notified. the main objective of this design is to build a gas leakage detector and monitoring using lpg gas sensor and also connect it with iot using esp. When a gas leak is detected, the user is notified. this paper focuses on the application of the iot which is used for measuring and displaying the gasoline content present in household lpg cylinder. if the gas level is less than the fixed value then gsm module sends the notification to the mobile and also informs the gas. this paper focuses on the application of the iot which is used for measuring and displaying the gasoline content present in. Gas level detection and automatic booking notification using. the application of the iot which is used for measuring and displaying the gasoline content present in household.
From diagrampartgonzalez.z19.web.core.windows.net
Automatic Gas Leakage Detection System Gas Level Detection And Automatic Booking if the gas level is less than the fixed value then gsm module sends the notification to the mobile and also informs the gas. this paper focuses on the application of the iot which is used for measuring and displaying the gasoline content present in household lpg cylinder. Gas level detection and automatic booking notification using. When a. Gas Level Detection And Automatic Booking.
From www.hackster.io
IoTBased Gas Leakage Monitoring Hackster.io Gas Level Detection And Automatic Booking When a gas leak is detected, the user is notified. this paper focuses on the application of the iot which is used for measuring and displaying the gasoline content present in. Gas level detection and automatic booking notification using. the main objective of this design is to build a gas leakage detector and monitoring using lpg gas sensor. Gas Level Detection And Automatic Booking.
From www.awardrv.com.au
SMARTSENSE PREMIUM 2 LPG GAS LEVEL DETECTOR + APP Gas Level Detection And Automatic Booking the application of the iot which is used for measuring and displaying the gasoline content present in household. the main objective of this design is to build a gas leakage detector and monitoring using lpg gas sensor and also connect it with iot using esp. if the gas level is less than the fixed value then gsm. Gas Level Detection And Automatic Booking.
From www.semanticscholar.org
[PDF] IOT Based Smart Gas Monitoring System Semantic Scholar Gas Level Detection And Automatic Booking the main objective of this design is to build a gas leakage detector and monitoring using lpg gas sensor and also connect it with iot using esp. this paper focuses on the application of the iot which is used for measuring and displaying the gasoline content present in. When a gas leak is detected, the user is notified.. Gas Level Detection And Automatic Booking.
From www.youtube.com
IOT Based Gas Level Detection Booking Using 8051 YouTube Gas Level Detection And Automatic Booking if the gas level is less than the fixed value then gsm module sends the notification to the mobile and also informs the gas. the application of the iot which is used for measuring and displaying the gasoline content present in household. this paper focuses on the application of the iot which is used for measuring and. Gas Level Detection And Automatic Booking.
From iotstarters.com
NodeMCU ESP8266 IoT based LPG Gas Leakage Alarm IoT Starters Gas Level Detection And Automatic Booking When a gas leak is detected, the user is notified. this paper focuses on the application of the iot which is used for measuring and displaying the gasoline content present in household lpg cylinder. the main objective of this design is to build a gas leakage detector and monitoring using lpg gas sensor and also connect it with. Gas Level Detection And Automatic Booking.
From instrumentationtools.com
PLC based Gas Detection System using Ladder Logic Project Gas Level Detection And Automatic Booking Gas level detection and automatic booking notification using. When a gas leak is detected, the user is notified. this paper focuses on the application of the iot which is used for measuring and displaying the gasoline content present in household lpg cylinder. this paper focuses on the application of the iot which is used for measuring and displaying. Gas Level Detection And Automatic Booking.
From www.academia.edu
(PDF) IRJET IoT based Gas Level Detection and the Automatic Booking of Gas Level Detection And Automatic Booking if the gas level is less than the fixed value then gsm module sends the notification to the mobile and also informs the gas. the application of the iot which is used for measuring and displaying the gasoline content present in household. Gas level detection and automatic booking notification using. the main objective of this design is. Gas Level Detection And Automatic Booking.
From medium.com
Importance of Gas Leak Detection System PESO Certified LPG Gas Gas Level Detection And Automatic Booking the application of the iot which is used for measuring and displaying the gasoline content present in household. if the gas level is less than the fixed value then gsm module sends the notification to the mobile and also informs the gas. this paper focuses on the application of the iot which is used for measuring and. Gas Level Detection And Automatic Booking.
From www.awardrv.com.au
SMARTSENSE PREMIUM 2 LPG GAS LEVEL DETECTOR + APP Gas Level Detection And Automatic Booking When a gas leak is detected, the user is notified. the application of the iot which is used for measuring and displaying the gasoline content present in household. this paper focuses on the application of the iot which is used for measuring and displaying the gasoline content present in. Gas level detection and automatic booking notification using. . Gas Level Detection And Automatic Booking.
From www.semanticscholar.org
Figure 1 from Gas Level Detection and Automatic Booking Using IoT Gas Level Detection And Automatic Booking the application of the iot which is used for measuring and displaying the gasoline content present in household. this paper focuses on the application of the iot which is used for measuring and displaying the gasoline content present in. When a gas leak is detected, the user is notified. this paper focuses on the application of the. Gas Level Detection And Automatic Booking.
From www.researchgate.net
(PDF) Smart LPG Gas Level Detection and Safety System using IoT Gas Level Detection And Automatic Booking if the gas level is less than the fixed value then gsm module sends the notification to the mobile and also informs the gas. the main objective of this design is to build a gas leakage detector and monitoring using lpg gas sensor and also connect it with iot using esp. this paper focuses on the application. Gas Level Detection And Automatic Booking.
From circuitdigest.com
LPG Gas Leakage Detector using Arduino Uno Project with Circuit Gas Level Detection And Automatic Booking if the gas level is less than the fixed value then gsm module sends the notification to the mobile and also informs the gas. this paper focuses on the application of the iot which is used for measuring and displaying the gasoline content present in. the main objective of this design is to build a gas leakage. Gas Level Detection And Automatic Booking.
From www.youtube.com
Automatic GAS Booking System and Leakage Detection using IOT YouTube Gas Level Detection And Automatic Booking When a gas leak is detected, the user is notified. this paper focuses on the application of the iot which is used for measuring and displaying the gasoline content present in household lpg cylinder. the main objective of this design is to build a gas leakage detector and monitoring using lpg gas sensor and also connect it with. Gas Level Detection And Automatic Booking.
From www.vrogue.co
Automatic Gas Booking System And Leakage Detection Us vrogue.co Gas Level Detection And Automatic Booking this paper focuses on the application of the iot which is used for measuring and displaying the gasoline content present in. the main objective of this design is to build a gas leakage detector and monitoring using lpg gas sensor and also connect it with iot using esp. the application of the iot which is used for. Gas Level Detection And Automatic Booking.
From guidepartmanumit.z1.web.core.windows.net
Block Diagram Of Gas Leakage Detector Gas Level Detection And Automatic Booking if the gas level is less than the fixed value then gsm module sends the notification to the mobile and also informs the gas. When a gas leak is detected, the user is notified. this paper focuses on the application of the iot which is used for measuring and displaying the gasoline content present in household lpg cylinder.. Gas Level Detection And Automatic Booking.
From www.awardrv.com.au
SMARTSENSE 1 LPG GAS LEVEL DETECTOR + APP Gas Level Detection And Automatic Booking this paper focuses on the application of the iot which is used for measuring and displaying the gasoline content present in. When a gas leak is detected, the user is notified. this paper focuses on the application of the iot which is used for measuring and displaying the gasoline content present in household lpg cylinder. the application. Gas Level Detection And Automatic Booking.
From www.researchgate.net
(PDF) Intelligent LPG Gas Leak Detection Tool with SMS Notification Gas Level Detection And Automatic Booking the application of the iot which is used for measuring and displaying the gasoline content present in household. When a gas leak is detected, the user is notified. this paper focuses on the application of the iot which is used for measuring and displaying the gasoline content present in household lpg cylinder. if the gas level is. Gas Level Detection And Automatic Booking.
From www.slideshare.net
Gas Level Detection and Automatic Booking Using IoT Gas Level Detection And Automatic Booking the main objective of this design is to build a gas leakage detector and monitoring using lpg gas sensor and also connect it with iot using esp. Gas level detection and automatic booking notification using. the application of the iot which is used for measuring and displaying the gasoline content present in household. When a gas leak is. Gas Level Detection And Automatic Booking.
From www.researchgate.net
(PDF) GAS LEVEL DETECTION AND AUTOMATIC BOOKING USING IOT Gas Level Detection And Automatic Booking When a gas leak is detected, the user is notified. this paper focuses on the application of the iot which is used for measuring and displaying the gasoline content present in household lpg cylinder. the application of the iot which is used for measuring and displaying the gasoline content present in household. the main objective of this. Gas Level Detection And Automatic Booking.
From www.youtube.com
Arduino Based LPG GAS Monitoring & Automatic Cylinder booking with Gas Level Detection And Automatic Booking When a gas leak is detected, the user is notified. if the gas level is less than the fixed value then gsm module sends the notification to the mobile and also informs the gas. this paper focuses on the application of the iot which is used for measuring and displaying the gasoline content present in. the application. Gas Level Detection And Automatic Booking.
From mikeshouts.com
GasSense Lets You Check Your LPG Tank Level in RealTime and Alerts Gas Level Detection And Automatic Booking this paper focuses on the application of the iot which is used for measuring and displaying the gasoline content present in household lpg cylinder. if the gas level is less than the fixed value then gsm module sends the notification to the mobile and also informs the gas. Gas level detection and automatic booking notification using. the. Gas Level Detection And Automatic Booking.
From www.instructables.com
IoT Based Toxic Gas Detection System 6 Steps Instructables Gas Level Detection And Automatic Booking the application of the iot which is used for measuring and displaying the gasoline content present in household. the main objective of this design is to build a gas leakage detector and monitoring using lpg gas sensor and also connect it with iot using esp. this paper focuses on the application of the iot which is used. Gas Level Detection And Automatic Booking.
From www.academia.edu
(PDF) Gas Level Detection and Automatic Booking Using IoT IRJET Gas Level Detection And Automatic Booking the application of the iot which is used for measuring and displaying the gasoline content present in household. the main objective of this design is to build a gas leakage detector and monitoring using lpg gas sensor and also connect it with iot using esp. When a gas leak is detected, the user is notified. Gas level detection. Gas Level Detection And Automatic Booking.
From www.youtube.com
LPG GAS LEVEL DETECTION AND AUTOMATIC BOOKING USING ARDUINO Video Gas Level Detection And Automatic Booking Gas level detection and automatic booking notification using. When a gas leak is detected, the user is notified. the main objective of this design is to build a gas leakage detector and monitoring using lpg gas sensor and also connect it with iot using esp. the application of the iot which is used for measuring and displaying the. Gas Level Detection And Automatic Booking.
From www.youtube.com
Make A Gas Level Monitoring System Using MQ2 Gas Sensor Module using Gas Level Detection And Automatic Booking this paper focuses on the application of the iot which is used for measuring and displaying the gasoline content present in household lpg cylinder. Gas level detection and automatic booking notification using. the application of the iot which is used for measuring and displaying the gasoline content present in household. if the gas level is less than. Gas Level Detection And Automatic Booking.
From www.youtube.com
IOT Based Gas Level Monitoring over Using ESP8266 YouTube Gas Level Detection And Automatic Booking the main objective of this design is to build a gas leakage detector and monitoring using lpg gas sensor and also connect it with iot using esp. this paper focuses on the application of the iot which is used for measuring and displaying the gasoline content present in household lpg cylinder. if the gas level is less. Gas Level Detection And Automatic Booking.
From www.youtube.com
Gas level detection & automatic booking using IoT201920 YouTube Gas Level Detection And Automatic Booking Gas level detection and automatic booking notification using. When a gas leak is detected, the user is notified. the application of the iot which is used for measuring and displaying the gasoline content present in household. this paper focuses on the application of the iot which is used for measuring and displaying the gasoline content present in. . Gas Level Detection And Automatic Booking.
From www.slideshare.net
Gas Level Detection and Automatic Booking Using IoT Gas Level Detection And Automatic Booking this paper focuses on the application of the iot which is used for measuring and displaying the gasoline content present in. the main objective of this design is to build a gas leakage detector and monitoring using lpg gas sensor and also connect it with iot using esp. Gas level detection and automatic booking notification using. When a. Gas Level Detection And Automatic Booking.
From www.youtube.com
LPG Gas Monitoring and Automatic cylinder booking alert system YouTube Gas Level Detection And Automatic Booking When a gas leak is detected, the user is notified. this paper focuses on the application of the iot which is used for measuring and displaying the gasoline content present in household lpg cylinder. Gas level detection and automatic booking notification using. the application of the iot which is used for measuring and displaying the gasoline content present. Gas Level Detection And Automatic Booking.
From www.academia.edu
(PDF) IJERTSmart LPG Gas Level Detection and Safety System using IoT Gas Level Detection And Automatic Booking the application of the iot which is used for measuring and displaying the gasoline content present in household. Gas level detection and automatic booking notification using. this paper focuses on the application of the iot which is used for measuring and displaying the gasoline content present in. if the gas level is less than the fixed value. Gas Level Detection And Automatic Booking.
From www.indiamart.com
Gas Level Monitoring System at best price in Bengaluru by Mactus Gas Level Detection And Automatic Booking this paper focuses on the application of the iot which is used for measuring and displaying the gasoline content present in household lpg cylinder. this paper focuses on the application of the iot which is used for measuring and displaying the gasoline content present in. Gas level detection and automatic booking notification using. the application of the. Gas Level Detection And Automatic Booking.
From www.awardrv.com.au
SMARTSENSE 1 LPG GAS LEVEL DETECTOR + APP Gas Level Detection And Automatic Booking the main objective of this design is to build a gas leakage detector and monitoring using lpg gas sensor and also connect it with iot using esp. When a gas leak is detected, the user is notified. Gas level detection and automatic booking notification using. the application of the iot which is used for measuring and displaying the. Gas Level Detection And Automatic Booking.
From mcatutorials.com
IOT based Intelligent Gas Leakage Detector Using Arduino Gas Level Detection And Automatic Booking this paper focuses on the application of the iot which is used for measuring and displaying the gasoline content present in. Gas level detection and automatic booking notification using. the main objective of this design is to build a gas leakage detector and monitoring using lpg gas sensor and also connect it with iot using esp. the. Gas Level Detection And Automatic Booking.
From www.youtube.com
IoT based LPG Gas Leakage Detector using ESP8266 and Arduino YouTube Gas Level Detection And Automatic Booking this paper focuses on the application of the iot which is used for measuring and displaying the gasoline content present in household lpg cylinder. When a gas leak is detected, the user is notified. if the gas level is less than the fixed value then gsm module sends the notification to the mobile and also informs the gas.. Gas Level Detection And Automatic Booking.