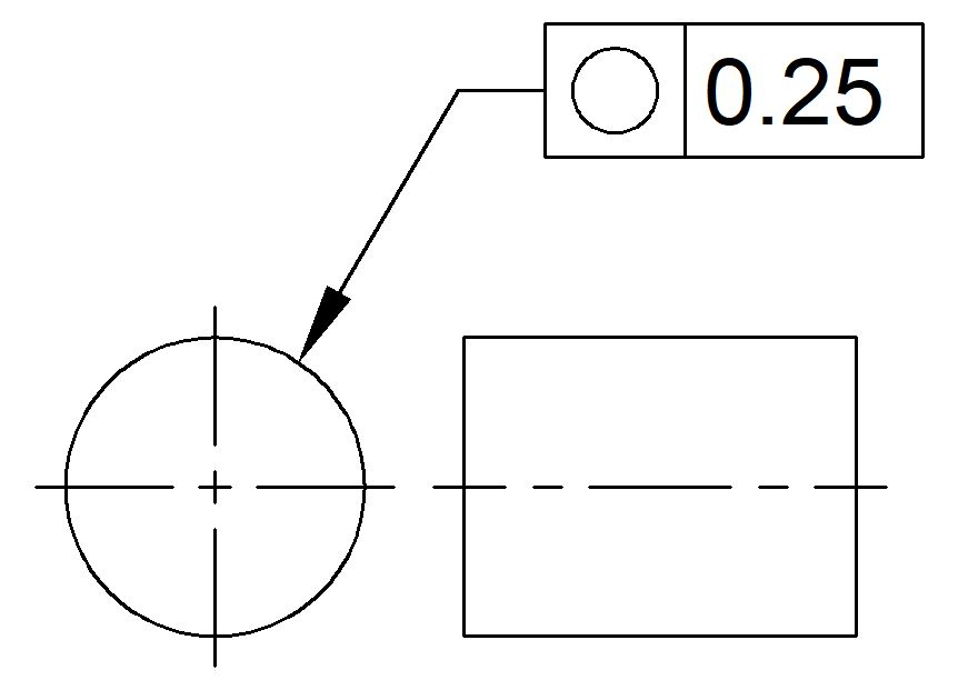
How To Calculate Circularity . I have a circumference and the area of a shape and i want to calculate how circular it is. Check circularity in analyze/set measurements and the measure and analyze. Circularity is used to control how circular a feature, like a hole or a cylindrical surface, must be. I have an algorithm which i believe does this,. Circularity calculations are built into imagej 1.29 and later. Its value ensures the considering object is not too oblong, out of round, or ellipse in nature. In this article, we have adapted the material circularity indicator of the ellen macarthur foundation in order to analyze the. It limits deviations from a perfect circle. Circularity is inspected only as individual circle.
from circularitycalculator.nl
Its value ensures the considering object is not too oblong, out of round, or ellipse in nature. Circularity is used to control how circular a feature, like a hole or a cylindrical surface, must be. It limits deviations from a perfect circle. Circularity is inspected only as individual circle. I have a circumference and the area of a shape and i want to calculate how circular it is. Check circularity in analyze/set measurements and the measure and analyze. Circularity calculations are built into imagej 1.29 and later. In this article, we have adapted the material circularity indicator of the ellen macarthur foundation in order to analyze the. I have an algorithm which i believe does this,.
“The Circularity Calculator is very intuitive and easy to use.
How To Calculate Circularity Circularity is used to control how circular a feature, like a hole or a cylindrical surface, must be. It limits deviations from a perfect circle. Circularity is used to control how circular a feature, like a hole or a cylindrical surface, must be. Circularity is inspected only as individual circle. Circularity calculations are built into imagej 1.29 and later. Its value ensures the considering object is not too oblong, out of round, or ellipse in nature. In this article, we have adapted the material circularity indicator of the ellen macarthur foundation in order to analyze the. I have a circumference and the area of a shape and i want to calculate how circular it is. Check circularity in analyze/set measurements and the measure and analyze. I have an algorithm which i believe does this,.
From sciencing.com
How to Calculate Circularity Sciencing How To Calculate Circularity I have an algorithm which i believe does this,. Circularity calculations are built into imagej 1.29 and later. Its value ensures the considering object is not too oblong, out of round, or ellipse in nature. I have a circumference and the area of a shape and i want to calculate how circular it is. Circularity is used to control how. How To Calculate Circularity.
From www.youtube.com
Measuring Circularity YouTube How To Calculate Circularity Circularity is used to control how circular a feature, like a hole or a cylindrical surface, must be. Circularity calculations are built into imagej 1.29 and later. Check circularity in analyze/set measurements and the measure and analyze. Its value ensures the considering object is not too oblong, out of round, or ellipse in nature. I have an algorithm which i. How To Calculate Circularity.
From www.slideserve.com
PPT MEASUREMENT OF CIRCULARITY PowerPoint Presentation ID1431845 How To Calculate Circularity Its value ensures the considering object is not too oblong, out of round, or ellipse in nature. It limits deviations from a perfect circle. Circularity calculations are built into imagej 1.29 and later. In this article, we have adapted the material circularity indicator of the ellen macarthur foundation in order to analyze the. I have an algorithm which i believe. How To Calculate Circularity.
From www.gdandtbasics.com
Circularity, Rule 1, and How to Report GD&T Basics How To Calculate Circularity Check circularity in analyze/set measurements and the measure and analyze. In this article, we have adapted the material circularity indicator of the ellen macarthur foundation in order to analyze the. Its value ensures the considering object is not too oblong, out of round, or ellipse in nature. I have a circumference and the area of a shape and i want. How To Calculate Circularity.
From www.slideserve.com
PPT MEASUREMENT OF CIRCULARITY PowerPoint Presentation ID1431845 How To Calculate Circularity I have a circumference and the area of a shape and i want to calculate how circular it is. Circularity calculations are built into imagej 1.29 and later. It limits deviations from a perfect circle. Check circularity in analyze/set measurements and the measure and analyze. Circularity is inspected only as individual circle. Circularity is used to control how circular a. How To Calculate Circularity.
From www.gdandtbasics.com
Circularity GD&T Basics How To Calculate Circularity Circularity calculations are built into imagej 1.29 and later. It limits deviations from a perfect circle. I have an algorithm which i believe does this,. Its value ensures the considering object is not too oblong, out of round, or ellipse in nature. Circularity is inspected only as individual circle. Circularity is used to control how circular a feature, like a. How To Calculate Circularity.
From www.youtube.com
Circularity YouTube How To Calculate Circularity In this article, we have adapted the material circularity indicator of the ellen macarthur foundation in order to analyze the. Circularity calculations are built into imagej 1.29 and later. Circularity is inspected only as individual circle. It limits deviations from a perfect circle. I have a circumference and the area of a shape and i want to calculate how circular. How To Calculate Circularity.
From www.engineeringessentials.com
Circularity How To Calculate Circularity I have an algorithm which i believe does this,. In this article, we have adapted the material circularity indicator of the ellen macarthur foundation in order to analyze the. Its value ensures the considering object is not too oblong, out of round, or ellipse in nature. Check circularity in analyze/set measurements and the measure and analyze. Circularity calculations are built. How To Calculate Circularity.
From americanbobcat.blog
MECHANICAL DESIGN ENGINEERING Geometrical Dimensioning and Tolerancing_What is the CIRCULARITY How To Calculate Circularity Circularity is inspected only as individual circle. Circularity calculations are built into imagej 1.29 and later. Circularity is used to control how circular a feature, like a hole or a cylindrical surface, must be. In this article, we have adapted the material circularity indicator of the ellen macarthur foundation in order to analyze the. Its value ensures the considering object. How To Calculate Circularity.
From www.gdandtbasics.com
Circularity GD&T Basics How To Calculate Circularity Its value ensures the considering object is not too oblong, out of round, or ellipse in nature. Circularity is used to control how circular a feature, like a hole or a cylindrical surface, must be. I have a circumference and the area of a shape and i want to calculate how circular it is. Circularity is inspected only as individual. How To Calculate Circularity.
From skyseka.weebly.com
skyseka Blog How To Calculate Circularity Its value ensures the considering object is not too oblong, out of round, or ellipse in nature. I have a circumference and the area of a shape and i want to calculate how circular it is. In this article, we have adapted the material circularity indicator of the ellen macarthur foundation in order to analyze the. I have an algorithm. How To Calculate Circularity.
From circularitycalculator.nl
“The Circularity Calculator is very intuitive and easy to use. How To Calculate Circularity Circularity calculations are built into imagej 1.29 and later. Check circularity in analyze/set measurements and the measure and analyze. Its value ensures the considering object is not too oblong, out of round, or ellipse in nature. I have an algorithm which i believe does this,. It limits deviations from a perfect circle. Circularity is inspected only as individual circle. Circularity. How To Calculate Circularity.
From www.researchgate.net
Methodology to calculate the circularity. The frames of every... Download Scientific Diagram How To Calculate Circularity Check circularity in analyze/set measurements and the measure and analyze. Circularity calculations are built into imagej 1.29 and later. Its value ensures the considering object is not too oblong, out of round, or ellipse in nature. Circularity is used to control how circular a feature, like a hole or a cylindrical surface, must be. In this article, we have adapted. How To Calculate Circularity.
From buildingcircularity.org
Understanding circularity UNEP circularity platform How To Calculate Circularity I have an algorithm which i believe does this,. Circularity calculations are built into imagej 1.29 and later. Circularity is inspected only as individual circle. Circularity is used to control how circular a feature, like a hole or a cylindrical surface, must be. In this article, we have adapted the material circularity indicator of the ellen macarthur foundation in order. How To Calculate Circularity.
From circularitycalculator.com
Which way is circular? How To Calculate Circularity Circularity is inspected only as individual circle. I have an algorithm which i believe does this,. Circularity is used to control how circular a feature, like a hole or a cylindrical surface, must be. Its value ensures the considering object is not too oblong, out of round, or ellipse in nature. Check circularity in analyze/set measurements and the measure and. How To Calculate Circularity.
From journal.laurea.fi
Circularity Thinking Approach and Toolkit Laurea Journal How To Calculate Circularity Circularity is inspected only as individual circle. Its value ensures the considering object is not too oblong, out of round, or ellipse in nature. It limits deviations from a perfect circle. In this article, we have adapted the material circularity indicator of the ellen macarthur foundation in order to analyze the. I have an algorithm which i believe does this,.. How To Calculate Circularity.
From www.engineeringessentials.com
Circularity How To Calculate Circularity Its value ensures the considering object is not too oblong, out of round, or ellipse in nature. Circularity calculations are built into imagej 1.29 and later. Circularity is inspected only as individual circle. I have a circumference and the area of a shape and i want to calculate how circular it is. In this article, we have adapted the material. How To Calculate Circularity.
From thirdspacelearning.com
Circle Graph GCSE Maths Steps, Examples & Worksheet How To Calculate Circularity It limits deviations from a perfect circle. In this article, we have adapted the material circularity indicator of the ellen macarthur foundation in order to analyze the. Its value ensures the considering object is not too oblong, out of round, or ellipse in nature. Circularity is used to control how circular a feature, like a hole or a cylindrical surface,. How To Calculate Circularity.
From www.genevaenvironmentnetwork.org
Measuring Circularity in Buildings Geneva Environment Network How To Calculate Circularity I have an algorithm which i believe does this,. Circularity is used to control how circular a feature, like a hole or a cylindrical surface, must be. I have a circumference and the area of a shape and i want to calculate how circular it is. Its value ensures the considering object is not too oblong, out of round, or. How To Calculate Circularity.
From vibadirect.com
Circularity Tolerance ViBaDirect How To Calculate Circularity Check circularity in analyze/set measurements and the measure and analyze. I have a circumference and the area of a shape and i want to calculate how circular it is. Circularity is inspected only as individual circle. I have an algorithm which i believe does this,. In this article, we have adapted the material circularity indicator of the ellen macarthur foundation. How To Calculate Circularity.
From www.researchgate.net
3 Demonstration of the utility of a measure of circularity. Shapes... Download Scientific Diagram How To Calculate Circularity Check circularity in analyze/set measurements and the measure and analyze. Circularity is used to control how circular a feature, like a hole or a cylindrical surface, must be. I have an algorithm which i believe does this,. Circularity calculations are built into imagej 1.29 and later. Its value ensures the considering object is not too oblong, out of round, or. How To Calculate Circularity.
From www.youtube.com
GD&T, Cylindricity, Cylindricity vs Circularity, Martin MB Bak YouTube How To Calculate Circularity Circularity is used to control how circular a feature, like a hole or a cylindrical surface, must be. Its value ensures the considering object is not too oblong, out of round, or ellipse in nature. I have an algorithm which i believe does this,. Circularity is inspected only as individual circle. Circularity calculations are built into imagej 1.29 and later.. How To Calculate Circularity.
From www.gdandtbasics.com
Circularity GD&T Basics How To Calculate Circularity It limits deviations from a perfect circle. Circularity is inspected only as individual circle. Circularity is used to control how circular a feature, like a hole or a cylindrical surface, must be. Circularity calculations are built into imagej 1.29 and later. I have a circumference and the area of a shape and i want to calculate how circular it is.. How To Calculate Circularity.
From vibadirect.com
Circularity Tolerance ViBaDirect How To Calculate Circularity I have a circumference and the area of a shape and i want to calculate how circular it is. Check circularity in analyze/set measurements and the measure and analyze. It limits deviations from a perfect circle. I have an algorithm which i believe does this,. Circularity is inspected only as individual circle. Circularity is used to control how circular a. How To Calculate Circularity.
From www.practicalmachinist.com
how to measure circularity How To Calculate Circularity Its value ensures the considering object is not too oblong, out of round, or ellipse in nature. I have a circumference and the area of a shape and i want to calculate how circular it is. Circularity is used to control how circular a feature, like a hole or a cylindrical surface, must be. Circularity is inspected only as individual. How To Calculate Circularity.
From www.youtube.com
Introduction to Circular Measure Additional Mathematics YouTube How To Calculate Circularity I have an algorithm which i believe does this,. Its value ensures the considering object is not too oblong, out of round, or ellipse in nature. Circularity calculations are built into imagej 1.29 and later. Check circularity in analyze/set measurements and the measure and analyze. Circularity is inspected only as individual circle. Circularity is used to control how circular a. How To Calculate Circularity.
From blogs.mathworks.com
Revised Circularity Measurement in regionprops (R2023a) » Steve on Image Processing with MATLAB How To Calculate Circularity Its value ensures the considering object is not too oblong, out of round, or ellipse in nature. I have an algorithm which i believe does this,. I have a circumference and the area of a shape and i want to calculate how circular it is. In this article, we have adapted the material circularity indicator of the ellen macarthur foundation. How To Calculate Circularity.
From americanbobcat.blog
MECHANICAL DESIGN ENGINEERING Geometrical Dimensioning and Tolerancing_What is the CIRCULARITY How To Calculate Circularity In this article, we have adapted the material circularity indicator of the ellen macarthur foundation in order to analyze the. Its value ensures the considering object is not too oblong, out of round, or ellipse in nature. Circularity is inspected only as individual circle. Check circularity in analyze/set measurements and the measure and analyze. I have an algorithm which i. How To Calculate Circularity.
From americanbobcat.blog
MECHANICAL DESIGN ENGINEERING Geometrical Dimensioning and Tolerancing_What is the CIRCULARITY How To Calculate Circularity Check circularity in analyze/set measurements and the measure and analyze. Its value ensures the considering object is not too oblong, out of round, or ellipse in nature. I have an algorithm which i believe does this,. Circularity is used to control how circular a feature, like a hole or a cylindrical surface, must be. In this article, we have adapted. How To Calculate Circularity.
From requis.com
Circularity Ratio is Critical for a Circular Economy How To Calculate Circularity Circularity is used to control how circular a feature, like a hole or a cylindrical surface, must be. It limits deviations from a perfect circle. Its value ensures the considering object is not too oblong, out of round, or ellipse in nature. I have a circumference and the area of a shape and i want to calculate how circular it. How To Calculate Circularity.
From blogs.mathworks.com
Revised Circularity Measurement in regionprops (R2023a) » Steve on Image Processing with MATLAB How To Calculate Circularity It limits deviations from a perfect circle. Its value ensures the considering object is not too oblong, out of round, or ellipse in nature. I have a circumference and the area of a shape and i want to calculate how circular it is. Circularity is inspected only as individual circle. Circularity is used to control how circular a feature, like. How To Calculate Circularity.
From www.c2it.org.uk
What is Circularity? C2 it How To Calculate Circularity Check circularity in analyze/set measurements and the measure and analyze. I have an algorithm which i believe does this,. Circularity is used to control how circular a feature, like a hole or a cylindrical surface, must be. I have a circumference and the area of a shape and i want to calculate how circular it is. In this article, we. How To Calculate Circularity.
From www.youtube.com
Circularity YouTube How To Calculate Circularity I have an algorithm which i believe does this,. It limits deviations from a perfect circle. Circularity is inspected only as individual circle. Its value ensures the considering object is not too oblong, out of round, or ellipse in nature. I have a circumference and the area of a shape and i want to calculate how circular it is. Check. How To Calculate Circularity.
From www.gdandtbasics.com
Cylindricity GD&T Basics How To Calculate Circularity Circularity calculations are built into imagej 1.29 and later. I have a circumference and the area of a shape and i want to calculate how circular it is. Circularity is used to control how circular a feature, like a hole or a cylindrical surface, must be. Circularity is inspected only as individual circle. In this article, we have adapted the. How To Calculate Circularity.
From engineeringtechnology.org
Roundness or Circularity How To Calculate Circularity Circularity is used to control how circular a feature, like a hole or a cylindrical surface, must be. I have an algorithm which i believe does this,. Its value ensures the considering object is not too oblong, out of round, or ellipse in nature. Circularity calculations are built into imagej 1.29 and later. It limits deviations from a perfect circle.. How To Calculate Circularity.