Forks In Motion . motion deliver on their promise to eliminate brake dive with a unique take on the suspension fork. the reba rl is the only fork in the range and uses a motion control damper with rebound and compression adjustment with a solo air spring. view the menu of forks 'n' motion in wilmington, nc. the rockshox yari is an excellent 160mm fork for the money — stiff, reasonably light and you couldn’t set it up badly if you tried. Share it with friends or find your next meal. But they came at a. The e18 provides travel with great control, sensitivity.
from singletrackworld.com
view the menu of forks 'n' motion in wilmington, nc. Share it with friends or find your next meal. the reba rl is the only fork in the range and uses a motion control damper with rebound and compression adjustment with a solo air spring. The e18 provides travel with great control, sensitivity. But they came at a. motion deliver on their promise to eliminate brake dive with a unique take on the suspension fork. the rockshox yari is an excellent 160mm fork for the money — stiff, reasonably light and you couldn’t set it up badly if you tried.
Motion's Unique 1.85kg Fork With 100170mm Travel Singletrack Magazine
Forks In Motion Share it with friends or find your next meal. Share it with friends or find your next meal. the rockshox yari is an excellent 160mm fork for the money — stiff, reasonably light and you couldn’t set it up badly if you tried. But they came at a. view the menu of forks 'n' motion in wilmington, nc. the reba rl is the only fork in the range and uses a motion control damper with rebound and compression adjustment with a solo air spring. The e18 provides travel with great control, sensitivity. motion deliver on their promise to eliminate brake dive with a unique take on the suspension fork.
From bikerumor.com
The Motion France damped, travel adjust, leaf spring suspension fork Forks In Motion The e18 provides travel with great control, sensitivity. Share it with friends or find your next meal. But they came at a. the rockshox yari is an excellent 160mm fork for the money — stiff, reasonably light and you couldn’t set it up badly if you tried. view the menu of forks 'n' motion in wilmington, nc. . Forks In Motion.
From www.vectorstock.com
Circle motion spoon fork symbol decor Royalty Free Vector Forks In Motion the reba rl is the only fork in the range and uses a motion control damper with rebound and compression adjustment with a solo air spring. view the menu of forks 'n' motion in wilmington, nc. The e18 provides travel with great control, sensitivity. motion deliver on their promise to eliminate brake dive with a unique take. Forks In Motion.
From krausmotorco.com
Why Choose An Inverted Front Fork Suspension Kraus Motor Co. Forks In Motion motion deliver on their promise to eliminate brake dive with a unique take on the suspension fork. view the menu of forks 'n' motion in wilmington, nc. the rockshox yari is an excellent 160mm fork for the money — stiff, reasonably light and you couldn’t set it up badly if you tried. The e18 provides travel with. Forks In Motion.
From www.storyblocks.com
Slow Motion Tuning Forks In Water Demonstrating Resonance Stock Video Forks In Motion view the menu of forks 'n' motion in wilmington, nc. motion deliver on their promise to eliminate brake dive with a unique take on the suspension fork. the rockshox yari is an excellent 160mm fork for the money — stiff, reasonably light and you couldn’t set it up badly if you tried. Share it with friends or. Forks In Motion.
From www.alamy.com
Tuning fork 3D rendering illustration isolated on white background Forks In Motion view the menu of forks 'n' motion in wilmington, nc. Share it with friends or find your next meal. the rockshox yari is an excellent 160mm fork for the money — stiff, reasonably light and you couldn’t set it up badly if you tried. the reba rl is the only fork in the range and uses a. Forks In Motion.
From www.textileadvisor.com
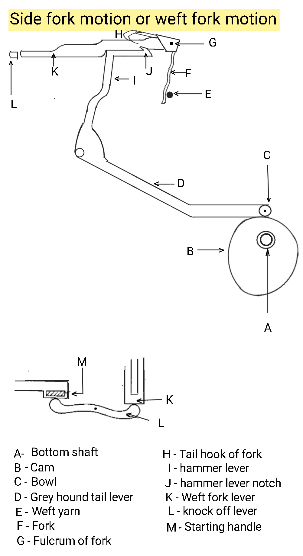
Textile Adviser Side fork motion l Weft fork motion l Weft break stop Forks In Motion view the menu of forks 'n' motion in wilmington, nc. the reba rl is the only fork in the range and uses a motion control damper with rebound and compression adjustment with a solo air spring. the rockshox yari is an excellent 160mm fork for the money — stiff, reasonably light and you couldn’t set it up. Forks In Motion.
From www.thestudentroom.co.uk
What is the amplitude of oscillations on a tuning fork? The Student Room Forks In Motion the rockshox yari is an excellent 160mm fork for the money — stiff, reasonably light and you couldn’t set it up badly if you tried. The e18 provides travel with great control, sensitivity. motion deliver on their promise to eliminate brake dive with a unique take on the suspension fork. But they came at a. Share it with. Forks In Motion.
From dailycoin.com
Forks in Crypto Hard Forks vs Soft Forks DailyCoin Forks In Motion view the menu of forks 'n' motion in wilmington, nc. Share it with friends or find your next meal. But they came at a. the rockshox yari is an excellent 160mm fork for the money — stiff, reasonably light and you couldn’t set it up badly if you tried. The e18 provides travel with great control, sensitivity. . Forks In Motion.
From www.alamy.com
Fork in the Road Stock Photo Alamy Forks In Motion view the menu of forks 'n' motion in wilmington, nc. motion deliver on their promise to eliminate brake dive with a unique take on the suspension fork. But they came at a. Share it with friends or find your next meal. the rockshox yari is an excellent 160mm fork for the money — stiff, reasonably light and. Forks In Motion.
From www.rei.com
Suspension Sessions Anatomy of a Fork Path An REI Coop Forks In Motion motion deliver on their promise to eliminate brake dive with a unique take on the suspension fork. The e18 provides travel with great control, sensitivity. Share it with friends or find your next meal. view the menu of forks 'n' motion in wilmington, nc. the rockshox yari is an excellent 160mm fork for the money — stiff,. Forks In Motion.
From www.freepik.com
Premium stock video Macro shot of four steel forks on a black Forks In Motion view the menu of forks 'n' motion in wilmington, nc. But they came at a. the rockshox yari is an excellent 160mm fork for the money — stiff, reasonably light and you couldn’t set it up badly if you tried. The e18 provides travel with great control, sensitivity. motion deliver on their promise to eliminate brake dive. Forks In Motion.
From theloamwolf.com
Motion E18 Fork Review Do the benefits outweigh the looks? Forks In Motion the reba rl is the only fork in the range and uses a motion control damper with rebound and compression adjustment with a solo air spring. But they came at a. view the menu of forks 'n' motion in wilmington, nc. Share it with friends or find your next meal. the rockshox yari is an excellent 160mm. Forks In Motion.
From www.textileadvisor.com
Textile Adviser Center weft fork motion, structure and working principle Forks In Motion Share it with friends or find your next meal. But they came at a. the rockshox yari is an excellent 160mm fork for the money — stiff, reasonably light and you couldn’t set it up badly if you tried. The e18 provides travel with great control, sensitivity. motion deliver on their promise to eliminate brake dive with a. Forks In Motion.
From singletrackworld.com
Motion's Unique 1.85kg Fork With 100170mm Travel Singletrack Magazine Forks In Motion Share it with friends or find your next meal. motion deliver on their promise to eliminate brake dive with a unique take on the suspension fork. the reba rl is the only fork in the range and uses a motion control damper with rebound and compression adjustment with a solo air spring. But they came at a. . Forks In Motion.
From bikerumor.com
Motion updates wild 170mm E18 leaf spring, linkage enduro mountain bike Forks In Motion Share it with friends or find your next meal. view the menu of forks 'n' motion in wilmington, nc. the reba rl is the only fork in the range and uses a motion control damper with rebound and compression adjustment with a solo air spring. the rockshox yari is an excellent 160mm fork for the money —. Forks In Motion.
From theloamwolf.com
Motion E18 Fork Review Do the benefits outweigh the looks? Forks In Motion Share it with friends or find your next meal. the rockshox yari is an excellent 160mm fork for the money — stiff, reasonably light and you couldn’t set it up badly if you tried. the reba rl is the only fork in the range and uses a motion control damper with rebound and compression adjustment with a solo. Forks In Motion.
From www.technicopedia.com
Technicopedia 850 Forks In Motion But they came at a. motion deliver on their promise to eliminate brake dive with a unique take on the suspension fork. The e18 provides travel with great control, sensitivity. the rockshox yari is an excellent 160mm fork for the money — stiff, reasonably light and you couldn’t set it up badly if you tried. Share it with. Forks In Motion.
From www.textileadvisor.com
Textile Adviser Side fork motion l Weft fork motion l Weft break stop Forks In Motion Share it with friends or find your next meal. the reba rl is the only fork in the range and uses a motion control damper with rebound and compression adjustment with a solo air spring. motion deliver on their promise to eliminate brake dive with a unique take on the suspension fork. But they came at a. . Forks In Motion.
From www.americanhistory.si.edu
Smithsonian Tuning Forks Forks In Motion The e18 provides travel with great control, sensitivity. view the menu of forks 'n' motion in wilmington, nc. the rockshox yari is an excellent 160mm fork for the money — stiff, reasonably light and you couldn’t set it up badly if you tried. the reba rl is the only fork in the range and uses a motion. Forks In Motion.
From www.pinterest.com
Tuning Forks Hitting Water in Slow Motion YouTube Tuning fork Forks In Motion the reba rl is the only fork in the range and uses a motion control damper with rebound and compression adjustment with a solo air spring. The e18 provides travel with great control, sensitivity. view the menu of forks 'n' motion in wilmington, nc. the rockshox yari is an excellent 160mm fork for the money — stiff,. Forks In Motion.
From theloamwolf.com
Motion E18 Fork Review Do the benefits outweigh the looks? Forks In Motion The e18 provides travel with great control, sensitivity. Share it with friends or find your next meal. But they came at a. the reba rl is the only fork in the range and uses a motion control damper with rebound and compression adjustment with a solo air spring. the rockshox yari is an excellent 160mm fork for the. Forks In Motion.
From www.imbikemag.com
Motion Ride E18 Linkage Forks 2019 Mountain Bike Reviews Forks In Motion motion deliver on their promise to eliminate brake dive with a unique take on the suspension fork. The e18 provides travel with great control, sensitivity. But they came at a. the reba rl is the only fork in the range and uses a motion control damper with rebound and compression adjustment with a solo air spring. Share it. Forks In Motion.
From singletrackworld.com
Unboxing video Motion Ride E18 linkage fork, the future of suspension Forks In Motion The e18 provides travel with great control, sensitivity. view the menu of forks 'n' motion in wilmington, nc. Share it with friends or find your next meal. the reba rl is the only fork in the range and uses a motion control damper with rebound and compression adjustment with a solo air spring. motion deliver on their. Forks In Motion.
From www.comsol.de
Modeling a DoubleTuningFork MEMS Gyroscope COMSOL Blog Forks In Motion The e18 provides travel with great control, sensitivity. motion deliver on their promise to eliminate brake dive with a unique take on the suspension fork. But they came at a. the reba rl is the only fork in the range and uses a motion control damper with rebound and compression adjustment with a solo air spring. Share it. Forks In Motion.
From explore.coastandport.com
Forks 'N' Motion Food Truck Wilmington, NC Forks In Motion But they came at a. Share it with friends or find your next meal. The e18 provides travel with great control, sensitivity. the reba rl is the only fork in the range and uses a motion control damper with rebound and compression adjustment with a solo air spring. motion deliver on their promise to eliminate brake dive with. Forks In Motion.
From www.svpwiki.com
Sympathetic Vibratory Physics tuning fork Forks In Motion view the menu of forks 'n' motion in wilmington, nc. the rockshox yari is an excellent 160mm fork for the money — stiff, reasonably light and you couldn’t set it up badly if you tried. Share it with friends or find your next meal. But they came at a. The e18 provides travel with great control, sensitivity. . Forks In Motion.
From www.youtube.com
Tuning Fork in SLOW MOTION! YouTube Forks In Motion the reba rl is the only fork in the range and uses a motion control damper with rebound and compression adjustment with a solo air spring. The e18 provides travel with great control, sensitivity. motion deliver on their promise to eliminate brake dive with a unique take on the suspension fork. view the menu of forks 'n'. Forks In Motion.
From theloamwolf.com
Motion E18 Fork Review Do the benefits outweigh the looks? Forks In Motion view the menu of forks 'n' motion in wilmington, nc. The e18 provides travel with great control, sensitivity. But they came at a. the reba rl is the only fork in the range and uses a motion control damper with rebound and compression adjustment with a solo air spring. the rockshox yari is an excellent 160mm fork. Forks In Motion.
From www.youtube.com
Tuning Forks and Waves in Water Slow Motion YouTube Forks In Motion Share it with friends or find your next meal. motion deliver on their promise to eliminate brake dive with a unique take on the suspension fork. But they came at a. the reba rl is the only fork in the range and uses a motion control damper with rebound and compression adjustment with a solo air spring. . Forks In Motion.
From www.acs.psu.edu
Vibrational Analysis of a Fork Forks In Motion the reba rl is the only fork in the range and uses a motion control damper with rebound and compression adjustment with a solo air spring. But they came at a. The e18 provides travel with great control, sensitivity. the rockshox yari is an excellent 160mm fork for the money — stiff, reasonably light and you couldn’t set. Forks In Motion.
From www.numerade.com
SOLVED subject Theory of Machines Using the graphical synthesis Forks In Motion motion deliver on their promise to eliminate brake dive with a unique take on the suspension fork. the rockshox yari is an excellent 160mm fork for the money — stiff, reasonably light and you couldn’t set it up badly if you tried. view the menu of forks 'n' motion in wilmington, nc. The e18 provides travel with. Forks In Motion.
From www.facebook.com
Forks 'N' Motion Home Forks In Motion the reba rl is the only fork in the range and uses a motion control damper with rebound and compression adjustment with a solo air spring. But they came at a. view the menu of forks 'n' motion in wilmington, nc. the rockshox yari is an excellent 160mm fork for the money — stiff, reasonably light and. Forks In Motion.
From theloamwolf.com
Motion E18 Fork Review Do the benefits outweigh the looks? Forks In Motion Share it with friends or find your next meal. But they came at a. motion deliver on their promise to eliminate brake dive with a unique take on the suspension fork. the reba rl is the only fork in the range and uses a motion control damper with rebound and compression adjustment with a solo air spring. . Forks In Motion.
From www.comsol.de
Finding Answers to the Tuning Fork Mystery with Simulation COMSOL Blog Forks In Motion Share it with friends or find your next meal. view the menu of forks 'n' motion in wilmington, nc. The e18 provides travel with great control, sensitivity. But they came at a. the reba rl is the only fork in the range and uses a motion control damper with rebound and compression adjustment with a solo air spring.. Forks In Motion.
From www.comsol.com
Finding Answers to the Tuning Fork Mystery with Simulation COMSOL Blog Forks In Motion the reba rl is the only fork in the range and uses a motion control damper with rebound and compression adjustment with a solo air spring. But they came at a. Share it with friends or find your next meal. The e18 provides travel with great control, sensitivity. view the menu of forks 'n' motion in wilmington, nc.. Forks In Motion.