Reverse Acting Differential Control Valve . Reverse acting control valve loops: What differential pressure must the valve close against? The reverse acting diferential pressure controller (radpcv) is sensing the pressure diferential between flow and return riser pipes as the hiu. The controller, positioner and the control valve act in the following ways: Pn10 dp overflow bypass valve. In a reverse acting control valve loop shown below: Nickel plated brass body, flat seal male threads. Connections have to be ordered separately.
from www.electricalvolt.com
The controller, positioner and the control valve act in the following ways: Reverse acting control valve loops: What differential pressure must the valve close against? The reverse acting diferential pressure controller (radpcv) is sensing the pressure diferential between flow and return riser pipes as the hiu. Pn10 dp overflow bypass valve. Connections have to be ordered separately. Nickel plated brass body, flat seal male threads. In a reverse acting control valve loop shown below:
Reverse Acting Valve and Direct Acting Valve
Reverse Acting Differential Control Valve Connections have to be ordered separately. Nickel plated brass body, flat seal male threads. The reverse acting diferential pressure controller (radpcv) is sensing the pressure diferential between flow and return riser pipes as the hiu. The controller, positioner and the control valve act in the following ways: In a reverse acting control valve loop shown below: Reverse acting control valve loops: Pn10 dp overflow bypass valve. Connections have to be ordered separately. What differential pressure must the valve close against?
From maraindustrial.com
Taylor Instrument 395RF2 Reverse Acting Controller New No Box Mara Industrial Reverse Acting Differential Control Valve In a reverse acting control valve loop shown below: Nickel plated brass body, flat seal male threads. The reverse acting diferential pressure controller (radpcv) is sensing the pressure diferential between flow and return riser pipes as the hiu. Pn10 dp overflow bypass valve. Connections have to be ordered separately. The controller, positioner and the control valve act in the following. Reverse Acting Differential Control Valve.
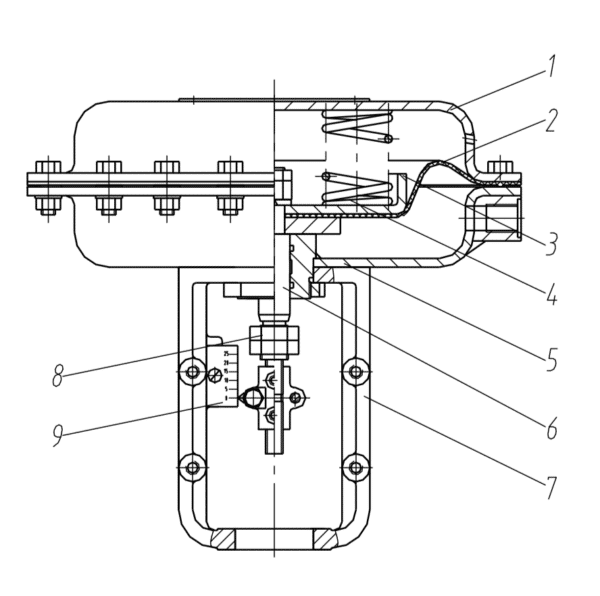
From valv-trol.com
Reverse Acting (Normally Closed) Quick Acting 2Way Valves ValvTrol Reverse Acting Differential Control Valve Nickel plated brass body, flat seal male threads. The controller, positioner and the control valve act in the following ways: Connections have to be ordered separately. Reverse acting control valve loops: Pn10 dp overflow bypass valve. What differential pressure must the valve close against? The reverse acting diferential pressure controller (radpcv) is sensing the pressure diferential between flow and return. Reverse Acting Differential Control Valve.
From instrumentationtools.com
Direct Acting Control Valves & Reverse Acting Control Valves Reverse Acting Differential Control Valve In a reverse acting control valve loop shown below: The reverse acting diferential pressure controller (radpcv) is sensing the pressure diferential between flow and return riser pipes as the hiu. Reverse acting control valve loops: What differential pressure must the valve close against? Connections have to be ordered separately. Pn10 dp overflow bypass valve. Nickel plated brass body, flat seal. Reverse Acting Differential Control Valve.
From northstock.com
Honeywell L4006B1155 Reverse Acting Aquastat(100240F) 530F Adjustable Differential, 3 Reverse Acting Differential Control Valve What differential pressure must the valve close against? The controller, positioner and the control valve act in the following ways: In a reverse acting control valve loop shown below: Nickel plated brass body, flat seal male threads. The reverse acting diferential pressure controller (radpcv) is sensing the pressure diferential between flow and return riser pipes as the hiu. Connections have. Reverse Acting Differential Control Valve.
From www.youtube.com
Direct Acting and Reverse Acting Actuator Parts Valves Basics YouTube Reverse Acting Differential Control Valve In a reverse acting control valve loop shown below: Pn10 dp overflow bypass valve. The controller, positioner and the control valve act in the following ways: Nickel plated brass body, flat seal male threads. Connections have to be ordered separately. Reverse acting control valve loops: The reverse acting diferential pressure controller (radpcv) is sensing the pressure diferential between flow and. Reverse Acting Differential Control Valve.
From www.electricalvolt.com
Reverse Acting Valve and Direct Acting Valve Reverse Acting Differential Control Valve What differential pressure must the valve close against? Connections have to be ordered separately. In a reverse acting control valve loop shown below: The reverse acting diferential pressure controller (radpcv) is sensing the pressure diferential between flow and return riser pipes as the hiu. Reverse acting control valve loops: Pn10 dp overflow bypass valve. Nickel plated brass body, flat seal. Reverse Acting Differential Control Valve.
From www.controlvalves.com
11029 TwoStage Differential Control Valve OCV Reverse Acting Differential Control Valve The reverse acting diferential pressure controller (radpcv) is sensing the pressure diferential between flow and return riser pipes as the hiu. Pn10 dp overflow bypass valve. Connections have to be ordered separately. Reverse acting control valve loops: Nickel plated brass body, flat seal male threads. The controller, positioner and the control valve act in the following ways: What differential pressure. Reverse Acting Differential Control Valve.
From www.youtube.com
Control Valve Direct and Reverse Action Detail video in HindiPart 3 Instrument Guru YouTube Reverse Acting Differential Control Valve The reverse acting diferential pressure controller (radpcv) is sensing the pressure diferential between flow and return riser pipes as the hiu. Pn10 dp overflow bypass valve. Nickel plated brass body, flat seal male threads. Reverse acting control valve loops: What differential pressure must the valve close against? Connections have to be ordered separately. The controller, positioner and the control valve. Reverse Acting Differential Control Valve.
From www.kpsgroup.ir
شیر کنترلی (Control Valve) چیست؟ کارا پرنیان شرق Reverse Acting Differential Control Valve What differential pressure must the valve close against? Nickel plated brass body, flat seal male threads. Reverse acting control valve loops: Connections have to be ordered separately. The controller, positioner and the control valve act in the following ways: In a reverse acting control valve loop shown below: Pn10 dp overflow bypass valve. The reverse acting diferential pressure controller (radpcv). Reverse Acting Differential Control Valve.
From cncontrolvalve.com
Control Valves 101 Valve Types, Applications, Components, and Accessories THINKTANK Reverse Acting Differential Control Valve Reverse acting control valve loops: Pn10 dp overflow bypass valve. What differential pressure must the valve close against? Nickel plated brass body, flat seal male threads. Connections have to be ordered separately. The controller, positioner and the control valve act in the following ways: In a reverse acting control valve loop shown below: The reverse acting diferential pressure controller (radpcv). Reverse Acting Differential Control Valve.
From www.controlvalves.com
Model 110 Differential Pressure Control Valve OCV Reverse Acting Differential Control Valve The controller, positioner and the control valve act in the following ways: Nickel plated brass body, flat seal male threads. Reverse acting control valve loops: Connections have to be ordered separately. What differential pressure must the valve close against? Pn10 dp overflow bypass valve. In a reverse acting control valve loop shown below: The reverse acting diferential pressure controller (radpcv). Reverse Acting Differential Control Valve.
From automation-renew.blogspot.com
Automation and Instrumentation Direct and Reverse Acting Controller Reverse Acting Differential Control Valve Reverse acting control valve loops: What differential pressure must the valve close against? The reverse acting diferential pressure controller (radpcv) is sensing the pressure diferential between flow and return riser pipes as the hiu. In a reverse acting control valve loop shown below: Connections have to be ordered separately. Nickel plated brass body, flat seal male threads. The controller, positioner. Reverse Acting Differential Control Valve.
From www.youtube.com
Danfoss Differential Pressure Control Valves (DPCV) Application and Selection YouTube Reverse Acting Differential Control Valve In a reverse acting control valve loop shown below: Nickel plated brass body, flat seal male threads. What differential pressure must the valve close against? The reverse acting diferential pressure controller (radpcv) is sensing the pressure diferential between flow and return riser pipes as the hiu. Pn10 dp overflow bypass valve. Reverse acting control valve loops: Connections have to be. Reverse Acting Differential Control Valve.
From www.electricalvolt.com
Reverse Acting Valve and Direct Acting Valve Reverse Acting Differential Control Valve What differential pressure must the valve close against? Pn10 dp overflow bypass valve. In a reverse acting control valve loop shown below: The reverse acting diferential pressure controller (radpcv) is sensing the pressure diferential between flow and return riser pipes as the hiu. The controller, positioner and the control valve act in the following ways: Nickel plated brass body, flat. Reverse Acting Differential Control Valve.
From www.indiamart.com
Reverse Acting Control Valve at Rs 30000/piece Direct Acting Valve in Thane ID 15611158212 Reverse Acting Differential Control Valve The reverse acting diferential pressure controller (radpcv) is sensing the pressure diferential between flow and return riser pipes as the hiu. Connections have to be ordered separately. The controller, positioner and the control valve act in the following ways: Pn10 dp overflow bypass valve. Nickel plated brass body, flat seal male threads. What differential pressure must the valve close against?. Reverse Acting Differential Control Valve.
From www.electricalvolt.com
Reverse Acting Valve and Direct Acting Valve Reverse Acting Differential Control Valve What differential pressure must the valve close against? Pn10 dp overflow bypass valve. In a reverse acting control valve loop shown below: The reverse acting diferential pressure controller (radpcv) is sensing the pressure diferential between flow and return riser pipes as the hiu. The controller, positioner and the control valve act in the following ways: Connections have to be ordered. Reverse Acting Differential Control Valve.
From www.nova-valve.com
High Differential Pressure Control Valve, Angle Control Valve, Spray Water Control Valve Reverse Acting Differential Control Valve Nickel plated brass body, flat seal male threads. The reverse acting diferential pressure controller (radpcv) is sensing the pressure diferential between flow and return riser pipes as the hiu. The controller, positioner and the control valve act in the following ways: Connections have to be ordered separately. In a reverse acting control valve loop shown below: Reverse acting control valve. Reverse Acting Differential Control Valve.
From gms-instruments.com
G2FR (Reverse Acting) 2way Control Valve GMS Instruments Reverse Acting Differential Control Valve The reverse acting diferential pressure controller (radpcv) is sensing the pressure diferential between flow and return riser pipes as the hiu. The controller, positioner and the control valve act in the following ways: What differential pressure must the valve close against? Nickel plated brass body, flat seal male threads. In a reverse acting control valve loop shown below: Pn10 dp. Reverse Acting Differential Control Valve.
From instrumentationtools.com
Pneumatic Valve Positioner Working Principle Instrumentation Tools Reverse Acting Differential Control Valve The reverse acting diferential pressure controller (radpcv) is sensing the pressure diferential between flow and return riser pipes as the hiu. The controller, positioner and the control valve act in the following ways: Connections have to be ordered separately. In a reverse acting control valve loop shown below: Nickel plated brass body, flat seal male threads. What differential pressure must. Reverse Acting Differential Control Valve.
From qrcvalves.com
Direct Acting vs Reverse Acting Actuator QRC Valves Reverse Acting Differential Control Valve Connections have to be ordered separately. The reverse acting diferential pressure controller (radpcv) is sensing the pressure diferential between flow and return riser pipes as the hiu. In a reverse acting control valve loop shown below: Nickel plated brass body, flat seal male threads. The controller, positioner and the control valve act in the following ways: Reverse acting control valve. Reverse Acting Differential Control Valve.
From instrumentationtools.com
Direct Acting Control Valves & Reverse Acting Control Valves Reverse Acting Differential Control Valve The reverse acting diferential pressure controller (radpcv) is sensing the pressure diferential between flow and return riser pipes as the hiu. Reverse acting control valve loops: Connections have to be ordered separately. Pn10 dp overflow bypass valve. Nickel plated brass body, flat seal male threads. What differential pressure must the valve close against? The controller, positioner and the control valve. Reverse Acting Differential Control Valve.
From www.controlvalves.com
Model 110 Differential Pressure Control Valve OCV Reverse Acting Differential Control Valve Nickel plated brass body, flat seal male threads. Reverse acting control valve loops: Pn10 dp overflow bypass valve. Connections have to be ordered separately. The reverse acting diferential pressure controller (radpcv) is sensing the pressure diferential between flow and return riser pipes as the hiu. What differential pressure must the valve close against? In a reverse acting control valve loop. Reverse Acting Differential Control Valve.
From automationforum.co
Working of Direct Acting and Reverse Acting Control Valve Loop Reverse Acting Differential Control Valve Reverse acting control valve loops: Pn10 dp overflow bypass valve. The controller, positioner and the control valve act in the following ways: Nickel plated brass body, flat seal male threads. What differential pressure must the valve close against? In a reverse acting control valve loop shown below: The reverse acting diferential pressure controller (radpcv) is sensing the pressure diferential between. Reverse Acting Differential Control Valve.
From en.ppt-online.org
Control valves online presentation Reverse Acting Differential Control Valve In a reverse acting control valve loop shown below: Pn10 dp overflow bypass valve. The controller, positioner and the control valve act in the following ways: The reverse acting diferential pressure controller (radpcv) is sensing the pressure diferential between flow and return riser pipes as the hiu. Connections have to be ordered separately. What differential pressure must the valve close. Reverse Acting Differential Control Valve.
From www.vrogue.co
Reverse Acting Control Valve vrogue.co Reverse Acting Differential Control Valve Connections have to be ordered separately. The reverse acting diferential pressure controller (radpcv) is sensing the pressure diferential between flow and return riser pipes as the hiu. Nickel plated brass body, flat seal male threads. What differential pressure must the valve close against? Reverse acting control valve loops: Pn10 dp overflow bypass valve. In a reverse acting control valve loop. Reverse Acting Differential Control Valve.
From www.brodieintl.com
BV70 Differential Control Valve Brodie International Reverse Acting Differential Control Valve In a reverse acting control valve loop shown below: Connections have to be ordered separately. The reverse acting diferential pressure controller (radpcv) is sensing the pressure diferential between flow and return riser pipes as the hiu. What differential pressure must the valve close against? Pn10 dp overflow bypass valve. Reverse acting control valve loops: Nickel plated brass body, flat seal. Reverse Acting Differential Control Valve.
From www.supplyhouse.com
V5011N3020 Honeywell V5011N3020 3/4" Twoway Reverse Acting Globe Valve, Female NPT (7.3 Cv) Reverse Acting Differential Control Valve Reverse acting control valve loops: The reverse acting diferential pressure controller (radpcv) is sensing the pressure diferential between flow and return riser pipes as the hiu. The controller, positioner and the control valve act in the following ways: Nickel plated brass body, flat seal male threads. In a reverse acting control valve loop shown below: Pn10 dp overflow bypass valve.. Reverse Acting Differential Control Valve.
From www.youtube.com
Direct Acting and Reverse Acting for Control Valves & Positioners YouTube Reverse Acting Differential Control Valve In a reverse acting control valve loop shown below: The controller, positioner and the control valve act in the following ways: Nickel plated brass body, flat seal male threads. Connections have to be ordered separately. What differential pressure must the valve close against? The reverse acting diferential pressure controller (radpcv) is sensing the pressure diferential between flow and return riser. Reverse Acting Differential Control Valve.
From www.researchgate.net
Reverseacting and directacting actuators. Download Scientific Diagram Reverse Acting Differential Control Valve The controller, positioner and the control valve act in the following ways: Nickel plated brass body, flat seal male threads. The reverse acting diferential pressure controller (radpcv) is sensing the pressure diferential between flow and return riser pipes as the hiu. Connections have to be ordered separately. Reverse acting control valve loops: What differential pressure must the valve close against?. Reverse Acting Differential Control Valve.
From www.supplyhouse.com
V5011N3020 Honeywell V5011N3020 3/4" Twoway Reverse Acting Globe Valve, Female NPT (7.3 Cv) Reverse Acting Differential Control Valve What differential pressure must the valve close against? In a reverse acting control valve loop shown below: The reverse acting diferential pressure controller (radpcv) is sensing the pressure diferential between flow and return riser pipes as the hiu. Pn10 dp overflow bypass valve. Reverse acting control valve loops: The controller, positioner and the control valve act in the following ways:. Reverse Acting Differential Control Valve.
From benvalle.com
Control Valves Reverse Acting Differential Control Valve Pn10 dp overflow bypass valve. What differential pressure must the valve close against? Nickel plated brass body, flat seal male threads. In a reverse acting control valve loop shown below: Connections have to be ordered separately. Reverse acting control valve loops: The reverse acting diferential pressure controller (radpcv) is sensing the pressure diferential between flow and return riser pipes as. Reverse Acting Differential Control Valve.
From benvalle.com
Control Valves Reverse Acting Differential Control Valve What differential pressure must the valve close against? Connections have to be ordered separately. Nickel plated brass body, flat seal male threads. Pn10 dp overflow bypass valve. In a reverse acting control valve loop shown below: The reverse acting diferential pressure controller (radpcv) is sensing the pressure diferential between flow and return riser pipes as the hiu. Reverse acting control. Reverse Acting Differential Control Valve.
From www.controlvalves.com
Differential Control Valves OCV Control Valves Reverse Acting Differential Control Valve What differential pressure must the valve close against? Reverse acting control valve loops: Connections have to be ordered separately. Pn10 dp overflow bypass valve. In a reverse acting control valve loop shown below: Nickel plated brass body, flat seal male threads. The reverse acting diferential pressure controller (radpcv) is sensing the pressure diferential between flow and return riser pipes as. Reverse Acting Differential Control Valve.
From www.cla-val.co.uk
CLAVAL 25001 Reverse Acting Differential Pressure Valve Reverse Acting Differential Control Valve The controller, positioner and the control valve act in the following ways: What differential pressure must the valve close against? Reverse acting control valve loops: Nickel plated brass body, flat seal male threads. The reverse acting diferential pressure controller (radpcv) is sensing the pressure diferential between flow and return riser pipes as the hiu. In a reverse acting control valve. Reverse Acting Differential Control Valve.
From gms-instruments.com
L2FR (Reverse Acting) 2way Control Valve GMS Instruments Reverse Acting Differential Control Valve Connections have to be ordered separately. Reverse acting control valve loops: Pn10 dp overflow bypass valve. The controller, positioner and the control valve act in the following ways: What differential pressure must the valve close against? The reverse acting diferential pressure controller (radpcv) is sensing the pressure diferential between flow and return riser pipes as the hiu. Nickel plated brass. Reverse Acting Differential Control Valve.