How To Measure A Hose Barb . To determine the correct barb size for your garden hose, you need to measure the inside diameter of your hose. In this video, max demonstrates the benefits of a hose barb and how to install one. The barb's outer diameter (od) should be similar to or slightly. That's how you match it up to your tubing. Visit our store to buy hose barbs. So, the hose barb itself is going to be larger in diameter than the inner diameter of the hose. Once you know the inside diameter of your hose, you can select a barb fitting that matches that size. How to choose a right hose barb fitting for your needs. How do you size a hose barb fitting? Barb fittings are measured by the hose's inner diameter (id). For example, a 3/8 hose barb is 3/8 tubing id. Hose barbs are measured by the inner diameter or the id of the hose fitting. Use a ruler or caliper to measure the inside diameter of the hose that the fitting will install into. The most common sizes for garden hoses are ½ inch, ⅝ inch, and ¾ inch. Here are the factors to consider when selecting the right barbed fitting.
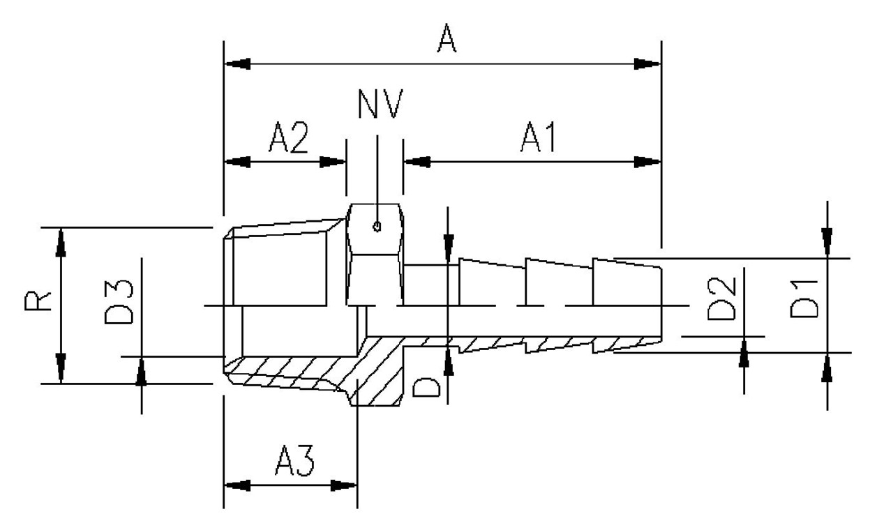
from www.evmetal.dk
Once you know the inside diameter of your hose, you can select a barb fitting that matches that size. To determine the correct barb size for your garden hose, you need to measure the inside diameter of your hose. This post aims to provide a comprehensive guide on how to measure hose barb size accurately, emphasizing the benefits of precise measurements for operational. The barb's outer diameter (od) should be similar to or slightly. The best approach for picking a hose barb fitting is to choose the right barb profile for the tubing or hose. Because of that the hose barb itself is going to. Use a ruler or caliper to measure the inside diameter of the hose that the fitting will install into. Hose barbs are measured by the inner diameter or the id of the hose fitting. The most common sizes for garden hoses are ½ inch, ⅝ inch, and ¾ inch. How do you size a hose barb fitting?
Hose Barb Adapter with Pipe Thread in Several Sizes EV Metal A/S
How To Measure A Hose Barb Use a ruler or caliper to measure the inside diameter of the hose that the fitting will install into. Visit our store to buy hose barbs. Here are the factors to consider when selecting the right barbed fitting. Hose barbs are sized by the tubing id (inner diameter). The barb's outer diameter (od) should be similar to or slightly. That's how you match it up to your tubing. So, the hose barb itself is going to be larger in diameter than the inner diameter of the hose. The best approach for picking a hose barb fitting is to choose the right barb profile for the tubing or hose. Use a ruler or caliper to measure the inside diameter of the hose that the fitting will install into. In this video, max demonstrates the benefits of a hose barb and how to install one. For example, a 3/8 hose barb is 3/8 tubing id. How do you size a hose barb fitting? Once you know the inside diameter of your hose, you can select a barb fitting that matches that size. Hose barbs are measured by the inner diameter or the id of the hose fitting. This post aims to provide a comprehensive guide on how to measure hose barb size accurately, emphasizing the benefits of precise measurements for operational. To determine the correct barb size for your garden hose, you need to measure the inside diameter of your hose.
From www.hoseassemblytips.com
What measurements are required for hose assembly sizes? Hose Assembly How To Measure A Hose Barb Visit our store to buy hose barbs. How to choose a right hose barb fitting for your needs. Hose barbs are sized by the tubing id (inner diameter). Because of that the hose barb itself is going to. Barb fittings are measured by the hose's inner diameter (id). For example, a 3/8 hose barb is 3/8 tubing id. So, the. How To Measure A Hose Barb.
From ceqtgbgx.blob.core.windows.net
How Are Air Hose Fittings Measured at William Berman blog How To Measure A Hose Barb Once you know the inside diameter of your hose, you can select a barb fitting that matches that size. So, the hose barb itself is going to be larger in diameter than the inner diameter of the hose. Hose barbs are sized by the tubing id (inner diameter). How do you size a hose barb fitting? Barb fittings are measured. How To Measure A Hose Barb.
From www.valinonline.com
125HBLSV64 Parker Swivel Hose Barb Valin How To Measure A Hose Barb The most common sizes for garden hoses are ½ inch, ⅝ inch, and ¾ inch. To determine the correct barb size for your garden hose, you need to measure the inside diameter of your hose. Because of that the hose barb itself is going to. The barb's outer diameter (od) should be similar to or slightly. Use a ruler or. How To Measure A Hose Barb.
From www.beaverprocess.com.au
How To Measure A Hose Bend In 4 Simple Steps Beaver Process Equipment How To Measure A Hose Barb How do you size a hose barb fitting? Visit our store to buy hose barbs. So, the hose barb itself is going to be larger in diameter than the inner diameter of the hose. Barb fittings are measured by the hose's inner diameter (id). Once you know the inside diameter of your hose, you can select a barb fitting that. How To Measure A Hose Barb.
From bubbleslidess.com
How To Measure Hose Size How To Measure A Hose Barb Hose barbs are measured by the inner diameter or the id of the hose fitting. The most common sizes for garden hoses are ½ inch, ⅝ inch, and ¾ inch. This post aims to provide a comprehensive guide on how to measure hose barb size accurately, emphasizing the benefits of precise measurements for operational. Visit our store to buy hose. How To Measure A Hose Barb.
From www.youtube.com
Custom Hose Barbs YouTube How To Measure A Hose Barb The best approach for picking a hose barb fitting is to choose the right barb profile for the tubing or hose. To determine the correct barb size for your garden hose, you need to measure the inside diameter of your hose. In this video, max demonstrates the benefits of a hose barb and how to install one. Hose barbs are. How To Measure A Hose Barb.
From www.youtube.com
How To Fit Plastic Hose On A Barbed Fitting YouTube How To Measure A Hose Barb The best approach for picking a hose barb fitting is to choose the right barb profile for the tubing or hose. Barb fittings are measured by the hose's inner diameter (id). To determine the correct barb size for your garden hose, you need to measure the inside diameter of your hose. Once you know the inside diameter of your hose,. How To Measure A Hose Barb.
From ar.inspiredpencil.com
Hose Barb Fitting Dimensions How To Measure A Hose Barb Hose barbs are measured by the inner diameter or the id of the hose fitting. How to choose a right hose barb fitting for your needs. Because of that the hose barb itself is going to. In this video, max demonstrates the benefits of a hose barb and how to install one. To determine the correct barb size for your. How To Measure A Hose Barb.
From www.youtube.com
How To Measure the Diameter Of Any Hose YouTube How To Measure A Hose Barb Use a ruler or caliper to measure the inside diameter of the hose that the fitting will install into. Barb fittings are measured by the hose's inner diameter (id). Hose barbs are sized by the tubing id (inner diameter). The best approach for picking a hose barb fitting is to choose the right barb profile for the tubing or hose.. How To Measure A Hose Barb.
From www.pipesandfittings.com
Hose Pipe Nipple Size Chart Nipple Dimension Standard SANVO How To Measure A Hose Barb Visit our store to buy hose barbs. Here are the factors to consider when selecting the right barbed fitting. Hose barbs are measured by the inner diameter or the id of the hose fitting. The best approach for picking a hose barb fitting is to choose the right barb profile for the tubing or hose. This post aims to provide. How To Measure A Hose Barb.
From hosetips.com
How To Measure Rubber Hose? All About Hoses How To Measure A Hose Barb The barb's outer diameter (od) should be similar to or slightly. Barb fittings are measured by the hose's inner diameter (id). The best approach for picking a hose barb fitting is to choose the right barb profile for the tubing or hose. Use a ruler or caliper to measure the inside diameter of the hose that the fitting will install. How To Measure A Hose Barb.
From www.radioeucaristia.com
Garden Hose Thread Specs Garden Design Ideas How To Measure A Hose Barb To determine the correct barb size for your garden hose, you need to measure the inside diameter of your hose. That's how you match it up to your tubing. This post aims to provide a comprehensive guide on how to measure hose barb size accurately, emphasizing the benefits of precise measurements for operational. Hose barbs are sized by the tubing. How To Measure A Hose Barb.
From thornado.com.au
Stainless Steel 316 Hose Barb 15mm Male BSP X 15mm Hose Tail ( 1/2 Inch) How To Measure A Hose Barb How do you size a hose barb fitting? The best approach for picking a hose barb fitting is to choose the right barb profile for the tubing or hose. Use a ruler or caliper to measure the inside diameter of the hose that the fitting will install into. That's how you match it up to your tubing. Here are the. How To Measure A Hose Barb.
From www.youtube.com
How to Measure a Hose Bend in 4 Simple Steps YouTube How To Measure A Hose Barb Hose barbs are measured by the inner diameter or the id of the hose fitting. That's how you match it up to your tubing. Use a ruler or caliper to measure the inside diameter of the hose that the fitting will install into. Because of that the hose barb itself is going to. Visit our store to buy hose barbs.. How To Measure A Hose Barb.
From www.thepressurewasherpro.com
How To Determine Hose Size With GPM And Pressure The Pressure Washer Pro! How To Measure A Hose Barb Hose barbs are sized by the tubing id (inner diameter). So, the hose barb itself is going to be larger in diameter than the inner diameter of the hose. To determine the correct barb size for your garden hose, you need to measure the inside diameter of your hose. The most common sizes for garden hoses are ½ inch, ⅝. How To Measure A Hose Barb.
From dengarden.com
The Complete Guide to Garden Hose Fittings Dengarden How To Measure A Hose Barb How to choose a right hose barb fitting for your needs. In this video, max demonstrates the benefits of a hose barb and how to install one. To determine the correct barb size for your garden hose, you need to measure the inside diameter of your hose. Hose barbs are measured by the inner diameter or the id of the. How To Measure A Hose Barb.
From bubbleslidess.com
How To Measure Hose Size How To Measure A Hose Barb Barb fittings are measured by the hose's inner diameter (id). This post aims to provide a comprehensive guide on how to measure hose barb size accurately, emphasizing the benefits of precise measurements for operational. The barb's outer diameter (od) should be similar to or slightly. Here are the factors to consider when selecting the right barbed fitting. How to choose. How To Measure A Hose Barb.
From ar.inspiredpencil.com
Hose Barb Fitting Dimensions How To Measure A Hose Barb Once you know the inside diameter of your hose, you can select a barb fitting that matches that size. So, the hose barb itself is going to be larger in diameter than the inner diameter of the hose. How do you size a hose barb fitting? Hose barbs are measured by the inner diameter or the id of the hose. How To Measure A Hose Barb.
From ceqtgbgx.blob.core.windows.net
How Are Air Hose Fittings Measured at William Berman blog How To Measure A Hose Barb For example, a 3/8 hose barb is 3/8 tubing id. This post aims to provide a comprehensive guide on how to measure hose barb size accurately, emphasizing the benefits of precise measurements for operational. That's how you match it up to your tubing. Because of that the hose barb itself is going to. In this video, max demonstrates the benefits. How To Measure A Hose Barb.
From leonwheeler.z13.web.core.windows.net
Hose Barb Size Chart How To Measure A Hose Barb The barb's outer diameter (od) should be similar to or slightly. Here are the factors to consider when selecting the right barbed fitting. The most common sizes for garden hoses are ½ inch, ⅝ inch, and ¾ inch. In this video, max demonstrates the benefits of a hose barb and how to install one. So, the hose barb itself is. How To Measure A Hose Barb.
From www.gardeningstuffs.com
How Is A Garden Hose Diameter Measured? A Quick Guide How To Measure A Hose Barb For example, a 3/8 hose barb is 3/8 tubing id. The barb's outer diameter (od) should be similar to or slightly. In this video, max demonstrates the benefits of a hose barb and how to install one. Hose barbs are measured by the inner diameter or the id of the hose fitting. That's how you match it up to your. How To Measure A Hose Barb.
From dengarden.com
The Complete Guide to Garden Hose Fittings Dengarden How To Measure A Hose Barb Hose barbs are sized by the tubing id (inner diameter). The best approach for picking a hose barb fitting is to choose the right barb profile for the tubing or hose. Once you know the inside diameter of your hose, you can select a barb fitting that matches that size. The most common sizes for garden hoses are ½ inch,. How To Measure A Hose Barb.
From www.steam-brite.com
3 4 Mip X 3 4 Barbed Brass Fitting 32023 Straight Br023 32023 32023 How To Measure A Hose Barb The best approach for picking a hose barb fitting is to choose the right barb profile for the tubing or hose. Use a ruler or caliper to measure the inside diameter of the hose that the fitting will install into. The barb's outer diameter (od) should be similar to or slightly. For example, a 3/8 hose barb is 3/8 tubing. How To Measure A Hose Barb.
From www.aliexpress.com
4 Pieces Copper Fitting 816mm Hose Barb X 1/2" Male Bsp Length 32mm How To Measure A Hose Barb How do you size a hose barb fitting? Visit our store to buy hose barbs. In this video, max demonstrates the benefits of a hose barb and how to install one. Hose barbs are sized by the tubing id (inner diameter). The most common sizes for garden hoses are ½ inch, ⅝ inch, and ¾ inch. Here are the factors. How To Measure A Hose Barb.
From shop.prmfiltration.com
Brass Hose Barb 3/4" ID Hose Barb x 3/4" Male NPT How To Measure A Hose Barb Here are the factors to consider when selecting the right barbed fitting. To determine the correct barb size for your garden hose, you need to measure the inside diameter of your hose. Barb fittings are measured by the hose's inner diameter (id). The most common sizes for garden hoses are ½ inch, ⅝ inch, and ¾ inch. Once you know. How To Measure A Hose Barb.
From exymmwfjf.blob.core.windows.net
Hydraulic Hose Pipe Dimensions at Dennis Hindman blog How To Measure A Hose Barb Visit our store to buy hose barbs. Hose barbs are measured by the inner diameter or the id of the hose fitting. How do you size a hose barb fitting? To determine the correct barb size for your garden hose, you need to measure the inside diameter of your hose. Here are the factors to consider when selecting the right. How To Measure A Hose Barb.
From donyronymfg.com
Brass Fitting Measure How to Determine the Right Size? How To Measure A Hose Barb The best approach for picking a hose barb fitting is to choose the right barb profile for the tubing or hose. Visit our store to buy hose barbs. In this video, max demonstrates the benefits of a hose barb and how to install one. Here are the factors to consider when selecting the right barbed fitting. To determine the correct. How To Measure A Hose Barb.
From www.pexuniverse.com
1/2" ID Hose Barb x 3/8" FPT Female Threaded Adapter Brass Fitting How To Measure A Hose Barb To determine the correct barb size for your garden hose, you need to measure the inside diameter of your hose. Barb fittings are measured by the hose's inner diameter (id). Once you know the inside diameter of your hose, you can select a barb fitting that matches that size. Visit our store to buy hose barbs. How do you size. How To Measure A Hose Barb.
From ubicaciondepersonas.cdmx.gob.mx
Hose Barb Size Chart ubicaciondepersonas.cdmx.gob.mx How To Measure A Hose Barb Use a ruler or caliper to measure the inside diameter of the hose that the fitting will install into. So, the hose barb itself is going to be larger in diameter than the inner diameter of the hose. That's how you match it up to your tubing. Visit our store to buy hose barbs. In this video, max demonstrates the. How To Measure A Hose Barb.
From thegrowmonster.com
How to Connect a Garden Hose to An Outdoor Spigot? The Grow Monster How To Measure A Hose Barb Use a ruler or caliper to measure the inside diameter of the hose that the fitting will install into. That's how you match it up to your tubing. How to choose a right hose barb fitting for your needs. Visit our store to buy hose barbs. So, the hose barb itself is going to be larger in diameter than the. How To Measure A Hose Barb.
From www.brasscraft.com
3/8 in. I.D. Hose Barb x 3/8 in. Female Flare BrassCraft How To Measure A Hose Barb That's how you match it up to your tubing. To determine the correct barb size for your garden hose, you need to measure the inside diameter of your hose. Hose barbs are sized by the tubing id (inner diameter). So, the hose barb itself is going to be larger in diameter than the inner diameter of the hose. How do. How To Measure A Hose Barb.
From www.evmetal.dk
Hose Barb Adapter with Pipe Thread in Several Sizes EV Metal A/S How To Measure A Hose Barb Hose barbs are measured by the inner diameter or the id of the hose fitting. That's how you match it up to your tubing. Barb fittings are measured by the hose's inner diameter (id). Once you know the inside diameter of your hose, you can select a barb fitting that matches that size. Use a ruler or caliper to measure. How To Measure A Hose Barb.
From bubbleslidess.com
How To Measure Hose Size How To Measure A Hose Barb Once you know the inside diameter of your hose, you can select a barb fitting that matches that size. How to choose a right hose barb fitting for your needs. Because of that the hose barb itself is going to. The best approach for picking a hose barb fitting is to choose the right barb profile for the tubing or. How To Measure A Hose Barb.
From hose-hq.com
HOSE REPAIR QUOTE Hose Headquarters How To Measure A Hose Barb Use a ruler or caliper to measure the inside diameter of the hose that the fitting will install into. In this video, max demonstrates the benefits of a hose barb and how to install one. The barb's outer diameter (od) should be similar to or slightly. For example, a 3/8 hose barb is 3/8 tubing id. Visit our store to. How To Measure A Hose Barb.
From roniprichard.blogspot.com
an fitting size chart id Roni Prichard How To Measure A Hose Barb How to choose a right hose barb fitting for your needs. Use a ruler or caliper to measure the inside diameter of the hose that the fitting will install into. How do you size a hose barb fitting? The barb's outer diameter (od) should be similar to or slightly. This post aims to provide a comprehensive guide on how to. How To Measure A Hose Barb.